CN211233675U - Container type filter bag drying device - Google Patents
Container type filter bag drying device Download PDFInfo
- Publication number
- CN211233675U CN211233675U CN201922171746.XU CN201922171746U CN211233675U CN 211233675 U CN211233675 U CN 211233675U CN 201922171746 U CN201922171746 U CN 201922171746U CN 211233675 U CN211233675 U CN 211233675U
- Authority
- CN
- China
- Prior art keywords
- container
- heat pump
- filter bag
- air
- drying device
- Prior art date
- Legal status (The legal status is an assumption and is not a legal conclusion. Google has not performed a legal analysis and makes no representation as to the accuracy of the status listed.)
- Expired - Fee Related
Links
- 238000001035 drying Methods 0.000 title claims abstract description 27
- 238000009423 ventilation Methods 0.000 claims abstract description 18
- 229910001220 stainless steel Inorganic materials 0.000 claims abstract description 17
- 239000010935 stainless steel Substances 0.000 claims abstract description 17
- 230000000694 effects Effects 0.000 abstract description 6
- 238000001914 filtration Methods 0.000 abstract description 3
- 238000010438 heat treatment Methods 0.000 description 2
- 239000000463 material Substances 0.000 description 2
- XLYOFNOQVPJJNP-UHFFFAOYSA-N water Substances O XLYOFNOQVPJJNP-UHFFFAOYSA-N 0.000 description 2
- 230000009286 beneficial effect Effects 0.000 description 1
- 238000010276 construction Methods 0.000 description 1
- 238000007791 dehumidification Methods 0.000 description 1
- 239000000428 dust Substances 0.000 description 1
Images
Landscapes
- Drying Of Solid Materials (AREA)
Abstract
The utility model discloses a container type filter bag drying device, which comprises a container box body, wherein a heat pump dryer is externally arranged at one side of the container box body, an air inlet is arranged above the heat pump dryer, a connecting pipeline is connected on the air inlet, the other end of the connecting pipeline is connected with an air blower, an air outlet is arranged at the side surface of the heat pump dryer, one side of the container box body, which is positioned at the heat pump dryer, is provided with an opening, the air outlet and the opening of the heat pump dryer are mutually communicated, a fan is arranged in the opening, one side of the opening is covered with a cover plate, two groups of stainless steel ventilation channels are communicated above the cover plate, the stainless steel ventilation channels are positioned at two sides of the top part in the container box body, and the lower part of the stainless steel ventilation channels is evenly communicated with an air exhaust channel, thereby, and the drying quality is ensured, the stable quality of the filter bag product is ensured, and the filtering effect and the quality are ensured.
Description
Technical Field
The utility model relates to a cross filter bag stoving technical field, specifically be a container formula crosses filter bag drying device.
Background
After the filter bag is used for a period of time, the filter holes are blocked, so that the filtering performance is reduced, the filter bag needs to be cleaned and reused, the filter bag is naturally dried after being cleaned, and the drying time is long.
SUMMERY OF THE UTILITY MODEL
An object of the utility model is to provide a container formula crosses filter bag drying device to solve the problem that proposes in the above-mentioned background art.
In order to achieve the above object, the utility model provides a following technical scheme: the utility model provides a container formula crosses filter bag drying device, includes the container box, one side externally mounted of container box has the heat pump drying-machine, and this heat pump drying-machine equipment has chooseed for use air energy heat pump set for the heat source, and the return air advances dehumidification processing, and the hot-blast dry wind that gets into in the drying chamber at every turn is, avoids circulation moisture to cause the moisture regain influence to the material. The top of heat pump drying-machine is provided with the air intake, be connected with the connecting tube on the air intake, the other end of connecting tube is connected with the air-blower, and the air-blower of setting can be to the air intake blast air of heat pump drying-machine, the side of heat pump drying-machine is provided with the air outlet, and the air outlet of setting can be with hot-blast bloated to the container box in, the opening has been opened to one side that the container box is located the heat pump drying-machine, communicate each other between the air outlet of heat pump drying-machine and the opening, and the hot-blast opening that. Install the fan in the opening, the fan of setting can strengthen hot-blast wind pressure, open-ended one side is covered with the cover plate, the top intercommunication of cover plate has two sets of stainless steel ventilation passageways, stainless steel ventilation passageway is located the both sides at container box internal top, the even intercommunication in below of stainless steel ventilation passageway has the passageway of airing exhaust, and the cover plate of setting can cover the opening, and the cover plate of setting plays the effect to the hot-air water conservancy diversion, and hot-air circulates from two sets of stainless steel ventilation passageways above the cover plate and discharges in the passageway of airing exhaust, makes the hot-air can distribute in each position of container box, and it is even to dry, and it is effectual to dry, the right-hand member of container box articulates there is the box door.
Preferably, the bottom in the container box is provided with the track, the orbital top slides and is provided with the wooden handcart, the top fixed mounting of wooden handcart has the fretwork rack.
Preferably, the top of the container body is connected with a circulating pipeline, and the other end of the circulating pipeline is connected with a connecting pipeline.
Preferably, the air exhaust channel is vertically and downwardly arranged on two sides inside the container body, and an air outlet is arranged on the inner side of the air exhaust channel.
Preferably, a filter screen is installed on the connecting pipeline.
Preferably, the cover plate and the container body are fixed through rivets.
Compared with the prior art, the beneficial effects of the utility model are as follows: the container type filter bag drying device has reasonable design and simple structure, the arranged heat pump dryer can heat air and then blow the air into the container body, the fan arranged at the opening can strengthen the wind pressure of hot wind, the arranged cover plate can cover the opening, the arranged cover plate plays a role in guiding the flow of hot air, the hot air circulates from the two groups of stainless steel ventilation channels above the cover plate to the exhaust channel to be discharged, so that the hot air can be distributed at each position of the container body, the drying is uniform, the drying effect is good, the utility model is provided with a container type filter bag drying device, the container is arranged as a filter bag heating thermal circulation device, can once only dry a large amount of filter bags, effectual energy saving improves drying efficiency greatly to guarantee oven-dry mass, guarantee to cross filter bag product quality stability, guarantee filter effect and quality.
Drawings
Fig. 1 is a schematic structural view of the present invention;
FIG. 2 is a schematic view of the ventilation channel structure of the present invention;
fig. 3 is a schematic structural view of the plate trailer of the present invention.
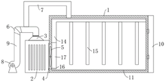
In the figure: 1. a container body; 2. a heat pump dryer; 3. an air inlet; 4. an air outlet; 5. a fan; 6. a filter screen; 7. a circulation pipe; 8. a blower; 9. connecting a pipeline; 10. a box door; 11. a track; 12. lathing; 13. hollowing out the placement frame; 14. a stainless steel ventilation channel; 15. an air exhaust channel; 16. an opening; 17. a cover plate; 18. and (4) an air outlet.
Detailed Description
The technical solutions in the embodiments of the present invention will be described clearly and completely with reference to the accompanying drawings in the embodiments of the present invention, and it is obvious that the described embodiments are only some embodiments of the present invention, not all embodiments. Based on the embodiments in the present invention, all other embodiments obtained by a person skilled in the art without creative work belong to the protection scope of the present invention.
Referring to fig. 1-3, a container type filter bag drying device comprises a container body 1, a heat pump dryer 2 is installed outside one side of the container body 1, the specific type of the heat pump dryer 2 is Boda heat pump drying equipment BDHW-F-T-40, the heat pump dryer selects an air energy heat pump unit as a heat source, return air is dehumidified, hot air entering a drying chamber every time is dry air, and the moisture of circulating air is prevented from causing moisture regain influence on materials.
The top of heat pump drying-machine 2 is provided with air intake 3, be connected with connecting tube 9 on the air intake 3, the other end of connecting tube 9 is connected with air-blower 8, and the air-blower 8 that sets up can be to the 3 blast air of air intake of heat pump drying-machine 2, the side of heat pump drying-machine 2 is provided with air outlet 4, and the air outlet 4 of setting can be with hot-blast bloated to container box 1 in, container box 1 is located one side of heat pump drying-machine 2 and opens there is opening 16, communicate each other between air outlet 4 and the opening 16 of heat pump drying-machine 2, and the hot-blast of air outlet 4 enters into container box 1 through opening 16.
Install fan 5 in the opening 16, the fan 5 of setting can strengthen hot-blast wind pressure, one side of opening 16 is covered with the cover plate 17, the top intercommunication of cover plate 17 has two sets of stainless steel ventilation passageways 14, stainless steel ventilation passageway 14 is located the both sides at top in the container box 1, the even intercommunication in below of stainless steel ventilation passageway 14 has exhaust passageway 15, and the cover plate 17 of setting can cover opening 16, and the cover plate 17 of setting plays the effect to the hot-air water conservancy diversion, and hot-air circulates from two sets of stainless steel ventilation passageways 14 of cover plate 17 top and discharges in exhaust passageway 15, makes the hot-air can distribute in each position of container box 1, and it is even to dry, and it is effectual to dry, the right-hand member of container box 1 articulates there is box door 10.
Specifically, a track 11 is arranged at the inner bottom of the container body 1, a plate trailer 12 is arranged above the track 11 in a sliding manner, the hollowed-out placing rack 13 is fixedly arranged above the plate trailer 12, the hollowed-out placing rack 13 is adopted to place the filter bag, so that hot air can be better contacted with the filter bag, the drying efficiency is improved, the top of the container body 1 is connected with a circulating pipeline 7, the other end of the circulating pipeline 7 is connected with a connecting pipeline 9, the circulating pipeline 7 is arranged, the hot air can be recycled circularly and heated and dried again, the exhaust channels 15 are vertically and downwards arranged at two sides in the container body 1, the inboard of air exhaust passageway 15 is provided with exhaust vent 18, install filter screen 6 on the connecting tube 9, the filter screen 6 that sets up can filter the air, prevents the entering of dust, pass through rivet fixation between cover plate 17 and the container box 1.
It should be noted that, this container type filter bag drying device, reasonable in design, simple in construction, the heat pump dryer 2 set up can heat the air, then blow into the container body 1, the fan 5 set up in the opening 16, can strengthen the hot-blast wind pressure, the cover plate 17 set up can cover the opening 16, the cover plate 17 set up plays the role to the hot-air diversion, the hot-air circulates to the air exhaust passage 15 from two groups of stainless steel ventilation passages 14 above the cover plate 17 and discharges, make the hot-air distribute in each position of the container body 1, dry evenly, it is effectual to dry, this utility model, set up a container type filter bag drying device, set up a container as a filter bag heating heat cycle device, can once only dry and filter a large number of filter bags, the effective energy saving, raise the drying efficiency greatly, and guarantee the oven-dry quality, the quality of the filter bag product is ensured to be stable, and the filtering effect and the quality are ensured.
The basic principles, main features and advantages of the present invention have been shown and described above. It will be understood by those skilled in the art that the present invention is not limited to the above embodiments, and that the foregoing embodiments and descriptions are provided only to illustrate the principles of the present invention without departing from the spirit and scope of the present invention. The scope of the invention is defined by the appended claims and equivalents thereof.
Claims (6)
1. The utility model provides a container formula crosses filter bag drying device, includes container box (1), its characterized in that: the container is characterized in that a heat pump dryer (2) is mounted on the outer portion of one side of the container body (1), an air inlet (3) is formed in the upper portion of the heat pump dryer (2), a connecting pipeline (9) is connected onto the air inlet (3), an air blower (8) is connected to the other end of the connecting pipeline (9), an air outlet (4) is formed in the side face of the heat pump dryer (2), an opening (16) is formed in one side, located on the heat pump dryer (2), of the container body (1), the air outlet (4) and the opening (16) of the heat pump dryer (2) are communicated with each other, a fan (5) is mounted in the opening (16), a cover plate (17) is covered on one side of the opening (16), two sets of stainless steel ventilation channels (14) are communicated with the upper portion of the cover plate (17), and the stainless steel ventilation channels (14) are located on two sides, an air exhaust channel (15) is uniformly communicated below the stainless steel ventilation channel (14), and a box body door (10) is hinged to the right end of the container body (1).
2. The container type filter bag drying device according to claim 1, wherein: the container is characterized in that a track (11) is arranged at the inner bottom of the container body (1), a plate trailer (12) is arranged above the track (11) in a sliding mode, and a hollow placing frame (13) is fixedly installed above the plate trailer (12).
3. The container type filter bag drying device according to claim 1, wherein: the top of the container body (1) is connected with a circulating pipeline (7), and the other end of the circulating pipeline (7) is connected with a connecting pipeline (9).
4. The container type filter bag drying device according to claim 1, wherein: the air exhaust channel (15) is vertically and downwards arranged on two sides inside the container body (1), and an air outlet hole (18) is formed in the inner side of the air exhaust channel (15).
5. The container type filter bag drying device according to claim 1, wherein: and a filter screen (6) is arranged on the connecting pipeline (9).
6. The container type filter bag drying device according to claim 1, wherein: the cover plate (17) and the container body (1) are fixed through rivets.
Priority Applications (1)
| Application Number | Priority Date | Filing Date | Title |
|---|---|---|---|
| CN201922171746.XU CN211233675U (en) | 2019-12-06 | 2019-12-06 | Container type filter bag drying device |
Applications Claiming Priority (1)
| Application Number | Priority Date | Filing Date | Title |
|---|---|---|---|
| CN201922171746.XU CN211233675U (en) | 2019-12-06 | 2019-12-06 | Container type filter bag drying device |
Publications (1)
| Publication Number | Publication Date |
|---|---|
| CN211233675U true CN211233675U (en) | 2020-08-11 |
Family
ID=71923176
Family Applications (1)
| Application Number | Title | Priority Date | Filing Date |
|---|---|---|---|
| CN201922171746.XU Expired - Fee Related CN211233675U (en) | 2019-12-06 | 2019-12-06 | Container type filter bag drying device |
Country Status (1)
| Country | Link |
|---|---|
| CN (1) | CN211233675U (en) |
-
2019
- 2019-12-06 CN CN201922171746.XU patent/CN211233675U/en not_active Expired - Fee Related
Similar Documents
| Publication | Publication Date | Title |
|---|---|---|
| CN207540312U (en) | TPU film dehumidification dryer with high working efficiency | |
| KR20080098860A (en) | dryer | |
| CN207163114U (en) | A kind of environmental protection and energy saving heated-air circulation oven | |
| CN209214229U (en) | A kind of heat-circulation type baking room | |
| CN111006454A (en) | Cloth drying device | |
| CN211233675U (en) | Container type filter bag drying device | |
| CN208282581U (en) | A kind of tea green-keeping and drying comprehensive utilization system for heat energy | |
| CN201158758Y (en) | A washing machine with a dryer | |
| CN210268062U (en) | Corrosion-resistant cloth even air blast drying cabinet | |
| CN220524492U (en) | Multi-channel circulating hot air dryer | |
| CN112212627A (en) | Drying device is used in woodwork processing | |
| CN114108212A (en) | A kind of production technology of printing and dyeing fabric and production equipment thereof | |
| CN217154885U (en) | Wet curtain production equipment with automatic conveying belt | |
| CN206207926U (en) | A kind of noodle dryer | |
| CN213480919U (en) | Drying machine | |
| CN212109250U (en) | Chinese-medicinal material heated air circulation oven | |
| CN210390480U (en) | Energy-efficient printing drying device | |
| CN212574040U (en) | Device for preheating tea by using exhaust waste heat of tea dryer | |
| CN221992241U (en) | Mixed flow heat pump drying device | |
| CN212566694U (en) | High-efficiency energy-saving dryer | |
| CN210892376U (en) | Vacuum drying machine for plastic raw material particles | |
| CN205399077U (en) | Energy -efficient closed stoving room | |
| CN208296488U (en) | Novel roasting barn | |
| CN208635463U (en) | A kind of drying equipment with heat recovery apparatus | |
| CN208720659U (en) | A kind of hot air circular drying machine |
Legal Events
| Date | Code | Title | Description |
|---|---|---|---|
| GR01 | Patent grant | ||
| GR01 | Patent grant | ||
| CF01 | Termination of patent right due to non-payment of annual fee |
Granted publication date: 20200811 Termination date: 20201206 |
|
| CF01 | Termination of patent right due to non-payment of annual fee |