CN211218794U - A hole-opening device for hollow bolt processing that is convenient for replacing drill bits - Google Patents
A hole-opening device for hollow bolt processing that is convenient for replacing drill bits Download PDFInfo
- Publication number
- CN211218794U CN211218794U CN201922113743.0U CN201922113743U CN211218794U CN 211218794 U CN211218794 U CN 211218794U CN 201922113743 U CN201922113743 U CN 201922113743U CN 211218794 U CN211218794 U CN 211218794U
- Authority
- CN
- China
- Prior art keywords
- drill bit
- support frame
- block
- bolt
- convenient
- Prior art date
- Legal status (The legal status is an assumption and is not a legal conclusion. Google has not performed a legal analysis and makes no representation as to the accuracy of the status listed.)
- Expired - Fee Related
Links
Images
Landscapes
- Drilling And Boring (AREA)
Abstract
本实用新型公开了一种方便更换钻头的空心螺栓加工用开孔装置,包括支撑架、电动推杆和驱动机构,所述支撑架的内侧活动安装有第一置物板,所述第一置物板的两侧固定设置有第一引导板,所述第一置物板另一端的支撑架内侧活动安装有第二置物板,所述电动推杆贯穿支撑架的内部,所述夹紧块的边侧固定设置有推块,所述驱动机构螺栓安装在支撑架的顶部,所述连接轴的内部活动安装有安装块,所述钻头的边侧贯穿有活动块,所述连接轴的边侧设置有凸块。该方便更换钻头的空心螺栓加工用开孔装置,能够方便快速的对不同大小的钻头进行更换,并且能够保证其钻孔时的稳定性,在实现了夹持螺栓的同时又能够对其进行支撑,也不会影响钻头钻孔时碎屑的排出。
The utility model discloses a hole-opening device for processing a hollow bolt which is convenient for replacing a drill bit, which comprises a support frame, an electric push rod and a driving mechanism. A first guide plate is fixedly arranged on both sides of the first storage plate, a second storage plate is movably installed on the inner side of the support frame at the other end of the first storage plate, the electric push rod penetrates through the inside of the support frame, and the side of the clamping block A push block is fixedly arranged, the driving mechanism bolt is installed on the top of the support frame, a mounting block is movably installed inside the connecting shaft, a movable block runs through the side of the drill bit, and a side of the connecting shaft is provided with bump. The hole-opening device for hollow bolt processing, which is convenient for replacing drill bits, can easily and quickly replace drill bits of different sizes, and can ensure the stability of the drill during drilling, and can support the bolt while clamping the bolt. , and will not affect the discharge of debris when the drill bit is drilling.
Description
技术领域technical field
本实用新型涉及空心螺栓加工技术领域,具体为一种方便更换钻头的空心螺栓加工用开孔装置。The utility model relates to the technical field of hollow bolt processing, in particular to a hole opening device for hollow bolt processing which is convenient for replacing drill bits.
背景技术Background technique
螺栓是实现两者或者多个零件之间紧密连接的部件,其主要通过螺纹的方式转动来实现紧固的作用,而根据使用场合的不同,对螺栓规格类型的要求也不同,其中空心螺栓就属于螺栓这一大类中的一种,而空心螺栓在投入使用之前需要通过钻孔装置实现其内部的空心,然而现有的空心螺栓开孔装置在使用过程中依旧存在以下缺点:The bolt is a component that realizes the tight connection between two or more parts. It mainly realizes the tightening effect by rotating the thread. According to the different use occasions, the requirements for the type of bolt specifications are also different. It belongs to one of the major categories of bolts, and the hollow bolt needs to be hollowed out through a drilling device before it is put into use. However, the existing hollow bolt drilling device still has the following shortcomings during use:
1.由于被加工的螺栓规格不同,因此所需要钻的孔径也不同,而对于不同孔径的加工需要使用不同大小的钻孔设备,直接对钻头的大小进行更换不够方便;1. Due to the different specifications of the bolts to be processed, the hole diameters required to be drilled are also different, and different sizes of drilling equipment need to be used for the processing of different diameters, and it is not convenient to directly replace the size of the drill bit;
2.并且对螺栓钻孔的过程中需要对其进行夹持,仅通过夹持会造成加工过程中的不稳定,同时持续保持支撑状态会影响钻头的使用。2. In the process of drilling the bolt, it needs to be clamped. Only clamping will cause instability in the processing process, while maintaining the support state will affect the use of the drill bit.
针对上述问题,急需在原有空心螺栓开孔装置的基础上进行创新设计。In view of the above problems, it is urgent to carry out innovative design on the basis of the original hollow bolt hole-opening device.
实用新型内容Utility model content
本实用新型的目的在于提供一种方便更换钻头的空心螺栓加工用开孔装置,以解决上述背景技术提出直接对钻头的大小进行更换不够方便,仅通过夹持会造成加工过程中的不稳定,同时持续保持支撑状态会影响钻头的使用的问题。The purpose of this utility model is to provide a hole-opening device for hollow bolt processing that is convenient for replacing drill bits, so as to solve the problem of the above-mentioned background technology that directly changing the size of drill bits is not convenient enough, and only clamping will cause instability in the processing process, At the same time, maintaining the support state continuously will affect the use of the drill bit.
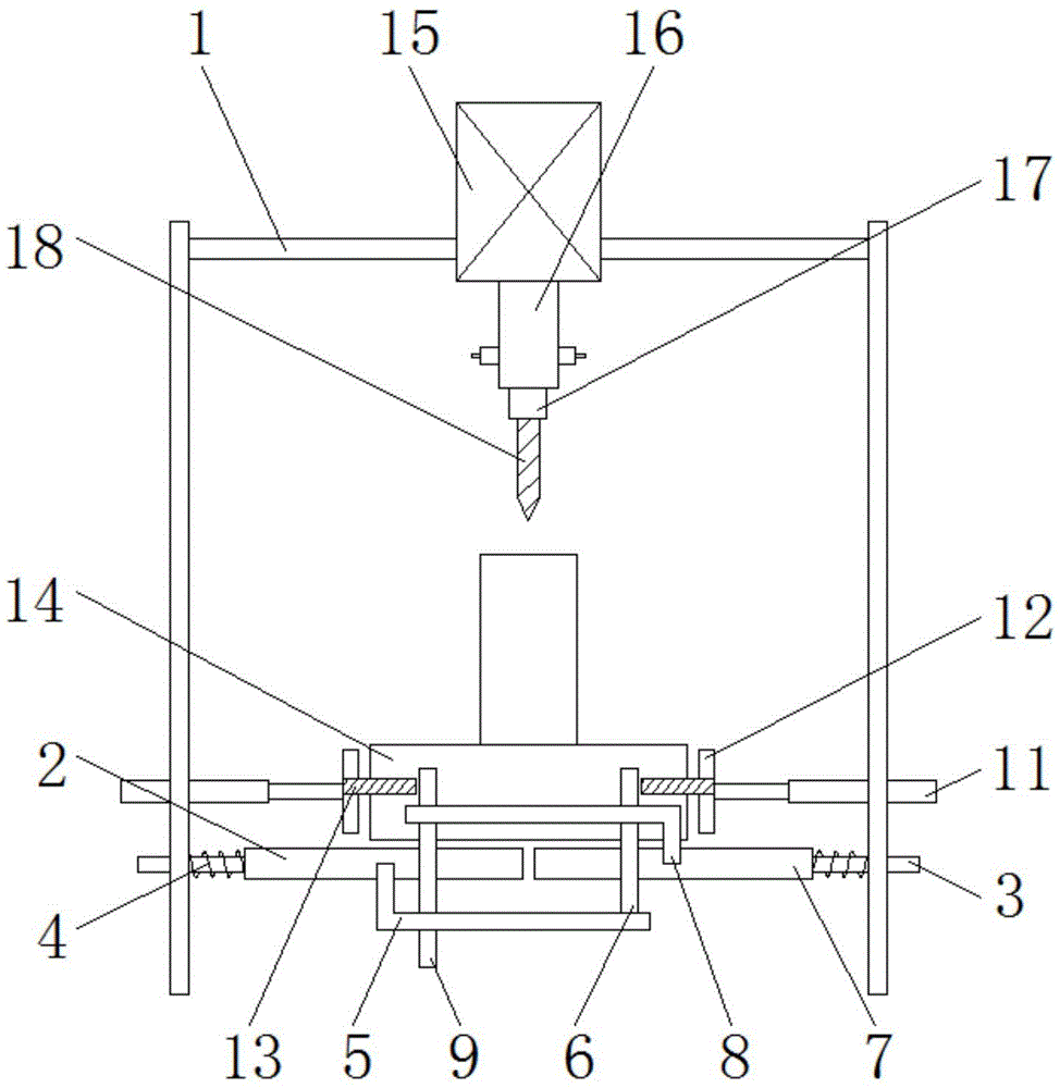
为实现上述目的,本实用新型提供如下技术方案:一种方便更换钻头的空心螺栓加工用开孔装置,包括支撑架、电动推杆和驱动机构,所述支撑架的内侧活动安装有第一置物板,且第一置物板的一端通过支撑杆和支撑架相连,并且支撑杆的外侧缠绕有第一弹簧,所述第一置物板的两侧固定设置有第一引导板,且第一引导板的上端面焊接有第一固定杆,所述第一置物板另一端的支撑架内侧活动安装有第二置物板,且第二置物板的两侧固定设置有第二引导板,所述第二引导板的上端面焊接有第二固定杆,且第二固定杆外侧的第二引导板上开设有通槽,所述电动推杆贯穿支撑架的内部,且电动推杆的端头处连接有夹紧块,所述夹紧块的边侧固定设置有推块,且夹紧块内侧的第一置物板和第二置物板上放置有螺栓本体,所述驱动机构螺栓安装在支撑架的顶部,且驱动机构的底部连接有连接轴,所述连接轴的内部活动安装有安装块,且安装块的底部焊接有钻头,所述钻头的边侧贯穿有活动块,且活动块的端头处固定连接有第二弹簧,所述连接轴的边侧设置有凸块,且凸块的内部贯穿设置有调节杆。In order to achieve the above purpose, the present utility model provides the following technical solutions: a hole-opening device for processing a hollow bolt that is convenient for replacing drill bits, comprising a support frame, an electric push rod and a drive mechanism, and a first object is movably installed on the inner side of the support frame One end of the first storage board is connected to the support frame through a support rod, and the outer side of the support rod is wound with a first spring, the two sides of the first storage board are fixedly provided with a first guide plate, and the first guide plate A first fixing rod is welded on the upper end surface of the first storage plate, a second storage plate is movably installed on the inner side of the support frame at the other end of the first storage plate, and a second guide plate is fixedly arranged on both sides of the second storage plate, and the second storage plate is fixed with a second guide plate. The upper end surface of the guide plate is welded with a second fixing rod, and a through slot is formed on the second guide plate outside the second fixing rod, the electric push rod penetrates through the interior of the support frame, and the end of the electric push rod is connected with a A clamping block, the side of the clamping block is fixedly provided with a push block, and a bolt body is placed on the first storage board and the second storage plate on the inner side of the clamping block, and the driving mechanism bolt is installed on the top of the support frame , and the bottom of the drive mechanism is connected with a connecting shaft, a mounting block is movably installed inside the connecting shaft, and a drill bit is welded to the bottom of the mounting block, the side of the drill bit is penetrated by a movable block, and the end of the movable block is A second spring is fixedly connected, a convex block is arranged on the side of the connecting shaft, and an adjusting rod is arranged through the interior of the convex block.
优选的,所述支撑杆和支撑架为滑动连接,且支撑杆在第一置物板和第二置物板上均有分布,并且两者的边缘处相贴合。Preferably, the support rods and the support frame are slidably connected, and the support rods are distributed on the first storage board and the second storage board, and the edges of the two are in contact with each other.
优选的,所述第二固定杆的两端分别贯穿第一引导板和第二引导板的内部,且第一固定杆的端头处贯穿第二引导板的内部,并且第一固定杆和第二固定杆均通过通槽分别与第二引导板和第一引导板组成滑动结构。Preferably, both ends of the second fixing rod penetrate through the inside of the first guide plate and the second guide plate respectively, and the end of the first fixing rod penetrates through the interior of the second guide plate, and the first fixing rod and the second guide plate respectively Both of the two fixing rods form a sliding structure with the second guide plate and the first guide plate respectively through the through grooves.
优选的,所述推块的端头处与第一固定杆和第二固定杆接触,且推块的截面为“L”形结构。Preferably, the end of the push block is in contact with the first fixing rod and the second fixing rod, and the section of the push block is an "L"-shaped structure.
优选的,所述连接轴和安装块通过活动块组成拆卸安装结构,且2个活动块之间通过第二弹簧相连。Preferably, the connecting shaft and the mounting block form a dismounting and mounting structure through a movable block, and the two movable blocks are connected by a second spring.
优选的,所述调节杆和凸块为螺纹连接,且凸块和活动块的端头处相卡合。Preferably, the adjusting rod and the protruding block are threadedly connected, and the protruding block and the end of the movable block are engaged with each other.
与现有技术相比,本实用新型的有益效果是:该方便更换钻头的空心螺栓加工用开孔装置,能够方便快速的对不同大小的钻头进行更换,并且能够保证其钻孔时的稳定性,在实现了夹持螺栓的同时又能够对其进行支撑,也不会影响钻头钻孔时碎屑的排出;Compared with the prior art, the beneficial effect of the present invention is that the hole-opening device for hollow bolt processing, which is convenient for replacing drill bits, can easily and quickly replace drill bits of different sizes, and can ensure the stability of the drill when drilling. , while realizing the clamping bolt, it can also support it, and it will not affect the discharge of debris when the drill bit is drilling;
1.通过按压活动块即可快速将钻头安装在连接轴内,而通过调节杆的转动能够让其与活动块紧密贴合,进而保证钻头在连接轴内的稳定性,持续转动即可实现对钻头的拆卸;1. The drill bit can be quickly installed in the connecting shaft by pressing the movable block, and the rotation of the adjusting rod can make it closely fit with the movable block, thereby ensuring the stability of the drill bit in the connecting shaft. disassembly of the drill;
2.通过夹紧块对螺栓夹紧的同时,通过推块推动固定杆在引导板内滑动,能够实现2个置物板朝相反的方向移动,2个置物板之间空隙方便钻孔和碎屑的掉落,又能够对螺栓的边缘处进行支撑。2. While the bolt is clamped by the clamping block, the fixed rod is pushed to slide in the guide plate by the push block, so that the two storage plates can move in opposite directions, and the space between the two storage plates is convenient for drilling and debris. falling, and can support the edge of the bolt.
附图说明Description of drawings
图1为本实用新型正视结构示意图;Fig. 1 is the front view structure schematic diagram of the present utility model;
图2为本实用新型俯视结构示意图;Fig. 2 is the top view structure schematic diagram of the utility model;
图3为本实用新型连接轴正剖结构示意图;Figure 3 is a schematic diagram of the cross-sectional structure of the connecting shaft of the present utility model;
图4为本实用新型安装块正剖结构示意图。FIG. 4 is a schematic view of the front sectional structure of the installation block of the present invention.
图中:1、支撑架;2、第一置物板;3、支撑杆;4、第一弹簧;5、第一引导板;6、第一固定杆;7、第二置物板;8、第二引导板;9、第二固定杆; 10、通槽;11、电动推杆;12、夹紧块;13、推块;14、螺栓本体;15、驱动机构;16、连接轴;17、安装块;18、钻头;19、活动块;20、第二弹簧; 21、凸块;22、调节杆。In the figure: 1. Support frame; 2. The first storage board; 3. Support rod; 4. The first spring; 5. The first guide plate; 6. The first fixed rod; 7. The second storage board; 8. The first 2. Guide plate; 9. Second fixing rod; 10. Through groove; 11. Electric push rod; 12. Clamping block; 13. Pushing block; 14. Bolt body; 15. Driving mechanism; 16. Connecting shaft; 17. Installation block; 18, drill bit; 19, movable block; 20, second spring; 21, bump; 22, adjustment rod.
具体实施方式Detailed ways
下面将结合本实用新型实施例中的附图,对本实用新型实施例中的技术方案进行清楚、完整地描述,显然,所描述的实施例仅仅是本实用新型一部分实施例,而不是全部的实施例。基于本实用新型中的实施例,本领域普通技术人员在没有做出创造性劳动前提下所获得的所有其他实施例,都属于本实用新型保护的范围。The technical solutions in the embodiments of the present utility model will be clearly and completely described below with reference to the accompanying drawings in the embodiments of the present utility model. Obviously, the described embodiments are only a part of the embodiments of the present utility model, rather than all the implementations. example. Based on the embodiments of the present invention, all other embodiments obtained by those of ordinary skill in the art without creative work fall within the protection scope of the present invention.
请参阅图1-4,本实用新型提供一种技术方案:一种方便更换钻头的空心螺栓加工用开孔装置,包括支撑架1、第一置物板2、支撑杆3、第一弹簧4、第一引导板5、第一固定杆6、第二置物板7、第二引导板8、第二固定杆9、通槽10、电动推杆11、夹紧块12、推块13、螺栓本体14、驱动机构15、连接轴16、安装块17、钻头18、活动块19、第二弹簧20、凸块21和调节杆22,支撑架1的内侧活动安装有第一置物板2,且第一置物板2的一端通过支撑杆3和支撑架1相连,并且支撑杆3的外侧缠绕有第一弹簧4,第一置物板 2的两侧固定设置有第一引导板5,且第一引导板5的上端面焊接有第一固定杆6,第一置物板2另一端的支撑架1内侧活动安装有第二置物板7,且第二置物板7的两侧固定设置有第二引导板8,第二引导板8的上端面焊接有第二固定杆9,且第二固定杆9外侧的第二引导板8上开设有通槽10,电动推杆 11贯穿支撑架1的内部,且电动推杆11的端头处连接有夹紧块12,夹紧块 12的边侧固定设置有推块13,且夹紧块12内侧的第一置物板2和第二置物板7上放置有螺栓本体14,驱动机构15螺栓安装在支撑架1的顶部,且驱动机构15的底部连接有连接轴16,连接轴16的内部活动安装有安装块17,且安装块17的底部焊接有钻头18,钻头18的边侧贯穿有活动块19,且活动块19的端头处固定连接有第二弹簧20,连接轴16的边侧设置有凸块21,且凸块21的内部贯穿设置有调节杆22;Please refer to FIGS. 1-4 , the present utility model provides a technical solution: a hole-opening device for processing hollow bolts that is convenient for replacing drill bits, comprising a
支撑杆3和支撑架1为滑动连接,且支撑杆3在第一置物板2和第二置物板7上均有分布,并且两者的边缘处相贴合,第一置物板2和第二置物板7 移动时带动支撑杆3在支撑架1上滑动,通过第一弹簧4的设置,在推块13 不对其施力时能够带动第一置物板2和第二置物板7恢复至贴合状态;The
第二固定杆9的两端分别贯穿第一引导板5和第二引导板8的内部,且第一固定杆6的端头处贯穿第二引导板8的内部,并且第一固定杆6和第二固定杆9均通过通槽10分别与第二引导板8和第一引导板5组成滑动结构,推块13的端头处与第一固定杆6和第二固定杆9接触,且推块13的截面为“L”形结构,夹紧块12带动推块13运动至与第一固定杆6和第二固定杆9 接触时,能够带动两者在第二引导板8和第一引导板5上的通槽10内滑动,此时2个夹紧块12对螺栓本体14夹紧,同时通过第一置物板2和第二置物板7又能够对螺栓本体14的底部进行支撑,两者之间具有空隙方便钻孔时碎屑的排出;Both ends of the
连接轴16和安装块17通过活动块19组成拆卸安装结构,且2个活动块 19之间通过第二弹簧20相连,通过按压2个活动块19能够带动其收缩进安装块17内,这样即可实现快速将钻头18安装进连接轴16内;The connecting
调节杆22和凸块21为螺纹连接,且凸块21和活动块19的端头处相卡合,通过转送调节杆22改变其在凸块21上的位置,即可实现调节杆22与活动块19之间的紧密贴合,保证钻头18在钻孔时的稳定性,通过持续转动调节杆22带动活动块19收缩,即可实现快速对钻头18拆卸的目的。The adjusting
工作原理:在使用该方便更换钻头的空心螺栓加工用开孔装置时,如图 1-2所示,首先将需要钻孔的螺栓本体14放在第一置物板2和第二置物板7 之间,如图2,然后电动推杆11推动夹紧块12移动对螺栓本体14进行夹紧,当夹紧块12带动推块13运动至与第一固定杆6和第二固定杆9接触时,能够带动两者在第二引导板8和第一引导板5上的通槽10内滑动,进而推动第一置物板2和第二置物板7相互远离产生缝隙,此时2个夹紧块12对螺栓本体14夹紧,同时通过第一置物板2和第二置物板7又能够对螺栓本体14的底部进行支撑,两者之间具有空隙方便钻孔时碎屑的排出,而第一置物板2 和第二置物板7移动时带动支撑杆3在支撑架1上滑动,通过第一弹簧4的设置,在推块13不对其施力时能够带动第一置物板2和第二置物板7恢复至贴合状态;Working principle: When using the hole drilling device for hollow bolt processing, which is convenient for replacing drill bits, as shown in Figure 1-2, first place the
如图1和图3-4所示,由于被加工的螺栓本体14规格不同,因此所需钻孔的孔径大小也不同,如图4,通过按压2个活动块19能够带动其收缩进安装块17内,并带动第二弹簧20压缩,这样即可实现快速将钻头18安装进连接轴16内,如图3,通过转送调节杆22改变其在凸块21上的位置,即可实现调节杆22与活动块19之间的紧密贴合,保证钻头18在钻孔时的稳定性,通过持续转动调节杆22带动活动块19收缩,即可实现快速对钻头18拆卸的目的。As shown in Figure 1 and Figure 3-4, due to the different specifications of the
尽管参照前述实施例对本实用新型进行了详细的说明,对于本领域的技术人员来说,其依然可以对前述各实施例所记载的技术方案进行修改,或者对其中部分技术特征进行等同替换,凡在本实用新型的精神和原则之内,所作的任何修改、等同替换、改进等,均应包含在本实用新型的保护范围之内。Although the present invention has been described in detail with reference to the foregoing embodiments, for those skilled in the art, it is still possible to modify the technical solutions described in the foregoing embodiments, or perform equivalent replacements for some of the technical features. Within the spirit and principle of the present utility model, any modifications, equivalent replacements, improvements, etc. made shall be included within the protection scope of the present utility model.
Claims (6)
Priority Applications (1)
| Application Number | Priority Date | Filing Date | Title |
|---|---|---|---|
| CN201922113743.0U CN211218794U (en) | 2019-12-02 | 2019-12-02 | A hole-opening device for hollow bolt processing that is convenient for replacing drill bits |
Applications Claiming Priority (1)
| Application Number | Priority Date | Filing Date | Title |
|---|---|---|---|
| CN201922113743.0U CN211218794U (en) | 2019-12-02 | 2019-12-02 | A hole-opening device for hollow bolt processing that is convenient for replacing drill bits |
Publications (1)
| Publication Number | Publication Date |
|---|---|
| CN211218794U true CN211218794U (en) | 2020-08-11 |
Family
ID=71940819
Family Applications (1)
| Application Number | Title | Priority Date | Filing Date |
|---|---|---|---|
| CN201922113743.0U Expired - Fee Related CN211218794U (en) | 2019-12-02 | 2019-12-02 | A hole-opening device for hollow bolt processing that is convenient for replacing drill bits |
Country Status (1)
| Country | Link |
|---|---|
| CN (1) | CN211218794U (en) |
Cited By (1)
| Publication number | Priority date | Publication date | Assignee | Title |
|---|---|---|---|---|
| CN112140194A (en) * | 2020-09-21 | 2020-12-29 | 庐山市环绿时代农业科技开发有限公司 | Quick section device is used in tuber of hyacinth bletilla processing with adjustable |
-
2019
- 2019-12-02 CN CN201922113743.0U patent/CN211218794U/en not_active Expired - Fee Related
Cited By (1)
| Publication number | Priority date | Publication date | Assignee | Title |
|---|---|---|---|---|
| CN112140194A (en) * | 2020-09-21 | 2020-12-29 | 庐山市环绿时代农业科技开发有限公司 | Quick section device is used in tuber of hyacinth bletilla processing with adjustable |
Similar Documents
| Publication | Publication Date | Title |
|---|---|---|
| CN104289924A (en) | Non-planar-long-and-thin-profile-machining-oriented self-adaptive linkage clamping device and method | |
| CN211218794U (en) | A hole-opening device for hollow bolt processing that is convenient for replacing drill bits | |
| CN211136366U (en) | Integral machine tool spindle oil cylinder clamping device | |
| CN209477366U (en) | An automatic punching device for a horizontal lathe | |
| CN107838692A (en) | A kind of cross beam clamping mechanism for Heavy Traverse lifting Longmen machine tool | |
| CN206022854U (en) | A kind of multi-channel electronic line interface hold down gag of adjustable distance | |
| CN204182684U (en) | A kind of can the guide holding device of fast roll changing | |
| CN210878619U (en) | Workpiece positioning device for vertical milling machine | |
| CN217002516U (en) | A spliced flange | |
| CN219153192U (en) | A plate composite cold press | |
| CN103009152A (en) | Internal clamping fixture | |
| CN211305739U (en) | A high-efficiency grinding device for stainless steel pipe processing | |
| CN211729521U (en) | Door processing kerve equipment | |
| CN115958082A (en) | Installation device for pipe making machine | |
| CN221952466U (en) | Gear ring external processing auxiliary mechanism | |
| CN219325146U (en) | Clamping tool for maintenance of bench equipment | |
| CN218692927U (en) | A punching machine for machine parts production usefulness | |
| CN218311527U (en) | Perforating device is used in aluminium veneer processing production | |
| CN207829924U (en) | Coal-mine hydraulic support bolumn cap | |
| CN219053156U (en) | Special fixture for machining precise slow-walking wire cutting parts | |
| CN106041774A (en) | Novel locating and pressing clamp | |
| CN217197078U (en) | A hydraulic press that facilitates stable replacement of fixtures | |
| CN222494178U (en) | A gasket processing fixed support mechanism | |
| CN221967112U (en) | A semi-automatic welding tool for the wear-resistant layer of the hammer plate of a mining crusher | |
| CN218135273U (en) | Cutter is used in steel construction processing |
Legal Events
| Date | Code | Title | Description |
|---|---|---|---|
| GR01 | Patent grant | ||
| GR01 | Patent grant | ||
| CF01 | Termination of patent right due to non-payment of annual fee |
Granted publication date: 20200811 |
