CN211169216U - Single-face laminating mechanism for iron can production - Google Patents
Single-face laminating mechanism for iron can production Download PDFInfo
- Publication number
- CN211169216U CN211169216U CN201921972110.9U CN201921972110U CN211169216U CN 211169216 U CN211169216 U CN 211169216U CN 201921972110 U CN201921972110 U CN 201921972110U CN 211169216 U CN211169216 U CN 211169216U
- Authority
- CN
- China
- Prior art keywords
- rod
- guide
- fixedly connected
- worktable
- iron
- Prior art date
- Legal status (The legal status is an assumption and is not a legal conclusion. Google has not performed a legal analysis and makes no representation as to the accuracy of the status listed.)
- Expired - Fee Related
Links
Images
Landscapes
- Lining Or Joining Of Plastics Or The Like (AREA)
Abstract
本实用新型公开了一种铁罐生产用单面复膜机构,包括工作台,所述工作台底侧对称固定连接有支撑腿,所述工作台上设有传送带,所述工作台通过安装架转动连接有覆膜热压辊,所述工作台上分别固定连接有第一固定杆和第二固定杆,所述第一固定杆、第二固定杆远离工作台的一端固定连接有安装板,所述安装板底侧转动连接有放膜卷辊,所述第二固定杆上固定连接有导向套。本实用新型当张紧力调节过大时,凹板会带动导向辊向右侧进行适应性移动,安装杆向缓冲槽外侧滑动,从而转动杆发生转动,使得两个滑块相向滑动,从而压缩弹簧,使得整个张紧调节过程具有一定缓冲余量,避免张紧力过大将膜撕扯损坏。
The utility model discloses a single-sided laminating mechanism for iron can production, comprising a worktable, the bottom side of the worktable is symmetrically and fixedly connected with support legs, the worktable is provided with a conveyor belt, and the worktable passes through a mounting frame A film-coated hot-pressing roller is rotatably connected, a first fixing rod and a second fixing rod are fixedly connected to the worktable respectively, and a mounting plate is fixedly connected to one end of the first and second fixing rods away from the worktable, A film unwinding roller is rotatably connected to the bottom side of the mounting plate, and a guide sleeve is fixedly connected to the second fixing rod. When the tension adjustment of the utility model is too large, the concave plate will drive the guide roller to move to the right side adaptively, and the installation rod slides to the outside of the buffer groove, so that the rotating rod rotates, so that the two sliding blocks slide toward each other, thereby compressing The spring makes the whole tension adjustment process have a certain buffer margin to avoid the film tearing and damaging due to excessive tension.
Description
技术领域technical field
本实用新型涉及铁罐生产技术领域,尤其涉及一种铁罐生产用单面复膜机构。The utility model relates to the technical field of iron can production, in particular to a single-sided laminating mechanism for iron can production.
背景技术Background technique
铁罐的生产工艺过程采用覆膜板生产金属罐,一般采用钢板→PP膜→覆膜钢板→UV印刷→覆膜铁罐工艺过程,金属罐的罐身通常采用焊接方法,焊接后的金属露出部分必须进行覆膜补涂,由于在制罐过程中不使用粘着剂和润滑剂,因此可避免附加材料导致的耐内容物性、残留溶剂、可塑剂等溶出的危险。The production process of iron cans uses film-coated plates to produce metal cans. Generally, steel plates → PP film → film-coated steel plates → UV printing → film-coated iron cans are used. The body of the metal can is usually welded, and the metal after welding is exposed. Some parts must be covered with recoating. Since no adhesives and lubricants are used in the can making process, the risk of dissolution of content resistance, residual solvents, plasticizers, etc. caused by additional materials can be avoided.
而用于生产铁罐的金属板材在覆膜时,保护膜随着放卷辊的放卷工作其表面张力会越来越小,导致在覆膜过程中容易产生气泡,影响产品质量。When the metal sheet used for the production of iron cans is coated, the surface tension of the protective film will become smaller and smaller with the unwinding of the unwinding roller, resulting in easy generation of air bubbles during the coating process and affecting product quality.
实用新型内容Utility model content
本实用新型的目的是为了解决现有技术中“金属板材在覆膜时,保护膜随着放卷辊的放卷工作其表面张力会越来越小,导致在覆膜过程中容易产生气泡,影响产品质量”的缺陷,从而提出一种铁罐生产用单面复膜机构。The purpose of this utility model is to solve the problem in the prior art that "when the metal sheet is covered with film, the surface tension of the protective film will become smaller and smaller with the unwinding of the unwinding roller, resulting in easy generation of air bubbles during the filming process. Therefore, a single-sided laminating mechanism for iron can production is proposed.
为了实现上述目的,本实用新型采用了如下技术方案:In order to achieve the above-mentioned purpose, the utility model adopts the following technical solutions:
一种铁罐生产用单面复膜机构,包括工作台,所述工作台底侧对称固定连接有支撑腿,所述工作台上设有传送带,所述工作台通过安装架转动连接有覆膜热压辊,所述工作台上分别固定连接有第一固定杆和第二固定杆,所述第一固定杆、第二固定杆远离工作台的一端固定连接有安装板,所述安装板底侧转动连接有放膜卷辊,所述第二固定杆上固定连接有导向套,所述导向套内滑动连接有导向杆,所述导向杆的一侧设有调节机构,所述导向杆通过安装杆连接有凹板,所述凹板内固定连接有滑杆,所述滑杆上设有弹性机构,所述安装杆的一端设有导向机构A single-sided laminating mechanism for iron can production, comprising a workbench, a bottom side of the workbench is symmetrically and fixedly connected with support legs, a conveyor belt is arranged on the workbench, and a coating film is rotated and connected to the workbench through a mounting frame. Hot pressing roller, a first fixing rod and a second fixing rod are fixedly connected to the worktable respectively, and a mounting plate is fixedly connected to one end of the first and second fixing rods away from the worktable, and the bottom of the mounting plate is fixedly connected. A film unwinding roller is rotatably connected to the side, a guide sleeve is fixedly connected to the second fixing rod, a guide rod is slidably connected in the guide sleeve, and one side of the guide rod is provided with an adjustment mechanism, and the guide rod passes through The installation rod is connected with a concave plate, and a sliding rod is fixedly connected in the concave plate, the sliding rod is provided with an elastic mechanism, and one end of the installation rod is provided with a guiding mechanism
优选的,所述弹性机构包括两个滑块,两个所述滑块对称滑动连接在滑杆上,两个所述滑块之间固定连接有弹簧,所述弹簧套设在滑杆上,两个所述滑块上均转动连接有转动杆,所述转动杆远离滑块的一端转动连接在导向杆上。Preferably, the elastic mechanism includes two sliding blocks, the two sliding blocks are symmetrically connected to the sliding rod, and a spring is fixedly connected between the two sliding blocks, and the spring is sleeved on the sliding rod, A rotating rod is rotatably connected to the two sliding blocks, and one end of the rotating rod away from the sliding block is rotatably connected to the guide rod.
优选的,所述导向机构包括导向架,所述导向架固定连接在安装杆的右端,所述导向架上转动连接有导向辊。Preferably, the guide mechanism includes a guide frame, the guide frame is fixedly connected to the right end of the installation rod, and a guide roller is rotatably connected to the guide frame.
优选的,所述调节机构包括螺纹杆,所述螺纹杆螺纹连接在导向套上,所述螺纹杆延伸至导向套内的一端转动连接在导向杆上,所述螺纹杆远离导向杆的一端固定连接有旋柄。Preferably, the adjustment mechanism includes a threaded rod, the threaded rod is threadedly connected to the guide sleeve, one end of the threaded rod extending into the guide sleeve is rotatably connected to the guide rod, and one end of the threaded rod away from the guide rod is fixed A rotary handle is attached.
优选的,所述导向杆内开设有缓冲槽,所述安装杆滑动连接在缓冲槽内。Preferably, a buffer groove is formed in the guide rod, and the installation rod is slidably connected in the buffer groove.
与现有技术相比,本实用新型的有益效果是:Compared with the prior art, the beneficial effects of the present utility model are:
1、在覆膜的过程中,当保护膜表面张力减小时,可直接旋转旋柄带动螺纹杆进行转动,从而使得导向杆向导向套内滑动,从而带动导向辊移动,从而牵引保护膜进行张紧,提高保护膜表面张力。1. In the process of laminating, when the surface tension of the protective film is reduced, the rotary handle can be directly rotated to drive the threaded rod to rotate, so that the guide rod slides into the guide sleeve, thereby driving the guide roller to move, thereby pulling the protective film to stretch. tight and increase the surface tension of the protective film.
2、当张紧力调节过大时,凹板会带动导向辊向右侧进行适应性移动,安装杆向缓冲槽外侧滑动,从而转动杆发生转动,使得两个滑块相向滑动,从而压缩弹簧,使得整个张紧调节过程具有一定缓冲余量,避免张紧力过大将膜撕扯损坏。2. When the tension adjustment is too large, the concave plate will drive the guide roller to move to the right side adaptively, and the installation rod slides to the outside of the buffer groove, so that the rotating rod rotates, causing the two sliders to slide toward each other, thereby compressing the spring , so that the entire tension adjustment process has a certain buffer margin to avoid the film tearing and damaging due to excessive tension.
附图说明Description of drawings
图1为本实用新型提出的一种铁罐生产用单面复膜机构的正面结构示意图;Fig. 1 is the front structure schematic diagram of a kind of iron can production single-sided lamination mechanism proposed by the utility model;
图2为图1中A处的放大示意图。FIG. 2 is an enlarged schematic view of A in FIG. 1 .
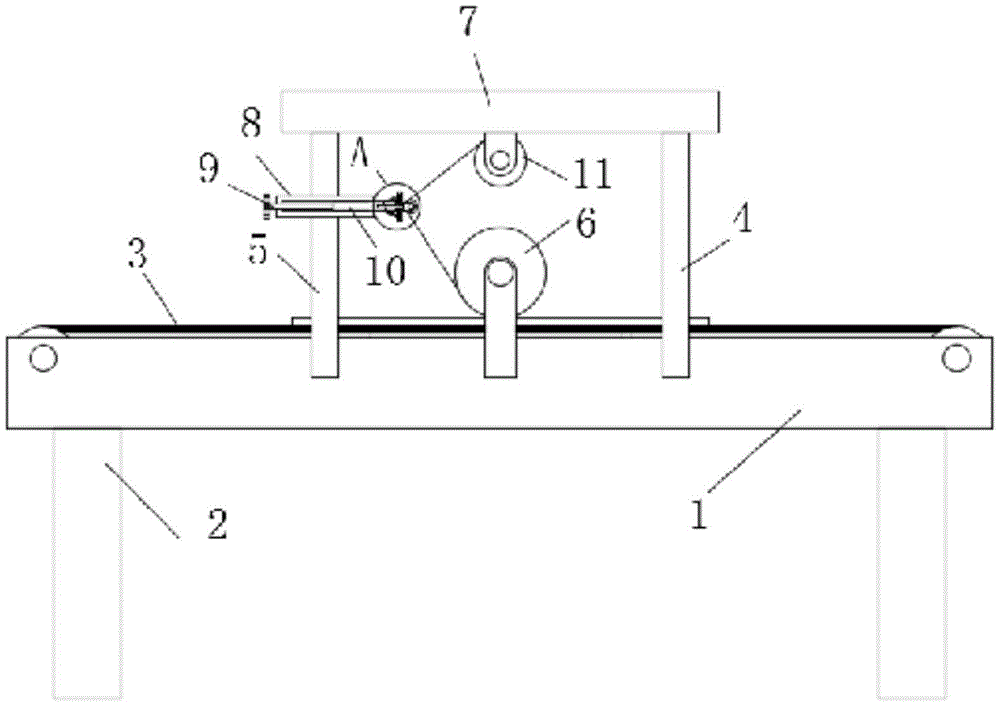
图中:1-工作台、2-支撑腿、3-传送带、4-第一固定杆、5-第二固定杆。6-覆膜热压辊、7-安装板、8-导向套、9-螺纹杆、10-导向杆、11-放膜卷辊、12-安装杆、13-导向架、14-导向辊、15-凹板、16-滑块、17-转动杆、18-滑杆、19-弹簧、20-缓冲槽。In the picture: 1- workbench, 2- support legs, 3- conveyor belt, 4- first fixing rod, 5- second fixing rod. 6-Laminating hot pressing roller, 7-Installation plate, 8-Guide sleeve, 9-Threaded rod, 10-Guide rod, 11-Film unwinding roll, 12-Installation rod, 13-Guide frame, 14-Guide roll, 15-concave plate, 16-slider, 17-rotation rod, 18-slide rod, 19-spring, 20-buffer groove.
具体实施方式Detailed ways
下面将结合本实用新型实施例中的附图,对本实用新型实施例中的技术方案进行清楚、完整地描述,显然,所描述的实施例仅仅是本实用新型一部分实施例,而不是全部的实施例。The technical solutions in the embodiments of the present utility model will be clearly and completely described below with reference to the accompanying drawings in the embodiments of the present utility model. Obviously, the described embodiments are only a part of the embodiments of the present utility model, rather than all the implementations. example.
在本实用新型的描述中,需要理解的是,术语“上”、“下”、“前”、“后”、“左”、“右”、“顶”、“底”、“内”、 “外”等指示的方位或位置关系为基于附图所示的方位或位置关系,仅是为了便于描述本实用新型和简化描述,而不是指示或暗示所指的装置或元件必须具有特定的方位、以特定的方位构造和操作,因此不能理解为对本实用新型的限制。In the description of the present invention, it should be understood that the terms "upper", "lower", "front", "rear", "left", "right", "top", "bottom", "inside", The orientation or positional relationship indicated by "outside" is based on the orientation or positional relationship shown in the accompanying drawings, which is only for the convenience of describing the present invention and simplifying the description, rather than indicating or implying that the indicated device or element must have a specific orientation , are constructed and operated in a specific orientation, and therefore should not be construed as a limitation of the present invention.
参照图1-2,一种铁罐生产用单面复膜机构,包括工作台1,工作台1底侧对称固定连接有支撑腿2,工作台1上设有传送带3,工作台1通过安装架转动连接有覆膜热压辊6,工作台1上分别固定连接有第一固定杆4和第二固定杆5,第一固定杆4、第二固定杆5远离工作台1的一端固定连接有安装板7,安装板7底侧转动连接有放膜卷辊11,覆膜热压辊6、放膜卷辊11均通过电机驱动,第二固定杆5上固定连接有导向套8,导向套8内滑动连接有导向杆10,导向杆10的一侧设有调节机构,调节机构包括螺纹杆9,螺纹杆9螺纹连接在导向套8上,螺纹杆9延伸至导向套8内的一端转动连接在导向杆10上,螺纹杆9远离导向杆10的一端固定连接有旋柄,可直接旋转旋柄带动螺纹杆9进行转动,从而使得导向杆10在导向套8内伸缩滑动,从而调节导向辊14位置来控制保护膜张紧力大小。Referring to Figures 1-2, a single-sided laminating mechanism for iron can production includes a
导向杆10通过安装杆12固定连接有凹板15,导向杆10内开设有缓冲槽20,安装杆12滑动连接在缓冲槽20内,安装杆12用于限位凹板15的限位,防止其转动偏移,凹板15内固定连接有滑杆18,滑杆18上设有弹性机构,弹性机构包括两个滑块16,两个滑块16对称滑动连接在滑杆18上,两个滑块16之间固定连接有弹簧19,弹簧19套设在滑杆18上,两个滑块16上均转动连接有转动杆17,转动杆17远离滑块16的一端转动连接在导向杆10上,当张紧力调节过大时,转动杆17发生转动,使得两个滑块16相向滑动,从而压缩弹簧19,使得整个张紧调节过程具有一定缓冲余量,安装杆12的一端设有导向机构,导向机构包括导向架13,导向架13固定连接在安装杆12的右端,导向架13上转动连接有导向辊14,导向辊14起到牵引保护膜的作用。The
本实用新型中,在覆膜的过程中,当保护膜表面张力减小时,可直接旋转旋柄带动螺纹杆9进行转动,从而使得导向杆10向导向套8内滑动,从而带动导向辊14移动,从而牵引保护膜进行张紧,提高保护膜表面张力,当张紧力调节过大时,凹板15会带动导向辊14向右侧进行适应性移动,安装杆12向缓冲槽20外侧滑动,从而转动杆17发生转动,使得两个滑块16相向滑动,从而压缩弹簧19,使得整个张紧调节过程具有一定缓冲余量,避免张紧力过大将膜撕扯损坏。In the present invention, in the process of film coating, when the surface tension of the protective film is reduced, the rotary handle can be directly rotated to drive the threaded
以上所述,仅为本实用新型较佳的具体实施方式,但本实用新型的保护范围并不局限于此,任何熟悉本技术领域的技术人员在本实用新型揭露的技术范围内,根据本实用新型的技术方案及其实用新型构思加以等同替换或改变,都应涵盖在本实用新型的保护范围之内。The above description is only a preferred embodiment of the present invention, but the protection scope of the present invention is not limited to this. Equivalent replacement or modification of the new technical solution and its utility model concept shall be included within the protection scope of the present utility model.
Claims (5)
Priority Applications (1)
| Application Number | Priority Date | Filing Date | Title |
|---|---|---|---|
| CN201921972110.9U CN211169216U (en) | 2019-11-15 | 2019-11-15 | Single-face laminating mechanism for iron can production |
Applications Claiming Priority (1)
| Application Number | Priority Date | Filing Date | Title |
|---|---|---|---|
| CN201921972110.9U CN211169216U (en) | 2019-11-15 | 2019-11-15 | Single-face laminating mechanism for iron can production |
Publications (1)
| Publication Number | Publication Date |
|---|---|
| CN211169216U true CN211169216U (en) | 2020-08-04 |
Family
ID=71821100
Family Applications (1)
| Application Number | Title | Priority Date | Filing Date |
|---|---|---|---|
| CN201921972110.9U Expired - Fee Related CN211169216U (en) | 2019-11-15 | 2019-11-15 | Single-face laminating mechanism for iron can production |
Country Status (1)
| Country | Link |
|---|---|
| CN (1) | CN211169216U (en) |
Cited By (1)
| Publication number | Priority date | Publication date | Assignee | Title |
|---|---|---|---|---|
| CN115229351A (en) * | 2022-07-11 | 2022-10-25 | 浙江依爱夫游戏装文化产业有限公司 | Production device and process of self-heating heat-preserving swimwear material |
-
2019
- 2019-11-15 CN CN201921972110.9U patent/CN211169216U/en not_active Expired - Fee Related
Cited By (1)
| Publication number | Priority date | Publication date | Assignee | Title |
|---|---|---|---|---|
| CN115229351A (en) * | 2022-07-11 | 2022-10-25 | 浙江依爱夫游戏装文化产业有限公司 | Production device and process of self-heating heat-preserving swimwear material |
Similar Documents
| Publication | Publication Date | Title |
|---|---|---|
| CN211868852U (en) | A compression device for foam lamination processing | |
| CN213356438U (en) | Film smoothing device of printing machine | |
| CN211169216U (en) | Single-face laminating mechanism for iron can production | |
| CN210973296U (en) | Automatic mechanism of pasting of gauze book with accurate location | |
| CN210062385U (en) | A printing and laminating device | |
| CN110921392B (en) | Rewinding device suitable for film | |
| CN210911154U (en) | Plastic part surface film laminating machine | |
| CN115742276A (en) | Polyethylene embossing and laminating integrated equipment and technology for air conditioner | |
| CN207983979U (en) | A kind of workpiece circumferential surface rotation laminator | |
| CN211000427U (en) | Clothing positioner | |
| CN219507233U (en) | Rolling device for printing machine | |
| CN210312706U (en) | A unloading coiling mechanism for automatic laminating machine | |
| CN216782999U (en) | Metal plate active uncoiling and laminating device | |
| CN209815303U (en) | Feeding deviation correcting device of rigging machine | |
| CN204471291U (en) | Dolly lockd up by a kind of printing machine | |
| CN221189254U (en) | Binding equipment for aluminum foil processing | |
| CN218930073U (en) | Liquid crystal display product labeling equipment | |
| CN209113169U (en) | A kind of electroplating strip mobile winding car | |
| CN218360311U (en) | Novel metal machinery plates machine with two rolls | |
| CN202174147U (en) | Floating and adjustable width double-inflatable interlining device | |
| CN219823183U (en) | Release paper stripping device | |
| CN223072852U (en) | Film laminating machine easy to change rolls | |
| CN221848269U (en) | Auxiliary support plate mechanism for CNC bending machine | |
| CN219096280U (en) | Cold tectorial membrane device of printing machine | |
| CN223239357U (en) | Plastic film double-sided printing device |
Legal Events
| Date | Code | Title | Description |
|---|---|---|---|
| GR01 | Patent grant | ||
| GR01 | Patent grant | ||
| CF01 | Termination of patent right due to non-payment of annual fee | ||
| CF01 | Termination of patent right due to non-payment of annual fee |
Granted publication date: 20200804 |
