CN211165497U - An automatic lift type two-way hydraulic press - Google Patents
An automatic lift type two-way hydraulic press Download PDFInfo
- Publication number
- CN211165497U CN211165497U CN201921908302.3U CN201921908302U CN211165497U CN 211165497 U CN211165497 U CN 211165497U CN 201921908302 U CN201921908302 U CN 201921908302U CN 211165497 U CN211165497 U CN 211165497U
- Authority
- CN
- China
- Prior art keywords
- base
- fixedly connected
- lifting
- frame
- hydraulic press
- Prior art date
- Legal status (The legal status is an assumption and is not a legal conclusion. Google has not performed a legal analysis and makes no representation as to the accuracy of the status listed.)
- Expired - Fee Related
Links
- 230000003028 elevating effect Effects 0.000 claims 1
- 238000003825 pressing Methods 0.000 description 3
- 238000010586 diagram Methods 0.000 description 2
- 238000012986 modification Methods 0.000 description 2
- 230000004048 modification Effects 0.000 description 2
- 230000009286 beneficial effect Effects 0.000 description 1
- 238000004519 manufacturing process Methods 0.000 description 1
- 238000000034 method Methods 0.000 description 1
Images
Landscapes
- Press Drives And Press Lines (AREA)
Abstract
本实用新型公开了一种自动升降式双路液压机,包括底座、支撑腿和支撑架,底座的底端两侧均固定安装有支撑腿,底座内设有升降机构,底座上端设有支撑架,支撑架的上顶端设有液压缸,支撑架内顶壁两侧均固定安装有导向杆,液压缸的一端安装有机架,机架的两端均开设有有通孔,且两个导向杆均穿过通孔与固定座固定连接,本实用新型结构简单,通过在底座内设有升降机构、电机、涡杆、涡轮、螺纹杆、升降板、升降杆、滑槽和滑块之间的相互配合使用,实现对支撑架的高度进行调节,该液压机可通过电机控制升降,不会因为高度而受到限制,无法正常工作,也不需要人去搬动,省时省力,使得液压机的能适应不同的高度,工作面更广。
The utility model discloses an automatic lifting type double-channel hydraulic press, which comprises a base, a supporting leg and a supporting frame. The supporting legs are fixedly installed on both sides of the bottom end of the base, a lifting mechanism is arranged in the base, and a supporting frame is arranged at the upper end of the base. The upper top of the support frame is provided with a hydraulic cylinder, guide rods are fixedly installed on both sides of the inner top wall of the support frame, one end of the hydraulic cylinder is installed with a frame, both ends of the frame are provided with through holes, and two guide rods They all pass through the through holes and are fixedly connected to the fixed seat. The structure of the utility model is simple. Used in conjunction with each other, the height of the support frame can be adjusted. The hydraulic press can be controlled up and down by the motor. It will not be restricted by the height and cannot work normally. It does not require people to move it. With different heights, the working surface is wider.
Description
技术领域technical field
本实用新型涉及一种液压机装置,特别涉及一种自动升降式双路液压机,属于液压机技术领域。The utility model relates to a hydraulic press device, in particular to an automatic lift type dual-channel hydraulic press, which belongs to the technical field of hydraulic presses.
背景技术Background technique
液压机在机械制造领域应用很广,现有技术的液压机压制面积大,行程也大,小吨位的液压机压制面积小,行程也小,没有一种液压机压制面积大,但行程要小,压力要小,如果压力过大,对油管会产生一定的影响,油管容易爆裂,液压油缸也容易受损;另外,液压机在工作时,存在有的时候因为高度的问题,使得液压机无法充分的工作,还需要人工去搬动或者架设一些设备才能到达一定的位置,费时费力。Hydraulic presses are widely used in the field of machinery manufacturing. The hydraulic presses in the prior art have a large pressing area and a large stroke. The small tonnage hydraulic presses have a small pressing area and a small stroke. There is no hydraulic press with a large pressing area, but a small stroke and a small pressure. , If the pressure is too large, it will have a certain impact on the oil pipe, the oil pipe is easy to burst, and the hydraulic cylinder is also easy to be damaged; in addition, when the hydraulic press is working, sometimes due to the height problem, the hydraulic press cannot be fully worked. It is time-consuming and laborious to manually move or erect some equipment to reach a certain position.
实用新型内容Utility model content
本实用新型提供一种自动升降式双路液压机,用于解决背景技术中提出的问题。The utility model provides an automatic lifting type dual-channel hydraulic press, which is used for solving the problems raised in the background technology.
为了解决上述技术问题,本实用新型提供了如下的技术方案:In order to solve the above-mentioned technical problems, the utility model provides the following technical solutions:
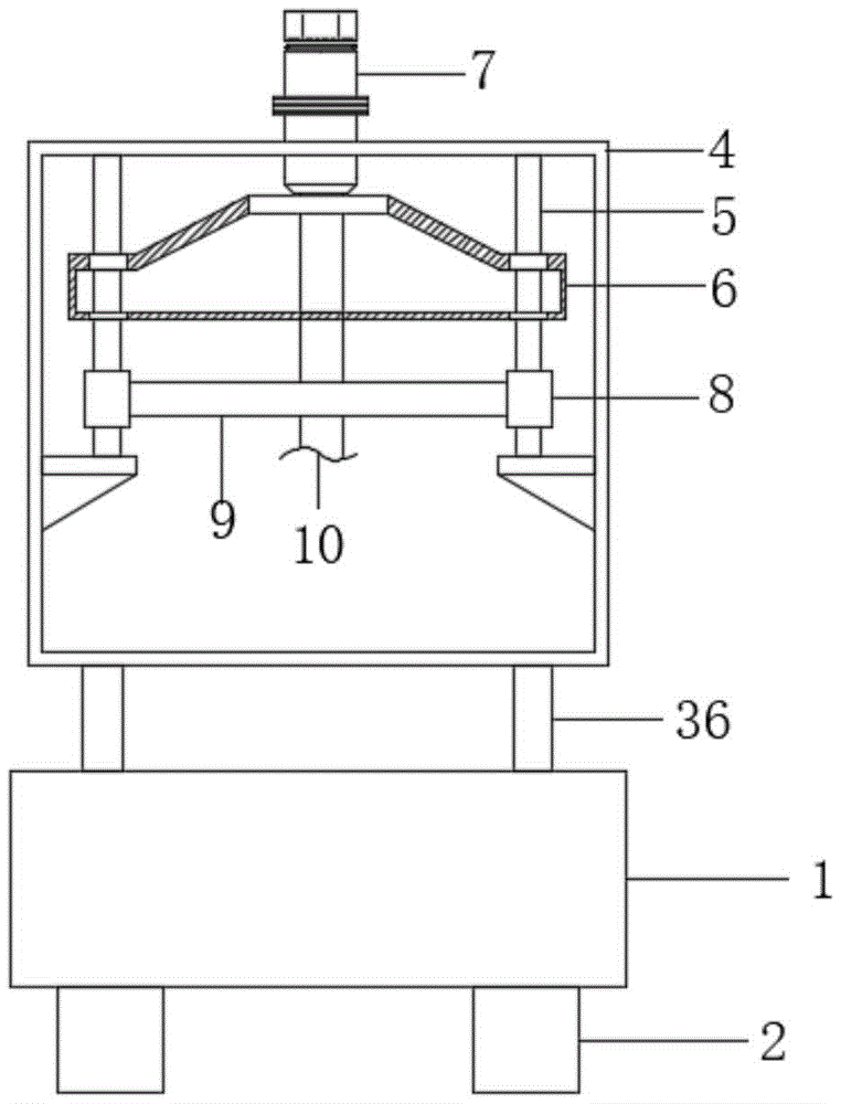
本实用新型一种自动升降式双路液压机,包括底座、支撑腿和支撑架,所述底座的底端两侧均固定安装有支撑腿,所述底座内设有升降机构,所述底座上端设有支撑架,所述支撑架的上顶端设有液压缸,所述支撑架内顶壁两侧均固定安装有导向杆,所述液压缸的一端安装有机架,所述机架的两端均开设有有通孔,且两个所述导向杆均穿过通孔与固定座固定连接,两个所述导向杆的底端均套设有滑套,两个所述滑套之间固定连接有支撑板。The utility model relates to an automatic lifting type double-channel hydraulic press, which comprises a base, a supporting leg and a supporting frame. The supporting legs are fixedly installed on both sides of the bottom end of the base, the base is provided with a lifting mechanism, and the upper end of the base is provided with There is a support frame, the upper top of the support frame is provided with a hydraulic cylinder, guide rods are fixedly installed on both sides of the inner top wall of the support frame, one end of the hydraulic cylinder is installed with a frame, and two ends of the frame are installed Both are provided with through holes, and the two guide rods are fixedly connected to the fixed seat through the through holes, the bottom ends of the two guide rods are sleeved with sliding sleeves, and the two sliding sleeves are fixed between the two guide rods. A support plate is attached.
作为本实用新型的一种优选技术方案,所述升降机构包括电机、涡杆、涡轮、螺纹杆和升降板,所述底座内底端固定安装有电机,所述电机的输出端固定连接有涡杆,所述涡杆的一侧啮合连接有涡轮,所述涡轮的轴心处固定连接有螺纹杆,所述螺纹杆远离涡轮的一端通过轴承与底座内顶壁固定连接。As a preferred technical solution of the present invention, the lifting mechanism includes a motor, a vortex rod, a turbine, a threaded rod and a lifting plate, a motor is fixedly installed at the inner bottom end of the base, and an output end of the motor is fixedly connected with a vortex rod. One side of the worm shaft is meshed with a worm wheel, a threaded rod is fixedly connected to the shaft center of the worm wheel, and one end of the threaded rod away from the worm wheel is fixedly connected to the inner top wall of the base through a bearing.
作为本实用新型的一种优选技术方案,所述螺纹杆上螺纹安装有升降板,且所述升降板的上端两侧均固定连接有升降杆,两个所述升降杆的顶端均贯穿底座上端与支撑架底端固定连接。As a preferred technical solution of the present invention, a lifting plate is threadedly installed on the threaded rod, and lifting rods are fixedly connected to both sides of the upper end of the lifting plate, and the top ends of the two lifting rods penetrate through the upper end of the base Fixed connection with the bottom end of the support frame.
作为本实用新型的一种优选技术方案,所述底座内壁两侧均开设有滑槽,所述升降板的两端均固定连接有滑块,所述滑块滑动安装在滑槽内。As a preferred technical solution of the present invention, sliding grooves are provided on both sides of the inner wall of the base, and sliding blocks are fixedly connected to both ends of the lifting plate, and the sliding blocks are slidably installed in the sliding grooves.
作为本实用新型的一种优选技术方案,所述液压缸的一端连接有液压杆,所述液压杆贯穿机架和支撑板的中部延伸至外部。As a preferred technical solution of the present invention, one end of the hydraulic cylinder is connected with a hydraulic rod, and the hydraulic rod extends through the middle of the frame and the support plate to the outside.
本实用新型所达到的有益效果是:The beneficial effects achieved by the utility model are:
1、本实用新型结构简单,通过在底座内设有升降机构、电机、涡杆、涡轮、螺纹杆、升降板、升降杆、滑槽和滑块之间的相互配合使用,实现对支撑架的高度进行调节,在使用时,工作人员控制电机工作,通过电机驱动涡杆转动,从而使得涡杆带动涡轮转动,通过涡轮转动带动螺纹杆转动,进而使得螺纹杆上螺纹安装的升降板上下移动,从而使得升降板两侧上表面的升降杆实现上下移动,因此带动支撑架移动,故而改变支撑架的高度,从而方便解决现有的液压机在工作时,存在有的时候因为高度的问题,使得液压机无法充分的工作,还需要人工去搬动或者架设一些设备才能到达一定的位置,费时费力的问题,该设计方便且简单的解决了此问题,同时在底座内壁两侧开设的滑槽和滑块提高了升降板在上下升降时的稳定性,增加设备运行稳定,提高设备实用性。1. The structure of the present utility model is simple. By providing a lifting mechanism, a motor, a vortex rod, a turbine, a threaded rod, a lifting plate, a lifting rod, a chute and a sliding block in the base to cooperate with each other, the support frame can be improved. The height is adjusted. When in use, the staff controls the motor to work, and the motor drives the worm to rotate, so that the worm drives the worm to rotate, and the threaded rod rotates through the rotation of the worm, so that the lifting plate installed on the threaded rod moves up and down. As a result, the lifting rods on the upper surfaces of the two sides of the lifting plate can move up and down, thus driving the support frame to move, so the height of the support frame is changed, which is convenient to solve the problem of the height of the existing hydraulic press when it is working. It is not enough to work, and it is necessary to manually move or erect some equipment to reach a certain position, which is time-consuming and labor-intensive. This design is convenient and simple to solve this problem. It improves the stability of the lifting plate when it goes up and down, increases the stability of the equipment operation, and improves the practicability of the equipment.
2、该液压机可通过电机控制升降,不会因为高度而受到限制,无法正常工作,也不需要人去搬动,省时省力,使得液压机的能适应不同的高度,工作面更广。2. The hydraulic press can be controlled up and down by the motor, it will not be restricted by the height, cannot work normally, and does not need people to move it, saving time and effort, so that the hydraulic press can adapt to different heights and has a wider working surface.
附图说明Description of drawings
附图用来提供对本实用新型的进一步理解,并且构成说明书的一部分,与本实用新型的实施例一起用于解释本实用新型,并不构成对本实用新型的限制。The accompanying drawings are used to provide a further understanding of the present invention, and constitute a part of the specification, and are used to explain the present invention together with the embodiments of the present invention, and do not constitute a limitation to the present invention.
在附图中:In the attached image:
图1是本实用新型的结构示意图;Fig. 1 is the structural representation of the present utility model;
图2是本实用新型底座内部结构示意图;2 is a schematic diagram of the internal structure of the base of the present invention;
图3是本实用新型图2中A的结构示意图。FIG. 3 is a schematic structural diagram of A in FIG. 2 of the present invention.
图中:1、底座;2、支撑腿;3、升降机构;31、电机;32、涡杆;33、涡轮;34、螺纹杆;35、升降板;36、升降杆;37、滑槽;38、滑块;4、支撑架;5、导向杆;6、机架;7、液压缸;8、滑套;9、支撑板;10、液压杆。In the figure: 1. Base; 2. Supporting legs; 3. Lifting mechanism; 31. Motor; 32. Turbine rod; 33. Turbine; 34. Threaded rod; 35. Lifting plate; 36. Lifting rod; 37. Chute; 38. Slider; 4. Supporting frame; 5. Guide rod; 6. Frame; 7. Hydraulic cylinder; 8. Sliding sleeve; 9. Supporting plate; 10. Hydraulic rod.
具体实施方式Detailed ways
下面将结合本实用新型实施例中的附图,对本实用新型实施例中的技术方案进行清楚、完整地描述,显然,所描述的实施例仅仅是本实用新型一部分实施例,而不是全部的实施例。基于本实用新型中的实施例,本领域普通技术人员在没有做出创造性劳动前提下所获得的所有其他实施例,都属于本实用新型保护的范围。The technical solutions in the embodiments of the present utility model will be clearly and completely described below with reference to the accompanying drawings in the embodiments of the present utility model. Obviously, the described embodiments are only a part of the embodiments of the present utility model, rather than all the implementations. example. Based on the embodiments of the present invention, all other embodiments obtained by those of ordinary skill in the art without creative work fall within the protection scope of the present invention.
实施例:如图1-3所示,一种自动升降式双路液压机,包括底座1、支撑腿2和支撑架4,所述底座1的底端两侧均固定安装有支撑腿2,所述底座1内设有升降机构3,所述底座1上端设有支撑架4,所述支撑架4的上顶端设有液压缸7,所述支撑架4内顶壁两侧均固定安装有导向杆5,所述液压缸7的一端安装有机架6,所述机架6的两端均开设有有通孔,且两个所述导向杆5均穿过通孔与固定座固定连接,两个所述导向杆5的底端均套设有滑套8,两个所述滑套8之间固定连接有支撑板9。Example: As shown in Figures 1-3, an automatic lift type two-way hydraulic press includes a
升降机构3包括电机31、涡杆32、涡轮33、螺纹杆34和升降板35,所述底座1内底端固定安装有电机31,所述电机31的输出端固定连接有涡杆32,所述涡杆32的一侧啮合连接有涡轮33,所述涡轮33的轴心处固定连接有螺纹杆34,所述螺纹杆34远离涡轮33的一端通过轴承与底座1内顶壁固定连接,螺纹杆34上螺纹安装有升降板35,且所述升降板35的上端两侧均固定连接有升降杆36,两个所述升降杆36的顶端均贯穿底座1上端与支撑架4底端固定连接,底座1内壁两侧均开设有滑槽37,所述升降板35的两端均固定连接有滑块38,所述滑块38滑动安装在滑槽37内,液压缸7的一端连接有液压杆10,所述液压杆10贯穿机架6和支撑板9的中部延伸至外部。The
工作原理:使用时,本实用新型结构简单,通过在底座1内设有升降机构3、电机31、涡杆32、涡轮33、螺纹杆34、升降板35、升降杆36、滑槽37和滑块38之间的相互配合使用,实现对支撑架4的高度进行调节,在使用时,工作人员控制电机31工作,通过电机31驱动涡杆32转动,从而使得涡杆32带动涡轮33转动,通过涡轮33转动带动螺纹杆34转动,进而使得螺纹杆34上螺纹安装的升降板35上下移动,从而使得升降板35两侧上表面的升降杆36实现上下移动,因此带动支撑架4移动,故而改变支撑架4的高度,从而方便解决现有的液压机在工作时,存在有的时候因为高度的问题,使得液压机无法充分的工作,还需要人工去搬动或者架设一些设备才能到达一定的位置,费时费力的问题,该设计方便且简单的解决了此问题,同时在底座1内壁两侧开设的滑槽37和滑块38提高了升降板35在上下升降时的稳定性,增加设备运行稳定,提高设备实用性,该液压机可通过电机32控制升降,不会因为高度而受到限制,无法正常工作,也不需要人去搬动,省时省力,使得液压机的能适应不同的高度,工作面更广。Working principle: when in use, the structure of the utility model is simple, and the
尽管已经示出和描述了本实用新型的实施例,对于本领域的普通技术人员而言,可以理解在不脱离本实用新型的原理和精神的情况下可以对这些实施例进行多种变化、修改、替换和变型,本实用新型的范围由所附权利要求及其等同物限定。Although the embodiments of the present invention have been shown and described, it will be understood by those skilled in the art that various changes and modifications can be made to these embodiments without departing from the principles and spirit of the present invention , alternatives and modifications, the scope of the present invention is defined by the appended claims and their equivalents.
Claims (5)
Priority Applications (1)
| Application Number | Priority Date | Filing Date | Title |
|---|---|---|---|
| CN201921908302.3U CN211165497U (en) | 2019-11-07 | 2019-11-07 | An automatic lift type two-way hydraulic press |
Applications Claiming Priority (1)
| Application Number | Priority Date | Filing Date | Title |
|---|---|---|---|
| CN201921908302.3U CN211165497U (en) | 2019-11-07 | 2019-11-07 | An automatic lift type two-way hydraulic press |
Publications (1)
| Publication Number | Publication Date |
|---|---|
| CN211165497U true CN211165497U (en) | 2020-08-04 |
Family
ID=71807221
Family Applications (1)
| Application Number | Title | Priority Date | Filing Date |
|---|---|---|---|
| CN201921908302.3U Expired - Fee Related CN211165497U (en) | 2019-11-07 | 2019-11-07 | An automatic lift type two-way hydraulic press |
Country Status (1)
| Country | Link |
|---|---|
| CN (1) | CN211165497U (en) |
Cited By (1)
| Publication number | Priority date | Publication date | Assignee | Title |
|---|---|---|---|---|
| CN110641069A (en) * | 2019-11-07 | 2020-01-03 | 南通威锋重工机械有限公司 | An automatic lift type two-way hydraulic press |
-
2019
- 2019-11-07 CN CN201921908302.3U patent/CN211165497U/en not_active Expired - Fee Related
Cited By (1)
| Publication number | Priority date | Publication date | Assignee | Title |
|---|---|---|---|---|
| CN110641069A (en) * | 2019-11-07 | 2020-01-03 | 南通威锋重工机械有限公司 | An automatic lift type two-way hydraulic press |
Similar Documents
| Publication | Publication Date | Title |
|---|---|---|
| CN211165497U (en) | An automatic lift type two-way hydraulic press | |
| WO2011063589A1 (en) | Four-post lift based on hydraulic drive with balance integration | |
| CN211141466U (en) | Double-lifting follow-up working platform | |
| CN206705600U (en) | A kind of scissor-type mechanical elevating platform | |
| CN205011306U (en) | Steel sheet elevating gear | |
| CN110641069A (en) | An automatic lift type two-way hydraulic press | |
| CN216974117U (en) | An adjustable civil engineering building construction support | |
| CN202046830U (en) | Scissor jack | |
| CN107458990A (en) | A kind of aluminum alloy lift base supports leg mechanism | |
| CN107049648A (en) | The whole bed lifting structure of five connecting rod matrixes | |
| CN206858061U (en) | A kind of adjustable two level lifting body | |
| CN205973606U (en) | Formula of rising and falling platform | |
| CN210032899U (en) | A security fence for hydraulic and hydroelectric engineering | |
| CN211747867U (en) | A new type of four-leg table mounting assembly | |
| CN215326707U (en) | Lifting platform based on mechatronic technology | |
| CN211310745U (en) | Lift actuating mechanism for lift | |
| CN209919851U (en) | Combination link lift table | |
| CN204569284U (en) | A kind of improvement jack | |
| CN218201963U (en) | Double-speed hydraulic jack | |
| CN211249935U (en) | Mechanical operation platform of regulation | |
| CN201952165U (en) | Scissor lift platform | |
| CN205773078U (en) | A kind of indoor small-sized hydraulic elevator of decorateing | |
| CN114184373A (en) | Hydraulic valve maintenance and detection platform | |
| CN207041220U (en) | A kind of Art Design multifunction picture table arrangement | |
| CN211699257U (en) | Multimedia projection structure for cultural teaching |
Legal Events
| Date | Code | Title | Description |
|---|---|---|---|
| GR01 | Patent grant | ||
| GR01 | Patent grant | ||
| CF01 | Termination of patent right due to non-payment of annual fee |
Granted publication date: 20200804 |
|
| CF01 | Termination of patent right due to non-payment of annual fee |
