CN211140982U - Steel band mounting structure of steel band unreeling machine - Google Patents
Steel band mounting structure of steel band unreeling machine Download PDFInfo
- Publication number
- CN211140982U CN211140982U CN201921805484.1U CN201921805484U CN211140982U CN 211140982 U CN211140982 U CN 211140982U CN 201921805484 U CN201921805484 U CN 201921805484U CN 211140982 U CN211140982 U CN 211140982U
- Authority
- CN
- China
- Prior art keywords
- steel strip
- support
- central shaft
- support block
- column
- Prior art date
- Legal status (The legal status is an assumption and is not a legal conclusion. Google has not performed a legal analysis and makes no representation as to the accuracy of the status listed.)
- Expired - Fee Related
Links
Images
Landscapes
- Conveying And Assembling Of Building Elements In Situ (AREA)
Abstract
本实用新型涉及一种钢带放卷机的钢带安装结构,其包括机架和中心轴,中心轴水平设置,中心轴的一端回转支撑在机架上,所述中心轴靠近机架的一端设置有旋转盘,中心轴的外侧设置有多个支撑块,多个支撑块沿着中心轴的周向均匀分布,所述支撑块滑动连接在旋转盘上,支撑块在旋转盘的滑动方向沿着旋转盘的径向方向,所述支撑块上连接有两个连杆,连杆一端铰接在支撑块上,另一端连接有张紧装置。本实用新型具有增加支撑块与钢带卷的接触面,提高对钢带卷的固定牢固性的效果。
The utility model relates to a steel strip installation structure of a steel strip unwinder, which comprises a frame and a central shaft, the central shaft is arranged horizontally, one end of the central shaft is swivelly supported on the frame, and the central shaft is close to one end of the frame A rotating disk is provided, and a plurality of support blocks are arranged on the outer side of the central axis. The plurality of support blocks are evenly distributed along the circumferential direction of the central axis. The support blocks are slidably connected to the rotating disk. In the radial direction of the rotating disk, the support block is connected with two connecting rods, one end of the connecting rod is hinged on the support block, and the other end is connected with a tensioning device. The utility model has the effects of increasing the contact surface between the support block and the steel strip coil and improving the fixing firmness of the steel strip coil.
Description
技术领域technical field
本实用新型涉及一种钢带放卷的技术领域,尤其是涉及一种钢带放卷机的钢带安装结构。The utility model relates to the technical field of steel strip unwinding, in particular to a steel strip installation structure of a steel strip unwinding machine.
背景技术Background technique
门板或幕墙板在进行生产时,用到的原料为了方便运输以及比较平整通常设置成卷状,卷状的原料使用过程中需要进行放卷,从而需要用到钢带放卷机将呈卷状的钢带卷展开,使钢带卷展平成单层的钢带,再将钢带进行裁剪、冲孔和折弯,从而完成门板和幕墙板的生产。During the production of door panels or curtain wall panels, the raw materials used are usually arranged in rolls for convenient transportation and relatively flatness. The rolled raw materials need to be unrolled during use, so a steel strip unwinder needs to be used to roll them. The steel strip roll is unrolled to make the steel strip roll flat into a single-layer steel strip, and then the steel strip is cut, punched and bent to complete the production of door panels and curtain wall panels.
授权公告号为CN105312355B的专利文件中公开了一种钢带开卷机,包括机架,机架上转动连接在中心轴,中心轴连接有驱动装置,中心轴上设置有支撑块,支撑块与中心轴之间设置有支柱,在中心轴上设置有滑动座,滑动座上连接有液压缸,支柱一端与滑动座铰接,另一端与支撑块铰接,支撑块一端铰接有固定在中心轴上的旋转盘,在液压缸输出时,滑动座沿着中心轴的长度方向移动,使支柱推着支撑块向远离中心轴的中心方向移动,同时在机架上还设置有压轮装置,压轮装置包括安装在机架上的旋转轴,旋转轴上设置有连杆,连杆一端固定在旋转轴上,另一端设置有压轮,压轮用于压在钢带卷的外侧,对钢带卷进行挤压,防止钢带卷松开。The patent document with the authorization announcement number CN105312355B discloses a steel strip uncoiler, including a frame, the frame is rotatably connected to a central shaft, the central shaft is connected with a driving device, and the central shaft is provided with a support block, the support block and the center A strut is arranged between the shafts, a sliding seat is arranged on the central axis, and a hydraulic cylinder is connected to the sliding seat. One end of the strut is hinged with the sliding seat, and the other end is hinged with the support block. When the hydraulic cylinder is output, the sliding seat moves along the length direction of the central axis, so that the strut pushes the support block to move away from the center of the central axis. At the same time, a pressing wheel device is also provided on the frame. A rotating shaft installed on the frame, a connecting rod is arranged on the rotating shaft, one end of the connecting rod is fixed on the rotating shaft, and the other end is provided with a pressing wheel, which is used to press the outer side of the steel strip coil, and the steel strip coil is pressed. Squeeze to prevent the coil from loosening.
但是这样的结构中,由于支撑块在支柱的作用下,远离旋转盘的一侧向中心轴靠近,钢带卷套在中心轴上,支撑块位于钢带卷的中心,在使用液压缸将支撑块转动,使支撑块远离旋转盘的一侧向远离中心轴的方向张开,从而对于钢带卷中心孔的半径与支撑块在旋转盘上的转动点至中心轴中心线的距离不相等时,支撑块与钢带卷的接触面较小,对钢带卷的固定的牢固性比较差。However, in such a structure, because the support block is under the action of the pillar, the side away from the rotating disk is close to the central axis, the steel strip is sleeved on the central axis, and the support block is located in the center of the steel strip. The block rotates, so that the side of the support block away from the rotating disk is opened in the direction away from the central axis, so that when the radius of the center hole of the steel strip coil is not equal to the distance from the rotation point of the support block on the rotating disk to the center line of the central axis , the contact surface between the support block and the steel strip coil is small, and the firmness of the fixation of the steel strip coil is relatively poor.
实用新型内容Utility model content
本实用新型的目的是提供一种钢带放卷机的钢带安装结构,其具有增加支撑块与钢带卷的接触面,提高对钢带卷的固定牢固性的效果。The purpose of the utility model is to provide a steel strip installation structure of a steel strip unwinder, which has the effect of increasing the contact surface between the support block and the steel strip coil and improving the fixing firmness of the steel strip coil.
本实用新型的上述发明目的是通过以下技术方案得以实现的:The above-mentioned purpose of the present invention is achieved through the following technical solutions:
一种钢带放卷机的钢带安装结构,包括机架和中心轴,中心轴水平设置,中心轴的一端回转支撑在机架上,所述中心轴靠近机架的一端设置有旋转盘,中心轴的外侧设置有多个支撑块,多个支撑块沿着中心轴的周向均匀分布,所述支撑块滑动连接在旋转盘上,支撑块在旋转盘的滑动方向沿着旋转盘的径向方向,所述支撑块上连接有两个连杆,连杆一端铰接在支撑块上,另一端连接有张紧装置。A steel strip installation structure of a steel strip unwinder comprises a frame and a central shaft, the central shaft is arranged horizontally, one end of the central shaft is swivelly supported on the frame, and one end of the central shaft close to the frame is provided with a rotating disc, A plurality of support blocks are arranged on the outer side of the central shaft, and the plurality of support blocks are evenly distributed along the circumferential direction of the central shaft. Two connecting rods are connected to the support block in the direction of the direction, one end of the connecting rod is hinged on the support block, and the other end is connected with a tensioning device.
通过采用上述技术方案,使用时,中心轴水平设置,中心轴的一端回转支撑在机架上,将钢带卷套在中心轴上,钢带卷的中心孔大于中心轴的尺寸,并且支撑块位于钢带卷的内部,支撑块滑动连接在旋转盘上,支撑块连接有两个连杆,连杆在张紧装置的作用下,可沿着旋转盘的径向方向移动,从而使支撑块向外张开时,能够使支撑块整体靠向中心孔的内壁,提高了支撑块与中心孔内壁的接触面,减少钢带卷的松动,从而提高对钢带卷的固定牢固性。By adopting the above technical scheme, when in use, the central shaft is set horizontally, one end of the central shaft is swivelly supported on the frame, the steel strip is wrapped around the central shaft, the central hole of the steel strip is larger than the size of the central shaft, and the support block Located inside the steel strip coil, the support block is slidably connected to the rotating disk, and the support block is connected with two connecting rods. The connecting rods can move along the radial direction of the rotating disk under the action of the tensioning device, so that the support block When it is opened outward, the whole support block can be pressed against the inner wall of the center hole, the contact surface between the support block and the inner wall of the center hole is improved, the looseness of the steel strip coil is reduced, and the fixing firmness of the steel strip coil is improved.
本实用新型进一步设置为:所述张紧装置包括两个滑块,两个滑块分别连接有一螺母,滑块滑动配合在螺母上,并且滑块在螺母上的滑动方向平行于中心轴的长度方向,两个滑块之间设置有压缩弹簧,压缩弹簧的两端分别抵接在两个滑块上,连杆远离支撑块的一端铰接在滑块上。The utility model is further provided as follows: the tensioning device comprises two sliding blocks, the two sliding blocks are respectively connected with a nut, the sliding blocks are slidably fitted on the nuts, and the sliding direction of the sliding blocks on the nut is parallel to the length of the central axis A compression spring is arranged between the two sliding blocks, two ends of the compression spring abut on the two sliding blocks respectively, and one end of the connecting rod away from the support block is hinged on the sliding block.
通过采用上述技术方案,压缩弹簧的两端分别抵接在两个滑块上,两个滑块均滑动连接,从而压缩弹簧对两个滑块产生的力为一对相对的力,进而对两个滑块的作用力相同,使支撑块对钢带卷两端的作用力相等,进一步提高对钢带卷固定的均匀性。By adopting the above technical solution, the two ends of the compression spring are respectively abutted on the two sliding blocks, and the two sliding blocks are both slidably connected, so that the force generated by the compression spring on the two sliding blocks is a pair of opposite forces, which in turn exerts a force on the two sliding blocks. The acting force of each slider is the same, so that the acting force of the support block on both ends of the steel strip coil is equal, and the uniformity of the fixing of the steel strip coil is further improved.
本实用新型进一步设置为:所述螺母连接有驱动装置,驱动装置包括螺杆,螺杆两端的螺纹旋向相反,两个螺母分别与螺杆的两端螺纹配合,螺杆的端部设置有驱动电机,驱动电机的固定在旋转盘上,驱动电机的输出端同轴固定在螺杆上;所述螺母上开设有滑槽,滑块滑动配合在滑槽内;两个连杆远离支撑块的一端向螺杆的中心倾斜,所述滑槽远离螺杆中心位置的一端设置有限位面。The utility model is further configured as follows: the nut is connected with a driving device, the driving device comprises a screw rod, the screw threads at both ends of the screw rod have opposite directions of rotation, the two nuts are respectively threaded with the two ends of the screw rod, and the end of the screw rod is provided with a driving motor, which drives the screw. The motor is fixed on the rotating plate, and the output end of the driving motor is coaxially fixed on the screw rod; the nut is provided with a chute, and the slider is slidably fitted in the chute; one end of the two connecting rods away from the support block is directed toward the end of the screw rod. The center is inclined, and the end of the chute away from the center of the screw is provided with a limiting surface.
通过采用上述技术方案,驱动电机固定在旋转盘上,驱动电机启动时,驱动电机的输出端带着螺杆转动,螺杆转动能够带着螺母相对移动,当限位面与滑块接触时,螺母推着滑块,使滑块带着支撑块向靠近中心轴的方向移动,从而使支撑块对钢带卷松开,方便更换钢带卷。By adopting the above technical solution, the drive motor is fixed on the rotating disk. When the drive motor starts, the output end of the drive motor rotates with the screw, and the screw rotates with the nut to move relatively. When the limit surface is in contact with the slider, the nut pushes Move the slider with the support block to the direction close to the central axis, so that the support block is loosened from the steel strip coil, which is convenient to replace the steel strip coil.
本实用新型进一步设置为:两个滑块之间设置有导向套和导向杆,导向套内套设有导向杆,导向杆与导向套插接,并且导向杆远离导向套的一端固定在一个滑块上,导向套远离导向杆的一端固定在另一个滑块上,压缩弹簧套在导向杆和导向套上。The utility model is further configured as follows: a guide sleeve and a guide rod are arranged between the two sliding blocks, a guide rod is arranged in the inner sleeve of the guide sleeve, the guide rod is inserted into the guide sleeve, and the end of the guide rod away from the guide sleeve is fixed on a slide On the block, one end of the guide sleeve away from the guide rod is fixed on the other slider, and the compression spring is sleeved on the guide rod and the guide sleeve.
通过采用上述技术方案,导向套与导向杆插接,压缩弹簧套在导向套和导向杆上,在两个滑块相对移动时,压缩弹簧受到导向套和导向杆的支撑,防止压缩弹簧横向弯折。By adopting the above technical solution, the guide sleeve is inserted into the guide rod, and the compression spring is sleeved on the guide sleeve and the guide rod. When the two sliders move relative to each other, the compression spring is supported by the guide sleeve and the guide rod to prevent the compression spring from bending laterally. fold.
本实用新型进一步设置为:所述旋转盘上开设有T形槽,T形槽的长度方向沿着旋转盘的径向方向,T形槽内设置有T形块,T形块固定在支撑块上,T形块滑动配合在T形槽内。The utility model is further configured as follows: a T-shaped groove is formed on the rotating disk, the length direction of the T-shaped groove is along the radial direction of the rotating disk, a T-shaped block is arranged in the T-shaped groove, and the T-shaped block is fixed on the support block , the T-block is slidingly fitted in the T-slot.
通过采用上述技术方案,旋转盘上开设T形槽,T形块滑动配合在T形槽内,支撑块固定在T形块上,从而使支撑块与旋转盘的滑动连接比较可牢。By adopting the above technical solution, a T-shaped groove is formed on the rotating disk, the T-shaped block is slidably fitted in the T-shaped groove, and the support block is fixed on the T-shaped block, so that the sliding connection between the support block and the rotating disk is relatively firm.
本实用新型进一步设置为:所述支撑块有四个。The utility model is further arranged as follows: there are four supporting blocks.
通过采用上述技术方案,支撑块四个,四个支撑块对钢带卷作用力的方向相对,能够使钢带卷的支撑比较稳定。By adopting the above technical solution, there are four support blocks, and the directions of the forces acting on the steel coil by the four support blocks are opposite, so that the support of the steel coil can be relatively stable.
本实用新型进一步设置为:所述中心轴远离旋转盘的一端设置有支撑装置,支撑装置包括立柱,立柱竖直设置,立柱的下端设置有底座,底座上开设有安装孔,立柱的下端抵在安装孔内,立柱的上端设置有伸缩组件,伸缩组件上安装有支撑座,支撑座上设置有两个支撑轮,支撑轮回转支撑在支撑座上,两个支撑轮之间的距离小于中心轴的直径。The utility model is further configured as follows: the end of the central shaft away from the rotating disk is provided with a support device, the support device comprises a column, the column is arranged vertically, the lower end of the column is provided with a base, the base is provided with a mounting hole, and the lower end of the column abuts against In the installation hole, the upper end of the column is provided with a telescopic assembly, a support seat is installed on the telescopic assembly, and two support wheels are arranged on the support seat. diameter of.
通过采用上述技术方案,伸缩组件上安装有支撑座,支撑座上设置有两个支撑轮用于支撑中心轴,当需要更换钢带卷时,能够伸缩组件将支撑座向下移动,再从底座上取下立柱,从而比较方便钢带卷的安装,同时中心轴的两端支撑比较稳定。By adopting the above technical solution, a support seat is installed on the telescopic assembly, and two support wheels are arranged on the support seat to support the central shaft. When the steel strip coil needs to be replaced, the support seat can be moved down by the telescopic assembly, and then removed from the base. The vertical column is removed from the top, so that the installation of the steel strip coil is more convenient, and the support at both ends of the central shaft is relatively stable.
本实用新型进一步设置为:所述伸缩组件包括螺柱和挡圈,螺柱的下端插入到立柱的上端,挡圈螺纹连接在螺柱上,并且挡圈抵接在立柱的上端,挡圈的侧壁上设置有施力杆。The utility model is further configured as follows: the telescopic assembly includes a stud and a retaining ring, the lower end of the stud is inserted into the upper end of the column, the retaining ring is threadedly connected to the stud, and the retaining ring abuts on the upper end of the column, and the retaining ring is A force applying rod is arranged on the side wall.
通过采用上述技术方案,螺柱的下端插入到立柱的上端,挡圈抵接在立柱的上端,施力杆方便工作人员对挡圈进行转动,挡圈与螺柱的螺纹连接,使螺柱在立柱内上下移动,比较方便。By adopting the above technical solution, the lower end of the stud is inserted into the upper end of the column, the retaining ring is abutted on the upper end of the column, the force application rod is convenient for the staff to rotate the retaining ring, and the retaining ring is connected with the thread of the stud, so that the stud is in the upper end of the column. It is more convenient to move up and down in the column.
综上所述,本实用新型的有益技术效果为:To sum up, the beneficial technical effects of the present utility model are:
1.通过中心轴的一端回转支撑在机架上,钢带卷套在中心轴上,支撑块位于钢带卷的内部,支撑块滑动连接在旋转盘上,支撑块连接有两个连杆,连杆在张紧装置的作用下,可沿着旋转盘的径向方向移动,使支撑块整体靠向中心孔的内壁,提高对钢带卷的固定牢固性;1. It is pivotally supported on the frame through one end of the central shaft, the steel strip is sleeved on the central shaft, the support block is located inside the steel strip coil, the support block is slidably connected to the rotating disk, and the support block is connected with two connecting rods. Under the action of the tensioning device, the connecting rod can move along the radial direction of the rotating disc, so that the support block is completely close to the inner wall of the center hole, and the fixing firmness of the steel coil is improved;
2.通过压缩弹簧的两端分别抵接在两个滑块上,两个滑块均滑动连接,从而压缩弹簧对两个滑块产生的力为一对相对的力,进而对两个滑块的作用力相同,使支撑块对钢带卷两端的作用力相等,提高对钢带卷固定的均匀性;2. The two ends of the compression spring are respectively abutted on the two sliders, and the two sliders are slidably connected, so that the force generated by the compression spring on the two sliders is a pair of opposite forces, and then the two sliders are The acting force is the same, so that the force of the support block on both ends of the steel coil is equal, and the uniformity of the fixing of the steel coil is improved;
3.通过驱动电机固定在旋转盘上,驱动电机启动时,驱动电机的输出端带着螺杆转动,螺杆转动能够带着螺母相对移动,当限位面与滑块接触时,螺母推着滑块,使滑块带着支撑块向靠近中心轴的方向移动,从而使支撑块对钢带卷松开,方便更换钢带卷。3. The drive motor is fixed on the rotating disk. When the drive motor starts, the output end of the drive motor rotates with the screw, and the screw rotates with the nut to move relatively. When the limit surface is in contact with the slider, the nut pushes the slider , so that the slider moves with the support block to the direction close to the central axis, so that the support block is loosened from the steel strip coil, which is convenient to replace the steel strip coil.
附图说明Description of drawings
图1是本实用新型的整体结构示意图;Fig. 1 is the overall structure schematic diagram of the present utility model;
图2是图1中A部分的局部放大示意图;Fig. 2 is the partial enlarged schematic diagram of A part in Fig. 1;
图3是中心轴的内部结构示意图;3 is a schematic diagram of the internal structure of the central shaft;
图4是本实用新型省略机架的结构示意图;Fig. 4 is the structural schematic diagram of the utility model omitting the frame;
图5是支撑装置的结构示意图;5 is a schematic structural diagram of a support device;
图6是压轮装置的结构示意图。Figure 6 is a schematic view of the structure of the roller device.
图中,1、机架;2、中心轴;21、支撑块;3、支撑装置;31、立柱;32、底座;33、安装孔;34、伸缩组件;341、螺柱;342、挡圈;343、施力杆;35、支撑座;36、支撑轮;4、钢带卷;5、旋转盘;51、T形槽;52、T形块;53、齿牙;6、压轮装置;61、固定轴;62、压臂;63、压紧座;631、支座;632、滚轮;64、拉簧;65、液压缸;71、螺杆;72、驱动电机;73、螺母;74、连杆;8、张紧装置;81、滑块;82、滑槽;83、限位面;84、压缩弹簧;85、导向套;86、导向杆;91、齿轮;92、蜗轮;93、蜗杆;94、飞轮;95、三相异步电机。In the figure, 1, frame; 2, central axis; 21, support block; 3, support device; 31, column; 32, base; 33, mounting hole; 34, telescopic assembly; 341, stud; 342, retaining ring ; 343, force bar; 35, support seat; 36, support wheel; 4, steel strip coil; 5, rotary disc; 51, T-shaped groove; 52, T-shaped block; 53, teeth; 6, pressure wheel device ;61, fixed shaft; 62, pressing arm; 63, pressing seat; 631, support; 632, roller; 64, tension spring; 65, hydraulic cylinder; 71, screw rod; 72, driving motor; 73, nut; 74 , connecting rod; 8, tensioning device; 81, slider; 82, chute; 83, limit surface; 84, compression spring; 85, guide sleeve; 86, guide rod; 91, gear; 92, worm gear; 93 , worm; 94, flywheel; 95, three-phase asynchronous motor.
具体实施方式Detailed ways
以下结合附图对本实用新型作进一步详细说明。The present utility model will be described in further detail below in conjunction with the accompanying drawings.
参考图1,为本实用新型公开的一种钢带放卷机,包括机架1和中心轴2,中心轴2水平设置,中心轴2的一端回转支撑在机架1上,另一端设置有支撑装置3,中心轴2上用于套设钢带卷4,并且钢带卷4的中心孔直径大于中心轴2的直径,在中心轴2远离支撑装置3的一端设置有旋转盘5,旋转盘5的中心与中心轴2的中心重合,旋转盘5固定在中心轴2上,在中心轴2和钢带卷4之间设置有支撑块21,支撑块21安装在中心轴2上并抵接在钢带卷4的中心孔内壁上,从而使钢带卷4与中心轴2相对固定,在中心轴2转动时,中心轴2能够带着钢带卷4进行放卷。Referring to FIG. 1, it is a steel strip unwinder disclosed by the utility model, comprising a frame 1 and a
参考图2和图4,旋转盘5靠近支撑块21的一面上开设有T形槽51,T形槽51的长度方向沿着旋转盘5的径向方向,支撑块21有四个,四个支撑块21沿着中心轴2的周向均匀分布,每个支撑块21对应一个T形槽51;在T形槽51内设置有T形块52,T形块52与T形槽51滑动配合,T形块52固定在支撑块21上,从而使支撑块21可沿着T形槽51的长度方向滑动,使支撑块21松开或抵紧钢带卷4。2 and 4, a T-shaped
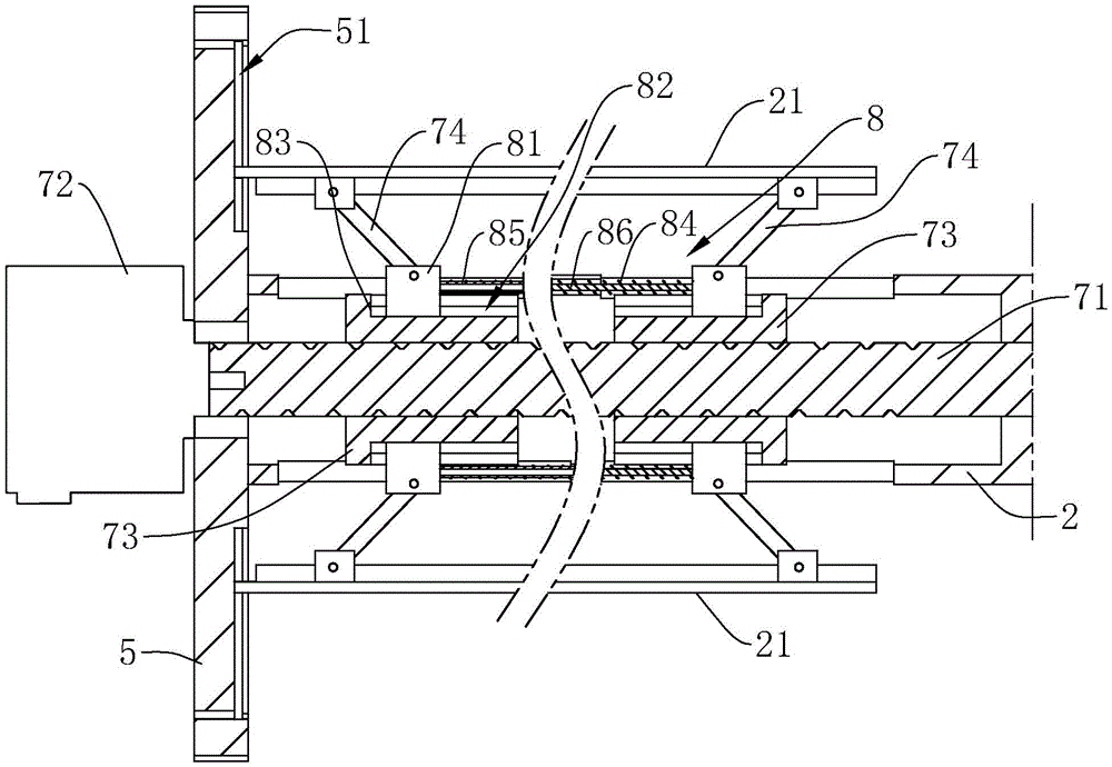
参考图3,在中心轴2的内部设置有螺杆71,螺杆71的中心线与中心轴2的中心线重合,螺杆71的两端回转支撑在中心轴2上,螺杆71的端部设置有驱动电机72,驱动电机72固定在旋转盘5上,驱动电机72的输出端同轴固定在螺杆71的端部;螺杆71两端的螺纹旋向相反设置,在螺杆71的两端分别设置有一个螺母73,两个螺母73与螺杆71两端螺纹连接,并且螺母73位于中心轴2内,螺母73滑动配合在中心轴2上,在螺杆71转动时,螺母73沿着螺杆71的长度方向移动,并且两个螺母73相对靠近或远离。Referring to FIG. 3, a
参考图3,在每个支撑块21上均设置有两个连杆74,两个连杆74的长度相等,两个连杆74的一端铰接在支撑块21上,另一端连接有张紧装置8,张紧装置8安装在两个螺母73上。两个连杆74远离支撑块21的一端向螺杆71中部位置的方向倾斜,在张紧装置8的作用下,连杆74绕着与支撑块21的铰接点转动,从而使两个连杆74同时推着支撑块21移动,并且支撑块21在中心轴2两端的移动距离相等,进而能够使支撑块21对多种直径中心孔的钢带卷4进行固定,并且在固定时,支撑块21与中心孔的接触面较大,固定比较牢。Referring to FIG. 3 , two connecting
参考图3,张紧装置8包括两个滑块81,两个滑块81相对设置在两个螺母73上,在螺母73上开设有滑槽82,滑块81滑动配合在滑槽82内,滑槽82的长度方向沿着螺杆71的长度方向设置,滑槽82远离螺杆71中部的一端设置有限位面83,限位面83用于推着滑块81向螺杆71的中部移动;两个滑块81之间设置有压缩弹簧84,压缩弹簧84中部设置有导向套85和导向杆86,导向杆86插入到导向套85内,导向杆86远离导向套85的一端固定在一个滑块81上,导向套85远离导向杆86的一端固定在另一个滑块81上,压缩弹簧84的两端分别抵接在两个滑块81上,压缩弹簧84的作用力方向驱使两个滑块81相背移动。在同一个支撑块21上的两个连杆74远离支撑块21的一端分别铰接在两个滑块81上。Referring to FIG. 3 , the tensioning device 8 includes two sliding
使用时,钢带卷4首先套在四个支撑块21上,使四个支撑块21位于钢带卷4的中心孔内,驱动电机72工作,驱动电机72带着螺杆71转动,螺杆71端的螺母73相背移动,从而在压缩弹簧84的作用力下,两个滑块81随着螺母73移动,从而支撑块21向中心孔的侧壁运动,当支撑块21抵在中心孔的侧壁位置时,滑块81停止移动,螺母73继续单独移动,使滑块81与限位面83分离;即使在钢带卷4放卷的过程中,螺母73沿着螺杆71的长度方向小幅度移动,压缩弹簧84的作用力仍然能够保证对滑块81的挤压;钢带卷4放卷完成后,驱动电机72反转工作,驱动电机72带着螺杆71转动,使两个螺母73相对移动,从而使滑块81上的限位面83推着两个滑块81相对移动,使支撑块21向中心轴2的中心移动,松开钢带卷4。When in use, the steel strip coil 4 is first set on the four support blocks 21, so that the four support blocks 21 are located in the central hole of the steel strip coil 4, the driving
参考图4,旋转盘5的侧壁上开设有齿牙53,旋转盘5连接有齿轮91,旋转盘5上的齿牙53数大于齿轮91的齿数,齿轮91回转支撑在机架1上,齿轮91与旋转盘5侧壁上的齿牙53啮合,使齿轮91与旋转盘5传动连接。在齿轮91上同轴固定设置有蜗轮92,蜗轮92连接有蜗杆93,蜗杆93与蜗轮92啮合,蜗杆93回转支撑机架1上,蜗杆93的螺旋升角大于蜗轮92与蜗杆93之间的当量摩擦角,使蜗杆93可带动蜗轮92,蜗轮92反向可带动蜗杆93。蜗杆93回转支撑在机架1上,蜗杆93的一端同轴固定设置有飞轮94,另一端设置有三相异步电机95,三相异步电机95的输出端同轴固定在蜗杆93上。三相异步电机95固定在机架1上,三相异步电机95制动时,三相异步电机95对蜗杆93产生反向的制动力,在旋转盘5转动时,旋转盘5带动齿轮91,齿轮91带动蜗轮92,蜗轮92受到蜗杆93的反向作用力,从而使旋转盘5的转速快速降低。三相异步电机95工作时,三相异步电机95带动蜗杆93转动,蜗杆93带动蜗轮92,蜗轮92与齿轮91同步转动,从而使旋转盘5转动,对中心轴2上的钢带卷4进行放卷。Referring to FIG. 4 ,
参考图5,支撑装置3包括立柱31,立柱31竖直设置,立柱31的下端设置有底座32,底座32上开设有安装孔33,立柱31的下端抵在安装孔33内,立柱31的上端设置有伸缩组件34,伸缩组件34包括螺柱341和挡圈342,立柱31为空心结构,螺柱341的下端插在立柱31的上端,上端设置有支撑座35,挡圈342螺纹连接在螺柱341上,并有挡圈342抵在立柱31的上端面上,挡圈342的侧壁上设置有施力杆343,施力杆343沿着挡圈342的径向方向设置,支撑座35固定在螺柱341的上端,使支撑座35支撑在中心轴2的侧壁上,支撑座35上设置有两个支撑轮36,支撑轮36回转支撑在支撑座35上,并且支撑轮36的中心线与中心轴2的中心线平行,两个支撑轮36之间的距离小于中心轴2的直径,使支撑轮36支撑在中心轴2上时,两个支撑轮36同时与中心轴2的侧壁相切。使用时,能够通过旋转挡圈342,使螺柱341向上或向下移动,向下移动时,能够使支撑轮36脱离中心轴2的侧壁,将立柱31从底座32上取下。Referring to FIG. 5 , the
参考图1和图6,在钢带卷4的外壁上设置有压轮装置6,压轮装置6包括固定轴61、压臂62和压紧座63,固定轴61固定在机架1上,固定轴61的长度方向平行于中心轴2的长度方向,压臂62整体呈弧形,压臂62有两个,压臂62的两个弧形的开口相对设置,并且两个压臂62之间为钢带卷4,压臂62的一端转动连接在固定轴61上,压紧座63设置有压臂62远离固定轴61的一端,两个压臂62之间设置有拉簧64,拉簧64的两端分别固定在两个压臂62的中部,拉簧64的作用力方向驱使两个压臂62向内收缩,从而使压紧座63抵在钢带卷4的外壁上,进而压着钢带卷4,减少钢带卷4松开。Referring to Figure 1 and Figure 6, a
参考图6,压紧座63包括支座631和滚轮632,支座631为弧形,并且支座631所呈弧形的开口朝向钢带卷4,支座631的中部转动连接在压臂62上,支座631与压臂62的转动轴线平行于中心轴2的中心线;滚轮632有两个,两个滚轮632分别转动连接在支座631的两端,滚轮632的中心线与中心轴2的中心线平行,在拉簧64的作用力下滚轮632挤压在钢带卷4的外壁上。在两个压臂62之间设置有液压缸65,液压缸65的两端分别铰接在两个压臂62上,液压缸65为单作用工作,工作方向为向外伸长,液压缸65工作时,液压缸65推着两个压臂62张开,使压臂62绕着固定轴61转动,从而压紧座63从钢带卷4上脱离,方便放入下一个钢带卷4。Referring to FIG. 6 , the
本具体实施方式的实施例均为本实用新型的较佳实施例,并非依此限制本实用新型的保护范围,故:凡依本实用新型的结构、形状、原理所做的等效变化,均应涵盖于本实用新型的保护范围之内。The examples of this specific embodiment are all preferred embodiments of the present invention, and are not intended to limit the protection scope of the present invention. Therefore: all equivalent changes made according to the structure, shape and principle of the present invention are not It should be covered within the protection scope of the present invention.
Claims (8)
Priority Applications (1)
| Application Number | Priority Date | Filing Date | Title |
|---|---|---|---|
| CN201921805484.1U CN211140982U (en) | 2019-10-23 | 2019-10-23 | Steel band mounting structure of steel band unreeling machine |
Applications Claiming Priority (1)
| Application Number | Priority Date | Filing Date | Title |
|---|---|---|---|
| CN201921805484.1U CN211140982U (en) | 2019-10-23 | 2019-10-23 | Steel band mounting structure of steel band unreeling machine |
Publications (1)
| Publication Number | Publication Date |
|---|---|
| CN211140982U true CN211140982U (en) | 2020-07-31 |
Family
ID=71771492
Family Applications (1)
| Application Number | Title | Priority Date | Filing Date |
|---|---|---|---|
| CN201921805484.1U Expired - Fee Related CN211140982U (en) | 2019-10-23 | 2019-10-23 | Steel band mounting structure of steel band unreeling machine |
Country Status (1)
| Country | Link |
|---|---|
| CN (1) | CN211140982U (en) |
Cited By (3)
| Publication number | Priority date | Publication date | Assignee | Title |
|---|---|---|---|---|
| CN115608809A (en) * | 2022-12-13 | 2023-01-17 | 广东顺德世高机械科技有限公司 | Metal coil uncoiler |
| CN116532494A (en) * | 2023-05-30 | 2023-08-04 | 温州元鼎铜业有限公司 | Copper strip rolling equipment |
| CN117945202A (en) * | 2024-02-01 | 2024-04-30 | 广东恒扬新材料有限公司 | Automatic foil device is put to aluminium foil of feeding |
-
2019
- 2019-10-23 CN CN201921805484.1U patent/CN211140982U/en not_active Expired - Fee Related
Cited By (4)
| Publication number | Priority date | Publication date | Assignee | Title |
|---|---|---|---|---|
| CN115608809A (en) * | 2022-12-13 | 2023-01-17 | 广东顺德世高机械科技有限公司 | Metal coil uncoiler |
| CN116532494A (en) * | 2023-05-30 | 2023-08-04 | 温州元鼎铜业有限公司 | Copper strip rolling equipment |
| CN116532494B (en) * | 2023-05-30 | 2023-11-14 | 温州元鼎铜业有限公司 | A kind of copper strip rolling equipment |
| CN117945202A (en) * | 2024-02-01 | 2024-04-30 | 广东恒扬新材料有限公司 | Automatic foil device is put to aluminium foil of feeding |
Similar Documents
| Publication | Publication Date | Title |
|---|---|---|
| CN211140982U (en) | Steel band mounting structure of steel band unreeling machine | |
| CN222540107U (en) | Cable winding machine | |
| CN114904912A (en) | A kind of equipment for the production of ultra-thin metal strips by forming and rolling on the same side | |
| CN211197975U (en) | A pressure roller system of a steel strip unwinder | |
| CN211664429U (en) | Steel wire coiling mechanism convenient to unload book | |
| CN209635508U (en) | A kind of paper production line paper winder | |
| CN216335841U (en) | Diameter stepless regulation type copper wire winding device | |
| CN211283019U (en) | Braking system of a steel strip unwinder | |
| CN221543489U (en) | A winding device for aluminum foil transfer film laminating machine | |
| CN220055839U (en) | Glass fiber winding device | |
| CN217807647U (en) | Stainless steel wire rod winding adjustable device | |
| CN205240832U (en) | Simple and easy decoiler device | |
| CN214878819U (en) | Coiling mechanism in special paper production process | |
| CN214031270U (en) | Reel | |
| CN222907087U (en) | Paper winder for paper product processing | |
| CN211496222U (en) | Packaging device for moso bamboo fiber roll paper | |
| CN221253211U (en) | Base paper feeding frame for paper tube production | |
| CN221473056U (en) | Aluminum strip withdrawal and straightening device | |
| CN211594545U (en) | Sticking cloth winding machine | |
| CN115303838A (en) | A kind of insulating crepe paper winding device | |
| CN107804730A (en) | A film rewinding device | |
| CN223171644U (en) | Rolling roller pressing device of coiling machine | |
| CN216613311U (en) | A carpet winder | |
| CN222493817U (en) | Paper surface gluing device for sponge sand production | |
| CN221318518U (en) | Coiling mechanism is used in plastic bag processing |
Legal Events
| Date | Code | Title | Description |
|---|---|---|---|
| GR01 | Patent grant | ||
| GR01 | Patent grant | ||
| CF01 | Termination of patent right due to non-payment of annual fee |
Granted publication date: 20200731 |
|
| CF01 | Termination of patent right due to non-payment of annual fee |
