CN211113816U - 一种污水处理工程用清淤车 - Google Patents
一种污水处理工程用清淤车 Download PDFInfo
- Publication number
- CN211113816U CN211113816U CN201921360652.0U CN201921360652U CN211113816U CN 211113816 U CN211113816 U CN 211113816U CN 201921360652 U CN201921360652 U CN 201921360652U CN 211113816 U CN211113816 U CN 211113816U
- Authority
- CN
- China
- Prior art keywords
- base
- fixed plate
- sewage treatment
- dredge pump
- slider
- Prior art date
- Legal status (The legal status is an assumption and is not a legal conclusion. Google has not performed a legal analysis and makes no representation as to the accuracy of the status listed.)
- Expired - Fee Related
Links
- 239000010865 sewage Substances 0.000 title claims abstract description 29
- 238000003860 storage Methods 0.000 claims abstract description 13
- 230000007246 mechanism Effects 0.000 claims abstract description 8
- 230000002146 bilateral effect Effects 0.000 claims abstract 4
- 239000010802 sludge Substances 0.000 claims description 15
- 210000005056 cell body Anatomy 0.000 description 5
- 238000000034 method Methods 0.000 description 5
- 230000008859 change Effects 0.000 description 2
- 238000006243 chemical reaction Methods 0.000 description 2
- 230000013011 mating Effects 0.000 description 2
- 230000008569 process Effects 0.000 description 2
- 238000009825 accumulation Methods 0.000 description 1
- 230000002337 anti-port Effects 0.000 description 1
- 230000009286 beneficial effect Effects 0.000 description 1
- 238000010170 biological method Methods 0.000 description 1
- 230000008878 coupling Effects 0.000 description 1
- 238000010168 coupling process Methods 0.000 description 1
- 238000005859 coupling reaction Methods 0.000 description 1
- 238000005520 cutting process Methods 0.000 description 1
- 238000010586 diagram Methods 0.000 description 1
- 230000007613 environmental effect Effects 0.000 description 1
- 230000007774 longterm Effects 0.000 description 1
- 238000004519 manufacturing process Methods 0.000 description 1
- 238000000053 physical method Methods 0.000 description 1
- 238000007790 scraping Methods 0.000 description 1
- 239000000126 substance Substances 0.000 description 1
- 239000002699 waste material Substances 0.000 description 1
- XLYOFNOQVPJJNP-UHFFFAOYSA-N water Substances O XLYOFNOQVPJJNP-UHFFFAOYSA-N 0.000 description 1
Images
Landscapes
- Treatment Of Sludge (AREA)
- Sewage (AREA)
Abstract
本实用新型公开了一种污水处理工程用清淤车,包括底座,底座的底端设有若干滑轮,底座的顶端设有储存箱,储存箱为顶端开口的空腔结构,底座的顶端两侧对称设有吸泥泵和支撑杆,吸泥泵与外部电源电性连接,储存箱位于吸泥泵和支撑杆之间,支撑杆的顶部两侧对称设有握把,底座的一侧设有紧邻吸泥泵的第一固定板,第一固定板与底座的顶端通过连接板连接,第一固定板远离连接板的一侧上下对称设有活动板和第二固定板,活动板与第一固定板通过滑动机构连接。本实用新型的一种污水处理工程用清淤车,防止了块状淤泥进入第一吸泥管和第二吸泥管内,进而防止了管道堵塞,进而提高了清洁效率的同时,保证了设备的正常运行,节省了人力,提高了工作效率。
Description
技术领域
本实用新型涉及污水处理技术领域,特别涉及一种污水处理工程用清淤车。
背景技术
污水处理是使污水达到排水或再次使用的水质要求对其进行净化的过程,污水处理被广泛应用于建筑、农业、交通、能源、石化、环保、城市景观、医疗、餐饮等各个领域,也越来越多地走进寻常百姓的日常生活,按污水来源分类,污水处理一般分为生产污水处理和生活污水处理,处理污水的方法很多,一般可归纳为物理法、化学法和生物法等,在处理过程中会产生淤泥沉降在处理池底部,要定期的对池体底部进行清理,通常采用人工通过铲子对池体底部进行清理,工作效率低,而且池体底部长期积累淤泥,导致淤泥吸附在池体底部,而且部分淤泥凝结成块状,进而不易清理淤泥,费时费力。
实用新型内容
本实用新型的主要目的在于提供一种污水处理工程用清淤车,可以有效解决背景技术中通常采用人工通过铲子对池体底部进行清理,工作效率低,而且池体底部长期积累淤泥,导致淤泥吸附在池体底部,而且部分淤泥凝结成块状,进而不易清理淤泥,费时费力的问题。
为实现上述目的,本实用新型采取的技术方案为:
一种污水处理工程用清淤车,包括底座,所述底座的底端设有若干滑轮,所述底座的顶端设有储存箱,所述储存箱为顶端开口的空腔结构,所述底座的顶端两侧对称设有吸泥泵和支撑杆,所述吸泥泵与外部电源电性连接,所述储存箱位于所述吸泥泵和所述支撑杆之间,所述支撑杆的顶部两侧对称设有握把,所述底座的一侧设有紧邻所述吸泥泵的第一固定板,所述第一固定板与所述底座的顶端通过连接板连接,所述第一固定板远离连接板的一侧上下对称设有活动板和第二固定板,所述活动板与所述第一固定板通过滑动机构连接,所述活动板的底端开设有若干第一卡槽,所述第二固定板的顶端开设有若干第二卡槽,所述第二卡槽与所述第一卡槽之间通过刀片连接,所述第二固定板远离所述第一固定板的一侧设有铲刀,所述第一固定板靠近刀片的一侧设有吸盘,所述吸盘的一侧设有第一吸泥管,所述第一吸泥管的一端贯穿所述第一固定板且与所述吸泥泵连接,所述吸泥泵与所述储存箱通过第二吸泥管连接。
优选的,所述滑动机构包括设置于所述第一固定板一侧的滑槽,所述滑槽内设有滑块,所述滑块与所述活动板连接,所述第一固定板的顶端开设有通孔,所述通孔与所述滑槽连通,所述通孔内设有螺纹杆,所述螺纹杆贯穿所述滑块,且所述螺纹杆的底端与所述滑槽的底端内壁通过第一轴承连接,所述螺纹杆的顶端设有位于所述第一固定板顶端的转盘。
优选的,所述螺纹杆与所述滑块的连接方式为螺纹连接,所述螺纹杆与所述通孔的连接处设有第二轴承,所述滑槽的两侧内壁开设有限位滑槽,所述限位滑槽内设有限位滑块,所述限位滑块与所述滑块连接。
优选的,所述滑轮设置的数目为四个,且所述滑轮均匀的分布于所述底座的底端,所述刀片设置的数目为五个,且所述吸盘紧邻所述刀片。
优选的,所述握把的外部套设有防滑套,所述连接板为L形结构。
与现有技术相比,本实用新型具有如下有益效果:通过设置滑动机构、活动板、第一卡槽和第二卡槽的配合作用,进而可以简单便捷的更换新的刀片,通过设置刀片、铲刀、吸盘和吸泥泵的配合作用,进而可以铲除吸附在池体底部的淤泥,同时由于吸泥泵使得吸盘产生吸力,进而淤泥经过刀片切割,防止了块状淤泥进入第一吸泥管和第二吸泥管内,进而防止了管道堵塞,进而提高了清洁效率的同时,保证了设备的正常运行,节省了人力,提高了工作效率。
附图说明
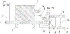
图1为本实用新型一种污水处理工程用清淤车的整体结构示意图;
图2为本实用新型一种污水处理工程用清淤车的正视图;
图3为本实用新型一种污水处理工程用清淤车滑动机构的结构示意图;
图4为图3中A处的局部放大示意图;
图5为本实用新型一种污水处理工程用清淤车限位滑块的结构示意图。
图中:1、底座;2、滑轮;3、储存箱;4、吸泥泵;5、支撑杆;6、握把;7、第一固定板;8、连接板;9、活动板;10、第二固定板;11、第一卡槽;12、第二卡槽;13、刀片;14、铲刀;15、吸盘;16、第一吸泥管;17、第二吸泥管;18、滑槽;19、滑块;20、螺纹杆;21、第一轴承;22、通孔;23、第二轴承;24、转盘;25、限位滑槽;26、限位滑块;27、防滑套。
具体实施方式
为使本实用新型实现的技术手段、创作特征、达成目的与功效易于明白了解,下面结合具体实施方式,进一步阐述本实用新型。
在本实用新型的描述中,需要说明的是,术语“上”、“下”、“内”、“外”“前端”、“后端”、“两端”、“一端”、“另一端”等指示的方位或位置关系为基于附图所示的方位或位置关系,仅是为了便于描述本实用新型和简化描述,而不是指示或暗示所指的装置或元件必须具有特定的方位、以特定的方位构造和操作,因此不能理解为对本实用新型的限制。此外,术语“第一”、“第二”仅用于描述目的,而不能理解为指示或暗示相对重要性。
在本实用新型的描述中,需要说明的是,除非另有明确的规定和限定,术语“安装”、“设置有”、“连接”等,应做广义理解,例如“连接”,可以是固定连接,也可以是可拆卸连接,或一体地连接;可以是机械连接,也可以是电连接;可以是直接相连,也可以通过中间媒介间接相连,可以是两个元件内部的连通。对于本领域的普通技术人员而言,可以具体情况理解上述术语在本实用新型中的具体含义。
如图1-5所示,一种污水处理工程用清淤车,包括底座1,底座1的底端设有若干滑轮2,底座1的顶端设有储存箱3,储存箱3为顶端开口的空腔结构,底座1的顶端两侧对称设有吸泥泵4和支撑杆5,吸泥泵4与外部电源电性连接,储存箱3位于吸泥泵4和支撑杆5之间,支撑杆5的顶部两侧对称设有握把6,底座1的一侧设有紧邻吸泥泵4的第一固定板7,第一固定板7与底座1的顶端通过连接板8连接,第一固定板7远离连接板8的一侧上下对称设有活动板9和第二固定板10,活动板9与第一固定板7通过滑动机构连接,活动板9的底端开设有若干第一卡槽11,第二固定板10的顶端开设有若干第二卡槽12,第二卡槽12与第一卡槽11之间通过刀片13连接,第二固定板10远离第一固定板7的一侧设有铲刀14,第一固定板7靠近刀片13的一侧设有吸盘15,吸盘15的一侧设有第一吸泥管16,第一吸泥管16的一端贯穿第一固定板7且与吸泥泵4连接,吸泥泵4与储存箱3通过第二吸泥管17连接;
滑动机构包括设置于第一固定板7一侧的滑槽18,滑槽18内设有滑块19,滑块19与活动板9连接,第一固定板7的顶端开设有通孔22,通孔22与滑槽18连通,通孔22内设有螺纹杆20,螺纹杆20贯穿滑块19,且螺纹杆20的底端与滑槽18的底端内壁通过第一轴承21连接,螺纹杆20的顶端设有位于第一固定板7顶端的转盘24;螺纹杆20与滑块19的连接方式为螺纹连接,螺纹杆20与通孔22的连接处设有第二轴承23,滑槽18的两侧内壁开设有限位滑槽25,限位滑槽25内设有限位滑块26,限位滑块26与滑块19连接;滑轮2设置的数目为四个,且滑轮2均匀的分布于底座1的底端,刀片13设置的数目为五个,且吸盘15紧邻刀片13;握把6的外部套设有防滑套27,连接板8为L形结构。
需要说明的是,本实用新型为一种污水处理工程用清淤车,在使用时,通过握住握把6,控制清淤车移动,通过防滑套27,加大手与握把6的摩擦力,进而启动吸泥泵4,通过推动清淤车,使得铲刀14把吸附在池体底部的淤泥铲起来,进而吸泥泵4使得吸盘15产生吸力,进而淤泥经过刀片13切割,进而淤泥依次通过第一吸泥管16、吸泥泵4和第二吸泥管17,最终淤泥进入储存箱3内,通过刀片13切割淤泥,防止了块状淤泥进入第一吸泥管16和第二吸泥管17内,防止了管道堵塞,随着使用时间的增加,刀片13出现磨损,进而转动转盘24,使得滑块19上移,进而刀片13的顶端脱离第一卡槽11,进而取出刀片13,把新的刀片13底端卡在第二卡槽12上,刀片13的顶端对准第一卡槽11,同理,反向转动转盘24,使得滑块19下移,进而第一固定板7驱动第一卡槽11卡在刀片13的顶端,进而完成刀片13的更换,滑块19移动的同时,限位滑块26在防滑套27内滑动,进而保证滑块19移动的稳定性,进而不再需要人工通过铲子清理池体底部,节省了人力,提高了工作效率。
以上显示和描述了本实用新型的基本原理和主要特征和本实用新型的优点。本行业的技术人员应该了解,本实用新型不受上述实施例的限制,上述实施例和说明书中描述的只是说明本实用新型的原理,在不脱离本实用新型精神和范围的前提下,本实用新型还会有各种变化和改进,这些变化和改进都落入要求保护的本实用新型范围内。本实用新型要求保护范围由所附的权利要求书及其等效物界定。
Claims (5)
1.一种污水处理工程用清淤车,其特征在于:包括底座(1),所述底座(1)的底端设有若干滑轮(2),所述底座(1)的顶端设有储存箱(3),所述储存箱(3)为顶端开口的空腔结构,所述底座(1)的顶端两侧对称设有吸泥泵(4)和支撑杆(5),所述吸泥泵(4)与外部电源电性连接,所述储存箱(3)位于所述吸泥泵(4)和所述支撑杆(5)之间,所述支撑杆(5)的顶部两侧对称设有握把(6),所述底座(1)的一侧设有紧邻所述吸泥泵(4)的第一固定板(7),所述第一固定板(7)与所述底座(1)的顶端通过连接板(8)连接,所述第一固定板(7)远离连接板(8)的一侧上下对称设有活动板(9)和第二固定板(10),所述活动板(9)与所述第一固定板(7)通过滑动机构连接,所述活动板(9)的底端开设有若干第一卡槽(11),所述第二固定板(10)的顶端开设有若干第二卡槽(12),所述第二卡槽(12)与所述第一卡槽(11)之间通过刀片(13)连接,所述第二固定板(10)远离所述第一固定板(7)的一侧设有铲刀(14),所述第一固定板(7)靠近刀片(13)的一侧设有吸盘(15),所述吸盘(15)的一侧设有第一吸泥管(16),所述第一吸泥管(16)的一端贯穿所述第一固定板(7)且与所述吸泥泵(4)连接,所述吸泥泵(4)与所述储存箱(3)通过第二吸泥管(17)连接。
2.根据权利要求1所述的一种污水处理工程用清淤车,其特征在于:所述滑动机构包括设置于所述第一固定板(7)一侧的滑槽(18),所述滑槽(18)内设有滑块(19),所述滑块(19)与所述活动板(9)连接,所述第一固定板(7)的顶端开设有通孔(22),所述通孔(22)与所述滑槽(18)连通,所述通孔(22)内设有螺纹杆(20),所述螺纹杆(20)贯穿所述滑块(19),且所述螺纹杆(20)的底端与所述滑槽(18)的底端内壁通过第一轴承(21)连接,所述螺纹杆(20)的顶端设有位于所述第一固定板(7)顶端的转盘(24)。
3.根据权利要求2所述的一种污水处理工程用清淤车,其特征在于:所述螺纹杆(20)与所述滑块(19)的连接方式为螺纹连接,所述螺纹杆(20)与所述通孔(22)的连接处设有第二轴承(23),所述滑槽(18)的两侧内壁开设有限位滑槽(25),所述限位滑槽(25)内设有限位滑块(26),所述限位滑块(26)与所述滑块(19)连接。
4.根据权利要求1所述的一种污水处理工程用清淤车,其特征在于:所述滑轮(2)设置的数目为四个,且所述滑轮(2)均匀的分布于所述底座(1)的底端,所述刀片(13)设置的数目为五个,且所述吸盘(15)紧邻所述刀片(13)。
5.根据权利要求1所述的一种污水处理工程用清淤车,其特征在于:所述握把(6)的外部套设有防滑套(27),所述连接板(8)为L形结构。
Priority Applications (1)
| Application Number | Priority Date | Filing Date | Title |
|---|---|---|---|
| CN201921360652.0U CN211113816U (zh) | 2019-08-20 | 2019-08-20 | 一种污水处理工程用清淤车 |
Applications Claiming Priority (1)
| Application Number | Priority Date | Filing Date | Title |
|---|---|---|---|
| CN201921360652.0U CN211113816U (zh) | 2019-08-20 | 2019-08-20 | 一种污水处理工程用清淤车 |
Publications (1)
| Publication Number | Publication Date |
|---|---|
| CN211113816U true CN211113816U (zh) | 2020-07-28 |
Family
ID=71694926
Family Applications (1)
| Application Number | Title | Priority Date | Filing Date |
|---|---|---|---|
| CN201921360652.0U Expired - Fee Related CN211113816U (zh) | 2019-08-20 | 2019-08-20 | 一种污水处理工程用清淤车 |
Country Status (1)
| Country | Link |
|---|---|
| CN (1) | CN211113816U (zh) |
Cited By (1)
| Publication number | Priority date | Publication date | Assignee | Title |
|---|---|---|---|---|
| CN114354171A (zh) * | 2022-01-10 | 2022-04-15 | 唐秀保 | 一种污水刮泥寿命检测模拟装置 |
-
2019
- 2019-08-20 CN CN201921360652.0U patent/CN211113816U/zh not_active Expired - Fee Related
Cited By (1)
| Publication number | Priority date | Publication date | Assignee | Title |
|---|---|---|---|---|
| CN114354171A (zh) * | 2022-01-10 | 2022-04-15 | 唐秀保 | 一种污水刮泥寿命检测模拟装置 |
Similar Documents
| Publication | Publication Date | Title |
|---|---|---|
| CN211097744U (zh) | 一种污水净化处理设备 | |
| CN211421215U (zh) | 一种农业水利灌溉沟渠用清理装置 | |
| CN211113816U (zh) | 一种污水处理工程用清淤车 | |
| CN211513740U (zh) | 一种雨水收集系统用水污染过滤装置 | |
| CN210369287U (zh) | 一种水利工程管道清淤装置 | |
| CN214344635U (zh) | 一种污水处理厂圆形池体刮吸泥机 | |
| CN110898477A (zh) | 一种污水处理用排泥装置 | |
| CN215828586U (zh) | 一体化地埋式scbr污水处理装置 | |
| CN209907188U (zh) | 一种桥面雨水收集利用装置 | |
| CN218944448U (zh) | 一种泥浆不落地专用刮泥装置 | |
| CN218794315U (zh) | 一种可移动式污水处理装置 | |
| CN115093053B (zh) | 一种园林景观设计综合一体化的污水处理系统 | |
| CN218553447U (zh) | 一种污水处理的气体收集装置 | |
| CN217027259U (zh) | 一种水利施工用高效清淤装置 | |
| CN216023320U (zh) | 一种带可收纳集泥板的污水处理沉淀池 | |
| CN211546046U (zh) | 一种污水处理厂用深度处理的高效沉淀池 | |
| CN211228828U (zh) | 一种加强型格栅井盖 | |
| CN222575725U (zh) | 一种水利施工用淤泥清理装置 | |
| CN218572894U (zh) | 一种具有高效清淤功能的污水处理设备 | |
| CN217939333U (zh) | 一种污水治理用除杂装置 | |
| CN221014676U (zh) | 一种具有过滤功能的污水处理装置 | |
| CN222349802U (zh) | 一种高标准农田沟渠污泥清理装置 | |
| CN218881015U (zh) | 一种改性沥青防水涂料基层处理装置 | |
| CN217430920U (zh) | 一种旋流沉砂池用的池体除污装置 | |
| CN218357758U (zh) | 一种新型污废水回收处理装置 |
Legal Events
| Date | Code | Title | Description |
|---|---|---|---|
| GR01 | Patent grant | ||
| GR01 | Patent grant | ||
| CF01 | Termination of patent right due to non-payment of annual fee | ||
| CF01 | Termination of patent right due to non-payment of annual fee |
Granted publication date: 20200728 Termination date: 20210820 |