CN211110249U - An intelligent winding device for carpet production - Google Patents

An intelligent winding device for carpet production Download PDF

Info

Publication number
CN211110249U
CN211110249U CN201922197464.7U CN201922197464U CN211110249U CN 211110249 U CN211110249 U CN 211110249U CN 201922197464 U CN201922197464 U CN 201922197464U CN 211110249 U CN211110249 U CN 211110249U
Authority
CN
China
Prior art keywords
carpet
dust removal
fixed mounting
connecting plate
dust
Prior art date
Legal status (The legal status is an assumption and is not a legal conclusion. Google has not performed a legal analysis and makes no representation as to the accuracy of the status listed.)
Expired - Fee Related
Application number
CN201922197464.7U
Other languages
Chinese (zh)
Inventor
周董
Current Assignee (The listed assignees may be inaccurate. Google has not performed a legal analysis and makes no representation or warranty as to the accuracy of the list.)
Wuxi Xunshi New Material Co ltd
Original Assignee
Wuxi Xunshi New Material Co ltd
Priority date (The priority date is an assumption and is not a legal conclusion. Google has not performed a legal analysis and makes no representation as to the accuracy of the date listed.)
Filing date
Publication date
Application filed by Wuxi Xunshi New Material Co ltd filed Critical Wuxi Xunshi New Material Co ltd
Priority to CN201922197464.7U priority Critical patent/CN211110249U/en
Application granted granted Critical
Publication of CN211110249U publication Critical patent/CN211110249U/en
Expired - Fee Related legal-status Critical Current
Anticipated expiration legal-status Critical

Links

Images

Landscapes

  • Cleaning In General (AREA)

Abstract

本实用新型涉及地毯生产技术领域,且公开了一种地毯生产用智能化收卷装置,包括加工台,所述加工台顶部固定安装有数量为两个的送毯装置,所述加工台顶部固定安装有数量为两个且位于两个送毯装置之间的第一支撑板,两个所述第一支撑板顶部均与顶板固定连接,所述顶板顶部固定安装有贯穿顶板并延伸顶板底部的电动丝杆滑台,所述顶板右侧固定安装有延长板。该地毯生产用智能化收卷装置,解决了在地毯生产过程中需要对成品的地毯进行分切收卷,但是现有的收卷装置在收卷时无法有效清除地毯上附着的灰尘,而且分切地毯的过程中也会产生残渣附着在地毯上,导致地毯的品质降低,不利于销售的问题。

Figure 201922197464

The utility model relates to the technical field of carpet production, and discloses an intelligent winding device for carpet production, which comprises a processing table, two carpet feeding devices are fixedly installed on the top of the processing table, and the top of the processing table is fixed There are two first support plates installed between the two blanket feeding devices. The tops of the two first support plates are fixedly connected to the top plate. For the electric screw slide table, an extension plate is fixedly installed on the right side of the top plate. The intelligent winding device for carpet production solves the need for slitting and winding the finished carpet in the carpet production process, but the existing winding device cannot effectively remove the dust attached to the carpet during winding, and the separation In the process of cutting the carpet, residues will also be attached to the carpet, which will reduce the quality of the carpet and be unfavorable for sales.

Figure 201922197464

Description

Carpet production is with intelligent coiling mechanism
Technical Field
The utility model relates to a carpet manufacture technical field specifically is an intelligent coiling mechanism is used in carpet production.
Background
The carpet is a floor covering made up by using natural fibre or chemical synthetic fibre raw material of cotton, hemp, wool, silk and grass through the processes of manual or mechanical weaving and making weaving and tufting or weaving, and is one of the traditional handicraft articles with long history in the world, and can be covered on the floor of dwelling house, hotel, gymnasium, exhibition hall, vehicle, ship and airplane, etc. so as to obtain the functions of reducing noise, insulating heat and decorative effect.
Need cut the rolling to off-the-shelf carpet in carpet production process, but current coiling mechanism can't effectively clear away adnexed dust on the carpet when the rolling, and the in-process of cutting the carpet also can produce the residue in addition and attach to on the carpet, leads to the quality of carpet to reduce, is unfavorable for selling, so has proposed a carpet production and has solved the above-mentioned problem that proposes with intelligent coiling mechanism.
SUMMERY OF THE UTILITY MODEL
Technical problem to be solved
The utility model provides a not enough to prior art, the utility model provides an intelligent coiling mechanism is used in carpet production possesses and to clean carpet surface at the in-process of rolling, improves the advantage of carpet quality, has solved and has cut the rolling to off-the-shelf carpet in carpet production process, but current coiling mechanism can't effectively clear away adnexed dust on the carpet when the rolling, and the in-process of cutting the carpet also can produce the residue and adhere to on the carpet in addition, leads to the quality reduction of carpet, is unfavorable for the problem of selling.
(II) technical scheme
Can clean the carpet surface at the in-process of rolling for realizing the aforesaid, improve the purpose of carpet quality, the utility model provides a following technical scheme: an intelligent coiling mechanism is used in carpet production, includes the processing platform, processing bench top fixed mounting has the blanket device that send of quantity two, processing bench top fixed mounting has the quantity two and is located two and send the first backup pad between the blanket device, two first backup pad top all with roof fixed connection, roof top fixed mounting has the electric lead screw slip table that runs through the roof and extend the roof bottom, roof right side fixed mounting has the extension plate, extension plate bottom fixed mounting has the first electric telescopic handle of quantity two, two the output shaft of first electric telescopic handle all with clamp plate fixed connection, the fly leaf bottom fixed connection of electric lead screw slip table has the second electric telescopic handle of quantity two, two the output shaft of second electric telescopic handle all with cutting blade fixed connection, processing bench right side fixed mounting has the connecting plate, the utility model discloses a dust removal machine, including connecting plate, wind-up roll, connecting plate rear side fixedly connected with run through the connecting plate and extend to the connecting plate front side and be located the electric putter on wind-up roll right side, connecting plate top fixedly connected with second backup pad, second backup pad top fixedly connected with dust removal case, the dust removal chamber has been seted up to the dust removal incasement, dust removal intracavity fixed mounting has the dust absorption fan that runs through the dust removal case, the gas outlet threaded connection of dust absorption fan has a filter screen section of thick bamboo, dust removal bottom of the case portion fixed mounting has the brush cleaner that is located the dust absorption fan bottom.
Preferably, the processing platform front side is opened and is equipped with quantity and is two accomodate the groove, accomodate inslot fixed mounting and have the rotation motor, the first belt pulley of output shaft fixedly connected with of rotation motor, wind-up roll rear side fixedly connected with second belt pulley, swing joint has driving belt between first belt pulley and the second belt pulley.
Preferably, the blanket conveying device is composed of a support frame, two movable rods, two conveying rollers and a conveying motor, wherein the movable rods are third electric telescopic rods, and the conveying rollers are rotatably connected between the two movable rods.
Preferably, when the output shaft of the first electric telescopic rod is fully extended, the pressing plate is in contact with the top of the processing table, and the bottom of the pressing plate is provided with an anti-skid groove.
Preferably, the connecting plate rear side and processing platform rear side parallel and level, the dust removal case front side is opened and is equipped with the maintenance hole that is linked together with the dust removal chamber, maintain downthehole rotation and be connected with the maintenance door.
Preferably, the bottom of the dust removal box is provided with a dust collection opening positioned at the top of the cleaning brush, the distance between the cleaning brush and the winding roller is less than one centimeter, and the cleaning brush is a soft brush.
(III) advantageous effects
Compared with the prior art, the utility model provides an intelligent coiling mechanism is used in carpet production possesses following beneficial effect:
the intelligent winding device for carpet production is characterized in that a first electric telescopic rod output shaft is used for producing and driving a pressing plate to compress a carpet, then an electric lead screw sliding table is used for driving a cutting blade to cut the carpet, the processed carpet is conveyed by a carpet conveying device, the right side of the carpet is moved into a clamping groove, then the right end of the carpet is clamped by an arc-shaped clamping plate, a winding roller is driven to rotate by rotating a motor, then the carpet is wound along with the rotation of the winding roller, dust and residues on the surface of the carpet are separated from the carpet by a cleaning brush in the winding process, then the dust and the residues are sucked by a dust suction fan and discharged through a filter screen cylinder, the filter screen cylinder can intercept the dust and the residues in air, the dust and the residues are collected in the filter screen cylinder, a user only needs to clean the filter screen cylinder through maintenance holes regularly, and after the winding is completed, the user fixes the carpet through an, then promote carpet and wind-up roll separation through electric putter output shaft extension, reached and to clean the carpet surface at the in-process of rolling, improve the purpose of carpet quality, thereby effectual solved need cut the rolling to off-the-shelf carpet in carpet production process, but current coiling mechanism can't effectively clear away adnexed dust on the carpet when the rolling, cut the in-process of carpet also can produce the residue in addition and adhere to on the carpet, lead to the quality reduction of carpet, be unfavorable for the problem of selling.
Drawings
FIG. 1 is a schematic structural view of the present invention;
FIG. 2 is a partial cross-sectional view of the present invention;
fig. 3 is a partially enlarged schematic view of a portion a shown in fig. 1 according to the present invention.
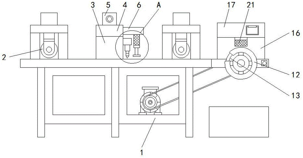
In the figure: 1 processing platform, 2 send blanket device, 3 first backup pads, 4 roofs, 5 electronic lead screw slip tables, 6 extension plates, 7 first electric telescopic handle, 8 clamp plates, 9 second electric telescopic handle, 10 cutting blade, 11 connecting plates, 12 wind-up rolls, 13 draw-in grooves, 14 arc cardboard, 15 electric putter, 16 second backup pads, 17 dust removal case, 18 dust removal chamber, 19 dust absorption fans, 20 filter screen section of thick bamboo, 21 brush cleaners.
Detailed Description
The technical solutions in the embodiments of the present invention will be described clearly and completely with reference to the accompanying drawings in the embodiments of the present invention, and it is obvious that the described embodiments are only some embodiments of the present invention, not all embodiments. Based on the embodiments in the present invention, all other embodiments obtained by a person skilled in the art without creative work belong to the protection scope of the present invention.
Referring to fig. 1-3, an intelligent winding device for carpet production comprises a processing table 1, two carpet feeding devices 2 are fixedly mounted on the top of the processing table 1, each carpet feeding device 2 comprises a support frame, two movable rods, a conveying roller and a conveying motor, each movable rod is a third electric telescopic rod, the number of the movable rods is two, the conveying roller is rotatably connected between the two movable rods, two first support plates 3 are fixedly mounted on the top of the processing table 1 and positioned between the two carpet feeding devices 2, the tops of the two first support plates 3 are fixedly connected with a top plate 4, an electric screw rod sliding table 5 penetrating through the top plate 4 and extending to the bottom of the top plate 4 is fixedly mounted on the top of the top plate 4, an extension plate 6 is fixedly mounted on the right side of the top plate 4, two first electric telescopic rods 7 are fixedly mounted on the bottom of the extension plate 6, output shafts of the two first electric telescopic rods 7 are fixedly connected with a pressing plate 8, when the output shaft of the first electric telescopic rod 7 is completely extended, the pressing plate 8 is contacted with the top of the processing table 1, the bottom of the pressing plate 8 is provided with an anti-skid groove, the bottom of the movable plate of the electric screw sliding table 5 is fixedly connected with two second electric telescopic rods 9, the output shafts of the two second electric telescopic rods 9 are fixedly connected with the cutting blade 10, the right side of the processing table 1 is fixedly provided with a connecting plate 11, the rear side of the connecting plate 11 is flush with the rear side of the processing table 1, the front side of the connecting plate 11 is rotatably connected with a winding roller 12, the front side of the processing table 1 is provided with two accommodating grooves, a rotating motor is fixedly arranged in the accommodating grooves, the output shaft of the rotating motor is fixedly connected with a first belt pulley, the rear side of the winding roller 12 is fixedly connected with a second belt pulley, a transmission belt is movably connected between the first belt pulley and the second belt pulley, the rear side of the connecting plate 11 is fixedly connected with an electric push rod 15 which penetrates through the connecting plate 11 and extends to the front side of the connecting plate 11 and is located on the right side of the winding roller 12, the top of the connecting plate 11 is fixedly connected with a second supporting plate 16, the top of the second supporting plate 16 is fixedly connected with a dust removal box 17, a dust removal cavity 18 is formed in the dust removal box 17, a maintenance hole communicated with the dust removal cavity 18 is formed in the front side of the dust removal box 17, a maintenance door is rotatably connected in the maintenance hole, a dust suction fan 19 penetrating through the dust removal box 17 is fixedly installed in the dust removal cavity 18, a filter screen cylinder 20 is connected to the air outlet of the dust suction fan 19 in a threaded mode, a cleaning brush 21 located at the bottom of the dust suction fan 19 is fixedly installed at the bottom of the dust removal box 17, a dust suction opening located at the top of the cleaning brush.
When the carpet winding machine is used, the pressing plate 8 is driven to compress a carpet through the production of the output shaft of the first electric telescopic rod 7, then the carpet is cut through the electric lead screw sliding table 5, the processed carpet is conveyed through the carpet conveying device 2, the right side of the carpet is moved into the clamping groove 13, then the right end of the carpet is clamped through the arc-shaped clamping plate 14, the winding roller 12 is driven to rotate through the rotating motor, then the carpet is wound along with the rotation of the winding roller 12, dust and residues on the surface of the carpet are separated from the carpet through the cleaning brush 21 in the winding process, then the dust and the residues are sucked by the dust suction fan 19 and discharged through the filter screen cylinder 20, the filter screen cylinder 20 intercepts the dust and the residues in the air, the dust and the residues are collected in the filter screen cylinder 20, a user only needs to clean the filter screen cylinder 20 through maintenance holes regularly, and after the winding is completed, the user fixes the carpet through the sticky tape, then promotes carpet and the separation of wind-up roll 12 through the extension of electric putter 15 output shaft, has reached and can clean the carpet surface at the in-process of rolling, improves the purpose of carpet quality.
To sum up, the carpet production intelligent winding device drives the pressing plate 8 to compress the carpet through the output shaft of the first electric telescopic rod 7, then drives the cutting blade 10 to cut the carpet through the electric screw rod sliding table 5, the processed carpet is conveyed through the carpet conveying device 2, the right side of the carpet is moved into the clamping groove 13, then the right end of the carpet is clamped through the arc-shaped clamping plate 14, the winding roller 12 is driven to rotate through rotating the motor, then the carpet is wound along with the rotation of the winding roller 12, dust and residues on the surface of the carpet are separated from the carpet through the cleaning brush 21 in the winding process, then the dust and the residues are sucked by the dust suction fan 19 and are discharged through the filter screen cylinder 20, the filter screen cylinder 20 can intercept the dust and the residues in the air, the dust and the residues are collected in the filter screen cylinder 20 regularly, and a user only needs to clean the filter screen cylinder 20 through the maintenance hole, after the rolling is accomplished, the user fixes the carpet through the sticky tape, then promote carpet and the separation of wind-up roll 12 through electric putter 15 output shaft extension, reached and to have cleaned the carpet surface at the in-process of rolling, the purpose of improvement carpet quality, thereby the rolling needs to be cut to off-the-shelf carpet in the carpet production process to effectual solution, but current coiling mechanism can't effectively clear away adnexed dust on the carpet when the rolling, and cut the in-process of carpet also can produce the residue and adhere to on the carpet, lead to the quality reduction of carpet, be unfavorable for the problem of selling.
It is to be noted that the terms "comprises," "comprising," or any other variation thereof, are intended to cover a non-exclusive inclusion, such that a process, method, article, or apparatus that comprises a list of elements does not include only those elements but may include other elements not expressly listed or inherent to such process, method, article, or apparatus. Without further limitation, an element defined by the phrase "comprising an … …" does not exclude the presence of other identical elements in a process, method, article, or apparatus that comprises the element.
Although embodiments of the present invention have been shown and described, it will be appreciated by those skilled in the art that changes, modifications, substitutions and alterations can be made in these embodiments without departing from the principles and spirit of the invention, the scope of which is defined in the appended claims and their equivalents.

Claims (6)

1. The utility model provides a carpet production is with intelligent coiling mechanism, includes processing platform (1), its characterized in that: processing platform (1) top fixed mounting has quantity to send blanket device (2) two, processing platform (1) top fixed mounting has quantity to be two and is located two and send first backup pad (3) between blanket device (2), two first backup pad (3) top all with roof (4) fixed connection, roof (4) top fixed mounting has electric lead screw slip table (5) that runs through roof (4) and extend roof (4) bottom, roof (4) right side fixed mounting has extension plate (6), extension plate (6) bottom fixed mounting has first electric telescopic handle (7) that quantity is two, two the output shaft of first electric telescopic handle (7) all with clamp plate (8) fixed connection, the fly leaf bottom fixed connection of electric lead screw slip table (5) has second electric telescopic handle (9) that quantity is two, two the output shaft of second electric telescopic handle (9) all with cutting blade (10) fixed connection, processing platform (1) right side fixed mounting has connecting plate (11), connecting plate (11) front side rotation is connected with wind-up roll (12), draw-in groove (13) have been seted up in wind-up roll (12) left side, swing joint has arc cardboard (14) in draw-in groove (13), connecting plate (11) rear side fixedly connected with runs through connecting plate (11) and extends to connecting plate (11) front side and be located electric putter (15) on wind-up roll (12) right side, connecting plate (11) top fixedly connected with second backup pad (16), second backup pad (16) top fixedly connected with dust removal case (17), set up dust removal chamber (18) in dust removal case (17), the dust removal chamber (18) internal fixed mounting has dust absorption fan (19) that runs through dust removal case (17), the air outlet of the dust collection fan (19) is in threaded connection with a filter screen cylinder (20), and a cleaning brush (21) located at the bottom of the dust collection fan (19) is fixedly installed at the bottom of the dust removal box (17).
2. The intelligent rolling device for carpet production according to claim 1, wherein: processing platform (1) front side is opened and is equipped with quantity and accomodate the groove for two, accomodate inslot fixed mounting and have the rotation motor, the first belt pulley of output shaft fixedly connected with of rotation motor, wind-up roll (12) rear side fixedly connected with second belt pulley, swing joint has driving belt between first belt pulley and the second belt pulley.
3. The intelligent rolling device for carpet production according to claim 1, wherein: send blanket device (2) to comprise support frame, movable rod, conveying roller and conveying motor, the movable rod is third electric telescopic handle, the quantity of movable rod is two, two it is connected with the conveying roller to rotate between the movable rod.
4. The intelligent rolling device for carpet production according to claim 1, wherein: when the output shaft of the first electric telescopic rod (7) is fully extended, the pressing plate (8) is in contact with the top of the processing table (1), and the bottom of the pressing plate (8) is provided with an anti-skid groove.
5. The intelligent rolling device for carpet production according to claim 1, wherein: connecting plate (11) rear side and processing platform (1) rear side parallel and level, dust removal case (17) front side is opened and is equipped with the maintenance hole that is linked together with dust removal chamber (18), the downthehole rotation of maintenance is connected with the maintenance door.
6. The intelligent rolling device for carpet production according to claim 1, wherein: the dust collection box is characterized in that a dust collection opening located at the top of the cleaning brush (21) is formed in the bottom of the dust collection box (17), the distance between the cleaning brush (21) and the winding roller (12) is smaller than one centimeter, and the cleaning brush (21) is a soft brush.
CN201922197464.7U 2019-12-10 2019-12-10 An intelligent winding device for carpet production Expired - Fee Related CN211110249U (en)

Priority Applications (1)

Application Number Priority Date Filing Date Title
CN201922197464.7U CN211110249U (en) 2019-12-10 2019-12-10 An intelligent winding device for carpet production

Applications Claiming Priority (1)

Application Number Priority Date Filing Date Title
CN201922197464.7U CN211110249U (en) 2019-12-10 2019-12-10 An intelligent winding device for carpet production

Publications (1)

Publication Number Publication Date
CN211110249U true CN211110249U (en) 2020-07-28

Family

ID=71719742

Family Applications (1)

Application Number Title Priority Date Filing Date
CN201922197464.7U Expired - Fee Related CN211110249U (en) 2019-12-10 2019-12-10 An intelligent winding device for carpet production

Country Status (1)

Country Link
CN (1) CN211110249U (en)

Cited By (2)

* Cited by examiner, † Cited by third party
Publication number Priority date Publication date Assignee Title
CN112481846A (en) * 2020-11-24 2021-03-12 苏州锴诚缝制设备有限公司 Sewing machine cutting device with dust collecting function
CN112499332A (en) * 2020-12-11 2021-03-16 九江鑫星玻纤材料有限公司 Automatic storage and storage mechanism of glass fiber cloth production line

Cited By (3)

* Cited by examiner, † Cited by third party
Publication number Priority date Publication date Assignee Title
CN112481846A (en) * 2020-11-24 2021-03-12 苏州锴诚缝制设备有限公司 Sewing machine cutting device with dust collecting function
WO2022109979A1 (en) * 2020-11-24 2022-06-02 苏州锴诚缝制设备有限公司 Sewing machine cutting device having dust collecting function
CN112499332A (en) * 2020-12-11 2021-03-16 九江鑫星玻纤材料有限公司 Automatic storage and storage mechanism of glass fiber cloth production line

Similar Documents

Publication Publication Date Title
CN109571649B (en) Environment-friendly plate trimming equipment
CN211110249U (en) An intelligent winding device for carpet production
CN209970309U (en) A relief wire drawing machine for bamboo floor processing with dust collection function
CN213059467U (en) Coiling mechanism is used in wall paper production
CN218115960U (en) Cutting device for manufacturing fiber towels
CN220975950U (en) Fabric winding device for textile production
CN210886606U (en) Control convenient flat blanket machine
CN114524310B (en) Winding equipment for cutting out excessive thick heat-insulating material
CN213571273U (en) Cutting machine with pre-cleaning function
CN213798098U (en) Laminating machine is used in protection film processing
CN211489851U (en) Fixed-length cutting device for mop handle
CN222043603U (en) Carpet rough surface trimming machine
CN221192703U (en) Dust fall formula carpet guillootine
CN208004367U (en) A kind of automatic bristle fur-absorbing device
CN214981377U (en) Cutting device for carpet production
CN219357240U (en) Efficient deslagging equipment for production of composite packaging paper
CN222975527U (en) A cutting device for carpet production and processing
CN216129087U (en) Cotton processing production of PE bubble is with dustproof coiling material device
CN222199241U (en) Cloth finishing device of cloth laser cutting machine
CN221913628U (en) Multi-layer flame-retardant sofa fabric composite mechanism
CN213259790U (en) Clear useless machine of carton that removes dust and fall makes an uproar
CN221112090U (en) A dust-proof cutting device for decorative stickers on plates
CN217553124U (en) A thermal insulation and decoration integrated board film coating device
CN217869562U (en) Hair removal device for cloth
CN215629011U (en) Device for preventing edge of soft-pressing hot roller from being flocculated

Legal Events

Date Code Title Description
GR01 Patent grant
GR01 Patent grant
CF01 Termination of patent right due to non-payment of annual fee

Granted publication date: 20200728

CF01 Termination of patent right due to non-payment of annual fee