CN211108430U - High-speed horizontal round vase labeller - Google Patents
High-speed horizontal round vase labeller Download PDFInfo
- Publication number
- CN211108430U CN211108430U CN201921457734.7U CN201921457734U CN211108430U CN 211108430 U CN211108430 U CN 211108430U CN 201921457734 U CN201921457734 U CN 201921457734U CN 211108430 U CN211108430 U CN 211108430U
- Authority
- CN
- China
- Prior art keywords
- fixed
- feeding
- roller
- bolts
- labeling
- Prior art date
- Legal status (The legal status is an assumption and is not a legal conclusion. Google has not performed a legal analysis and makes no representation as to the accuracy of the status listed.)
- Expired - Fee Related
Links
Images
Landscapes
- Labeling Devices (AREA)
Abstract
本实用新型提供一种高速卧式圆瓶贴标机,包括电控柜,输送组件,上料组件,贴标组件,压标组件,工控机和旋杆,本实用新型的压标组件,上料组件和贴标组件的设置,待贴标瓶放置在上料箱内,下料辊转动通过下料槽将待贴标瓶输送到传送辊上,实现待贴标瓶的上料作业,相比采用人工上料,节省大量的劳动力和时间,上料一致性较好,进而提高贴标机的生产效率,贴标结束后,圆瓶经过压标组件,压标棉与圆瓶贴合对标签进行压紧作业,使标签在圆瓶上粘贴紧实,避免出现标签掉落的现象,提高贴标机的贴标质量,贴标产生的废料通过第一导料辊和第二导料辊输送到废料辊上,将废料收卷到废料辊上,实现废料的收集,便于进行废料的集中处理。
The utility model provides a high-speed horizontal round bottle labeling machine, which comprises an electric control cabinet, a conveying component, a feeding component, a labeling component, a label pressing component, an industrial computer and a rotary rod. The setting of the feeding assembly and the labeling assembly, the bottles to be labeled are placed in the feeding box, and the feeding roller rotates to transport the bottles to be labeled to the conveying roller through the feeding trough, so as to realize the feeding operation of the bottles to be labeled. Compared with manual feeding, it saves a lot of labor and time, and the feeding consistency is better, thereby improving the production efficiency of the labeling machine. The label is pressed to make the label stick tightly on the round bottle, avoid the phenomenon of label falling, and improve the labeling quality of the labeling machine. The waste generated by labeling passes through the first guide roller and the second guide roller. It is transported to the waste roller, and the waste is wound on the waste roller to realize the collection of the waste and facilitate the centralized treatment of the waste.
Description
技术领域technical field
本实用新型属于圆瓶贴标机技术领域,尤其涉及一种高速卧式圆瓶贴标机。The utility model belongs to the technical field of round bottle labeling machines, in particular to a high-speed horizontal round bottle labeling machine.
背景技术Background technique
标签是用于标明物品的品名、重量、体积、用途等信息的简要标牌,而贴标机则是以粘合剂把标签粘贴在规定的包装容器上的设备,贴标机是现代包装不可缺少的组成部分,目前我国生产贴标机的种类正在逐步增加,技术水平也有了很大的提高,贴标机分为平面类贴标机、圆瓶类贴标机和侧面类贴标机,圆瓶类贴标机是实现在圆柱形、圆锥形产品的圆周面上贴标签或贴膜,如玻璃瓶、塑料瓶等,可实现圆周、半圆周、圆周双面、圆周定位贴标等功能,现有的圆瓶类贴标机一般都是半自动,需要手工上料,这样极大地影响了生产效率。The label is a brief sign used to indicate the name, weight, volume, use and other information of the item, and the labeling machine is a device that sticks the label on the specified packaging container with adhesive. The labeling machine is indispensable for modern packaging. At present, the types of labeling machines produced in my country are gradually increasing, and the technical level has also been greatly improved. Labeling machines are divided into flat labeling machines, round bottle labeling machines and side labeling machines. Bottle labeling machine is to realize labeling or filming on the circumferential surface of cylindrical and conical products, such as glass bottles, plastic bottles, etc. The round bottle labeling machines are generally semi-automatic and require manual feeding, which greatly affects the production efficiency.
现有圆瓶贴标机一般为半自动式,采用人工上料,浪费大量的劳动力和时间,且生产效率较低,缺少压标机构,贴标后可能存在标签粘贴不紧实,存在标签掉落的现象,影响贴标机的贴标质量,贴标后不便于废料的收集和集中处理,造成现场脏乱的现象的问题。The existing round bottle labeling machine is generally semi-automatic, which uses manual feeding, wastes a lot of labor and time, and has low production efficiency. This phenomenon affects the labeling quality of the labeling machine. After labeling, it is inconvenient for the collection and centralized processing of waste materials, resulting in the problem of the phenomenon of on-site mess.
因此,发明一种高速卧式圆瓶贴标机显得非常必要。Therefore, it is very necessary to invent a high-speed horizontal round bottle labeling machine.
实用新型内容Utility model content
为了解决上述技术问题,本实用新型提供一种高速卧式圆瓶贴标机,以解决现有圆瓶贴标机一般为半自动式,采用人工上料,浪费大量的劳动力和时间,且生产效率较低,缺少压标机构,贴标后可能存在标签粘贴不紧实,存在标签掉落的现象,影响贴标机的贴标质量,贴标后不便于废料的收集和集中处理,造成现场脏乱的现象的问题。一种高速卧式圆瓶贴标机,包括电控柜,输送组件,上料组件,贴标组件,压标组件,工控机和旋杆,所述输送组件通过螺栓固定在电控柜上方的前侧;所述上料组件通过螺栓固定在电控柜的上方,位于输送组件的上方外侧;所述旋杆通过螺栓固定在电控柜上方的中间位置,位于输送组件的后侧,且外侧设置有螺纹;所述工控机通过螺栓固定在电控柜的上方,位于旋杆的左侧,通过导线与电控柜相连;所述压标组件通过螺栓固定在电控柜上方的左侧,位于输送组件的上方外侧;所述贴标组件通过螺纹固定在旋杆上;所述电控柜通过导线与市电相连。In order to solve the above technical problems, the utility model provides a high-speed horizontal round bottle labeling machine, so as to solve the problem that the existing round bottle labeling machine is generally semi-automatic, adopts manual feeding, wastes a lot of labor and time, and the production efficiency It is relatively low and lacks a label pressing mechanism. After labeling, the label may not be adhered tightly, and the label may fall off, which will affect the labeling quality of the labeling machine. the problem of chaos. A high-speed horizontal round bottle labeling machine includes an electric control cabinet, a conveying assembly, a feeding assembly, a labeling assembly, a label pressing assembly, an industrial computer and a rotary rod, and the conveying assembly is fixed on the upper part of the electric control cabinet by bolts. The front side; the feeding assembly is fixed above the electric control cabinet by bolts, and is located above and outside the conveying assembly; the rotating rod is fixed at the middle position above the electric control cabinet by bolts, located on the rear side of the conveying assembly, and the outside Threads are provided; the industrial computer is fixed on the top of the electric control cabinet by bolts, located on the left side of the rotating rod, and connected with the electric control cabinet by wires; the pressure mark assembly is fixed on the left side above the electric control cabinet by bolts, It is located on the upper and outer sides of the conveying assembly; the labeling assembly is fixed on the rotating rod through threads; the electric control cabinet is connected with the mains through wires.
所述输送组件包括工作台,传送辊,下料口和驱动电机,所述工作台上方开设有安装槽,通过螺栓固定在电控柜上方的前侧;所述传送辊采用多个,通过轴套固定在工作台安装槽内侧的上方,前侧设置有链轮;所述下料口焊接在工作台的左侧;所述驱动电机通过螺栓固定在工作台前侧的左端,输出轴设置有链轮,且通过链条与传送辊链轮相连,通过导线与电控柜相连,选用ZPLX型。The conveying assembly includes a worktable, a conveying roller, a feeding port and a drive motor. A mounting slot is provided above the worktable, and is fixed on the front side above the electric control cabinet by bolts; the conveying rollers are multiple and pass through the shaft. The sleeve is fixed above the inner side of the installation groove of the worktable, and the front side is provided with a sprocket; the feeding opening is welded on the left side of the worktable; the drive motor is fixed on the left end of the front side of the worktable by bolts, and the output shaft is provided with a The sprocket is connected to the transmission roller sprocket through the chain, and is connected to the electric control cabinet through the wire, and the ZPLX type is selected.
所述上料组件包括上料箱,第一挡板,第二挡板,下料辊和下料槽,所述上料箱通过螺栓固定在电控柜的上方,位于工作台的上方外侧;所述下料辊采用两个,通过轴套固定在上料箱内部的下方;所述下料槽采用多个,均匀开设在下料辊的外沿;所述第一挡板通过螺栓固定在上料箱下方的右侧,且位于下料辊的前侧;所述第二挡板通过螺栓固定在上料箱下方的左侧,且位于下料辊的前侧。The feeding assembly includes a feeding box, a first baffle plate, a second baffle plate, a feeding roller and a feeding trough, and the feeding box is fixed above the electric control cabinet by bolts and is located above and outside the workbench; There are two unloading rollers, which are fixed under the inside of the loading box through a shaft sleeve; multiple unloading troughs are used, which are evenly opened on the outer edge of the unloading roller; the first baffle is fixed on the upper part by bolts. The right side under the feeding box is located on the front side of the unloading roller; the second baffle is fixed on the left side under the feeding box by bolts, and is located on the front side of the unloading roller.
所述贴标组件包括螺母座,安装板,废料辊,输标辊,贴标板,第一导料辊和第二导料辊,所述螺母座通过螺纹固定在旋杆的外侧;所述安装板通过螺栓固定在螺母座的右侧;所述废料辊通过螺栓固定在安装板右侧的上方,后侧设置有废料电机;所述输标辊通过轴套固定在安装板右侧的下方,后侧设置有输标电机;所述贴标板通过螺栓固定在安装板下方的左侧,下端设置有橡胶套;所述第一导料辊通过螺栓固定在贴标板的右侧;所述第二导料辊通过轴套固定在安装板前侧,位于输标辊的上方。The labeling assembly includes a nut seat, a mounting plate, a waste roller, a label conveying roller, a labeling plate, a first guide roller and a second guide roller, and the nut seat is fixed on the outer side of the rotating rod through threads; the The mounting plate is fixed on the right side of the nut seat by bolts; the waste roller is fixed above the right side of the mounting plate by bolts, and a waste motor is arranged on the rear side; the label conveying roller is fixed under the right side of the mounting plate by a shaft sleeve , a label conveying motor is arranged on the rear side; the labeling plate is fixed on the left side under the mounting plate by bolts, and a rubber sleeve is arranged at the lower end; the first feeding roller is fixed on the right side of the labeling plate by bolts; The second feeding roller is fixed on the front side of the mounting plate through a shaft sleeve, and is located above the label conveying roller.
所述压标组件包括压料板,压料棉和固定板,所述固定板通过螺栓固定在电控柜上方的左侧,位于工作台的两侧;所述压料板通过螺栓固定在固定板的上方,位于工作台的上方外侧;所述压料棉通过螺栓固定在压料板的内部,下端与传送辊的上方贴合。The standard pressing component includes a pressing plate, a pressing cotton and a fixing plate. The fixing plate is fixed on the left side above the electric control cabinet by bolts and is located on both sides of the workbench; the pressing plate is fixed on the fixed plate by bolts. The upper part of the plate is located on the upper and outer sides of the working table; the pressing cotton is fixed inside the pressing plate by bolts, and the lower end is attached to the upper part of the conveying roller.
与现有技术相比,本实用新型具有如下有益效果:Compared with the prior art, the utility model has the following beneficial effects:
1.本实用新型的上料组件的设置,待贴标瓶放置在上料箱内,下料辊转动通过下料槽将待贴标瓶输送到传送辊上,实现待贴标瓶的上料作业,相比采用人工上料,节省大量的劳动力和时间,上料一致性较好,进而提高贴标机的生产效率。1. The setting of the feeding assembly of the present invention, the bottles to be labelled are placed in the feeding box, and the feeding roller rotates to transport the bottles to be labelled to the conveying roller through the feeding trough, so as to realize the feeding of the bottles to be labelled. Compared with manual feeding, it saves a lot of labor and time, and the feeding consistency is better, thereby improving the production efficiency of the labeling machine.
2.本实用新型的压标组件的设置,贴标结束后,圆瓶经过压标组件,压料棉与圆瓶贴合对标签进行压紧作业,使标签在圆瓶上粘贴紧实,避免出现标签掉落的现象,提高贴标机的贴标质量。2. The setting of the label pressing component of the present utility model, after the labeling is completed, the round bottle passes through the label pressing component, and the pressing cotton is attached to the round bottle to carry out the pressing operation of the label, so that the label is firmly attached to the round bottle, avoiding The phenomenon of label falling occurs, and the labeling quality of the labeling machine is improved.
3.本实用新型的贴标组件的设置,贴标产生的废料通过第一导料辊和第二导料辊输送到废料辊上,将废料收卷到废料辊上,实现废料的收集,便于进行废料的集中处理,避免现场因为废料而出现脏乱的现象。3. The setting of the labeling assembly of the present utility model, the waste generated by labeling is transported to the waste roller through the first guide roller and the second guide roller, and the waste is wound onto the waste roller to realize the collection of the waste, which is convenient for Carry out centralized processing of waste materials to avoid the phenomenon of mess on site due to waste materials.
附图说明Description of drawings
图1是本实用新型的结构示意图。Figure 1 is a schematic structural diagram of the present invention.
图2是本实用新型的输送组件的结构示意图。FIG. 2 is a schematic structural diagram of the conveying assembly of the present invention.
图3是本实用新型的上料组件的结构示意图。3 is a schematic structural diagram of the feeding assembly of the present invention.
图4是本实用新型的贴标组件的结构示意图。4 is a schematic structural diagram of the labeling assembly of the present invention.
图5是本实用新型的压标组件的结构示意图。FIG. 5 is a schematic structural diagram of the pressure gauge assembly of the present invention.
图中:In the picture:
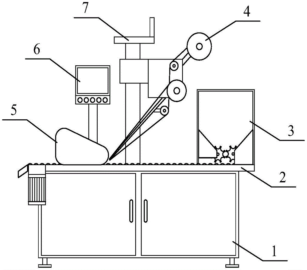
1-电控柜,2-输送组件,21-工作台,22-传送辊,23-下料口,24-驱动电机,3-上料组件,31-上料箱,32-第一挡板,33-第二挡板,34-下料辊,35-下料槽,4-贴标组件,41-螺母座,42-安装板,43-废料辊,44-输标辊,45-贴标板,46-第一导料辊,47-第二导料辊,5-压标组件,51-压料板,52-压料棉,53-固定板,6-工控机,7-旋杆。1-Electric control cabinet, 2-Conveying components, 21-Working table, 22-Conveying rollers, 23-Feed opening, 24-Drive motor, 3-Feed components, 31-Feed box, 32-First baffle , 33-Second baffle, 34-Unloading roller, 35-Unloading chute, 4-Labeling component, 41-Nut seat, 42-Installation plate, 43-Waste roller, 44-Label delivery roller, 45-Paste Target plate, 46-First guide roller, 47-Second guide roller, 5-Marker assembly, 51-Press plate, 52-Press cotton, 53-Fixing plate, 6-Industrial computer, 7-Rotary rod.
具体实施方式Detailed ways
以下结合附图对本实用新型做进一步描述:Below in conjunction with accompanying drawing, the utility model is further described:
实施例:Example:
如附图1至附图5所示As shown in Figure 1 to Figure 5
本实用新型提供一种高速卧式圆瓶贴标机,包括电控柜1,输送组件2,上料组件3,贴标组件4,压标组件5,工控机6和旋杆7,所述输送组件2通过螺栓固定在电控柜1上方的前侧;所述上料组件3通过螺栓固定在电控柜1的上方,位于输送组件2的上方外侧;所述旋杆7通过螺栓固定在电控柜1上方的中间位置,位于输送组件2的后侧,且外侧设置有螺纹;所述工控机6通过螺栓固定在电控柜1的上方,位于旋杆7的左侧,通过导线与电控柜1相连;所述压标组件5通过螺栓固定在电控柜1上方的左侧,位于输送组件2的上方外侧;所述贴标组件4通过螺纹固定在旋杆7上;所述电控柜1通过导线与市电相连。The utility model provides a high-speed horizontal round bottle labeling machine, comprising an electric control cabinet 1, a
所述输送组件2包括工作台21,传送辊22,下料口23和驱动电机24,所述工作台21上方开设有安装槽,通过螺栓固定在电控柜1上方的前侧;所述传送辊22采用多个,通过轴套固定在工作台21安装槽内侧的上方,前侧设置有链轮;所述下料口23焊接在工作台21的左侧;所述驱动电机24通过螺栓固定在工作台21前侧的左端,输出轴设置有链轮,且通过链条与传送辊22链轮相连,通过导线与电控柜1相连,选用ZPLX型,驱动电机24通电运行通过传送辊22带动圆瓶进行上料、贴标等作业。The
所述上料组件3包括上料箱31,第一挡板32,第二挡板33,下料辊34和下料槽35,所述上料箱31通过螺栓固定在电控柜1的上方,位于工作台21的上方外侧;所述下料辊34采用两个,通过轴套固定在上料箱31内部的下方;所述下料槽35采用多个,均匀开设在下料辊34的外沿;所述第一挡板32通过螺栓固定在上料箱31下方的右侧,且位于下料辊34的前侧;所述第二挡板33通过螺栓固定在上料箱31下方的左侧,且位于下料辊34的前侧,待贴标瓶放置在上料箱31内,下料辊34转动通过下料槽35将待贴标瓶输送到传送辊22上,实现待贴标瓶的上料作业,相比采用人工上料,节省大量的劳动力和时间,上料一致性较好,进而提高贴标机的生产效率。The
所述贴标组件4包括螺母座41,安装板42,废料辊43,输标辊44,贴标板45,第一导料辊46和第二导料辊47,所述螺母座41通过螺纹固定在旋杆7的外侧;所述安装板42通过螺栓固定在螺母座41的右侧;所述废料辊43通过螺栓固定在安装板42右侧的上方,后侧设置有废料电机;所述输标辊44通过轴套固定在安装板42右侧的下方,后侧设置有输标电机;所述贴标板45通过螺栓固定在安装板42下方的左侧,下端设置有橡胶套;所述第一导料辊46通过螺栓固定在贴标板45的右侧;所述第二导料辊47通过轴套固定在安装板42前侧,位于输标辊44的上方,贴标产生的废料通过第一导料辊46和第二导料辊47输送到废料辊43上,将废料收卷到废料辊43上,实现废料的收集,便于进行废料的集中处理,避免现场因为废料而出现脏乱的现象。The
所述压标组件5包括压料板51,压料棉52和固定板53,所述固定板53通过螺栓固定在电控柜1上方的左侧,位于工作台21的两侧;所述压料板51通过螺栓固定在固定板53的上方,位于工作台21的上方外侧;所述压料棉52通过螺栓固定在压料板51的内部,下端与传送辊22的上方贴合,贴标结束后,圆瓶经过压标组件5,压料棉52与圆瓶贴合对标签进行压紧作业,使标签在圆瓶上粘贴紧实,避免出现标签掉落的现象,提高贴标机的贴标质量。The standard
工作原理working principle
本实用新型中,电控柜1接通市电进行供电,工控机6接通市电进行系统控制,待贴标瓶放置在上料箱31内,下料辊34转动通过下料槽35将待贴标瓶输送到传送辊22上,实现待贴标瓶的上料作业,相比采用人工上料,节省大量的劳动力和时间,上料一致性较好,进而提高贴标机的生产效率,贴标产生的废料通过第一导料辊46和第二导料辊47输送到废料辊43上,将废料收卷到废料辊43上,实现废料的收集,便于进行废料的集中处理,避免现场因为废料而出现脏乱的现象,贴标结束后,圆瓶经过压标组件5,压料棉52与圆瓶贴合对标签进行压紧作业,使标签在圆瓶上粘贴紧实,避免出现标签掉落的现象,提高贴标机的贴标质量。In the utility model, the electric control cabinet 1 is connected to the mains for power supply, the
利用本实用新型所述技术方案,或本领域的技术人员在本实用新型技术方案的启发下,设计出类似的技术方案,而达到上述技术效果的,均是落入本实用新型的保护范围。Utilizing the technical solutions of the present invention, or those skilled in the art design similar technical solutions under the inspiration of the technical solutions of the present invention, and achieve the above technical effects, all fall within the protection scope of the present invention.
Claims (5)
Priority Applications (1)
| Application Number | Priority Date | Filing Date | Title |
|---|---|---|---|
| CN201921457734.7U CN211108430U (en) | 2019-09-02 | 2019-09-02 | High-speed horizontal round vase labeller |
Applications Claiming Priority (1)
| Application Number | Priority Date | Filing Date | Title |
|---|---|---|---|
| CN201921457734.7U CN211108430U (en) | 2019-09-02 | 2019-09-02 | High-speed horizontal round vase labeller |
Publications (1)
| Publication Number | Publication Date |
|---|---|
| CN211108430U true CN211108430U (en) | 2020-07-28 |
Family
ID=71692244
Family Applications (1)
| Application Number | Title | Priority Date | Filing Date |
|---|---|---|---|
| CN201921457734.7U Expired - Fee Related CN211108430U (en) | 2019-09-02 | 2019-09-02 | High-speed horizontal round vase labeller |
Country Status (1)
| Country | Link |
|---|---|
| CN (1) | CN211108430U (en) |
Cited By (1)
| Publication number | Priority date | Publication date | Assignee | Title |
|---|---|---|---|---|
| CN112193560A (en) * | 2020-09-09 | 2021-01-08 | 昆山英合达精密机械有限公司 | Automatic labeling machine with double-sided labeling function |
-
2019
- 2019-09-02 CN CN201921457734.7U patent/CN211108430U/en not_active Expired - Fee Related
Cited By (1)
| Publication number | Priority date | Publication date | Assignee | Title |
|---|---|---|---|---|
| CN112193560A (en) * | 2020-09-09 | 2021-01-08 | 昆山英合达精密机械有限公司 | Automatic labeling machine with double-sided labeling function |
Similar Documents
| Publication | Publication Date | Title |
|---|---|---|
| CN103625681B (en) | A kind of aluminium automatic packaging machine | |
| CN202935900U (en) | Transmission mechanism allowing feeding width and discharging width to be adjusted automatically | |
| CN102941953B (en) | Automatic labeler | |
| CN205633312U (en) | A label paper conveying device | |
| CN211108430U (en) | High-speed horizontal round vase labeller | |
| CN207550717U (en) | Automatic plane labeling machine | |
| CN215362250U (en) | Bottle-shaped tracking and positioning mechanism with handle and labeling machine comprising same | |
| CN206407227U (en) | A kind of tape sealing device | |
| CN202966823U (en) | Automatic labeling machine | |
| CN220315580U (en) | Multi-station automatic labeling and shockproof cotton machine for ceiling fan motor support | |
| CN215754608U (en) | Output device is tracked to full-automatic tableware | |
| CN204799505U (en) | Electronic circuit board adhesive deposite device | |
| CN214690631U (en) | Automatic multi-station labeling and pressing mechanism | |
| CN214917328U (en) | Gluing device for production of composite packaging material | |
| CN212290550U (en) | Full-automatic blister packaging machine | |
| CN209850118U (en) | Chopstick laser marking device | |
| CN212556960U (en) | A film sticking mechanism | |
| CN220577708U (en) | Automatic positioning labeling equipment for atomizer | |
| CN210064245U (en) | Automatic feeding device for plastic raw material transportation | |
| CN222247865U (en) | Semi-automatic carton packaging machine for carton processing | |
| CN109775032B (en) | Label conveying device | |
| CN216657333U (en) | Supporting and conveying device for centerless grinding machine | |
| CN206624097U (en) | A kind of full-automatic production line for labelling and casing | |
| CN213924005U (en) | Bottle feeding structure of filling machine | |
| CN103991609A (en) | Automatic labeling machine for plastic medicine bottle |
Legal Events
| Date | Code | Title | Description |
|---|---|---|---|
| GR01 | Patent grant | ||
| GR01 | Patent grant | ||
| CF01 | Termination of patent right due to non-payment of annual fee |
Granted publication date: 20200728 |
