CN211090976U - A planting and breeding water mist sterilization and oxygenation machine - Google Patents
A planting and breeding water mist sterilization and oxygenation machine Download PDFInfo
- Publication number
- CN211090976U CN211090976U CN201921479886.7U CN201921479886U CN211090976U CN 211090976 U CN211090976 U CN 211090976U CN 201921479886 U CN201921479886 U CN 201921479886U CN 211090976 U CN211090976 U CN 211090976U
- Authority
- CN
- China
- Prior art keywords
- water
- water outlet
- planting
- machine
- disinfection
- Prior art date
- Legal status (The legal status is an assumption and is not a legal conclusion. Google has not performed a legal analysis and makes no representation as to the accuracy of the status listed.)
- Expired - Fee Related
Links
Images
Landscapes
- Treatment Of Water By Oxidation Or Reduction (AREA)
Abstract
本实用新型提供一种种植、养殖用水雾杀菌增氧机,主要涉及农业设备领域。一种种植、养殖用水雾杀菌增氧机,包括消毒机与增压机,所述消毒机为臭氧消毒机,所述消毒机两侧设置进水管与出水管,所述增压机内设置增压泵头与驱动电机,所述增压泵头上设置进水口与出水口,所述出水管与进水口相连接,所述出水口上连接喷管,所述喷管上连接若干雾化喷头。本实用新型的有益效果在于:本实用新型通过模块化的组合,可以将电解制取臭氧消毒水的模块与增压模块进行组合,为大棚种植、养殖等空间类农业设施内进行杀菌杀卵、消毒除味操作。并且臭氧分解成氧气后还可增加氧含量,促进植物生长与动物的发育。
The utility model provides a water mist sterilization and oxygenation machine for planting and breeding, which mainly relates to the field of agricultural equipment. A planting and breeding water mist sterilization and oxygenation machine, including a disinfection machine and a supercharger, the disinfection machine is an ozone disinfection machine, water inlet pipes and water outlet pipes are arranged on both sides of the disinfection machine, and a supercharger is arranged in the supercharger. The pressure pump head and the drive motor, the booster pump head is provided with a water inlet and a water outlet, the water outlet is connected with the water inlet, the water outlet is connected with a nozzle, and the nozzle is connected with a number of atomizing nozzles . The beneficial effect of the utility model is that: the utility model can combine the module for producing ozone disinfection water by electrolysis and the pressurizing module through the modular combination, so as to sterilize eggs and kill eggs in space agricultural facilities such as greenhouse planting and breeding. Disinfection and deodorization operation. And after the ozone is decomposed into oxygen, it can also increase the oxygen content, and promote the growth of plants and the development of animals.
Description
技术领域technical field
本实用新型主要涉及农业设备领域,具体是一种种植、养殖用水雾杀菌增氧机。The utility model mainly relates to the field of agricultural equipment, in particular to a water mist sterilization and oxygenation machine for planting and breeding.
背景技术Background technique
臭氧对各种致病菌、真菌、酵母菌、丝状菌等均具有强烈的灭杀能力,杀菌能力仅次于氟,是氯的两倍,杀菌速度更是氯的500-3000倍,是一种无污染的广谱杀菌剂。但是局限于臭氧设备的体积与占地问题,以及臭氧储存易分解的存储难题,臭氧在农业生产中的应用还无法普及。Ozone has a strong ability to kill various pathogenic bacteria, fungi, yeast, filamentous bacteria, etc. The bactericidal ability is second only to fluorine, twice that of chlorine, and the sterilization speed is 500-3000 times that of chlorine. A pollution-free broad-spectrum fungicide. However, due to the volume and land occupation of ozone equipment, and the storage problem of easy decomposition of ozone storage, the application of ozone in agricultural production has not been popularized.
实用新型内容Utility model content
为解决现有技术的不足,本实用新型提供了一种种植、养殖用水雾杀菌增氧机,它通过模块化的组合,可以将电解制取臭氧消毒水的模块与增压模块进行组合,为大棚种植、养殖等空间类农业设施内进行杀菌杀卵、消毒除味操作。并且臭氧分解成氧气后还可增加氧含量,促进植物生长与动物的发育。In order to solve the deficiencies of the prior art, the utility model provides a water mist sterilization and oxygenation machine for planting and aquaculture, which can combine a module for electrolyzing ozone disinfection water and a pressurizing module through modular combination, so as to provide Sterilization and egg killing, disinfection and deodorization operations are carried out in space agricultural facilities such as greenhouse cultivation and aquaculture. And after the ozone is decomposed into oxygen, it can also increase the oxygen content and promote the growth of plants and the development of animals.
本实用新型为实现上述目的,通过以下技术方案实现:In order to realize the above-mentioned purpose, the present utility model realizes through the following technical solutions:
一种种植、养殖用水雾杀菌增氧机,包括消毒机与增压机,所述消毒机为臭氧消毒机,所述消毒机两侧设置进水管与出水管,所述增压机内设置增压泵头与驱动电机,所述增压泵头上设置进水口与出水口,所述出水管与进水口相连接,所述出水口上连接喷管,所述喷管上连接若干雾化喷头。A planting and breeding water mist sterilization and oxygenation machine, including a disinfection machine and a supercharger, the disinfection machine is an ozone disinfection machine, water inlet pipes and water outlet pipes are arranged on both sides of the disinfection machine, and a supercharger is arranged in the supercharger. The pressure pump head and the drive motor, the booster pump head is provided with a water inlet and a water outlet, the water outlet is connected with the water inlet, the water outlet is connected with a nozzle, and the nozzle is connected with a number of atomizing nozzles .
所述消毒机内设置水箱,所述进水管与出水管连通水箱,所述水箱内设置阳极板与阴极板,所述阳极板与阴极板通3-5V直流电。The sterilizer is provided with a water tank, the water inlet pipe and the water outlet pipe are connected to the water tank, an anode plate and a cathode plate are arranged in the water tank, and the anode plate and the cathode plate are connected with 3-5V direct current.
所述出水管与进水口之间串接缓冲箱。A buffer tank is connected in series between the water outlet pipe and the water inlet.
所述增压机为箱体结构,所述增压泵头与驱动电机均安装在箱体内部,所述出水管与喷管均穿过箱体后与增压泵头相连接。The booster is a box structure, the booster pump head and the drive motor are installed inside the box body, and the water outlet pipe and the nozzle pipe pass through the box body and are connected to the booster pump head.
对比现有技术,本实用新型的有益效果是:Compared with the prior art, the beneficial effects of the present utility model are:
本实用新型通过将消毒机模块与增压机模块进行组合,可以实现溶有臭氧的消毒水边制备边喷洒,对大棚种植作物、室内养殖进行杀菌杀卵、消毒除味操作,从而起到预防病虫害,减少动物生病的危险。且臭氧分解后产生的氧气,更是能够起到增加室内氧含量的效果。模块化的连接,使本装置易拆卸,便于移动,将设备模块化、小型化,更能符合室内种植、养殖的特点。By combining the sterilizer module and the supercharger module, the utility model can realize the preparation and spraying of ozone-dissolved sterilization water, and perform sterilization and egg killing, disinfection and deodorization operations on crops grown in greenhouses and indoor breeding, thereby preventing Pests and diseases reduce the risk of animals getting sick. And the oxygen generated after ozone decomposition can increase the indoor oxygen content. The modular connection makes the device easy to disassemble and move, and the equipment is modularized and miniaturized, which can better meet the characteristics of indoor planting and breeding.
附图说明Description of drawings
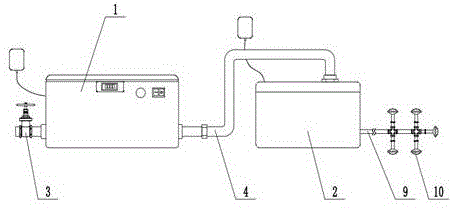
附图1是本实用新型结构示意图;Accompanying drawing 1 is the structural representation of the present utility model;
附图2是本实用增压机模块剖视结构示意图;Accompanying
附图3是本实用新型消毒机模块剖视结构示意图。3 is a schematic cross-sectional structural diagram of the sterilizer module of the present invention.
附图中所示标号:1、消毒机;2、增压机;3、进水管;4、出水管;5、增压泵头;6、驱动电机;7、进水口;8、出水口;9、喷管;10、雾化喷头;11、水箱;12、阳极板;13、阴极板;14、缓冲箱。Labels shown in the accompanying drawings: 1, sterilizer; 2, booster; 3, water inlet pipe; 4, water outlet pipe; 5, booster pump head; 6, drive motor; 7, water inlet; 8, water outlet; 9. Nozzle; 10. Atomizing nozzle; 11. Water tank; 12. Anode plate; 13. Cathode plate; 14. Buffer box.
具体实施方式Detailed ways
结合附图和具体实施例,对本实用新型作进一步说明。应理解,这些实施例仅用于说明本实用新型而不用于限制本实用新型的范围。此外应理解,在阅读了本实用新型讲授的内容之后,本领域技术人员可以对本实用新型作各种改动或修改,这些等价形式同样落于本申请所限定的范围。The utility model will be further described with reference to the accompanying drawings and specific embodiments. It should be understood that these embodiments are only used to illustrate the present invention and not to limit the scope of the present invention. In addition, it should be understood that after reading the teaching content of the present invention, those skilled in the art can make various changes or modifications to the present invention, and these equivalent forms also fall within the limited scope of the present application.
如图1-3所示,本实用新型所述一种种植、养殖用水雾杀菌增氧机,包括消毒机1与增压机2,所述消毒机1为臭氧消毒机,所述臭氧消毒机是通过对流水电解产生臭氧,使流出的水中溶有臭氧成为消毒水的机器(所述臭氧消毒机为本装置的核心部件,其具体结构已作为其他专利与本专利同日提交)。所述消毒机1两侧设置进水管3与出水管4,所述水流经过进水管流入消毒机,经电解后成为溶有臭氧的消毒水自出水管流出。所述增压机2内设置增压泵头5与驱动电机6,所述驱动电机采用220V居民用电。所述增压泵头5上具有进水口7与出水口8,所述出水管4与进水口7螺纹连接,所述出水口8上螺纹连接喷管9,所述喷管9上通过多通接头连接若干雾化喷头10。消毒水通过出水管进入增压泵头,增压泵头受驱动电机的驱动产生高压,将消毒水送入雾化喷头,利用雾化喷头将消毒水雾化,使消毒水充分与空气接触,杀灭空气、墙体和地面上的细菌、真菌、虫卵等,并且去除异味,清洁空气。本装置通过消毒机与增压机的模块化连接,使消毒设备小型化,便于拆卸安装与移动,更能适应室内种植、养殖的环境。As shown in Figures 1-3, a planting and aquaculture water mist sterilization and oxygenation machine according to the present invention includes a disinfection machine 1 and a
上文中提到的雾化喷头,可以随车安装,通过推车带动雾化喷头移动,对室内进行移动式消毒杀菌,也可以预先将喷头安装在室内的墙壁、房顶或者地面上,通过管道接入喷管,直接进行全面的消毒水水雾喷洒。The atomizing nozzle mentioned above can be installed with the car, and the atomizing nozzle can be moved by the cart to carry out mobile disinfection and sterilization in the room. Connect to the nozzle, and directly spray the disinfectant water mist.
具体的,所述消毒机1内设置水箱11,所述进水管3与出水管4连通水箱11,所述水箱11内设置阳极板12与阴极板13,所述消毒机通过变压器、整流器的串连,将220V交流电转化为阳极板12与阴极板13使用的3-5V直流电。通过阳极板与阴极板通直流电对流水进行电解,可以使流水中溶解有电解产生的臭氧。Specifically, a
具体的,所述出水管4与进水口7之间串接缓冲箱14。通过缓冲箱的设置,可以对电解后的溶有臭氧的消毒水进行暂存,起到水流的缓冲作用,使增压泵头能够对消毒水进行稳定的汲取。Specifically, a
具体的,所述增压机2为箱体结构,所述增压泵头5与驱动电机6均安装在箱体内部,所述出水管4与喷管9均穿过箱体后与增压泵头5相连接。通过箱体将增加机构盛装,使增加装置被箱体模块化收纳,使本装置的安装与拆卸更方便。Specifically, the
由于消毒机与增压机均为模块化的配置,因此完全可以将两者临时装配到移动式推车上,以便于两者的组合运作。Since both the sterilizer and the booster are modular, they can be temporarily assembled on a mobile cart to facilitate the combined operation of the two.
Claims (4)
Priority Applications (1)
| Application Number | Priority Date | Filing Date | Title |
|---|---|---|---|
| CN201921479886.7U CN211090976U (en) | 2019-09-06 | 2019-09-06 | A planting and breeding water mist sterilization and oxygenation machine |
Applications Claiming Priority (1)
| Application Number | Priority Date | Filing Date | Title |
|---|---|---|---|
| CN201921479886.7U CN211090976U (en) | 2019-09-06 | 2019-09-06 | A planting and breeding water mist sterilization and oxygenation machine |
Publications (1)
| Publication Number | Publication Date |
|---|---|
| CN211090976U true CN211090976U (en) | 2020-07-28 |
Family
ID=71708737
Family Applications (1)
| Application Number | Title | Priority Date | Filing Date |
|---|---|---|---|
| CN201921479886.7U Expired - Fee Related CN211090976U (en) | 2019-09-06 | 2019-09-06 | A planting and breeding water mist sterilization and oxygenation machine |
Country Status (1)
| Country | Link |
|---|---|
| CN (1) | CN211090976U (en) |
Cited By (1)
| Publication number | Priority date | Publication date | Assignee | Title |
|---|---|---|---|---|
| CN112827012A (en) * | 2020-12-31 | 2021-05-25 | 连云港市第一人民医院 | A heatable and pressurized device for blood transfusion in hematology department |
-
2019
- 2019-09-06 CN CN201921479886.7U patent/CN211090976U/en not_active Expired - Fee Related
Cited By (1)
| Publication number | Priority date | Publication date | Assignee | Title |
|---|---|---|---|---|
| CN112827012A (en) * | 2020-12-31 | 2021-05-25 | 连云港市第一人民医院 | A heatable and pressurized device for blood transfusion in hematology department |
Similar Documents
| Publication | Publication Date | Title |
|---|---|---|
| CN207118443U (en) | A kind of livestock and poultry atomization cooling disinfection system | |
| CN101342374A (en) | Device for preventing and controlling plant diseases and insect pests by ozone and its disinfection method | |
| CN211485829U (en) | Sterilizing device for breeding personnel to get in and out of farm | |
| EP2207572A2 (en) | Method and application technology for the residue-free disinfection of pets, poultry barns and livestock sheds and other installations using ozone, electrolytically oxidative radicals, uv-c radiation, electrostatic spray technology, excess pressure ventilation and air-humidification technology | |
| CN211153311U (en) | Poultry is raised disinfection and sterilization device for farming house | |
| CN204072844U (en) | Air agricultural can plant equipment without pesticide sterilizer and comprehensive agricultural without pesticide | |
| CN203694177U (en) | Air disinfector | |
| CN211090976U (en) | A planting and breeding water mist sterilization and oxygenation machine | |
| CN101757660A (en) | Linkage device combined with carbon dioxide and rich-oxygen removing generator for family, pig shed and vegetable shed | |
| WO2016075620A1 (en) | Sanitizing method for greenhouses and for improving the sanitary and growth conditions of the plants cultivated therein, and apparatus for carrying out said method | |
| CN211132290U (en) | A kind of poultry egg disinfection device based on slightly acidic electrolyzed water | |
| CN210635769U (en) | A continuous production device for sterilization and insecticide water agent for agricultural greenhouses | |
| CN212437043U (en) | Ozone gas-liquid mixed insect egg inactivation equipment for vegetable planting | |
| CN213246228U (en) | Ventilation pipe system for poultry farming | |
| CN209809104U (en) | Portable ozone water and foam dual-purpose disinfection sprayer for chicken farm | |
| CN211706416U (en) | High-pressure disinfection deodorization humidification system | |
| CN218302751U (en) | Cleaning and disinfecting mechanism of breeding cage | |
| CN214318655U (en) | Dedicated cleaning and sterilizing equipment of sheep | |
| CN221534975U (en) | Sterilizing device for silkworm breeding | |
| CN217745131U (en) | Building internal environment disinfection removes aldehyde and removes flavor system | |
| CN215898581U (en) | Livestock-raising equipment with environmental protection effect | |
| CN110604830A (en) | A device for disinfecting poultry breeding eggs based on slightly acidic electrolyzed water and its application method | |
| CN222517387U (en) | A xenon excimer light source active oxygen cluster ultrasonic atomization water tank upper disinfection machine | |
| CN214853452U (en) | A integrated system that is used for plant's colony house deodorization, disinfection and humidification cooling | |
| CN214049908U (en) | Poultry house deodorization degassing unit |
Legal Events
| Date | Code | Title | Description |
|---|---|---|---|
| GR01 | Patent grant | ||
| GR01 | Patent grant | ||
| CF01 | Termination of patent right due to non-payment of annual fee |
Granted publication date: 20200728 |
