CN211009832U - Reduction gearbox convenient to connect - Google Patents
Reduction gearbox convenient to connect Download PDFInfo
- Publication number
- CN211009832U CN211009832U CN201922280559.5U CN201922280559U CN211009832U CN 211009832 U CN211009832 U CN 211009832U CN 201922280559 U CN201922280559 U CN 201922280559U CN 211009832 U CN211009832 U CN 211009832U
- Authority
- CN
- China
- Prior art keywords
- fixedly connected
- rod
- threaded
- block
- box
- Prior art date
- Legal status (The legal status is an assumption and is not a legal conclusion. Google has not performed a legal analysis and makes no representation as to the accuracy of the status listed.)
- Expired - Fee Related
Links
Images
Landscapes
- Transmission Devices (AREA)
Abstract
本实用新型涉及连接装置技术领域,且公开了一种便于连接的减速箱,包括机动箱体,所述机动箱体的底部固定连接有支撑脚,所述机动箱体的左侧固定连接有驱动箱。该便于连接的减速箱,通过转动活动手柄,活动手柄转动的过程中,会带动螺旋杆转动,因为螺旋杆与齿轮啮合,所以螺旋杆转动的过程中,会依次带动齿轮和螺纹杆转动,螺纹杆转动的过程中,会分别带动螺纹块和活动块做相对或相背的移动,当螺纹块和活动块做相对移动时,会分别带动第一限位销和第二限位销做相对的移动,将第一限位销和第二限位销分别移动到,减速箱体左右开设的两个限位槽当中,进行卡接,将减速箱体进行固定,实现了减速箱便于连接的目的。
The utility model relates to the technical field of connecting devices, and discloses a reduction gear box that is easy to connect, comprising a motorized box body, the bottom of the motorized box body is fixedly connected with supporting feet, and the left side of the motorized box body is fixedly connected with a drive box. The reducer that is easy to connect can rotate the movable handle. During the rotation of the movable handle, the screw rod will be driven to rotate. Because the screw rod is engaged with the gear, the gear and the threaded rod will be driven to rotate in turn during the rotation of the screw rod, and the screw rod will rotate. When the rod rotates, it will drive the threaded block and the movable block to move relative to each other. When the threaded block and the movable block move relative to each other, they will drive the first limit pin and the second limit pin to move relative to each other. Move, move the first limit pin and the second limit pin respectively into the two limit grooves opened on the left and right of the reduction box body, and then clamp and fix the reduction box body, so as to realize the purpose of easy connection of the reduction box. .
Description
技术领域technical field
本实用新型涉及连接装置技术领域,具体为一种便于连接的减速箱。The utility model relates to the technical field of connection devices, in particular to a reduction gear box which is convenient for connection.
背景技术Background technique
减速箱是安装各传动轴的基础部件,由于减速器工作时各轴传递转矩时要产生比较大的反作用力,并作用在箱体上,因此要求箱体具有足够的刚度,以确保各传动轴的相对位置精度,在小批量制造时,采用焊接减速器箱体较为合理。The reduction box is the basic component for installing each transmission shaft. When the reducer works, each shaft will generate a relatively large reaction force when transmitting torque and act on the box body. Therefore, the box body is required to have sufficient rigidity to ensure that each transmission For the relative positional accuracy of the shaft, it is more reasonable to use a welded reducer box when manufacturing in small batches.
减速箱具有较大的强度和刚度,且结构紧凑,重量较轻,主要是用来放置减速器的装置,但是现有的减速箱存在着不便于连接的缺点,导致在安装或拆卸减速箱的过程中比较繁琐,在减速器出现故障的时候,不便于维修,不方便使用,降低了减速箱的使用效率和使用效果,故而提出一种便于连接的减速箱来解决上述所提出的问题。The reduction box has great strength and rigidity, and is compact in structure and light in weight. It is mainly used to place the reducer, but the existing reduction box has the disadvantage of inconvenient connection, which leads to the installation or removal of the reduction box. The process is cumbersome. When the reducer fails, it is inconvenient to maintain and use, which reduces the use efficiency and use effect of the reducer. Therefore, a reducer that is easy to connect is proposed to solve the above problems.
实用新型内容Utility model content
(一)解决的技术问题(1) Technical problems solved
针对现有技术的不足,本实用新型提供了一种便于连接的减速箱,具备便于连接等优点,解决了现有的减速箱存在着不便于连接的缺点,导致在安装或拆卸减速箱的过程中比较繁琐,在减速器出现故障的时候,不便于维修,不方便使用,降低了减速箱的使用效率和使用效果的问题。In view of the deficiencies of the prior art, the utility model provides a reduction gear box that is easy to connect, which has the advantages of being easy to connect, etc., and solves the shortcomings of the existing reduction box that it is inconvenient to connect, resulting in the process of installing or disassembling the reduction box. It is relatively cumbersome, and when the reducer fails, it is inconvenient to maintain and use, which reduces the use efficiency and use effect of the reducer.
(二)技术方案(2) Technical solutions
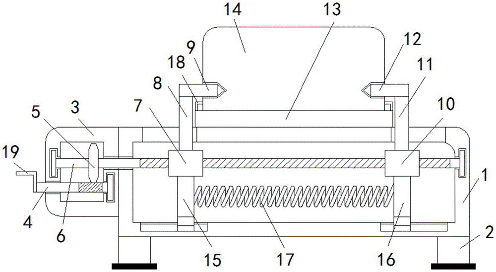
为实现上述便于连接目的,本实用新型提供如下技术方案:一种便于连接的减速箱,包括机动箱体,所述机动箱体的底部固定连接有支撑脚,所述机动箱体的左侧固定连接有驱动箱,所述驱动箱的内侧活动连接有螺旋杆,所述螺旋杆的顶部啮合有齿轮,所述齿轮的内侧固定连接有螺纹杆,所述螺纹杆的外侧螺纹连接有螺纹块,所述螺纹块的顶部固定连接有移动杆,所述移动杆的顶端固定连接有第一限位销,所述螺纹杆的外侧螺纹连接有活动块,所述活动块的顶部固定连接有活动杆,所述活动杆的顶端固定连接有第二限位销,所述机动箱体的顶部固定连接有减速箱底座,所述减速箱底座的顶部活动连接有减速箱体,所述螺纹块的底部固定连接有第一滑动杆,所述活动块的底部固定连接有第二滑动杆,所述第一滑动杆和第二滑动杆之间固定连接有环形弹簧,所述减速箱底座的顶部固定连接有限位夹,所述螺旋杆的左端固定连接有活动手柄,所述机动箱体的正面活动连接有活动门。In order to achieve the above purpose of being easy to connect, the present invention provides the following technical solutions: a reduction gear box that is easy to connect, including a motorized box body, the bottom of the motorized box body is fixedly connected with supporting feet, and the left side of the motorized box body is fixed A drive box is connected, a screw rod is movably connected to the inner side of the drive box, a gear is engaged with a gear on the top of the screw rod, a threaded rod is fixedly connected to the inner side of the gear, and a threaded block is threadedly connected to the outer side of the threaded rod. A moving rod is fixedly connected to the top of the threaded block, a first limit pin is fixedly connected to the top of the moving rod, a movable block is threadedly connected to the outer side of the threaded rod, and a movable rod is fixedly connected to the top of the movable block , the top of the movable rod is fixedly connected with a second limit pin, the top of the motor box is fixedly connected with a reduction box base, the top of the reduction box base is movably connected with a reduction box, and the bottom of the threaded block A first sliding rod is fixedly connected, a second sliding rod is fixedly connected to the bottom of the movable block, an annular spring is fixedly connected between the first sliding rod and the second sliding rod, and the top of the reduction box base is fixedly connected A limit clip, the left end of the screw rod is fixedly connected with a movable handle, and the front of the motor box is movably connected with a movable door.
优选的,所述螺纹杆的左右两端均固定连接有滚动块,且两个滚动块分别位于机动箱体和驱动箱的内侧,两个滚动块分别与机动箱体和驱动箱转动连接。Preferably, both the left and right ends of the threaded rod are fixedly connected with rolling blocks, and the two rolling blocks are respectively located inside the motorized case and the driving case, and the two rolling blocks are respectively rotatably connected with the motorized case and the driving case.
优选的,所述减速箱体的左右两侧均开设有限位槽,且两个限位槽分别与第一限位销和第二限位销卡接,所述活动门的正面固定连接有观察窗。Preferably, the left and right sides of the reduction box are provided with limit slots, and the two limit slots are respectively clamped with the first limit pin and the second limit pin, and the front of the movable door is fixedly connected with an observation window.
优选的,所述螺纹杆的右端依次贯穿驱动箱、齿轮、机动箱体、螺纹块和活动块并延伸至滚动块的左侧。Preferably, the right end of the threaded rod passes through the drive case, the gear, the motor case, the threaded block and the movable block in sequence and extends to the left side of the rolling block.
优选的,所述第一滑动杆和第二滑动杆的底端均固定连接有滑动块,且滑动块呈T字型,所述机动箱体的内底壁开设有滑动槽,且滑动槽与滑动块滑动连接。Preferably, a sliding block is fixedly connected to the bottom ends of the first sliding rod and the second sliding rod, and the sliding block is in a T-shape, and a sliding groove is formed on the inner bottom wall of the motor case, and the sliding groove is connected with the sliding block. Slider slide connection.
优选的,所述螺纹块和活动块的内侧均开设有与螺纹杆内侧螺纹相适配的螺纹孔,且两个螺纹孔方向相反,所述限位夹与减速箱体活动连接。Preferably, the inner side of the threaded block and the movable block are provided with threaded holes adapted to the inner threads of the threaded rod, and the two threaded holes are in opposite directions, and the limiting clip is movably connected to the reduction box body.
(三)有益效果(3) Beneficial effects
与现有技术相比,本实用新型提供了一种便于连接的减速箱,具备以下有益效果:Compared with the prior art, the utility model provides a reduction gear box that is easy to connect, and has the following beneficial effects:
该便于连接的减速箱,当需要将减速箱体与减速箱底座连接时,先将减速箱体放在减速箱底座的上方,通过转动活动手柄,活动手柄转动的过程中,会带动螺旋杆转动,因为螺旋杆与齿轮啮合,所以螺旋杆转动的过程中,会依次带动齿轮和螺纹杆转动,通过设置第一滑动杆、第二滑动杆和滑动块可以分别限制螺纹块和活动块进行圆周转动,同时可以提高螺纹块和活动块左右移动的稳定性,因为螺纹块和活动块的内侧均开设有与螺纹杆内侧螺纹相适配的螺纹孔,且两个螺纹孔方向相反,螺纹孔与螺纹杆外侧螺纹相接触并产生位移,所以螺纹杆转动的过程中,会分别带动螺纹块和活动块做相对或相背的移动,当螺纹块和活动块做相对移动时,会分别带动第一限位销和第二限位销做相对的移动,将第一限位销和第二限位销分别移动到,减速箱体左右开设的两个限位槽当中,进行卡接,将减速箱体进行固定,实现了减速箱体与减速箱底座连接的目的,当螺纹块和活动块做相背移动时,会分别带动第一限位销和第二限位销做相背的移动,将第一限位销和第二限位销移出限位槽,使减速箱体失去限位,可将减速箱体从减速箱底座上取下,从而便可以对减速箱体内侧的减速器进行维修,整体结构简单,方便使用,实现了减速箱便于连接的目的,在安装或拆卸减速箱的过程中操作简单,在减速器出现故障的时候便于维修,提高了减速箱的使用效率和使用效果。For the reducer that is easy to connect, when it is necessary to connect the reducer body with the reducer base, first place the reducer body on the top of the reducer base, and rotate the movable handle. During the rotation of the movable handle, the screw rod will be driven to rotate. , Because the screw rod meshes with the gear, the screw rod will drive the gear and the threaded rod to rotate in turn during the rotation of the screw rod. , At the same time, the stability of the left and right movement of the threaded block and the movable block can be improved, because the inner side of the threaded block and the movable block are provided with threaded holes that are adapted to the inner thread of the threaded rod, and the two threaded holes are in opposite directions, and the threaded holes and the threaded holes are in opposite directions. The outer thread of the rod is in contact and displaced, so during the rotation of the threaded rod, it will drive the threaded block and the movable block to move relative or opposite, respectively. When the threaded block and the movable block move relatively, they will drive the first limit The position pin and the second limit pin move relative to each other, and the first limit pin and the second limit pin are respectively moved to the two limit grooves opened on the left and right of the reduction box body, and then clamped to connect the reduction box body. It is fixed to achieve the purpose of connecting the reduction box body and the reduction box base. When the threaded block and the movable block move in opposite directions, they will drive the first limit pin and the second limit pin to move in the opposite direction respectively. The first limit pin and the second limit pin move out of the limit slot, so that the reduction box loses its limit, and the reduction box can be removed from the base of the reduction box, so that the reducer inside the reduction box can be repaired. The overall structure is simple and easy to use, which realizes the purpose of easy connection of the reducer, easy operation during installation or disassembly of the reducer, easy maintenance when the reducer fails, and improves the use efficiency and effect of the reducer.
附图说明Description of drawings
图1为本实用新型结构示意图;Fig. 1 is the structural representation of the utility model;
图2为本实用新型结构中机动箱体连接结构主视图;Fig. 2 is the front view of the motor box body connection structure in the structure of the utility model;
图3为本实用新型结构中第一滑动杆连接结构左视图。3 is a left side view of the first sliding rod connection structure in the structure of the present invention.
图中:1机动箱体、2支撑脚、3驱动箱、4螺旋杆、5齿轮、6螺纹杆、7螺纹块、8移动杆、9第一限位销、10活动块、11活动杆、12第二限位销、13减速箱底座、14减速箱体、15第一滑动杆、16第二滑动杆、17环形弹簧、18限位夹、19活动手柄、20活动门。In the picture: 1 motor box, 2 support feet, 3 drive box, 4 screw rod, 5 gear, 6 threaded rod, 7 threaded block, 8 moving rod, 9 first limit pin, 10 movable block, 11 movable rod, 12 The second limit pin, 13 The reduction box base, 14 The reduction box body, 15 The first sliding rod, 16 The second sliding rod, 17 The ring spring, 18 The limit clip, 19 The movable handle, 20 The movable door.
具体实施方式Detailed ways
下面将结合本实用新型实施例中的附图,对本实用新型实施例中的技术方案进行清楚、完整地描述,显然,所描述的实施例仅仅是本实用新型一部分实施例,而不是全部的实施例。基于本实用新型中的实施例,本领域普通技术人员在没有做出创造性劳动前提下所获得的所有其他实施例,都属于本实用新型保护的范围。The technical solutions in the embodiments of the present utility model will be clearly and completely described below with reference to the accompanying drawings in the embodiments of the present utility model. Obviously, the described embodiments are only a part of the embodiments of the present utility model, rather than all the implementations. example. Based on the embodiments of the present invention, all other embodiments obtained by those of ordinary skill in the art without creative work fall within the protection scope of the present invention.
请参阅图1-3,一种便于连接的减速箱,包括机动箱体1,机动箱体1的底部固定连接有支撑脚2,机动箱体1的左侧固定连接有驱动箱3,驱动箱3的内侧活动连接有螺旋杆4,螺旋杆4的顶部啮合有齿轮5,齿轮5的内侧固定连接有螺纹杆6,螺纹杆6的左右两端均固定连接有滚动块,且两个滚动块分别位于机动箱体1和驱动箱3的内侧,两个滚动块分别与机动箱体1和驱动箱3转动连接,螺纹杆6的外侧螺纹连接有螺纹块7,螺纹块7的顶部固定连接有移动杆8,移动杆8的顶端固定连接有第一限位销9,螺纹杆6的外侧螺纹连接有活动块10,螺纹杆6的右端依次贯穿驱动箱3、齿轮5、机动箱体1、螺纹块7和活动块10并延伸至滚动块的左侧,活动块10的顶部固定连接有活动杆11,活动杆11的顶端固定连接有第二限位销12,机动箱体1的顶部固定连接有减速箱底座13,减速箱底座13的顶部活动连接有减速箱体14,螺纹块7的底部固定连接有第一滑动杆15,活动块10的底部固定连接有第二滑动杆16,当需要将减速箱体14与减速箱底座13连接时,先将减速箱体14放在减速箱底座13的上方,通过转动活动手柄19,活动手柄19转动的过程中,会带动螺旋杆4转动,因为螺旋杆4与齿轮5啮合,所以螺旋杆4转动的过程中,会依次带动齿轮5和螺纹杆6转动,通过设置第一滑动杆15、第二滑动杆16和滑动块可以分别限制螺纹块7和活动块10进行圆周转动,同时可以提高螺纹块7和活动块10左右移动的稳定性,因为螺纹块7和活动块10的内侧均开设有与螺纹杆6内侧螺纹相适配的螺纹孔,且两个螺纹孔方向相反,螺纹孔与螺纹杆6外侧螺纹相接触并产生位移,所以螺纹杆6转动的过程中,会分别带动螺纹块7和活动块10做相对或相背的移动,当螺纹块7和活动块10做相对移动时,会分别带动第一限位销9和第二限位销12做相对的移动,将第一限位销9和第二限位销12分别移动到,减速箱体14左右开设的两个限位槽当中,进行卡接,将减速箱体14进行固定,实现了减速箱体14与减速箱底座13连接的目的,当螺纹块7和活动块10做相背移动时,会分别带动第一限位销9和第二限位销12做相背的移动,将第一限位销9和第二限位销12移出限位槽,使减速箱体14失去限位,可将减速箱体14从减速箱底座13上取下,从而便可以对减速箱体14内侧的减速器进行维修,整体结构简单,方便使用,实现了减速箱便于连接的目的,在安装或拆卸减速箱的过程中操作简单,在减速器出现故障的时候便于维修,提高了减速箱的使用效率和使用效果,第一滑动杆15和第二滑动杆16的底端均固定连接有滑动块,且滑动块呈T字型,机动箱体1的内底壁开设有滑动槽,且滑动槽与滑动块滑动连接,第一滑动杆15和第二滑动杆16之间固定连接有环形弹簧17,减速箱底座13的顶部固定连接有限位夹18,螺纹块7和活动块10的内侧均开设有与螺纹杆6内侧螺纹相适配的螺纹孔,且两个螺纹孔方向相反,限位夹18与减速箱体14活动连接,螺旋杆4的左端固定连接有活动手柄19,机动箱体1的正面活动连接有活动门20,减速箱体14的左右两侧均开设有限位槽,且两个限位槽分别与第一限位销9和第二限位销12卡接,活动门20的正面固定连接有观察窗。Please refer to Figure 1-3, a reduction gear box that is easy to connect, includes a
在使用时,通过转动活动手柄19,活动手柄19转动的过程中,会带动螺旋杆4转动,螺旋杆4转动的过程中,会依次带动齿轮5和螺纹杆6转动,所以螺纹杆6转动的过程中,会分别带动螺纹块7和活动块10做相对或相背的移动,当螺纹块7和活动块10做相对移动时,会分别带动第一限位销9和第二限位销12做相对的移动,将第一限位销9和第二限位销12分别移动到,减速箱体14左右开设的两个限位槽当中,进行卡接,将减速箱体14进行固定,实现了减速箱体14与减速箱底座13连接的目的。When in use, by rotating the
综上所述,该便于连接的减速箱,当需要将减速箱体14与减速箱底座13连接时,先将减速箱体14放在减速箱底座13的上方,通过转动活动手柄19,活动手柄19转动的过程中,会带动螺旋杆4转动,因为螺旋杆4与齿轮5啮合,所以螺旋杆4转动的过程中,会依次带动齿轮5和螺纹杆6转动,通过设置第一滑动杆15、第二滑动杆16和滑动块可以分别限制螺纹块7和活动块10进行圆周转动,同时可以提高螺纹块7和活动块10左右移动的稳定性,因为螺纹块7和活动块10的内侧均开设有与螺纹杆6内侧螺纹相适配的螺纹孔,且两个螺纹孔方向相反,螺纹孔与螺纹杆6外侧螺纹相接触并产生位移,所以螺纹杆6转动的过程中,会分别带动螺纹块7和活动块10做相对或相背的移动,当螺纹块7和活动块10做相对移动时,会分别带动第一限位销9和第二限位销12做相对的移动,将第一限位销9和第二限位销12分别移动到,减速箱体14左右开设的两个限位槽当中,进行卡接,将减速箱体14进行固定,实现了减速箱体14与减速箱底座13连接的目的,当螺纹块7和活动块10做相背移动时,会分别带动第一限位销9和第二限位销12做相背的移动,将第一限位销9和第二限位销12移出限位槽,使减速箱体14失去限位,可将减速箱体14从减速箱底座13上取下,从而便可以对减速箱体14内侧的减速器进行维修,整体结构简单,方便使用,实现了减速箱便于连接的目的,在安装或拆卸减速箱的过程中操作简单,在减速器出现故障的时候便于维修,提高了减速箱的使用效率和使用效果,解决了现有的减速箱存在着不便于连接的缺点,导致在安装或拆卸减速箱的过程中比较繁琐,在减速器出现故障的时候,不便于维修,不方便使用,降低了减速箱的使用效率和使用效果的问题。To sum up, in the reduction gear box that is easy to connect, when the
需要说明的是,在本文中,诸如第一和第二等之类的关系术语仅仅用来将一个实体或者操作与另一个实体或操作区分开来,而不一定要求或者暗示这些实体或操作之间存在任何这种实际的关系或者顺序。而且,术语“包括”、“包含”或者其任何其他变体意在涵盖非排他性的包含,从而使得包括一系列要素的过程、方法、物品或者设备不仅包括那些要素,而且还包括没有明确列出的其他要素,或者是还包括为这种过程、方法、物品或者设备所固有的要素。在没有更多限制的情况下,由语句“包括一个……”限定的要素,并不排除在包括所述要素的过程、方法、物品或者设备中还存在另外的相同要素。It should be noted that, in this document, relational terms such as first and second are only used to distinguish one entity or operation from another entity or operation, and do not necessarily require or imply any relationship between these entities or operations. any such actual relationship or sequence exists. Moreover, the terms "comprising", "comprising" or any other variation thereof are intended to encompass a non-exclusive inclusion such that a process, method, article or device that includes a list of elements includes not only those elements, but also includes not explicitly listed or other elements inherent to such a process, method, article or apparatus. Without further limitation, an element qualified by the phrase "comprising a..." does not preclude the presence of additional identical elements in a process, method, article or apparatus that includes the element.
尽管已经示出和描述了本实用新型的实施例,对于本领域的普通技术人员而言,可以理解在不脱离本实用新型的原理和精神的情况下可以对这些实施例进行多种变化、修改、替换和变型,本实用新型的范围由所附权利要求及其等同物限定。Although the embodiments of the present invention have been shown and described, it will be understood by those skilled in the art that various changes and modifications can be made to these embodiments without departing from the principles and spirit of the present invention , alternatives and modifications, the scope of the present invention is defined by the appended claims and their equivalents.
Claims (6)
Priority Applications (1)
| Application Number | Priority Date | Filing Date | Title |
|---|---|---|---|
| CN201922280559.5U CN211009832U (en) | 2019-12-18 | 2019-12-18 | Reduction gearbox convenient to connect |
Applications Claiming Priority (1)
| Application Number | Priority Date | Filing Date | Title |
|---|---|---|---|
| CN201922280559.5U CN211009832U (en) | 2019-12-18 | 2019-12-18 | Reduction gearbox convenient to connect |
Publications (1)
| Publication Number | Publication Date |
|---|---|
| CN211009832U true CN211009832U (en) | 2020-07-14 |
Family
ID=71473449
Family Applications (1)
| Application Number | Title | Priority Date | Filing Date |
|---|---|---|---|
| CN201922280559.5U Expired - Fee Related CN211009832U (en) | 2019-12-18 | 2019-12-18 | Reduction gearbox convenient to connect |
Country Status (1)
| Country | Link |
|---|---|
| CN (1) | CN211009832U (en) |
Cited By (2)
| Publication number | Priority date | Publication date | Assignee | Title |
|---|---|---|---|---|
| CN112960169A (en) * | 2021-03-31 | 2021-06-15 | 成渝钒钛科技有限公司 | High-speed wire bundling machine fault alarm device and using method thereof |
| CN115750744A (en) * | 2022-12-05 | 2023-03-07 | 广东天太机器人有限公司 | Noise reduction box structure for gear speed reducer |
-
2019
- 2019-12-18 CN CN201922280559.5U patent/CN211009832U/en not_active Expired - Fee Related
Cited By (2)
| Publication number | Priority date | Publication date | Assignee | Title |
|---|---|---|---|---|
| CN112960169A (en) * | 2021-03-31 | 2021-06-15 | 成渝钒钛科技有限公司 | High-speed wire bundling machine fault alarm device and using method thereof |
| CN115750744A (en) * | 2022-12-05 | 2023-03-07 | 广东天太机器人有限公司 | Noise reduction box structure for gear speed reducer |
Similar Documents
| Publication | Publication Date | Title |
|---|---|---|
| CN211009832U (en) | Reduction gearbox convenient to connect | |
| CN115922398A (en) | Frock clamp is used in processing of air compressor machine cylinder body | |
| CN117167553A (en) | A mobile spreader for placing pre-buried sewer pipes in house construction | |
| CN115741524A (en) | Clamping device for machining | |
| CN209110604U (en) | Positioning fixture is used in a kind of processing of numerically-controlled machine tool machinery | |
| CN223032804U (en) | Lifting appliance for grabbing part with flange at end face | |
| CN209394960U (en) | A small automatic stripper | |
| CN221135822U (en) | Aluminum profile machining clamp | |
| CN221171037U (en) | Pipeline laying device | |
| CN219854147U (en) | Automobile door body installation fixing clamp | |
| CN119319585A (en) | Corrugated pipe cutting device and cutting method thereof | |
| CN219096763U (en) | Positioning device for structural engineering | |
| CN218225355U (en) | A welding jig for metal pipes | |
| CN218017249U (en) | Clamp for three-axis machining center | |
| CN221416226U (en) | A polishing device for stainless steel pipe production | |
| CN210735514U (en) | A clamping device with adjustable working stroke | |
| CN211464397U (en) | Multi-angle mechanical pipe bending equipment | |
| CN115284322A (en) | Automatic clamping manipulator for irregular materials such as electric power fittings | |
| CN120606121B (en) | Automatic flat end machine for stainless steel pipes | |
| CN223457857U (en) | Winding device for self-adhesive product | |
| CN223251616U (en) | Copper bush adds clamping apparatus | |
| CN222857740U (en) | A clamp for machining inner and outer rings of adjustable bearings | |
| CN222060075U (en) | A clamping device for tempered glass production | |
| CN223589218U (en) | A clamping and fixing device for processing seamless steel pipes for nuclear power plants | |
| CN222328183U (en) | Industrial robot base structure |
Legal Events
| Date | Code | Title | Description |
|---|---|---|---|
| GR01 | Patent grant | ||
| GR01 | Patent grant | ||
| CF01 | Termination of patent right due to non-payment of annual fee |
Granted publication date: 20200714 |
|
| CF01 | Termination of patent right due to non-payment of annual fee |
