CN210995295U - A special flour screening device for flour processing - Google Patents
A special flour screening device for flour processing Download PDFInfo
- Publication number
- CN210995295U CN210995295U CN201921985482.5U CN201921985482U CN210995295U CN 210995295 U CN210995295 U CN 210995295U CN 201921985482 U CN201921985482 U CN 201921985482U CN 210995295 U CN210995295 U CN 210995295U
- Authority
- CN
- China
- Prior art keywords
- screening
- flour
- screening box
- box
- wall
- Prior art date
- Legal status (The legal status is an assumption and is not a legal conclusion. Google has not performed a legal analysis and makes no representation as to the accuracy of the status listed.)
- Expired - Fee Related
Links
Images
Landscapes
- Combined Means For Separation Of Solids (AREA)
Abstract
本实用新型涉及面粉筛选技术领域,具体涉及一种面粉加工专用的面粉筛选装置,包括底座,底座顶部左右两侧对称固接有支撑杆,底座顶部中心设有盛料箱,支撑杆顶部固接有第二筛选箱,第二筛选箱顶部固接有第一筛选箱,第二筛选箱和第一筛选箱左侧壁固接有转动机构;第二筛选箱内腔左侧壁固接有转动盘,转动盘内腔转动连接有第二转动杆,第二转动杆外壁固接有搅动板;第一筛选箱顶部左侧插接有进料斗,第一筛选箱内腔转动连接有第一转动杆,第一转动杆外壁固接有螺旋叶片,本实用新型能够解决现有的面粉筛选装置的筛选孔容易堵塞,进而降低了筛选效率,且只经过一次的筛选,使面粉的筛选效果不佳的问题。
The utility model relates to the technical field of flour screening, in particular to a flour screening device specially used for flour processing. There is a second screening box, the top of the second screening box is fixed with the first screening box, the second screening box and the left side wall of the first screening box are fixed with a rotating mechanism; the left side wall of the inner cavity of the second screening box is fixed with a rotating mechanism The inner cavity of the rotating plate is rotatably connected with a second rotating rod, and the outer wall of the second rotating rod is fixed with a stirring plate; the left side of the top of the first screening box is plugged with a feeding hopper, and the inner cavity of the first screening box is rotatably connected with a first The rotating rod, the outer wall of the first rotating rod is fixed with a spiral blade, the utility model can solve the problem that the screening hole of the existing flour screening device is easily blocked, thereby reducing the screening efficiency, and only one screening is performed, so that the screening effect of flour is not good. good question.
Description
技术领域technical field
本实用新型涉及面粉筛选技术领域,具体涉及一种面粉加工专用的面粉筛选装置。The utility model relates to the technical field of flour screening, in particular to a special flour screening device for flour processing.
背景技术Background technique
面粉是一种由小麦磨成的粉状物。按面粉中蛋白质含量的多少,可以分为高筋面粉、中筋面粉、低筋面粉及无筋面粉。Flour is a powder made from wheat. According to the protein content of flour, it can be divided into high-gluten flour, medium-gluten flour, low-gluten flour and gluten-free flour.
在面粉的制作过程中,时常涉及到对面粉的筛分,现有的面粉的大小的筛选采用筛选机进行筛选,筛选机的每层筛网都安装有震动机构,筛网和机体固定连接,筛网容易堵塞影响筛选效率,且只经过一次筛选,使面粉的筛选效果较差的问题。为此,急需一种面粉加工专用的面粉筛选装置来解决这些问题。In the production process of flour, the screening of flour is often involved. The screening of the existing flour is carried out by a screening machine. Each screen of the screening machine is equipped with a vibration mechanism, and the screen is fixedly connected to the body. The screen is easily blocked and affects the screening efficiency, and only one screening is performed, which makes the screening effect of the flour poor. Therefore, a special flour screening device for flour processing is urgently needed to solve these problems.
实用新型内容Utility model content
针对现有技术的不足,本实用新型公开了一种面粉加工专用的面粉筛选装置,能够解决现有的面粉筛选装置的筛选孔容易堵塞,进而降低了筛选效率,且只经过一次的筛选,使面粉的筛选效果不佳的问题。Aiming at the deficiencies of the prior art, the utility model discloses a special flour screening device for flour processing, which can solve the problem that the screening holes of the existing flour screening device are easily blocked, thereby reducing the screening efficiency. The problem of poor screening effect of flour.
本实用新型通过以下技术方案予以实现:一种面粉加工专用的面粉筛选装置包括底座,所述底座顶部左右两侧对称固接有支撑杆,所述底座顶部中心设有盛料箱,所述支撑杆顶部固接有第二筛选箱,所述第二筛选箱顶部固接有第一筛选箱,所述第二筛选箱和第一筛选箱左侧壁固接有转动机构;The utility model is realized by the following technical solutions: a special flour screening device for flour processing comprises a base, the left and right sides of the top of the base are symmetrically fixed with support rods, the center of the top of the base is provided with a container, and the support A second screening box is fixedly connected to the top of the rod, a first screening box is fixedly connected to the top of the second screening box, and a rotating mechanism is fixedly connected to the second screening box and the left side wall of the first screening box;
所述第二筛选箱内腔左侧壁固接有转动盘,所述转动盘内腔转动连接有第二转动杆,所述第二转动杆外壁固接有搅动板;A rotating disk is fixedly connected to the left side wall of the inner cavity of the second screening box, a second rotating rod is rotatably connected to the inner cavity of the rotating disk, and a stirring plate is fixedly connected to the outer wall of the second rotating rod;
所述第一筛选箱顶部左侧插接有进料斗,所述第一筛选箱内腔转动连接有第一转动杆,所述第一转动杆外壁固接有螺旋叶片。A feeding hopper is inserted on the left side of the top of the first screening box, a first rotating rod is rotatably connected to the inner cavity of the first screening box, and a spiral blade is fixedly connected to the outer wall of the first rotating rod.
优选的,所述转动机构包括转动电机,且转动电机固接在第二筛选箱左侧壁上,所述转动电机输出端外壁套接有主动齿轮,所述第一转动杆左端外壁贯穿第一筛选箱左侧壁并套接有第一从动齿轮,且第一从动齿轮与主动齿轮啮合连接,所述第二转动杆左端外壁贯穿第二筛选箱左侧壁并套接有第二从动齿轮,且第二从动齿轮与主动齿轮啮合连接,这样设置使得在转动机构的带动下能够同时使第一转动杆和第二转动杆转动,进而使第一筛选箱和第二筛选箱同时进行筛选。Preferably, the rotating mechanism includes a rotating motor, and the rotating motor is fixed on the left side wall of the second screening box, the outer wall of the output end of the rotating motor is sleeved with a driving gear, and the outer wall of the left end of the first rotating rod penetrates the first The left side wall of the screening box is sleeved with a first driven gear, and the first driven gear is meshed with the driving gear. The second driven gear is meshed with the driving gear, so that the first rotating rod and the second rotating rod can be rotated at the same time under the driving of the rotating mechanism, so that the first screening box and the second screening box can be simultaneously rotated. to filter.
优选的,所述第一筛选箱顶部与第二筛选箱筛选板底部均开设有若干个相互配合的通孔,且通孔呈阵列状排布,这样设置使得这样设置使得第一筛选箱筛选出的面粉能够通过通孔掉落到第二筛选箱。Preferably, the top of the first screening box and the bottom of the screening plate of the second screening box are provided with a plurality of through holes that cooperate with each other, and the through holes are arranged in an array, so that the first screening box can screen out the The flour can fall through the through holes to the second screening box.
优选的,所述第二筛选箱底部开设有若干个出料孔,且出料孔呈阵列状排布,这样设置使得第二筛选箱内部筛选的面粉能够通过出料孔掉落到盛料箱。Preferably, the bottom of the second screening box is provided with a number of discharge holes, and the discharge holes are arranged in an array, so that the flour screened in the second screening box can be dropped to the container through the discharge holes. .
优选的,所述第二筛选箱右侧壁开设有可开启的铰接门,这样设置使得筛选剩下的面粉能够通过打开铰接门进行清理。Preferably, an openable hinged door is provided on the right side wall of the second screening box, so that the flour remaining after screening can be cleaned by opening the hinged door.
优选的,所述第一筛选箱右侧壁下方插接有角度向下的出料管,且角度大小为15度至30度,这样设置使得第一筛选箱内部剩余的面粉能够通过出料管流动到外部。Preferably, a discharge pipe with an angle downward is inserted under the right side wall of the first screening box, and the angle is 15 degrees to 30 degrees, so that the remaining flour in the first screening box can pass through the discharge pipe flow to the outside.
优选的,所述搅动板的数量为4组,且4组搅动板呈圆周状固接在第二转动杆外壁,且4组搅动板内部开设有若干个呈阵列状排布的筛孔,这样设置使得掉落到第二筛选箱内部的面粉进行搅拌打散,将面粉分散开,有效提升面粉的筛选效率,同时避免第二筛选箱堵塞。Preferably, the number of the stirring plates is 4 groups, and the four groups of stirring plates are circumferentially fixed on the outer wall of the second rotating rod, and the inside of the four groups of stirring plates is provided with a number of sieve holes arranged in an array, so that The setting enables the flour falling into the second screening box to be stirred and dispersed, and the flour is dispersed, which effectively improves the screening efficiency of the flour, and at the same time prevents the second screening box from being blocked.
本实用新型的有益效果为:The beneficial effects of the present utility model are:
本实用新型通过设置转动机构使得第一转动杆和第二转动杆能够同时转动,进而使第一筛选和第二筛选同时进行,提高了筛选效率;且面粉经过第一次筛选后,能够均匀的掉落到第二筛选箱中,使第二次筛选的效率更高,通过两次筛选,使得面粉的筛选更彻底;且筛选剩余的面粉能够分别通过出料管和铰接门进行清理,避免了残渣遗留在筛选箱内。The utility model makes the first rotating rod and the second rotating rod rotate at the same time by arranging the rotating mechanism, so that the first screening and the second screening are carried out at the same time, and the screening efficiency is improved; and after the first screening, the flour can be uniformly It falls into the second screening box, which makes the second screening more efficient. After two screenings, the flour is screened more thoroughly; and the remaining flour can be cleaned up through the discharge pipe and the hinged door, avoiding Residues are left in the screening box.
附图说明Description of drawings
为了更清楚地说明本实用新型实施例或现有技术中的技术方案,下面将对实施例或现有技术描述中所需要使用的附图作简单地介绍,显而易见地,下面描述中的附图仅仅是本实用新型的一些实施例,对于本领域普通技术人员来讲,在不付出创造性劳动的前提下,还可以根据这些附图获得其他的附图。In order to more clearly illustrate the embodiments of the present utility model or the technical solutions in the prior art, the following briefly introduces the accompanying drawings that need to be used in the description of the embodiments or the prior art. Obviously, the accompanying drawings in the following description These are just some embodiments of the present invention, and for those of ordinary skill in the art, other drawings can also be obtained from these drawings without creative effort.
图1是实用新型的结构示意图;Fig. 1 is the structural representation of utility model;
图2是实用新型第二转动杆外壁的结构示意图。FIG. 2 is a schematic structural diagram of the outer wall of the second rotating rod of the utility model.
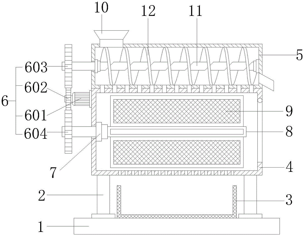
附图标记如下:1-底座、2-支撑杆、3-盛料箱、4-第二筛选箱、5-第一筛选箱、6-转动机构、601-转动电机、602-主动齿轮、603-第一从动齿轮、604-第二从动齿轮、7-转动盘、8-第二转动杆、9-搅动板、10-进料斗、11-第一转动杆、12-螺旋叶片。Reference numerals are as follows: 1-base, 2-support rod, 3-feeding box, 4-second screening box, 5-first screening box, 6-rotating mechanism, 601-rotating motor, 602-driving gear, 603 -1st driven gear, 604-second driven gear, 7-rotating disc, 8-second rotating rod, 9-stirring plate, 10-feeding hopper, 11-first rotating rod, 12-spiral blade.
具体实施方式Detailed ways
为使本实用新型实施例的目的、技术方案和优点更加清楚,下面将结合本实用新型实施例中的附图,对本实用新型实施例中的技术方案进行清楚、完整地描述,显然,所描述的实施例是本实用新型一部分实施例,而不是全部的实施例。基于本实用新型中的实施例,本领域普通技术人员在没有作出创造性劳动前提下所获得的所有其他实施例,都属于本实用新型保护的范围。In order to make the purposes, technical solutions and advantages of the embodiments of the present utility model clearer, the technical solutions in the embodiments of the present utility model will be clearly and completely described below with reference to the accompanying drawings in the embodiments of the present utility model. The embodiments described above are a part of the embodiments of the present invention, but not all of the embodiments. Based on the embodiments of the present invention, all other embodiments obtained by those of ordinary skill in the art without creative work fall within the protection scope of the present invention.
参看图1-2:一种面粉加工专用的面粉筛选装置包括底座1,底座1顶部左右两侧对称固接有支撑杆2,底座1顶部中心设有盛料箱3,支撑杆2顶部固接有第二筛选箱4,且第二筛选箱4底部开设有若干个出料孔,且出料孔呈阵列状排布。第二筛选箱4右侧壁开设有可开启的铰接门。Referring to Figure 1-2: a flour screening device for flour processing includes a
第二筛选箱4顶部固接有第一筛选箱5,第一筛选箱5右侧壁下方插接有角度向下的出料管,且角度大小为15度至30度。第一筛选箱5顶部与第二筛选箱4筛选板底部均开设有若干个相互配合的通孔,且通孔呈阵列状排布。The top of the
第二筛选箱4和第一筛选箱5左侧壁固接有转动机构6,转动机构6包括转动电机601,且转动电机601固接在第二筛选箱4左侧壁上,转动电机601输出端外壁套接有主动齿轮602,第一转动杆11左端外壁贯穿第一筛选箱5左侧壁并套接有第一从动齿轮603,且第一从动齿轮603与主动齿轮602啮合连接,第二转动杆8左端外壁贯穿第二筛选箱4左侧壁并套接有第二从动齿轮604,且第二从动齿轮604与主动齿轮602啮合连接。The
第二筛选箱4内腔左侧壁固接有转动盘7,转动盘7内腔转动连接有第二转动杆8,第二转动杆8外壁固接有搅动板9;搅动板9的数量为4组,且4组搅动板9呈圆周状固接在第二转动杆8外壁,且4组搅动板9内部开设有若干个呈阵列状排布的筛孔。The left side wall of the inner cavity of the
第一筛选箱5顶部左侧插接有进料斗10,第一筛选箱5内腔转动连接有第一转动杆11,第一转动杆11外壁固接有螺旋叶片12。A
本实用新型在使用时将面粉通过进料斗10倒入到第一筛选箱4中,然后启动转动电机601。When the utility model is in use, the flour is poured into the
转动电机601转动带动主动齿轮602转动,主动齿轮602带动第一从动齿轮603和第二从动齿轮604转动,进而使第一转动杆11和第二转动杆8同时转动。The rotation of the rotating
第一转动杆11转动带动螺旋叶片12转动,进而使面粉从第一筛选箱5左侧输送到右侧,并且在输送过程中,颗粒较小的面粉通过通孔掉落到第二筛选箱4中,颗粒较大的面粉则通过出料管出料并进行收集。The rotation of the first rotating
面粉均匀的掉落到第二筛选箱4中,第二转动杆8转动,带动搅动板9转动,搅动板9将面粉进行搅拌打散,将面粉分散开,有效提升面粉的筛选效率。在搅拌过程中,颗粒大小符合出料孔的面粉通过出料孔掉落到盛料箱3中进行收集。The flour falls into the
当面粉筛选完毕后,关闭转动电机601,并打开铰接门,将第二筛选箱4内部剩余的面粉进行清理。When the flour is screened, the rotating
上述实施例中所提到的转动电机为本领域技术人员所掌握的成熟技术,在本实施例中仅对其进行使用,未进行改变,且转动电机设有与其相互配合的开关,且开关位置可根据工作环境进行设定,且转动电机为双向电机。The rotating motor mentioned in the above embodiment is a mature technology mastered by those skilled in the art. In this embodiment, it is only used without modification, and the rotating motor is provided with a switch that cooperates with it, and the position of the switch is not changed. It can be set according to the working environment, and the rotating motor is a bidirectional motor.
以上实施例仅用以说明本实用新型的技术方案,而非对其限制;尽管参照前述实施例对本实用新型进行了详细的说明,本领域的普通技术人员应当理解:其依然可以对前述各实施例所记载的技术方案进行修改,或者对其中部分技术特征进行等同替换;而这些修改或者替换,并不使相应技术方案的本质脱离本实用新型各实施例技术方案的精神和范围。The above embodiments are only used to illustrate the technical solutions of the present utility model, but not to limit them; although the present utility model has been described in detail with reference to the foregoing embodiments, those of ordinary skill in the art should understand that: it can still be used for the foregoing implementations. The technical solutions described in the examples are modified, or some technical features thereof are equivalently replaced; and these modifications or replacements do not make the essence of the corresponding technical solutions deviate from the spirit and scope of the technical solutions of the embodiments of the present invention.
Claims (7)
Priority Applications (1)
| Application Number | Priority Date | Filing Date | Title |
|---|---|---|---|
| CN201921985482.5U CN210995295U (en) | 2019-11-17 | 2019-11-17 | A special flour screening device for flour processing |
Applications Claiming Priority (1)
| Application Number | Priority Date | Filing Date | Title |
|---|---|---|---|
| CN201921985482.5U CN210995295U (en) | 2019-11-17 | 2019-11-17 | A special flour screening device for flour processing |
Publications (1)
| Publication Number | Publication Date |
|---|---|
| CN210995295U true CN210995295U (en) | 2020-07-14 |
Family
ID=71482539
Family Applications (1)
| Application Number | Title | Priority Date | Filing Date |
|---|---|---|---|
| CN201921985482.5U Expired - Fee Related CN210995295U (en) | 2019-11-17 | 2019-11-17 | A special flour screening device for flour processing |
Country Status (1)
| Country | Link |
|---|---|
| CN (1) | CN210995295U (en) |
Cited By (2)
| Publication number | Priority date | Publication date | Assignee | Title |
|---|---|---|---|---|
| CN112570247A (en) * | 2020-11-17 | 2021-03-30 | 山东丰香园食品股份有限公司 | A sieving mechanism for sesame powder processing |
| CN112934702A (en) * | 2021-01-28 | 2021-06-11 | 吉安茹姿科技有限公司 | Production screening equipment and processing technology of nano composite antibacterial master batch |
-
2019
- 2019-11-17 CN CN201921985482.5U patent/CN210995295U/en not_active Expired - Fee Related
Cited By (2)
| Publication number | Priority date | Publication date | Assignee | Title |
|---|---|---|---|---|
| CN112570247A (en) * | 2020-11-17 | 2021-03-30 | 山东丰香园食品股份有限公司 | A sieving mechanism for sesame powder processing |
| CN112934702A (en) * | 2021-01-28 | 2021-06-11 | 吉安茹姿科技有限公司 | Production screening equipment and processing technology of nano composite antibacterial master batch |
Similar Documents
| Publication | Publication Date | Title |
|---|---|---|
| CN210995295U (en) | A special flour screening device for flour processing | |
| CN207287641U (en) | Traditional Chinese powder medicine crushing and screening system | |
| CN207857323U (en) | Strawberry classifying screen | |
| CN118218232A (en) | A sand screening machine for construction engineering | |
| CN110394212A (en) | A kind of device for processing seasonings | |
| CN207770265U (en) | A kind of composite fertilizer's rotary screen | |
| CN214487768U (en) | Multistage screening formula fodder unloader | |
| CN207857325U (en) | Screw classifying screens machine | |
| CN209109587U (en) | A kind of particulate filter arrangement | |
| CN208131439U (en) | A kind of cylindrical pre-cleaning screen of flour processing process | |
| CN206704960U (en) | A kind of concrete mixing plant filler bin | |
| CN215940541U (en) | Screening plant for soil detection | |
| CN213792667U (en) | A kind of raw material grading screening equipment for fertilizer production | |
| CN216174199U (en) | Fertilizer screening plant | |
| CN211267608U (en) | Gardens flowers soil making devices | |
| CN209093534U (en) | Particle screen selecting device after a kind of dog food crushes | |
| CN211988188U (en) | A screening and mixing device for tablet candy processing | |
| CN220861655U (en) | Dust fall formula milling machine | |
| CN214160514U (en) | Flour carefully chosen device | |
| CN209093255U (en) | Excipient substance preparation facilities and medicine preparation system | |
| CN219024916U (en) | Multistage filtering device for premixed powder production | |
| CN221733604U (en) | Flour screening machine capable of preventing flour from coagulating | |
| CN214077701U (en) | Melamine finished product conveying and filtering device | |
| CN221965970U (en) | An impurity collecting device for grain screening | |
| CN206372786U (en) | Oscillating granulator |
Legal Events
| Date | Code | Title | Description |
|---|---|---|---|
| GR01 | Patent grant | ||
| GR01 | Patent grant | ||
| CF01 | Termination of patent right due to non-payment of annual fee |
Granted publication date: 20200714 |
