CN210987349U - Drip irrigation emitter of garden irrigation system - Google Patents
Drip irrigation emitter of garden irrigation system Download PDFInfo
- Publication number
- CN210987349U CN210987349U CN201921721152.5U CN201921721152U CN210987349U CN 210987349 U CN210987349 U CN 210987349U CN 201921721152 U CN201921721152 U CN 201921721152U CN 210987349 U CN210987349 U CN 210987349U
- Authority
- CN
- China
- Prior art keywords
- drip
- wall
- box
- convex ring
- water inlet
- Prior art date
- Legal status (The legal status is an assumption and is not a legal conclusion. Google has not performed a legal analysis and makes no representation as to the accuracy of the status listed.)
- Active
Links
- 230000002262 irrigation Effects 0.000 title claims abstract description 25
- 238000003973 irrigation Methods 0.000 title claims abstract description 25
- XLYOFNOQVPJJNP-UHFFFAOYSA-N water Substances O XLYOFNOQVPJJNP-UHFFFAOYSA-N 0.000 claims abstract description 21
- 239000003814 drug Substances 0.000 claims abstract description 20
- 239000012895 dilution Substances 0.000 abstract description 3
- 238000010790 dilution Methods 0.000 abstract description 3
- 230000000694 effects Effects 0.000 abstract description 2
- 238000000034 method Methods 0.000 description 4
- 239000000243 solution Substances 0.000 description 3
- 241000196324 Embryophyta Species 0.000 description 1
- 230000009286 beneficial effect Effects 0.000 description 1
- 238000010586 diagram Methods 0.000 description 1
- 239000007788 liquid Substances 0.000 description 1
- 230000004048 modification Effects 0.000 description 1
- 238000012986 modification Methods 0.000 description 1
Images
Classifications
-
- Y—GENERAL TAGGING OF NEW TECHNOLOGICAL DEVELOPMENTS; GENERAL TAGGING OF CROSS-SECTIONAL TECHNOLOGIES SPANNING OVER SEVERAL SECTIONS OF THE IPC; TECHNICAL SUBJECTS COVERED BY FORMER USPC CROSS-REFERENCE ART COLLECTIONS [XRACs] AND DIGESTS
- Y02—TECHNOLOGIES OR APPLICATIONS FOR MITIGATION OR ADAPTATION AGAINST CLIMATE CHANGE
- Y02A—TECHNOLOGIES FOR ADAPTATION TO CLIMATE CHANGE
- Y02A40/00—Adaptation technologies in agriculture, forestry, livestock or agroalimentary production
- Y02A40/10—Adaptation technologies in agriculture, forestry, livestock or agroalimentary production in agriculture
- Y02A40/25—Greenhouse technology, e.g. cooling systems therefor
Landscapes
- Infusion, Injection, And Reservoir Apparatuses (AREA)
Abstract
本实用新型公开了园林浇灌系统的滴灌器,包括进水管,所述进水管底部设有空心盒,且空心盒底部外壁沿外沿开有滴漏孔,所述空心盒底部外壁设有与内腔相连通的滴漏管,所述空心盒外壁螺接有滴盒,且滴盒底部设有底板,所述底板顶部外壁中心处设有圆筒,所述滴盒内壁靠近顶部处设有凸圈,且凸圈底部设有集流斗,所述底板底部外壁设有底斗,且底斗底部设有与内腔相连通的底管,所述滴盒外壁靠近凸圈顶部处开有圆孔。本实用新型实现单独对某一个区域滴灌器的药剂添加,解决局部药剂滴灌的实际需求,通过凸圈和圆筒的设置,实现药剂的两次稀释,保障药剂稀释效果,实用性强,可以单独控制滴灌器的开关,增强使用的灵活性。
The utility model discloses a drip irrigator of a garden watering system, comprising a water inlet pipe, a hollow box is arranged at the bottom of the water inlet pipe, a drip hole is opened on the outer wall of the bottom of the hollow box along the outer edge, and the outer wall of the bottom of the hollow box is provided with an inner cavity Connected drip tubes, the outer wall of the hollow box is screwed with a drip box, the bottom of the drip box is provided with a bottom plate, the center of the outer wall of the top of the bottom plate is provided with a cylinder, and the inner wall of the drip box is provided with a convex ring near the top, The bottom of the convex ring is provided with a collecting bucket, the outer wall of the bottom bottom is provided with a bottom bucket, and the bottom of the bottom bucket is provided with a bottom pipe communicating with the inner cavity, and a circular hole is opened on the outer wall of the drip box near the top of the convex ring. The utility model realizes the addition of medicament to a drip irrigation device in a certain area separately, and solves the actual demand of local medicament drip irrigation. Through the arrangement of the convex ring and the cylinder, the twice dilution of the medicament is realized, the dilution effect of the medicament is guaranteed, and the practicability is strong. Control the switch of the drip irrigation device to enhance the flexibility of use.
Description
技术领域technical field
本实用新型涉及农业灌溉技术领域,尤其涉及园林浇灌系统的滴灌器。The utility model relates to the technical field of agricultural irrigation, in particular to a drip irrigator of a garden irrigation system.
背景技术Background technique
在一些植物秧苗培育过程中、或者在一些贵重树木培养过程中,经常需要通过滴灌器对其进行持续低速的灌溉操作,在一些温室育苗大棚内,滴灌器的使用已经代替了人工灌溉。In the process of cultivating some plant seedlings, or in the process of cultivating some precious trees, it is often necessary to carry out continuous low-speed irrigation operations through drip irrigators. In some greenhouses, the use of drip irrigators has replaced manual irrigation.
在大棚育苗过程中,常会出现某一个区域的秧苗病变或者发育不足的情况,这样的情况下需要对这个区域进行单独的药剂滴灌,传统的滴灌器无法做到单独滴灌,实用性有待提升。In the process of raising seedlings in greenhouses, the seedlings in a certain area are often diseased or underdeveloped. In this case, it is necessary to carry out a separate drip irrigation for this area. The traditional drip irrigation device cannot achieve separate drip irrigation, and the practicability needs to be improved.
实用新型内容Utility model content
本实用新型的目的是为了解决现有技术中存在的缺点,而提出的园林浇灌系统的滴灌器。The purpose of the utility model is to propose a drip irrigator for a garden watering system in order to solve the shortcomings existing in the prior art.
为了实现上述目的,本实用新型采用了如下技术方案:In order to achieve the above-mentioned purpose, the utility model adopts the following technical solutions:
园林浇灌系统的滴灌器,包括进水管,所述进水管底部设有空心盒,且空心盒底部外壁沿外沿开有滴漏孔,所述空心盒底部外壁设有与内腔相连通的滴漏管,所述空心盒外壁螺接有滴盒,且滴盒底部设有底板,所述底板顶部外壁中心处设有圆筒,所述滴盒内壁靠近顶部处设有凸圈,且凸圈底部设有集流斗,所述底板底部外壁设有底斗,且底斗底部设有与内腔相连通的底管,所述滴盒外壁靠近凸圈顶部处开有圆孔,且圆孔内插设有药剂管。The drip irrigation device of the garden watering system includes a water inlet pipe, the bottom of the water inlet pipe is provided with a hollow box, and the outer wall of the bottom of the hollow box is provided with a drip hole along the outer edge, and the outer wall of the bottom of the hollow box is provided with a drip tube that communicates with the inner cavity The outer wall of the hollow box is screwed with a drip box, and the bottom of the drip box is provided with a bottom plate, the center of the outer wall of the top of the bottom plate is provided with a cylinder, the inner wall of the drip box is provided with a convex ring near the top, and the bottom of the convex ring is provided with There is a collecting bucket, the bottom outer wall of the bottom plate is provided with a bottom bucket, and the bottom of the bottom bucket is provided with a bottom pipe that communicates with the inner cavity, the outer wall of the drip box is provided with a circular hole near the top of the convex ring, and the circular hole is inserted Equipped with medicine tube.
优选的,所述进水管外壁对夹设置有截断阀,且进水管外壁顶部开有螺纹槽,所述螺纹槽螺接有连接螺圈。Preferably, the outer wall of the water inlet pipe is provided with a cut-off valve, and the top of the outer wall of the water inlet pipe is provided with a threaded groove, and the threaded groove is screwed with a connecting screw.
优选的,所述底板外壁沿外圈处开有等距离分布的通孔。Preferably, the outer wall of the bottom plate is provided with through holes distributed at equal distances along the outer ring.
优选的,所述底管的口径大于滴漏孔和滴漏管的口径总和。Preferably, the diameter of the bottom pipe is larger than the sum of the diameters of the drip hole and the drip tube.
优选的,所述圆筒的内径大于集流斗底部内径,且集流斗的内径大于滴漏管的外径。Preferably, the inner diameter of the cylinder is larger than the inner diameter of the bottom of the header, and the inner diameter of the header is larger than the outer diameter of the drip tube.
优选的,所述滴盒、凸圈和集流斗为一体成型结构。Preferably, the drip box, the convex ring and the collecting hopper are integrally formed.
本实用新型的有益效果为:The beneficial effects of the present utility model are:
1、通过药剂管的设置,实现单独对某一个区域滴灌器的药剂添加,解决局部药剂滴灌的实际需求,通过凸圈和圆筒的设置,实现药剂的两次稀释,保障药剂稀释效果,实用性强。1. Through the setting of the medicine tube, the addition of the medicine to the drip irrigation device in a certain area can be realized, and the actual demand of the local medicine drip irrigation can be solved. Strong sex.
2、通过截断阀的设置可以单独控制滴灌器的开关,增强使用的灵活性。2. The switch of the drip irrigation device can be individually controlled by the setting of the shut-off valve, which enhances the flexibility of use.
附图说明Description of drawings
图1为本实用新型提出的园林浇灌系统的滴灌器的局部剖面结构示意图;Fig. 1 is the partial sectional structure schematic diagram of the drip irrigator of the garden watering system proposed by the utility model;
图2为本实用新型提出的园林浇灌系统的滴灌器的结构示意图;Fig. 2 is the structural representation of the drip irrigator of the garden watering system proposed by the utility model;
图3为本实用新型提出的图1的局部放大图。FIG. 3 is a partial enlarged view of FIG. 1 proposed by the utility model.
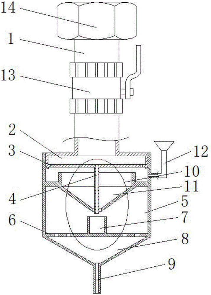
图中:1进水管、2空心盒、3滴漏孔、4滴漏管、5滴盒、6底板、7圆筒、8底斗、9底管、10凸圈、11集流斗、12药剂管、13截断阀、14连接螺圈。In the picture: 1 water inlet pipe, 2 hollow box, 3 drip hole, 4 drip tube, 5 drip box, 6 bottom plate, 7 cylinder, 8 bottom hopper, 9 bottom tube, 10 convex ring, 11 collecting hopper, 12 medicine tube , 13 shut-off valve, 14 connecting coil.
具体实施方式Detailed ways
下面将结合本实用新型实施例中的附图,对本实用新型实施例中的技术方案进行清楚、完整地描述,显然,所描述的实施例仅仅是本实用新型一部分实施例,而不是全部的实施例。The technical solutions in the embodiments of the present utility model will be clearly and completely described below with reference to the accompanying drawings in the embodiments of the present utility model. Obviously, the described embodiments are only a part of the embodiments of the present utility model, rather than all the implementations. example.
参照图1-3,园林浇灌系统的滴灌器,包括进水管1,进水管1底部设有空心盒2,空心盒2底部外壁沿外沿开有滴漏孔3,空心盒2底部外壁设有与内腔相连通的滴漏管4,空心盒2外壁螺接有滴盒5,滴盒5底部设有底板6,底板6顶部外壁中心处设有圆筒7,滴盒5内壁靠近顶部处设有凸圈10,凸圈10底部设有集流斗11,底板6底部外壁设有底斗8,底斗8底部设有与内腔相连通的底管9,滴盒5外壁靠近凸圈10顶部处开有圆孔,圆孔内插设有药剂管12,进水管1外壁对夹设置有截断阀13,进水管1外壁顶部开有螺纹槽,螺纹槽螺接有连接螺圈14,底板6外壁沿外圈处开有等距离分布的通孔,底管9的口径大于滴漏孔3和滴漏管4的口径总和,圆筒7的内径大于集流斗11底部内径,集流斗11的内径大于滴漏管4的外径,滴盒5、凸圈10和集流斗11为一体成型结构。1-3, the drip irrigation device of the garden watering system includes a
工作原理:将滴灌器通过连接螺圈14与总水管相连接,通过截断阀13的设置可以单独控制滴灌器的开关,增强使用灵活性,当滴灌器所处区域需要局部药剂滴灌时,可将药剂经由药剂管12输入滴盒5内部,药剂存储与凸圈10内,水流经进水管1流入空心盒2,在经由底部的滴漏孔3和滴漏管4分成两个流向,其中经由滴漏孔3的水流会滴落至凸圈10上,对药剂进行第一步稀释,当凸圈10顶部的药剂与水的总量超过凸圈10顶部时,就会溢流至集流管11并流入圆筒7内,经由滴漏管4的水流也会流入7内,进而对药剂进行第二次稀释,当圆筒7内混合液体存满时,就会溢出经由底板6、底斗8和底管9滴出,通过药剂管12的设置,实现单独对某一个区域滴灌器的药剂添加,解决局部药剂滴灌的实际需求,通过凸圈10和圆筒7的设置,实现药剂的两次稀释,保障药剂稀释效果,实用性强。Working principle: The drip irrigation device is connected to the main water pipe through the connecting
以上所述,仅为本实用新型较佳的具体实施方式,但本实用新型的保护范围并不局限于此,任何熟悉本技术领域的技术人员在本实用新型揭露的技术范围内,根据本实用新型的技术方案及其实用新型构思加以等同替换或改变,都应涵盖在本实用新型的保护范围之内。The above description is only a preferred embodiment of the present invention, but the protection scope of the present invention is not limited to this. Equivalent replacement or modification of the new technical solution and its utility model concept shall be included within the protection scope of the present utility model.
Claims (6)
Priority Applications (1)
| Application Number | Priority Date | Filing Date | Title |
|---|---|---|---|
| CN201921721152.5U CN210987349U (en) | 2019-10-15 | 2019-10-15 | Drip irrigation emitter of garden irrigation system |
Applications Claiming Priority (1)
| Application Number | Priority Date | Filing Date | Title |
|---|---|---|---|
| CN201921721152.5U CN210987349U (en) | 2019-10-15 | 2019-10-15 | Drip irrigation emitter of garden irrigation system |
Publications (1)
| Publication Number | Publication Date |
|---|---|
| CN210987349U true CN210987349U (en) | 2020-07-14 |
Family
ID=71467289
Family Applications (1)
| Application Number | Title | Priority Date | Filing Date |
|---|---|---|---|
| CN201921721152.5U Active CN210987349U (en) | 2019-10-15 | 2019-10-15 | Drip irrigation emitter of garden irrigation system |
Country Status (1)
| Country | Link |
|---|---|
| CN (1) | CN210987349U (en) |
-
2019
- 2019-10-15 CN CN201921721152.5U patent/CN210987349U/en active Active
Similar Documents
| Publication | Publication Date | Title |
|---|---|---|
| CN209420577U (en) | A kind of environmental protection type agricultural drip irrigation economize device | |
| CN107295847A (en) | A kind of irrigation, fertilising, the drip irrigation spray watering machine of dispenser | |
| CN106962139A (en) | A kind of agricultural planting permeates irrigation rig with drip irrigation | |
| CN210987349U (en) | Drip irrigation emitter of garden irrigation system | |
| CN206462109U (en) | A kind of greening seedling efficient water-saving irrigation device | |
| CN219741445U (en) | Municipal garden afforestation is with water conservation drip irrigation device | |
| CN106993516A (en) | A kind of agricultural planting permeates irrigation rig with drip irrigation | |
| CN206713674U (en) | A kind of novel garden determines the uniform watering appliance of root | |
| CN205813067U (en) | A kind of tree planting drip irrigation emitter | |
| CN211458160U (en) | Infiltrating irrigation flowerpot suitable for vine plants | |
| CN204232024U (en) | A kind of drip irrigation system with no pressure | |
| CN211297943U (en) | Water-saving water gun for irrigation of tobacco field | |
| CN203851565U (en) | Flow-adjustable spraying and dripping douche | |
| CN209768701U (en) | Fruit tree is with spouting medicine infusion equipment | |
| CN202455979U (en) | Greenhouse irrigation system | |
| CN209710704U (en) | A kind of sand ground crops drip irrigation system | |
| CN208768519U (en) | Test flume is used in a kind of plantation of agriculture plants | |
| CN205584950U (en) | Be applied to nozzle fall way among drip irrigation system of farmland | |
| CN206978029U (en) | It is a kind of to irrigate, apply fertilizer, the drip irrigation spray watering machine of dispenser | |
| CN207927332U (en) | A kind of water-saving type bletilla striata plantation seedbed assisting growth of seedling | |
| CN204653224U (en) | A kind of oil palm large tree live body stem vertical cultivation irrigation rig | |
| CN214229308U (en) | A landscaping drip irrigation device | |
| CN214593397U (en) | Ring root pressure-stabilizing irrigator | |
| CN202778758U (en) | Adjustable water saving drop irrigation head | |
| CN219478626U (en) | Tree cultivation irrigator |
Legal Events
| Date | Code | Title | Description |
|---|---|---|---|
| GR01 | Patent grant | ||
| GR01 | Patent grant | ||
| EE01 | Entry into force of recordation of patent licensing contract |
Assignee: Hubei Xiangrui Construction Engineering Co.,Ltd. Assignor: Wuhan landscape architecture planning and Design Institute Co.,Ltd. Contract record no.: X2024980032164 Denomination of utility model: Drip irrigation device for garden irrigation system Granted publication date: 20200714 License type: Common License Record date: 20241210 |
|
| EE01 | Entry into force of recordation of patent licensing contract |
