CN210979207U - camera bracket - Google Patents
camera bracket Download PDFInfo
- Publication number
- CN210979207U CN210979207U CN201922025485.0U CN201922025485U CN210979207U CN 210979207 U CN210979207 U CN 210979207U CN 201922025485 U CN201922025485 U CN 201922025485U CN 210979207 U CN210979207 U CN 210979207U
- Authority
- CN
- China
- Prior art keywords
- rod
- fixedly connected
- hole
- front surface
- circular
- Prior art date
- Legal status (The legal status is an assumption and is not a legal conclusion. Google has not performed a legal analysis and makes no representation as to the accuracy of the status listed.)
- Expired - Fee Related
Links
- 230000005540 biological transmission Effects 0.000 abstract description 19
- 238000010586 diagram Methods 0.000 description 3
- 230000009286 beneficial effect Effects 0.000 description 1
- 238000003384 imaging method Methods 0.000 description 1
- 238000009434 installation Methods 0.000 description 1
- 238000000034 method Methods 0.000 description 1
- 230000004048 modification Effects 0.000 description 1
- 238000012986 modification Methods 0.000 description 1
Images
Landscapes
- Studio Devices (AREA)
Abstract
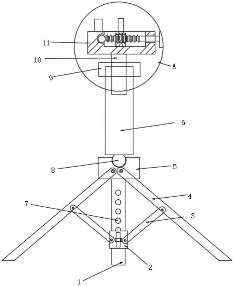
本实用新型公开了摄影托架,包括支撑杆和圆形滑筒,所述支撑杆的上端固定连接有固定座,且支撑杆的前表面呈线性等距的开设有限位孔,所述支撑杆的外部滑动连接有圆形滑筒,所述圆形滑筒的侧壁环绕铰接有铰接杆,且圆形滑筒的前表面铰接有传动杆,所述圆形滑筒的前表面开设有圆孔,所述传动杆的一端固定连接有弹簧,且传动杆的另一端下表面固定连接有限位凸起,所述限位凸起位于圆孔的内部,所述弹簧的一端固定连接在圆形滑筒的前表面上。本实用新型中当圆形滑筒移动至与之相对应的限位孔内,此时使用者放开传动杆,在弹簧的作用下使传动杆带动限位凸起插入支撑杆前表面开设的限位孔内,对圆形滑筒进行限位,提高了支撑架的稳定性。
The utility model discloses a photographing bracket, which comprises a support rod and a circular sliding cylinder, the upper end of the support rod is fixedly connected with a fixing seat, and the front surface of the support rod is provided with limit holes in a linear and equidistant manner. A circular slide cylinder is slidably connected to the outside of the circular slide cylinder, a hinge rod is hinged around the side wall of the circular slide cylinder, a transmission rod is hinged on the front surface of the circular slide cylinder, and a circular slide is opened on the front surface of the circular slide cylinder. One end of the transmission rod is fixedly connected with a spring, and the lower surface of the other end of the transmission rod is fixedly connected with a limit protrusion, the limit protrusion is located inside the circular hole, and one end of the spring is fixedly connected to the circular hole. on the front surface of the slide. In the utility model, when the circular sliding cylinder moves into the corresponding limit hole, the user releases the transmission rod, and under the action of the spring, the transmission rod drives the limit protrusion to be inserted into the hole opened on the front surface of the support rod. In the limiting hole, the circular sliding cylinder is limited, which improves the stability of the support frame.
Description
技术领域technical field
本实用新型涉及摄影托架技术领域,尤其涉及摄影托架。The utility model relates to the technical field of photographic brackets, in particular to a photographic bracket.
背景技术Background technique
我国摄影设备发展迅速,用于摄影托架设备多种多样,一般摄影装置需要将其固定在托架的上。my country's photographic equipment has developed rapidly, and there are various types of photographic brackets. Generally, photographic devices need to be fixed on the brackets.
现有的摄影托架使用的三架架使用者需要根据使用者手动对三角架进行的调节,但是三角架的稳定性不是很好,很容易发生倾倒,同时使用者在对摄影设备进行固定后也难以对摄像设备的转动角度进行调节。The user of the tripod used in the existing photographic bracket needs to manually adjust the tripod according to the user, but the stability of the tripod is not very good, and it is easy to tip over. It is also difficult to adjust the rotation angle of the imaging device.
实用新型内容Utility model content
本实用新型的目的是为了解决现有技术中存在的缺点,而提出的摄影托架。The purpose of the utility model is to solve the shortcomings of the prior art, and propose a photographic bracket.
为了实现上述目的,本实用新型采用了如下技术方案:In order to achieve the above-mentioned purpose, the utility model adopts the following technical solutions:
摄影托架,包括支撑杆和圆形滑筒,所述支撑杆的上端固定连接有固定座,且支撑杆的前表面呈线性等距的开设有限位孔,所述支撑杆的外部滑动连接有圆形滑筒,所述圆形滑筒的侧壁环绕铰接有铰接杆,且圆形滑筒的前表面铰接有传动杆,所述圆形滑筒的前表面开设有圆孔,所述传动杆的一端固定连接有弹簧,且传动杆的另一端下表面固定连接有限位凸起,所述限位凸起位于圆孔的内部,所述弹簧的一端固定连接在圆形滑筒的前表面上,所述固定座的侧壁环绕铰接有支撑架,且固定座的上表面中心位置处开设有铰接孔,所述铰接孔的内部转动连接有球体,所述铰接杆的一端铰接在支撑架的侧壁上,所述球体的上端固定连接有第一固定杆,所述第一固定杆的内部滑动连接有第二固定杆,且第一固定杆的外部套有螺母,所述第二固定杆的上端固定连接有工作台,所述工作台的上端一侧固定连接有第一固定块,且工作台的上表面开设有滑槽,所述滑槽的内部滑动连接有滑块,且滑槽的内部转动连接有螺杆,所述螺杆的外部套有滑块,所述滑块的上端固定连接有第二固定块。The photographic bracket includes a support rod and a circular sliding cylinder, the upper end of the support rod is fixedly connected with a fixed seat, and the front surface of the support rod is linearly equidistant to open limit holes, and the outside of the support rod is slidably connected with A circular sliding cylinder, the side wall of the circular sliding cylinder is hinged with a hinge rod, and the front surface of the circular sliding cylinder is hinged with a transmission rod, and a circular hole is opened on the front surface of the circular sliding cylinder, and the transmission One end of the rod is fixedly connected with a spring, and the lower surface of the other end of the transmission rod is fixedly connected with a limiting protrusion, the limiting protrusion is located inside the circular hole, and one end of the spring is fixedly connected to the front surface of the circular sliding cylinder A support frame is hinged around the side wall of the fixing seat, and a hinge hole is opened at the center position of the upper surface of the fixing seat. The inner part of the hinge hole is rotatably connected with a sphere, and one end of the hinge rod is hinged to the support frame. On the side wall of the sphere, a first fixing rod is fixedly connected to the upper end of the sphere, a second fixing rod is slidably connected inside the first fixing rod, and a nut is sleeved on the outside of the first fixing rod, and the second fixing rod is The upper end of the rod is fixedly connected with a worktable, the upper end of the worktable is fixedly connected with a first fixing block, and the upper surface of the worktable is provided with a chute, the interior of the chute is slidably connected with a sliding block, and the sliding A screw is rotatably connected to the inside of the groove, a slider is sleeved on the outside of the screw, and a second fixing block is fixedly connected to the upper end of the slider.
优选的,所述第一固定杆的表面开设有外螺纹,且第一固定杆的外径和螺母的内径相等,所述第一固定杆和螺母通过螺纹转动连接。Preferably, the surface of the first fixing rod is provided with an external thread, and the outer diameter of the first fixing rod is equal to the inner diameter of the nut, and the first fixing rod and the nut are connected through a threaded rotation.
优选的,所述球体的外径大于铰接孔的内径,且球体和铰接孔之间为过盈配合。Preferably, the outer diameter of the sphere is larger than the inner diameter of the hinge hole, and there is an interference fit between the sphere and the hinge hole.
优选的,所述滑块的侧壁开设有螺纹孔,且滑块和螺杆通过螺纹转动连接。Preferably, the side wall of the sliding block is provided with a threaded hole, and the sliding block and the screw rod are rotatably connected by a thread.
优选的,所述限位孔的内径大于限位凸起的外径,且限位孔和限位凸起之间为间隙配合。Preferably, the inner diameter of the limiting hole is larger than the outer diameter of the limiting protrusion, and the limiting hole and the limiting protrusion are in clearance fit.
优选的,所述支撑架共设置有3个,且相邻两个支撑架之间的夹角为120度。Preferably, there are three supporting frames in total, and the included angle between two adjacent supporting frames is 120 degrees.
与现有技术相比,本实用新型的有益效果是:Compared with the prior art, the beneficial effects of the present utility model are:
1.本实用新型中通过使用者手动滑动圆形滑筒,并同时按压传动杆的一端,使圆形滑筒带动铰接杆移动,使铰接杆带动支撑架倾斜,当圆形滑筒移动至与之相对应的限位孔内,此时使用者放开传动杆,在弹簧的作用下使传动杆带动限位凸起插入支撑杆前表面开设的限位孔内,从对圆形滑筒进行限位,从而提高了支撑架的稳定性。1. In this utility model, the user manually slides the circular slide cylinder and simultaneously presses one end of the transmission rod, so that the circular slide cylinder drives the hinge rod to move, so that the hinge rod drives the support frame to incline. At this time, the user releases the transmission rod, and under the action of the spring, the transmission rod drives the limit protrusion into the limit hole opened on the front surface of the support rod, and the circular sliding cylinder is moved. limit, thereby improving the stability of the support frame.
2.本实用新型中通过使用者将摄影设备放在工作台的上端,然后手动转动螺杆,对摄影设备进行固定后,使用者转动螺母,使螺母移动至第一固定杆的上方,将第二固定杆抽出合适的位置后,将螺母拧紧,方便使用者对摄像设备的高度进行调节,若使用者需要对摄影设备的角度进行调节时,此时使用者手动转动工作台,使工作台带动第二固定杆转动,使第二固定杆带动第一固定杆转动,从而使第一固定杆底端固定连接的球体在铰接孔内转动合适的角度即可,从而提高了摄影托架的使用效率。2. In the present utility model, the user places the photographic equipment on the upper end of the workbench, and then manually rotates the screw. After fixing the photographic equipment, the user rotates the nut to move the nut to the top of the first fixing rod, and the second After the fixing rod is pulled out of the proper position, tighten the nut, which is convenient for the user to adjust the height of the camera equipment. The two fixed rods rotate, so that the second fixed rod drives the first fixed rod to rotate, so that the sphere fixedly connected at the bottom end of the first fixed rod can be rotated by an appropriate angle in the hinge hole, thereby improving the use efficiency of the photographic bracket.
附图说明Description of drawings
图1为本实用新型的结构示意图;Fig. 1 is the structural representation of the utility model;
图2为本实用新型的圆形滑筒结构示意图;Fig. 2 is a schematic diagram of the structure of a circular sliding cylinder of the present invention;
图3为本实用新型的支撑架安装结构示意图;3 is a schematic diagram of the support frame installation structure of the present invention;
图4为本实用新型的第一固定杆结构示意图;4 is a schematic structural diagram of the first fixing rod of the present invention;
图5为本实用新型的A局部结构放大示意图。FIG. 5 is an enlarged schematic view of a partial structure of A of the present invention.
图中:1、支撑杆;2、圆形滑筒;3、铰接杆;4、支撑架;5、固定座;6、第一固定杆;7、限位孔;8、球体;9、螺母;10、第二固定杆;11、工作台;12、限位凸起;13、圆孔;14、传动杆;15、弹簧;16、铰接孔;17、第一固定块;18、第二固定块;19、螺杆;20、滑槽;21、滑块。In the figure: 1. Support rod; 2. Circular sliding cylinder; 3. Hinged rod; 4. Support frame; 5. Fixed seat; 6. First fixed rod; 7. Limit hole; 8. Ball; 9. Nut ; 10, the second fixing rod; 11, the worktable; 12, the limit protrusion; 13, the circular hole; 14, the transmission rod; 15, the spring; 16, the hinge hole; 17, the first fixing block; 18, the second Fixed block; 19, screw; 20, chute; 21, slider.
具体实施方式Detailed ways
下面将结合本实用新型实施例中的附图,对本实用新型实施例中的技术方案进行清楚、完整地描述,显然,所描述的实施例仅仅是本实用新型一部分实施例,而不是全部的实施例。The technical solutions in the embodiments of the present utility model will be clearly and completely described below with reference to the accompanying drawings in the embodiments of the present utility model. Obviously, the described embodiments are only a part of the embodiments of the present utility model, rather than all the implementations. example.
参照图1-5,摄影托架,包括支撑杆1和圆形滑筒2,支撑杆1的上端固定连接有固定座5,且支撑杆1的前表面呈线性等距的开设有限位孔7,支撑杆1的外部滑动连接有圆形滑筒2,圆形滑筒2的侧壁环绕铰接有铰接杆3,且圆形滑筒2的前表面铰接有传动杆14,圆形滑筒2的前表面开设有圆孔13,传动杆14的一端固定连接有弹簧15,且传动杆14的另一端下表面固定连接有限位凸起12,限位凸起12位于圆孔13的内部,弹簧15的一端固定连接在圆形滑筒2的前表面上,固定座5的侧壁环绕铰接有支撑架4,且固定座5的上表面中心位置处开设有铰接孔16,铰接孔16的内部转动连接有球体8,铰接杆3的一端铰接在支撑架4的侧壁上,球体8的上端固定连接有第一固定杆6,第一固定杆6的内部滑动连接有第二固定杆10,且第一固定杆6的外部套有螺母9,第二固定杆10的上端固定连接有工作台11,工作台11的上端一侧固定连接有第一固定块17,且工作台11的上表面开设有滑槽20,滑槽20的内部滑动连接有滑块21,且滑槽20的内部转动连接有螺杆19,螺杆19的外部套有滑块21,滑块21的上端固定连接有第二固定块18。1-5, the photographic bracket includes a support rod 1 and a circular sliding
第一固定杆6的表面开设有外螺纹,且第一固定杆6的外径和螺母9的内径相等,第一固定杆6和螺母9通过螺纹转动连接;球体8的外径大于铰接孔16的内径,且球体8和铰接孔16之间为过盈配合;滑块21的侧壁开设有螺纹孔,且滑块21和螺杆19通过螺纹转动连接;限位孔7的内径大于限位凸起12的外径,且限位孔7和限位凸起12之间为间隙配合;支撑架4共设置有3个,且相邻两个支撑架4之间的夹角为120度。The surface of the
工作原理:通过使用者手动滑动圆形滑筒2,并同时按压传动杆14的一端,使圆形滑筒2带动铰接杆3移动,使铰接杆3带动支撑架4倾斜,当圆形滑筒2移动至与之相对应的限位孔7内,此时使用者放开传动杆14,在弹簧15的作用下使传动杆14带动限位凸起12插入支撑杆1前表面开设的限位孔7内,从对圆形滑筒2进行限位,对支撑架4的倾斜角度进行限定,从而提高了支撑架4的稳定性;通过使用者将摄影设备放在工作台11的上端,然后手动转动螺杆19,对摄影设备进行固定后,使用者转动螺母9,使螺母9移动至第一固定杆6的上方,将第二固定杆10抽出合适的位置后,将螺母9拧紧,方便使用者对摄像设备的高度进行调节,若使用者需要对摄影设备的角度进行调节时,此时使用者手动转动工作台11,使工作台11带动Working principle: The user manually slides the
第二固定杆10转动,使第二固定杆10带动第一固定杆6转动,从而使第一固定杆6底端固定连接的球体8在铰接孔16内转动合适的角度即可,从而提高了摄影托架的使用效率。The second
以上所述,仅为本实用新型较佳的具体实施方式,但本实用新型的保护范围并不局限于此,任何熟悉本技术领域的技术人员在本实用新型揭露的技术范围内,根据本实用新型的技术方案及其实用新型构思加以等同替换或改变,都应涵盖在本实用新型的保护范围之内。The above description is only a preferred embodiment of the present invention, but the protection scope of the present invention is not limited to this. Equivalent replacement or modification of the new technical solution and its utility model concept shall be included within the protection scope of the present utility model.
Claims (6)
Priority Applications (1)
| Application Number | Priority Date | Filing Date | Title |
|---|---|---|---|
| CN201922025485.0U CN210979207U (en) | 2019-11-21 | 2019-11-21 | camera bracket |
Applications Claiming Priority (1)
| Application Number | Priority Date | Filing Date | Title |
|---|---|---|---|
| CN201922025485.0U CN210979207U (en) | 2019-11-21 | 2019-11-21 | camera bracket |
Publications (1)
| Publication Number | Publication Date |
|---|---|
| CN210979207U true CN210979207U (en) | 2020-07-10 |
Family
ID=71423501
Family Applications (1)
| Application Number | Title | Priority Date | Filing Date |
|---|---|---|---|
| CN201922025485.0U Expired - Fee Related CN210979207U (en) | 2019-11-21 | 2019-11-21 | camera bracket |
Country Status (1)
| Country | Link |
|---|---|
| CN (1) | CN210979207U (en) |
Cited By (2)
| Publication number | Priority date | Publication date | Assignee | Title |
|---|---|---|---|---|
| CN111810805A (en) * | 2020-07-30 | 2020-10-23 | 广州心蛙科技有限责任公司 | Thing networking server mounting bracket suitable for outdoor setting |
| CN112032512A (en) * | 2020-09-19 | 2020-12-04 | 绍兴上虞升辉摄影器材有限公司 | Outdoor photography support |
-
2019
- 2019-11-21 CN CN201922025485.0U patent/CN210979207U/en not_active Expired - Fee Related
Cited By (2)
| Publication number | Priority date | Publication date | Assignee | Title |
|---|---|---|---|---|
| CN111810805A (en) * | 2020-07-30 | 2020-10-23 | 广州心蛙科技有限责任公司 | Thing networking server mounting bracket suitable for outdoor setting |
| CN112032512A (en) * | 2020-09-19 | 2020-12-04 | 绍兴上虞升辉摄影器材有限公司 | Outdoor photography support |
Similar Documents
| Publication | Publication Date | Title |
|---|---|---|
| CN104848008B (en) | Photographing camera rack rod capable of adjusting angle at will | |
| CN210979207U (en) | camera bracket | |
| CN108421796A (en) | Cleaning device inside and outside a kind of novel flask | |
| JP2020177212A (en) | Selfie stick convenient to adjust | |
| CN207921699U (en) | A kind of miniature photography equipment stabilising arrangement | |
| CN107583130A (en) | A portable infusion stand | |
| CN211574593U (en) | Thermal imaging camera photography holder with adjustable angle | |
| CN209777894U (en) | Dustproof and anti-winding wire storage device for computer application technology major | |
| CN211293570U (en) | Teaching auxiliary device based on computer knowledge | |
| CN219712933U (en) | A mobile video surveillance device | |
| CN216819192U (en) | A leakage pipeline repairing device for electrical engineering and its automation | |
| CN216243097U (en) | Visual design camera shooting tool | |
| CN216201126U (en) | Adjustable pipeline bracket | |
| CN214535249U (en) | Angle-adjustable video shooting support | |
| CN211649624U (en) | An installation structure of an industrial camera | |
| CN211344519U (en) | Mounting mechanism of office display support | |
| CN219832044U (en) | Sand table for training | |
| CN208950341U (en) | A kind of very poor control tool of window abutment wall concentric reducer thickness | |
| CN221570128U (en) | Support convenient for installing camera | |
| CN221892863U (en) | An adjustable green board for teaching | |
| CN221324016U (en) | Multifunctional photography bracket | |
| CN207869223U (en) | A kind of video conference rotating pick-up head | |
| CN220506266U (en) | Multi-angle remote sensing photographing device | |
| CN218601661U (en) | Radiographic imaging shooting table convenient to adjust | |
| CN207593608U (en) | The fixing device of photovoltaic glass |
Legal Events
| Date | Code | Title | Description |
|---|---|---|---|
| GR01 | Patent grant | ||
| GR01 | Patent grant | ||
| CF01 | Termination of patent right due to non-payment of annual fee | ||
| CF01 | Termination of patent right due to non-payment of annual fee |
Granted publication date: 20200710 Termination date: 20201121 |
