CN210962390U - Spraying and sucking integrated electric toothbrush - Google Patents
Spraying and sucking integrated electric toothbrush Download PDFInfo
- Publication number
- CN210962390U CN210962390U CN201920851264.6U CN201920851264U CN210962390U CN 210962390 U CN210962390 U CN 210962390U CN 201920851264 U CN201920851264 U CN 201920851264U CN 210962390 U CN210962390 U CN 210962390U
- Authority
- CN
- China
- Prior art keywords
- liquid
- channel
- brush head
- brush
- rotating
- Prior art date
- Legal status (The legal status is an assumption and is not a legal conclusion. Google has not performed a legal analysis and makes no representation as to the accuracy of the status listed.)
- Expired - Fee Related
Links
Images
Landscapes
- Brushes (AREA)
Abstract
本实用新型公开了一种喷吸一体式电动牙刷,包括牙刷本体、转动刷头和动力组件;牙刷本体为一体结构,包括前端的刷头槽、中间的刷杆和后端的刷柄;刷杆内设有喷液通道、吸液通道和通孔,喷液通道和吸液通道均一端连通刷头槽,另一端伸出刷杆后端侧壁;动力组件包括旋转电机和传动杆,旋转电机安装在电机安装槽内,旋转电机的动力输出轴固定连接传动杆,传动杆穿过通孔固定连接转动刷头。牙刷本体上转动安装有控制喷液通道和吸液通道开合的旋钮。本实用新型提供的电动牙刷,通过旋钮控制喷液通道向病人口腔中喷水,控制吸液通道抽吸病人口腔中刷完牙的污水,并利用旋转电机带动转动刷头旋转刷牙,大大减轻了医护人员的工作负担。
The utility model discloses a spray-suction integrated electric toothbrush, comprising a toothbrush body, a rotating brush head and a power assembly; the toothbrush body is an integral structure, comprising a brush head groove at the front end, a brush rod in the middle and a brush handle at the rear end; the brush rod There is a liquid spray channel, a liquid suction channel and a through hole. One end of the liquid spray channel and the liquid suction channel is connected to the brush head groove, and the other end extends out of the rear end side wall of the brush rod; the power component includes a rotating motor and a transmission rod, and the rotating motor The utility model is installed in the motor installation groove, and the power output shaft of the rotating motor is fixedly connected to the transmission rod, and the transmission rod is fixedly connected to the rotating brush head through the through hole. A knob for controlling the opening and closing of the liquid spray channel and the liquid suction channel is rotatably installed on the toothbrush body. The electric toothbrush provided by the utility model controls the spray channel to spray water into the patient's mouth through the knob, controls the suction channel to suck the sewage in the patient's mouth after brushing the teeth, and uses the rotating motor to drive the rotating brush head to rotate the brushing teeth, which greatly reduces the need for Workload of healthcare workers.
Description
技术领域technical field
本实用新型涉及一种牙刷,尤其涉及一种喷吸一体式电动牙刷,属于医疗器械领域。The utility model relates to a toothbrush, in particular to a spray-suction integrated electric toothbrush, which belongs to the field of medical equipment.
背景技术Background technique
众所周知,病人尤其是生活不能自理、卧床重症病人的口腔区非常容易滋生细菌;病人在长期卧床过程中,其口腔的卫生得不到保障,若病人的口腔在长期不清洗的情况下,口腔中的细菌会越来越多,增加了口腔的细菌感染几率,易发生口臭、口腔炎或者口腔溃疡等,同时也会使得牙齿的损伤也十分严重,并且口腔中各种细菌也容易被吸入肺中促发相应的肺病。而病人无法自己对口腔进行清理,只有依靠医护人员定期进行清洗,可见医护人员的适时清洗对卧床病人的口腔尤为重要。As we all know, the oral area of patients, especially those who cannot take care of themselves and are bedridden, is very easy to breed bacteria. During the long-term bedridden process of patients, the hygiene of their oral cavity cannot be guaranteed. If the patient's oral cavity is not cleaned for a long time, the There will be more and more bacteria in the mouth, increasing the probability of bacterial infection in the oral cavity, prone to bad breath, stomatitis or oral ulcers, etc. At the same time, it will also cause serious damage to the teeth, and various bacteria in the oral cavity are also easily inhaled into the lungs promote the corresponding lung disease. However, the patient cannot clean the oral cavity by himself, and can only rely on the medical staff to clean it regularly. It can be seen that the timely cleaning of the medical staff is particularly important for the oral cavity of the bedridden patient.
现有技术中,传统的做法是采用普通的牙刷来帮助病人刷牙,使用普通的牙刷来给病人刷牙虽然能刷出病人牙缝等死角处的残渣,但是,普通牙刷仅具有刷牙功能,而不具备添加清洗液清洗以及将刷牙后的污水清除掉的功能,使用时需要医护人员手动摆动方能帮助病人刷除残渣,因此实用性不强,费时费力。In the prior art, the traditional method is to use an ordinary toothbrush to help the patient to brush his teeth. Although the ordinary toothbrush can be used to brush the patient's teeth, the residues in the dead corners such as the patient's teeth can be brushed out. However, the ordinary toothbrush only has the function of brushing teeth, not It has the functions of adding cleaning liquid to clean and removing the sewage after brushing teeth. When using it, medical staff need to manually swing it to help patients brush off the residue, so it is not practical and time-consuming and labor-intensive.
实用新型内容Utility model content
为了解决以上问题,本实用新型的目的是提供一种喷吸一体式电动牙刷,通过旋钮控制喷液通道向病人口腔中喷水,控制吸液通道抽吸病人口腔中刷完牙的污水,并利用旋转电机带动转动刷头旋转刷牙,以减轻医护人员的工作负担。In order to solve the above problems, the purpose of the present utility model is to provide a spray-suction integrated electric toothbrush, which can control the spray channel to spray water into the patient's mouth through the knob, and control the suction channel to suck the sewage after brushing the teeth in the patient's mouth. The rotating motor is used to drive the rotating brush head to rotate and brush teeth, so as to reduce the workload of medical staff.
为了实现以上目的,本实用新型采用的技术方案:In order to achieve the above purpose, the technical scheme adopted by the present utility model:
一种喷吸一体式电动牙刷,包括牙刷本体、转动刷头和动力组件;A spray-suction integrated electric toothbrush, comprising a toothbrush body, a rotating brush head and a power assembly;
所述牙刷本体为一体结构,包括前端的刷头槽、中间的刷杆和后端的刷柄;所述转动刷头转动安装在所述刷头槽内;所述刷杆内设有喷液通道、吸液通道和通孔,所述喷液通道、吸液通道和通孔的轴线均位于同一竖直平面内,所述喷液通道和吸液通道均一端连通所述刷头槽,另一端伸出所述刷杆后端侧壁,所述刷柄内设有电机安装槽;The toothbrush body is an integral structure, including a brush head groove at the front end, a brush rod in the middle and a brush handle at the rear end; the rotating brush head is rotatably installed in the brush head groove; the brush rod is provided with a liquid spray channel , suction channel and through hole, the axes of the spray channel, suction channel and through hole are all located in the same vertical plane, the spray channel and suction channel are all connected to the brush head groove at one end, and the other end Extending out of the rear end side wall of the brush rod, a motor mounting slot is arranged in the brush handle;
所述动力组件包括旋转电机和传动杆,所述旋转电机安装在所述电机安装槽内,旋转电机的动力输出轴固定连接所述传动杆,所述传动杆穿过所述通孔固定连接所述转动刷头。The power assembly includes a rotary motor and a transmission rod, the rotary motor is installed in the motor installation groove, the power output shaft of the rotary motor is fixedly connected to the transmission rod, and the transmission rod is fixedly connected to the through hole through the through hole. Rotate the brush head as described above.
所述牙刷本体上转动安装有控制喷液通道和吸液通道开合的旋钮。A knob for controlling the opening and closing of the liquid spray channel and the liquid suction channel is rotatably installed on the toothbrush body.
本实用新型中,通过设置有喷液通道,将刷牙的清洗液输送至刷头槽,并喷送到病人口腔中,可便于医护人员在给病人进行刷牙时,快速添加清洗液,省去另寻刷牙杯往病人口中倒入清洗液的麻烦。通过设置有吸液通道,可便于医护人员在给病人刷牙后,将病人口腔中污水吸走,能尽量避免病人口腔中的污水被病人误吞或溢流至地面。通过设置有旋转电机带动转动刷头转动,自动刷牙,省去医护人员来回拉动牙刷给病人刷牙的麻烦,使用方便,省时省力,大大减轻了医护人员的工作负担。In the utility model, the cleaning liquid for brushing teeth is transported to the brush head groove and sprayed into the mouth of the patient by being provided with a liquid spray channel, which can facilitate the medical staff to quickly add the cleaning liquid when brushing the patient's teeth, saving the need for additional cleaning. Looking for the trouble of pouring cleaning solution into a patient's mouth from a toothbrush cup. By being provided with a suction channel, it is convenient for medical staff to suck away the sewage in the patient's mouth after brushing the patient's teeth, and it can try to prevent the sewage in the patient's mouth from being swallowed by the patient or overflowing to the ground. By being provided with a rotating motor to drive the rotating brush head to rotate, the teeth are automatically brushed, which saves the trouble of the medical staff from pulling the toothbrush back and forth to brush the patient's teeth, which is convenient to use, saves time and labor, and greatly reduces the workload of the medical staff.
进一步的是,所述旋钮为一体结构,包括上端的手持旋转盘、中间的圆柱件和下端的转轴;所述手持旋转盘顶端面设有指示头,所述圆柱件侧壁上沿圆柱件径向设有喷液连接通道和吸液连接通道,所述喷液连接通道和吸液连接通道沿圆柱件周向错位,轴向上下分布。Further, the knob is an integrated structure, including a hand-held rotary disk at the upper end, a cylindrical member in the middle and a rotating shaft at the lower end; the top surface of the hand-held rotary disk is provided with an indicator head, and the side wall of the cylindrical member is along the diameter of the cylindrical member. A liquid-spraying connection channel and a liquid-suction connecting channel are arranged in the direction, and the liquid-spraying connecting channel and the liquid-suction connecting channel are dislocated along the circumferential direction of the cylindrical part and distributed up and down in the axial direction.
本实用新型中,通过设置有旋钮,控制喷液通道和吸液通道的开合,需要喷液通道连通时,旋转旋钮,使旋钮的喷液连接通道对准左右两侧的喷液通道,将其连通,便于清洗液进入刷头槽内;需要吸液通道连通时,旋转旋钮,使旋钮的吸液连接通道对准左右两侧的吸液通道,将其连通,以便于吸取刷头槽内的污水。喷液连接通道在上,吸液连接通道在下,两者沿圆柱件周向错位,使得旋转旋钮时,喷液通道和吸液通道只能连通一个,以便于牙刷的喷液和吸液工序分开进行,便于医护人员操作。In the utility model, a knob is provided to control the opening and closing of the liquid spray channel and the liquid suction channel. When the liquid spray channel needs to be connected, the knob is rotated so that the liquid spray connection channel of the knob is aligned with the left and right liquid spray channels. It is connected to facilitate the cleaning liquid to enter the brush head groove; when the suction channel needs to be connected, rotate the knob to make the suction connection channel of the knob align with the suction channels on the left and right sides, and connect them to facilitate the suction of the brush head groove. of sewage. The spray connection channel is on the top, and the suction connection channel is at the bottom, and the two are dislocated along the circumference of the cylindrical part, so that when the knob is rotated, the spray channel and the suction channel can only be connected to one, so that the spray and suction processes of the toothbrush are separated. It is convenient for medical staff to operate.
进一步的是,所述动力组件还包括充电电池和开关按钮;所述充电电池安装在所述电机安装槽内旋转电机的后端,并与所述旋转电机电连接;所述开关按钮安装在所述刷杆侧壁上并与所述旋转电机电连接。通过设置有充电电池为旋转电机供电,省去外接电线的麻烦,并利用开关按钮控制旋转电机开启,控制转动刷头转动,以便于操作。Further, the power assembly also includes a rechargeable battery and a switch button; the rechargeable battery is installed at the rear end of the rotating motor in the motor installation slot, and is electrically connected with the rotating motor; the switch button is installed in the on the side wall of the brush rod and electrically connected with the rotating motor. A rechargeable battery is provided to supply power to the rotating motor, saving the trouble of connecting an external wire, and using a switch button to control the opening of the rotating motor and control the rotation of the rotating brush head to facilitate operation.
进一步的是,所述喷液通道的进液口通过喷液管连接供水器,所述吸液通道的出液口通过吸液管连接负压吸引器。在喷液时,通过供水器供水,将清洗液输送至病人口腔;在吸液时,通过负压吸引器产生负压,将病人口腔中的污水吸引至负压吸引器内,清理病人口腔里刷完牙后的污水。Further, the liquid inlet of the liquid spray channel is connected to the water supply device through a liquid spray pipe, and the liquid outlet of the liquid suction channel is connected to the negative pressure suction device through a liquid suction pipe. When spraying liquid, the cleaning liquid is delivered to the patient's mouth by supplying water through the water supply device; when sucking liquid, negative pressure is generated by the negative pressure suction device, and the sewage in the patient's mouth is sucked into the negative pressure suction device to clean the patient's mouth. Sewage after brushing your teeth.
进一步的是,所述吸液通道的进液口位于所述刷头槽内;所述刷头槽内设有连通所述喷液通道的刷头槽喷液通道,所述刷头槽喷液通道的出液口位于刷头槽左侧侧板的顶端面,以便于向病人口腔中的牙齿喷水。Further, the liquid inlet of the suction channel is located in the brush head groove; the brush head groove is provided with a brush head groove spray channel that communicates with the liquid spray channel, and the brush head groove sprays liquid. The liquid outlet of the channel is located on the top surface of the left side plate of the brush head slot, so as to spray water to the teeth in the patient's mouth.
进一步的是,所述喷液管和吸液管上均安装有单向阀,使喷液管和吸液管内的液体均单向连通,防止喷液管和吸液管内的液体倒流。Further, a one-way valve is installed on the liquid spray pipe and the liquid suction pipe, so that the liquid in the liquid spray pipe and the liquid suction pipe is connected in one direction, and the liquid in the liquid spray pipe and the liquid suction pipe is prevented from flowing backward.
进一步的是,所述刷柄后端安装有刷柄罩,罩住刷柄内的充电电池,以便于充电电池的充电和更换。Further, a brush handle cover is installed at the rear end of the brush handle to cover the rechargeable battery in the brush handle, so as to facilitate charging and replacement of the rechargeable battery.
本实用新型的有益效果:The beneficial effects of the present utility model:
本实用新型提供的喷吸一体式电动牙刷,使用方便,能大大减轻医护人员的工作负担;通过旋转电机带动转动刷头转动,自动刷牙,省去医护人员来回拉动牙刷给病人刷牙的麻烦,省时省力;通过旋转旋钮,使喷液通道和吸液通道只能连通一个,以便于牙刷的喷液和吸液工序分开进行,便于医护人员操作;The spray-suction integrated electric toothbrush provided by the utility model is convenient to use and can greatly reduce the workload of medical staff; the rotating brush head is driven to rotate by the rotating motor, and the teeth are automatically brushed, which saves the medical staff the trouble of pulling the toothbrush back and forth to brush the teeth of the patient, saves Time-saving and labor-saving; by rotating the knob, the spray channel and the suction channel can only be connected to one, so that the spray and suction processes of the toothbrush can be carried out separately, and it is convenient for medical staff to operate;
本实用新型提供的电动牙刷,喷液时通过喷液通道,将清洗液输送至病人口腔中,省去医护人员另寻刷牙杯往病人口中倒入清洗液的麻烦;吸液时,通过吸液通道将病人口腔中污水吸走,能尽量避免病人口腔中的污水被病人误吞或溢流至地面,大大减轻了医护人员的工作负担。The electric toothbrush provided by the utility model, when spraying liquid, conveys the cleaning liquid to the patient's mouth through the liquid spraying channel, and saves the trouble of medical staff from finding another toothbrush cup to pour the cleaning liquid into the patient's mouth; The channel sucks away the sewage in the patient's mouth, which can try to prevent the sewage in the patient's mouth from being swallowed by the patient or overflowing to the ground, which greatly reduces the workload of the medical staff.
附图说明Description of drawings
图1为本实用新型实施例1的结构示意图;Fig. 1 is the structural representation of
图2为本实用新型实施例1的剖视图;Fig. 2 is the sectional view of the
图3为本实用新型旋钮的结构示意图;Fig. 3 is the structural representation of the knob of the utility model;
图4为本实用新型实施例2的示意图;4 is a schematic diagram of Embodiment 2 of the present utility model;
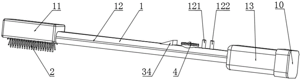
图中:1、牙刷本体;11、刷头槽;111、刷头槽喷液通道;12、刷杆;121、喷液通道;122、吸液通道;123、通孔;13、刷柄;131、电机安装槽;2、转动刷头;3、动力组件;31、旋转电机;32、传动杆;33、充电电池;34、开关按钮;4、旋钮;41、手持旋转盘;411、指示头;42、圆柱件;421、喷液连接通道;422、吸液连接通道;43、转轴;5、喷液管;6、供水器;7、吸液管;8、负压吸引器;9、单向阀;10、刷柄罩。In the figure: 1, toothbrush body; 11, brush head groove; 111, brush head groove spray channel; 12, brush rod; 121, liquid spray channel; 122, suction channel; 123, through hole; 13, brush handle; 131, motor installation slot; 2, rotating brush head; 3, power assembly; 31, rotating motor; 32, transmission rod; 33, rechargeable battery; 34, switch button; 4, knob; 41, hand-held rotary disk; 411, indication Head; 42, cylindrical part; 421, spray connection channel; 422, suction connection channel; 43, rotating shaft; 5, spray pipe; 6, water supply; 7, suction pipe; 8, negative pressure suction device; 9 , One-way valve; 10. Brush handle cover.
具体实施方式Detailed ways
为了使本实用新型的目的、技术方案和优点更加清楚,下面结合附图对本实用新型作进一步阐述。在本实用新型的描述中,需要理解的是,术语“上”、“下”、“前”、“后”、“左”、“右”、“顶”、“底”、“内”、“外”等指示的方位或位置关系为基于附图所示的方位或位置关系,仅是为了便于描述本实用新型和简化描述,而不是指示或暗示所指的装置或元件必须具有特定的方位、以特定的方位构造和操作,因此不能理解为对本实用新型的限制。In order to make the purpose, technical solutions and advantages of the present utility model clearer, the present utility model is further described below with reference to the accompanying drawings. In the description of the present invention, it should be understood that the terms "upper", "lower", "front", "rear", "left", "right", "top", "bottom", "inside", The orientation or positional relationship indicated by "outside" is based on the orientation or positional relationship shown in the accompanying drawings, which is only for the convenience of describing the present invention and simplifying the description, rather than indicating or implying that the indicated device or element must have a specific orientation , are constructed and operated in a specific orientation, and therefore should not be construed as a limitation of the present invention.
在本实用新型的描述中,需要说明的是,除非另有明确的规定和限定,术语“安装”、“设置有”、“套设/接”、“连接”等,应做广义理解,例如“连接”,可以是固定连接,也可以是可拆卸连接,或一体地连接;可以是机械连接,也可以是电连接;可以是直接相连,也可以通过中间媒介间接相连,可以是两个元件内部的连通。对于本领域的普通技术人员而言,可以具体情况理解上述术语在本实用新型中的具体含义。In the description of the present invention, it should be noted that, unless otherwise expressly specified and limited, the terms "installation", "provided with", "sleeve/connection", "connection", etc., should be understood in a broad sense, such as "Connection" can be a fixed connection, a detachable connection, or an integral connection; it can be a mechanical connection or an electrical connection; it can be a direct connection or an indirect connection through an intermediate medium, and it can be two elements Internal connectivity. For those of ordinary skill in the art, the specific meanings of the above terms in the present invention can be understood in specific situations.
实施例1Example 1
一种喷吸一体式电动牙刷,如图1-3所示,包括牙刷本体1、转动刷头2和动力组件3;A spray-suction integrated electric toothbrush, as shown in Figures 1-3, includes a
牙刷本体1为一体结构,包括前端的刷头槽11、中间的刷杆12和后端的刷柄13;转动刷头2转动安装在刷头槽11内;刷杆12内设有喷液通道121、吸液通道122和通孔123,喷液通道121、吸液通道122和通孔123的轴线均位于同一竖直平面内,喷液通道121和吸液通道122均一端连通刷头槽11,另一端伸出刷杆12后端侧壁,刷柄13内设有电机安装槽131;刷柄13后端安装有刷柄罩10。The
吸液通道122的进液口位于刷头槽11内;刷头槽11内设有连通喷液通道121的刷头槽喷液通道111,刷头槽喷液通道111的出液口位于刷头槽11左侧侧板的顶端面。The liquid inlet of the
动力组件3包括旋转电机31、传动杆32、充电电池33和开关按钮34;旋转电机31安装在电机安装槽131内,旋转电机31的动力输出轴固定连接传动杆32,传动杆32穿过通孔123固定连接转动刷头2;充电电池33安装在电机安装槽131内旋转电机31的后端,并与旋转电机31电连接;开关按钮34安装在刷杆12侧壁上并与旋转电机31电连接。The
牙刷本体1上转动安装有控制喷液通道121和吸液通道122开合的旋钮4。旋钮4为一体结构,包括上端的手持旋转盘41、中间的圆柱件42和下端的转轴43;手持旋转盘41顶端面设有指示头411,以便于和刷杆12上的指示标识对应,和牙刷的使用状态一一对应,圆柱件42侧壁上沿圆柱件42径向设有喷液连接通道421和吸液连接通道422,喷液连接通道421和吸液连接通道422沿圆柱件42周向错位,轴向上下分布。A
在具体使用时,通过控制旋转电机31带动转动刷头2转动,自动刷牙,省去医护人员来回拉动牙刷给病人刷牙的麻烦,通过旋转旋钮4,使旋钮4两端的喷液通道121或者吸液通道122连通,喷液通道121和吸液通道122只能连通一个,将牙刷的喷液和吸液工序分开。喷液时,通过喷液通道121将刷牙的清洗液输送至病人口腔中,可便于医护人员在给病人进行刷牙时,快速添加清洗液,省去另寻刷牙杯往病人口中倒入清洗液的麻烦。吸液时,通过吸液通道122将病人口腔中污水吸走,能尽量避免病人口腔中的污水被病人误吞或溢流至地面。In specific use, by controlling the
实施例2Example 2
本实施例在实施例1的基础上作进一步的改进,如图4所示,喷液通道121的进液口通过喷液管5连接供水器6,吸液通道122的出液口通过吸液管7连接负压吸引器8;喷液管5和吸液管7上均安装有单向阀9。本实施中,供水器6和负压吸引器8均为市场上常规供水器和负压吸引器。This embodiment is further improved on the basis of
在喷液时,通过供水器6供水,将清洗液输送至病人口腔中;在吸液时,通过负压吸引器8产生负压,将病人口腔中的污水吸引至负压吸引器8内,清理病人口腔里刷完牙后的污水;通过单向阀9使喷液管5和吸液管7内的液体均单向连通,防止喷液管5和吸液管7内的液体倒流。When spraying liquid, water is supplied through the
为了更好的理解本实用新型,下面结合上述实施例对本实用新型的工作原理作一次完整的描述:In order to better understand the present utility model, the working principle of the present utility model is described below in conjunction with the above-mentioned embodiments:
在使用本实用新型时,医护人员首先手持刷柄13,将牙膏挤在转动刷头2上,并将牙刷的转动刷头2放置在病人口腔的牙齿上;然后旋转旋钮4,使旋钮4的指示头411对着刷杆12侧壁的喷液标识,此时旋钮4的喷液连接通道421对准左右两侧的喷液通道121,将其连通,供水器6内的清洗液,依次经供水器6、喷液管5、单向阀9、喷液管5、喷液通道121、喷液连接通道421、喷液通道121和刷头槽喷液通道111后,喷到病人口腔的牙齿上,病人口腔内充满清洗液后,旋转旋钮4关闭喷液通道121;其次按压开关按钮34,使旋转电机31转动,带动刷头槽11内的转动刷头2转动,在病人口腔内缓慢移动转动刷头2,让转动刷头2对病人口腔内的牙齿清洁;最后旋转旋钮4,使旋钮4的指示头411对着刷杆12侧壁的吸液标识,此时旋钮4吸液连接通道422对准左右两侧的吸液通道122,将其连通,病人口腔内的污水,则依次经吸液通道122、吸液连接通道422、吸液通道122、吸液管7、单向阀9和吸液管7,进入到负压吸引器8内,将病人口腔内的污水吸走。采用多次喷液、刷牙和吸液,对病人的牙齿清洁。When using the utility model, the medical staff first holds the
以上显示和描述了本实用新型的基本原理、主要特征和本实用新型的优点。本行业的技术人员应该了解,本实用新型不受上述实施例的限制,上述实施例和说明书中描述的只是说明本实用新型的原理,在不脱离本实用新型精神和范围的前提下,本实用新型还会有各种变化和改进,这些变化和改进都落入要求保护的本实用新型范围内。本实用新型要求保护范围由所附的权利要求书及其等效物界定。The basic principles, main features and advantages of the present invention have been shown and described above. It should be understood by those skilled in the art that the present invention is not limited by the above-mentioned embodiments. The above-mentioned embodiments and descriptions only illustrate the principle of the present invention. Without departing from the spirit and scope of the present invention, the present invention There will also be various changes and improvements in the new model, which all fall within the scope of the claimed invention. The claimed scope of the present invention is defined by the appended claims and their equivalents.
Claims (7)
Priority Applications (1)
| Application Number | Priority Date | Filing Date | Title |
|---|---|---|---|
| CN201920851264.6U CN210962390U (en) | 2019-06-06 | 2019-06-06 | Spraying and sucking integrated electric toothbrush |
Applications Claiming Priority (1)
| Application Number | Priority Date | Filing Date | Title |
|---|---|---|---|
| CN201920851264.6U CN210962390U (en) | 2019-06-06 | 2019-06-06 | Spraying and sucking integrated electric toothbrush |
Publications (1)
| Publication Number | Publication Date |
|---|---|
| CN210962390U true CN210962390U (en) | 2020-07-10 |
Family
ID=71441224
Family Applications (1)
| Application Number | Title | Priority Date | Filing Date |
|---|---|---|---|
| CN201920851264.6U Expired - Fee Related CN210962390U (en) | 2019-06-06 | 2019-06-06 | Spraying and sucking integrated electric toothbrush |
Country Status (1)
| Country | Link |
|---|---|
| CN (1) | CN210962390U (en) |
Cited By (1)
| Publication number | Priority date | Publication date | Assignee | Title |
|---|---|---|---|---|
| CN115227430A (en) * | 2022-07-04 | 2022-10-25 | 郑州大学第一附属医院 | Electric negative pressure suction toothbrush |
-
2019
- 2019-06-06 CN CN201920851264.6U patent/CN210962390U/en not_active Expired - Fee Related
Cited By (1)
| Publication number | Priority date | Publication date | Assignee | Title |
|---|---|---|---|---|
| CN115227430A (en) * | 2022-07-04 | 2022-10-25 | 郑州大学第一附属医院 | Electric negative pressure suction toothbrush |
Similar Documents
| Publication | Publication Date | Title |
|---|---|---|
| CN108498199A (en) | Rinse integral electric toothbrush | |
| CN211834839U (en) | Critical patient oral cavity cleaning toothbrush | |
| CN210962390U (en) | Spraying and sucking integrated electric toothbrush | |
| CN207118943U (en) | The multifunctional oral cavity cleaner special suitable for disability patient | |
| CN204219080U (en) | A kind of Medical oral cavity rinser | |
| CN203802598U (en) | Brush for oral cavity nurse for patient with serious diseases | |
| CN210750512U (en) | A sputum suction device for otolaryngology | |
| CN209032699U (en) | Rinse all-in-one electric toothbrush | |
| CN212395094U (en) | Negative pressure flushing and sucking type electric toothbrush | |
| CN215308823U (en) | A hand-held oral automatic sputum suction device | |
| CN209377787U (en) | Oral nursing apparatus | |
| CN211461441U (en) | Sputum cleaning device for respiratory medicine | |
| CN211271313U (en) | Oral cavity cleaning instrument | |
| CN217066669U (en) | A new type of oral care cleaning and suction device for critically ill patients | |
| CN218943981U (en) | Manual sputum aspirator | |
| CN209172553U (en) | Tracheal catheter type oral cavity flusher | |
| CN214049935U (en) | Clinical sputum suction device of using of severe | |
| CN215019470U (en) | Electric toothbrush with negative pressure suction | |
| CN213310521U (en) | An improved oral care device | |
| CN221808080U (en) | A tooth flushing device for oral care of patients | |
| CN222075350U (en) | A medical portable integrated oral cleaner | |
| CN223248346U (en) | Flushing integrated oral cavity cleaner | |
| CN219483657U (en) | Suction tube flushing device | |
| CN217243108U (en) | Scouring integrated toothbrush | |
| CN219681270U (en) | Sputum aspirator convenient to clearance |
Legal Events
| Date | Code | Title | Description |
|---|---|---|---|
| GR01 | Patent grant | ||
| GR01 | Patent grant | ||
| CF01 | Termination of patent right due to non-payment of annual fee |
Granted publication date: 20200710 |
|
| CF01 | Termination of patent right due to non-payment of annual fee |
