CN210889998U - Assembly structure of sun gear shaft and spline shaft of wind power gearbox - Google Patents
Assembly structure of sun gear shaft and spline shaft of wind power gearbox Download PDFInfo
- Publication number
- CN210889998U CN210889998U CN201921901231.4U CN201921901231U CN210889998U CN 210889998 U CN210889998 U CN 210889998U CN 201921901231 U CN201921901231 U CN 201921901231U CN 210889998 U CN210889998 U CN 210889998U
- Authority
- CN
- China
- Prior art keywords
- shaft
- sun gear
- spline shaft
- spline
- spacer ring
- Prior art date
- Legal status (The legal status is an assumption and is not a legal conclusion. Google has not performed a legal analysis and makes no representation as to the accuracy of the status listed.)
- Withdrawn - After Issue
Links
- 125000006850 spacer group Chemical group 0.000 claims abstract description 67
- 239000003921 oil Substances 0.000 description 13
- 230000005540 biological transmission Effects 0.000 description 5
- 238000009434 installation Methods 0.000 description 3
- 239000010687 lubricating oil Substances 0.000 description 3
- 238000010248 power generation Methods 0.000 description 3
- 230000000694 effects Effects 0.000 description 2
- 230000009286 beneficial effect Effects 0.000 description 1
- 238000010276 construction Methods 0.000 description 1
- 238000010586 diagram Methods 0.000 description 1
- 238000005516 engineering process Methods 0.000 description 1
- 230000007613 environmental effect Effects 0.000 description 1
- 238000007667 floating Methods 0.000 description 1
- 230000003993 interaction Effects 0.000 description 1
- 238000012423 maintenance Methods 0.000 description 1
- 238000000034 method Methods 0.000 description 1
- 238000012986 modification Methods 0.000 description 1
- 230000004048 modification Effects 0.000 description 1
- 238000006467 substitution reaction Methods 0.000 description 1
Images
Landscapes
- General Details Of Gearings (AREA)
- Retarders (AREA)
Abstract
本实用新型公开了一种风电齿轮箱太阳轮轴与花键轴的装配结构,属于风电齿轮箱技术领域。风电齿轮箱太阳轮轴与花键轴的装配结构包括:太阳轮轴;花键轴,所述花键轴为空心轴,所述太阳轮轴的一端穿入所述花键轴内,且所述太阳轮轴穿入所述花键轴的一端与所述花键轴通过花键副连接;机械泵驱动齿轮,安装在所述花键轴的一端,且内径小于所述花键轴的内径;定距环,所述定距环设置于所述花键轴内,且所述定距环的一端抵接在所述机械泵驱动齿轮的内侧,并与所述机械泵驱动齿轮固定连接,所述定距环的另一端与所述太阳轮轴位于所述花键轴内的端部间隔设置。本实用新型通过设置定距环来分担太阳轮轴的轴向力,可减小太阳轮轴与花键轴之间的轴向磨损。
The utility model discloses an assembly structure of a sun gear shaft and a spline shaft of a wind power gearbox, which belongs to the technical field of wind power gearboxes. The assembly structure of the sun gear shaft and the spline shaft of the wind power gearbox includes: a sun gear shaft; a spline shaft, the spline shaft is a hollow shaft, one end of the sun gear shaft penetrates into the spline shaft, and the sun gear shaft The end that penetrates into the spline shaft is connected with the spline shaft through the spline pair; the mechanical pump drive gear is installed on one end of the spline shaft, and the inner diameter is smaller than the inner diameter of the spline shaft; the spacer ring , the spacer ring is arranged in the spline shaft, and one end of the spacer ring abuts on the inner side of the mechanical pump drive gear, and is fixedly connected with the mechanical pump drive gear, the spacer The other end of the ring is spaced from the end of the sun gear shaft within the splined shaft. The utility model shares the axial force of the sun gear shaft by arranging the distance ring, which can reduce the axial wear between the sun gear shaft and the spline shaft.
Description
技术领域technical field
本实用新型涉及风电齿轮箱技术领域,尤其涉及一种风电齿轮箱太阳轮轴与花键轴的装配结构。The utility model relates to the technical field of wind power gearboxes, in particular to an assembly structure of a sun gear shaft and a spline shaft of a wind power gearbox.
背景技术Background technique
风力发电与火力发电和水力发电相比,具有较大的优势,大力发展风力发电对国家经济建设和环境保护方面均具有重大意义。在风力发电机中,齿轮箱是风力发电机的关键部件。风力发电机中齿轮箱具有传递载荷大,工作持续时间长的特点,一旦发生故障,维修成本极高。Compared with thermal power generation and hydropower generation, wind power generation has great advantages. Vigorously developing wind power generation is of great significance to national economic construction and environmental protection. In wind turbines, gearboxes are the key components of wind turbines. The gearbox in the wind turbine has the characteristics of large transmission load and long working time. Once a failure occurs, the maintenance cost is extremely high.
中大兆瓦级别风力发电机中的齿轮箱普遍使用行星传动加平行传动结构形式,平行传动是指太阳轮轴通过花键与花键轴连接,花键轴与太阳轮轴平行设置,以实现扭矩传输。一般行星级太阳轮轴与行星轮通过斜齿啮合,这样可以承受更大的载荷,但这样太阳轮轴会产生较大的轴向力,使太阳轮轴与花键轴的磨损较大。且太阳轮轴普遍为浮动设计,以此来平衡多个行星齿轮传递的载荷,所以太阳轮轴运行时与花键轴存在微动,也会使太阳轮轴与花键轴之间存在磨损。太阳轮轴与花键轴之间的磨损如果持续发展,会导致太阳轮轴轴向错位,进而导致太阳轮轴齿面啮合轴向偏移,最终导致齿轮箱完全损坏。Gearboxes in medium and large megawatt wind turbines generally use planetary transmission and parallel transmission structure. Parallel transmission means that the sun gear shaft is connected with the spline shaft through splines, and the spline shaft and the sun gear shaft are arranged in parallel to realize torque transmission. . Generally, the planetary sun gear shaft meshes with the planetary gear through helical teeth, which can bear a larger load, but the sun gear shaft will generate a large axial force, so that the wear of the sun gear shaft and the spline shaft is large. And the sun gear shaft is generally designed to be floating, in order to balance the load transmitted by the multiple planetary gears, so the sun gear shaft and the spline shaft have fretting when running, which will also cause wear between the sun gear shaft and the spline shaft. If the wear between the sun gear shaft and the spline shaft continues to develop, it will cause the sun gear shaft to be axially misaligned, which in turn will cause the sun gear shaft tooth surface meshing to shift axially, and eventually lead to complete damage to the gearbox.
因此,现有技术还有待于改进和发展。Therefore, the existing technology still needs to be improved and developed.
实用新型内容Utility model content
本实用新型的目的在于提供一种风电齿轮箱太阳轮轴与花键轴的装配结构,以解决现有技术中风电齿轮箱的太阳轮轴轴向力太大,导致太阳轮轴与花键轴之间的磨损加快,进而导致齿轮箱损坏的问题。The purpose of the utility model is to provide an assembly structure of the sun gear shaft and the spline shaft of the wind power gearbox, so as to solve the problem that the axial force of the sun gear shaft of the wind power gear box in the prior art is too large, resulting in the friction between the sun gear shaft and the spline shaft. Increased wear and tear, which in turn leads to problems with gearbox damage.
为达此目的,本实用新型采用以下技术方案:For this purpose, the utility model adopts the following technical solutions:
一种风电齿轮箱太阳轮轴与花键轴的装配结构,包括:An assembly structure of a sun gear shaft and a spline shaft of a wind power gearbox, comprising:
太阳轮轴;sun gear shaft;
花键轴,所述花键轴为空心轴,所述太阳轮轴的一端穿入所述花键轴内,且所述太阳轮轴穿入所述花键轴的一端与所述花键轴通过花键副连接;Spline shaft, the spline shaft is a hollow shaft, one end of the sun gear shaft penetrates into the spline shaft, and one end of the sun gear shaft penetrates the spline shaft and the spline shaft passes through the spline shaft key pair connection;
机械泵驱动齿轮,安装在所述花键轴的一端,且内径小于所述花键轴的内径;A mechanical pump driving gear is installed at one end of the spline shaft, and the inner diameter is smaller than the inner diameter of the spline shaft;
定距环,所述定距环设置于所述花键轴内,且所述定距环的一端抵接在所述机械泵驱动齿轮的内侧,并与所述机械泵驱动齿轮固定连接,所述定距环的另一端与所述太阳轮轴位于所述花键轴内的端部间隔设置。A spacer ring, the spacer ring is arranged in the spline shaft, and one end of the spacer ring abuts on the inner side of the mechanical pump drive gear, and is fixedly connected with the mechanical pump drive gear, so The other end of the distance ring is spaced apart from the end of the sun gear shaft located in the spline shaft.
可选的,所述定距环包括与所述花键轴平行的定距环侧壁,以及与所述花键轴垂直的定距环底部;所述定距环侧壁抵接在所述机械泵驱动齿轮的内侧,并与所述机械泵驱动齿轮固定连接;所述定距环底部与所述太阳轮轴位于所述花键轴内的端部间隔设置。Optionally, the spacer ring includes a spacer ring side wall parallel to the spline shaft, and a spacer ring bottom perpendicular to the spline shaft; the spacer ring side wall abuts on the The inner side of the mechanical pump driving gear is fixedly connected with the mechanical pump driving gear; the bottom of the spacer ring is spaced from the end of the sun gear shaft located in the spline shaft.
可选的,所述定距环侧壁上与所述机械泵驱动齿轮连接的一端设置有第一螺栓孔,所述第一螺栓孔沿所述定距环的轴向设置,所述机械泵驱动齿轮上与所述第一螺栓孔对应的设置有第二螺栓孔,将第一螺栓穿入所述第二螺栓孔与所述第一螺栓孔,以使所述定距环固定于所述机械泵驱动齿轮上。Optionally, one end of the side wall of the spacer ring connected to the mechanical pump drive gear is provided with a first bolt hole, and the first bolt hole is arranged along the axial direction of the spacer ring, and the mechanical pump A second bolt hole is provided on the driving gear corresponding to the first bolt hole, and the first bolt is inserted into the second bolt hole and the first bolt hole, so that the spacer ring is fixed on the Mechanical pump drive gear.
可选的,所述定距环的外表面与所述花键轴的内壁间隔设置,所述机械泵驱动齿轮上与此间隙对应处设置有第一回油孔。Optionally, the outer surface of the spacer ring and the inner wall of the spline shaft are arranged at intervals, and a first oil return hole is arranged on the mechanical pump drive gear corresponding to the clearance.
可选的,所述花键轴内设置有挡肩,所述太阳轮轴上设置有与所述挡肩配合的台阶面,所述挡肩抵接在所述台阶面上,以使所述太阳轮轴轴向定位。Optionally, the spline shaft is provided with a shoulder, the sun gear shaft is provided with a step surface that cooperates with the shoulder, and the shoulder abuts on the step surface, so that the sun gear The axle is positioned axially.
可选的,所述挡肩位于所述花键副与所述定距环之间,所述挡肩上设置有第二回油孔,所述第二回油孔沿所述花键轴的轴向设置。Optionally, the shoulder is located between the spline pair and the spacer ring, the shoulder is provided with a second oil return hole, and the second oil return hole is along the spline shaft. Axial setting.
可选的,还包括管轴,所述太阳轮轴为空心轴,所述管轴穿设在所述太阳轮轴的轴孔中。Optionally, a tube shaft is also included, the sun gear shaft is a hollow shaft, and the tube shaft is penetrated in the shaft hole of the sun gear shaft.
可选的,所述定距环的内径大于所述管轴的外径。Optionally, the inner diameter of the spacer ring is larger than the outer diameter of the pipe shaft.
可选的,还包括第一齿轮、输出轴及机械泵,所述第一齿轮与所述机械泵驱动齿轮啮合,所述输出轴的一端与所述第一齿轮连接,另一端与所述机械泵连接。Optionally, it also includes a first gear, an output shaft and a mechanical pump, the first gear meshes with the mechanical pump driving gear, one end of the output shaft is connected to the first gear, and the other end is connected to the mechanical pump. Pump connection.
可选的,还包括第二螺栓,所述机械泵驱动齿轮通过第二螺栓安装在所述花键轴上。Optionally, a second bolt is also included, and the mechanical pump driving gear is mounted on the spline shaft through the second bolt.
本实用新型的有益效果:The beneficial effects of the present utility model:
本实用新型在风电齿轮箱太阳轮轴与花键轴的装配结构中设置了定距环,定距环的一端靠近太阳轮轴,当太阳轮轴在轴向力的作用下发生轴向偏移时,可以顶靠在定距环上,使定距环分担一部分轴向力,减小太阳轮轴与花键轴之间的磨损,避免齿轮箱失效,延长了齿轮箱的使用寿命。In the utility model, a spacer ring is arranged in the assembly structure of the sun gear shaft and the spline shaft of the wind power gearbox, and one end of the spacer ring is close to the sun gear shaft. It rests on the spacer ring, so that the spacer ring shares a part of the axial force, reduces the wear between the sun gear shaft and the spline shaft, avoids the failure of the gearbox, and prolongs the service life of the gearbox.
附图说明Description of drawings
图1是本实用新型风电齿轮箱太阳轮轴与花键轴的装配结构的立体结构示意图;1 is a three-dimensional schematic diagram of the assembly structure of the sun gear shaft and the spline shaft of the wind turbine gearbox of the present invention;
图2是本实用新型图1中A部分的放大图。Fig. 2 is an enlarged view of part A in Fig. 1 of the present utility model.
图中:In the picture:
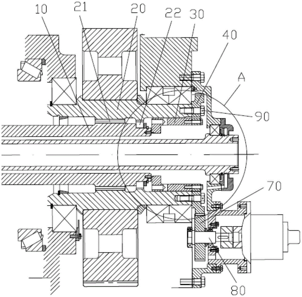
10-太阳轮轴;20-花键轴;30-定距环;40-机械泵驱动齿轮;50-第一螺栓;60-管轴;70-第一齿轮;80-输出轴;90-第二螺栓;10-sun gear shaft; 20-spline shaft; 30-spacer ring; 40-mechanical pump drive gear; 50-first bolt; 60-pipe shaft; 70-first gear; 80-output shaft; 90-second bolt;
11-台阶面;21-花键副;22-挡肩;221-第二回油孔;31-定距环侧壁;32-定距环底部;311-第一螺栓孔;41-第二螺栓孔;42-第一回油孔。11-step surface; 21-spline pair; 22-shoulder; 221-second oil return hole; 31-spacer side wall; 32-spacer bottom; 311-first bolt hole; 41-second Bolt hole; 42-The first oil return hole.
具体实施方式Detailed ways
下面结合附图和实施例对本实用新型作进一步的详细说明。可以理解的是,此处所描述的具体实施例仅仅用于解释本实用新型,而非对本实用新型的限定。另外还需要说明的是,为了便于描述,附图中仅示出了与本实用新型相关的部分而非全部结构。The present utility model will be further described in detail below in conjunction with the accompanying drawings and embodiments. It should be understood that the specific embodiments described herein are only used to explain the present invention, but not to limit the present invention. In addition, it should be noted that, for the convenience of description, the drawings only show some but not all structures related to the present invention.
在本实用新型的描述中,除非另有明确的规定和限定,术语“相连”、“连接”、“固定”应做广义理解,例如,可以是固定连接,也可以是可拆卸连接,或成一体;可以是机械连接,也可以是电连接;可以是直接相连,也可以通过中间媒介间接相连,可以是两个元件内部的连通或两个元件的相互作用关系。对于本领域的普通技术人员而言,可以具体情况理解上述术语在本实用新型中的具体含义。In the description of the present invention, unless otherwise expressly specified and limited, the terms "connected", "connected" and "fixed" should be understood in a broad sense, for example, it may be a fixed connection, a detachable connection, or a fixed connection. It can be a mechanical connection or an electrical connection; it can be a direct connection or an indirect connection through an intermediate medium, and it can be an internal connection between two elements or an interaction relationship between the two elements. For those of ordinary skill in the art, the specific meanings of the above terms in the present invention can be understood in specific situations.
在本实用新型中,除非另有明确的规定和限定,第一特征在第二特征之“上”或之“下”可以包括第一和第二特征直接接触,也可以包括第一和第二特征不是直接接触而是通过它们之间的另外的特征接触。而且,第一特征在第二特征“之上”、“上方”和“上面”包括第一特征在第二特征正上方和斜上方,或仅仅表示第一特征水平高度高于第二特征。第一特征在第二特征“之下”、“下方”和“下面”包括第一特征在第二特征正下方和斜下方,或仅仅表示第一特征水平高度小于第二特征。In the present invention, unless otherwise expressly specified and limited, a first feature "on" or "under" a second feature may include the first and second features in direct contact, or may include the first and second features The features are not in direct contact but through additional features between them. Also, the first feature being "above", "over" and "above" the second feature includes the first feature being directly above and obliquely above the second feature, or simply means that the first feature is level higher than the second feature. The first feature is "below", "below" and "below" the second feature includes the first feature being directly below and diagonally below the second feature, or simply means that the first feature has a lower level than the second feature.
在本实施例的描述中,术语“上”、“下”、“右”、等方位或位置关系为基于附图所示的方位或位置关系,仅是为了便于描述和简化操作,而不是指示或暗示所指的装置或元件必须具有特定的方位、以特定的方位构造和操作,因此不能理解为对本实用新型的限制。此外,术语“第一”、“第二”仅仅用于在描述上加以区分,并没有特殊的含义。In the description of this embodiment, the terms "upper", "lower", "right", etc. are based on the orientation or positional relationship shown in the accompanying drawings, which are only for convenience of description and simplified operation, rather than indicating Or imply that the referred device or element must have a specific orientation, be constructed and operate in a specific orientation, and therefore should not be construed as a limitation of the present invention. In addition, the terms "first" and "second" are only used for distinction in description, and have no special meaning.
下面结合附图并通过具体实施方式来进一步说明本实用新型的技术方案。The technical solutions of the present utility model will be further described below with reference to the accompanying drawings and through specific embodiments.
本实用新型提供了一种风电齿轮箱太阳轮轴与花键轴的装配结构,图1是本实用新型风电齿轮箱太阳轮轴与花键轴的装配结构的立体结构示意图,如图1所示,装配结构包括太阳轮轴10、花键轴20、机械泵驱动齿轮40和定距环30。The utility model provides an assembly structure of the sun gear shaft and the spline shaft of the wind power gearbox. The structure includes a
花键轴20为空心轴,太阳轮轴10的一端穿入花键轴20内,且太阳轮轴10穿入花键轴20的一端与花键轴20通过花键副21连接。机械泵驱动齿轮40安装在花键轴20的一端,机械泵驱动齿轮40与花键轴20固定连接,在花键轴20的带动下同步转动,通过机械泵驱动齿轮40来带动齿轮箱机械泵转动,齿轮箱机械泵是齿轮箱油泵的一种。机械泵驱动齿轮40的内径小于花键轴20的内径,这样可以使机械泵驱动齿轮40的内圈突出花键轴20的内壁,如图1所示,便于利用此凸出来定位和安装定距环30。The
现有的齿轮箱中,也有在花键轴20的一端安装机械泵驱动齿轮40的结构,但是现有的结构中没有定距环30,所以现有的结构中机械泵驱动齿轮40的内径与花键轴20的内径设置得一样大。而本实用新型只需将机械泵驱动齿轮40的内径做小一些,即可完成定距环30的定位和安装,且设置了定位环30可分担太阳轮轴10的轴向力,降低太阳轮轴10与花键轴20之间的磨损。In the existing gear box, there is also a structure in which the mechanical
如图1所示,定距环30设置于花键轴20内,且定距环30的一端抵接在机械泵驱动齿轮40的内侧,并与机械泵驱动齿轮40固定连接,定距环30的另一端与太阳轮轴10位于花键轴20内的端部间隔设置,当太阳轮轴10与花键轴20之间发生磨损,导致太阳轮轴10发生轴向向右的移动时,定距环30与太阳轮轴10之间的间隔消失,太阳轮轴10顶靠在定距环30上,使定距环30将太阳轮轴10顶住,分担太阳轮轴10的轴向力,避免齿轮箱失效。As shown in FIG. 1 , the
进一步的,如图2所示,为了便于定距环30与机械泵驱动齿轮40连接,以及便于太阳轮轴10顶靠在定距环30上,可将定距环30设置为包括定距环侧壁31和定距环底部32,定距环侧壁31与花键轴20平行,定距环底部32与花键轴20垂直,定距环侧壁31的右端抵接在机械泵驱动齿轮40的内侧,并与机械泵驱动齿轮40固定连接,定距环底部32与太阳轮轴10位于花键轴20内的端部间隔设置。Further, as shown in FIG. 2 , in order to facilitate the connection between the
更进一步的,如图2,定距环侧壁31上与机械泵驱动齿轮40连接的一端设置有第一螺栓孔311,第一螺栓孔311沿定距环30的轴向设置,机械泵驱动齿轮40上与第一螺栓孔311对应的设置有第二螺栓孔41,将第一螺栓50穿入第二螺栓孔41与第一螺栓孔311中,就可以将定距环30固定于机械泵驱动齿轮40上了。Further, as shown in FIG. 2 , the end of the
请继续参阅图2,在一种实施方式中,定距环30的外表面与花键轴20的内壁间隔设置,为润滑油的流动提供空间,机械泵驱动齿轮40上与此间隙对应处设置有第一回油孔42,以使流到定距环30与花键轴20之间的间隙处的润滑油从第一回油孔42流出。Please continue to refer to FIG. 2. In one embodiment, the outer surface of the
第一回油孔42可以为若干个,且均匀分布在机械泵驱动齿轮40的周向上,提高排油效果。The number of the first oil return holes 42 may be several, and they are evenly distributed in the circumferential direction of the mechanical
进一步的,花键轴20内设置有挡肩22,太阳轮轴10上设置有与挡肩22配合的台阶面11,挡肩22抵接在台阶面11上,以使太阳轮轴10轴向定位。当太阳轮轴10的轴向力使台阶面11和挡肩22配合处发生磨损后,太阳轮轴10发生轴向偏移,太阳轮轴10和定距环30之间的间隙消除,太阳轮轴10右端面与定距环30能自然地、载荷最为均布地进行贴合定位,此时花键轴20的挡肩22与定距环30能够互不影响的共同承受太阳轮轴10传递的轴向力,使得与太阳轮轴10接触的两个定位面上的压强进行分担,从而大大降低轴向磨损的速率。Further, the
更进一步的,请结合图1和图2,挡肩22位于花键副21与定距环30之间,且可以在挡肩22上设置第二回油孔221,第二回油孔221沿花键轴20的轴向设置,以使前端的润滑油从第二回油孔221流出。Further, please refer to FIG. 1 and FIG. 2, the
如图2所示,装配结构还包括管轴60,太阳轮轴10为空心轴,管轴60穿设在太阳轮轴10的轴孔中,以使太阳轮轴10套在管轴60外。管轴用于风电齿轮箱中部分零件的装配和支撑。As shown in FIG. 2 , the assembly structure further includes a
进一步的,如图2所示,定距环30的内径大于管轴60的外径,这样可以使定距环30可自由的穿入管轴60,使定距环30的安装不受管轴60的影响,便于定距环30的安装。Further, as shown in FIG. 2 , the inner diameter of the
在一种实施方式中,如图1所示,装配结构还包括第一齿轮70、输出轴80及机械泵,第一齿轮70与机械泵驱动齿轮40啮合,输出轴80的一端与第一齿轮70连接,输出轴80的另一端与机械泵连接,这样就可以使机械泵驱动齿轮40的转矩传递给第一齿轮70,然后第一齿轮70将转矩传递给输出轴80,输出轴80再将转矩传递给机械泵,带动机械泵工作。In one embodiment, as shown in FIG. 1 , the assembly structure further includes a
在一种实施方式中,如图1所示,装配结构还包括第二螺栓90,机械泵驱动齿轮40通过第二螺栓90安装在花键轴20上,第二螺栓90沿机械泵驱动齿轮40的轴向设置,将机械泵驱动齿轮40安装在花键轴20的右端。In one embodiment, as shown in FIG. 1 , the assembly structure further includes a
显然,本实用新型的上述实施例仅仅是为了清楚说明本实用新型所作的举例,而并非是对本实用新型的实施方式的限定。对于所属领域的普通技术人员来说,能够进行各种明显的变化、重新调整和替代而不会脱离本实用新型的保护范围。这里无需也无法对所有的实施方式予以穷举。凡在本实用新型的精神和原则之内所作的任何修改、等同替换和改进等,均应包含在本实用新型权利要求的保护范围之内。Obviously, the above-mentioned embodiments of the present invention are only examples for clearly illustrating the present invention, rather than limiting the implementation of the present invention. For those of ordinary skill in the art, various obvious changes, readjustments and substitutions can be made without departing from the protection scope of the present invention. There is no need and cannot be exhaustive of all implementations here. Any modifications, equivalent replacements and improvements made within the spirit and principles of the present utility model shall be included within the protection scope of the claims of the present utility model.
Claims (10)
Priority Applications (1)
| Application Number | Priority Date | Filing Date | Title |
|---|---|---|---|
| CN201921901231.4U CN210889998U (en) | 2019-11-06 | 2019-11-06 | Assembly structure of sun gear shaft and spline shaft of wind power gearbox |
Applications Claiming Priority (1)
| Application Number | Priority Date | Filing Date | Title |
|---|---|---|---|
| CN201921901231.4U CN210889998U (en) | 2019-11-06 | 2019-11-06 | Assembly structure of sun gear shaft and spline shaft of wind power gearbox |
Publications (1)
| Publication Number | Publication Date |
|---|---|
| CN210889998U true CN210889998U (en) | 2020-06-30 |
Family
ID=71313039
Family Applications (1)
| Application Number | Title | Priority Date | Filing Date |
|---|---|---|---|
| CN201921901231.4U Withdrawn - After Issue CN210889998U (en) | 2019-11-06 | 2019-11-06 | Assembly structure of sun gear shaft and spline shaft of wind power gearbox |
Country Status (1)
| Country | Link |
|---|---|
| CN (1) | CN210889998U (en) |
Cited By (1)
| Publication number | Priority date | Publication date | Assignee | Title |
|---|---|---|---|---|
| CN110671485A (en) * | 2019-11-06 | 2020-01-10 | 南京高速齿轮制造有限公司 | Assembly structure of sun gear shaft and spline shaft of wind power gearbox |
-
2019
- 2019-11-06 CN CN201921901231.4U patent/CN210889998U/en not_active Withdrawn - After Issue
Cited By (4)
| Publication number | Priority date | Publication date | Assignee | Title |
|---|---|---|---|---|
| CN110671485A (en) * | 2019-11-06 | 2020-01-10 | 南京高速齿轮制造有限公司 | Assembly structure of sun gear shaft and spline shaft of wind power gearbox |
| WO2021088588A1 (en) * | 2019-11-06 | 2021-05-14 | 南京高速齿轮制造有限公司 | Assembly structure of sun gear shaft and spline shaft of wind power gear box |
| US11359610B2 (en) | 2019-11-06 | 2022-06-14 | Nanjing High-Speed Gear Manufacturing Co., Ltd. | Assembly structure of sun gear shaft and spline shaft of a gearbox for wind turbine |
| CN110671485B (en) * | 2019-11-06 | 2024-11-05 | 南京高速齿轮制造有限公司 | An assembly structure of a sun gear shaft and a spline shaft of a wind power gear box |
Similar Documents
| Publication | Publication Date | Title |
|---|---|---|
| CN110671485A (en) | Assembly structure of sun gear shaft and spline shaft of wind power gearbox | |
| CN211398499U (en) | Assembly structure of sun wheel shaft, spline shaft and planet wheel and wind power gear box | |
| CN105465315B (en) | It is a kind of to enter scene 2 formula combination mechanical differential more | |
| CN105020343B (en) | Pump power case is split in shale oil air pressure | |
| CN207795999U (en) | Power head deceleration device for drilling machine | |
| CN210889998U (en) | Assembly structure of sun gear shaft and spline shaft of wind power gearbox | |
| CN205256009U (en) | New forms of energy car driving motor and gearbox connecting device | |
| CN101429991A (en) | Planet gear speed increaser for hydroelectric power generation | |
| CN201991958U (en) | Crowned teeth coupling with improved structure | |
| CN217421920U (en) | Integrated transmission chain insulated tooth type coupling of wind generating set | |
| CN106438913A (en) | Hydraulic drive device with hydraulic brake | |
| CN216589786U (en) | A cutting reducer for a horizontal axis excavator | |
| CN206377218U (en) | 275KW wind turbine gearboxes | |
| CN214661776U (en) | Coaxial bevel gear speed reducer | |
| CN206280440U (en) | Double motive power driving gear-boxes and freewheel clutch are integrated | |
| CN201963194U (en) | Efficient self-locking ground auger gearbox | |
| CN205226294U (en) | Wind -power gearbox | |
| CN210440535U (en) | Composite gear box | |
| CN112413063A (en) | New energy construction machinery fixed shaft gearbox assembly | |
| CN218718642U (en) | Marine gear box oil pump driving device | |
| CN205260738U (en) | Transmission and aerogenerator | |
| CN105402377A (en) | Wind power gear box | |
| CN111749828A (en) | A kind of power output mechanism and oil field operation device | |
| CN2898428Y (en) | Double-conical surface friction clutch of gearbox for ship | |
| CN217842611U (en) | Worm gear speed reducer for tire dismounting machine |
Legal Events
| Date | Code | Title | Description |
|---|---|---|---|
| GR01 | Patent grant | ||
| GR01 | Patent grant | ||
| PP01 | Preservation of patent right |
Effective date of registration: 20230207 Granted publication date: 20200630 |
|
| PP01 | Preservation of patent right | ||
| PD01 | Discharge of preservation of patent |
Date of cancellation: 20230327 Granted publication date: 20200630 |
|
| PD01 | Discharge of preservation of patent | ||
| AV01 | Patent right actively abandoned |
Granted publication date: 20200630 Effective date of abandoning: 20241105 |
|
| AV01 | Patent right actively abandoned |
Granted publication date: 20200630 Effective date of abandoning: 20241105 |
|
| AV01 | Patent right actively abandoned | ||
| AV01 | Patent right actively abandoned |
