CN210881482U - Painting brush storage barrel - Google Patents
Painting brush storage barrel Download PDFInfo
- Publication number
- CN210881482U CN210881482U CN201820133906.4U CN201820133906U CN210881482U CN 210881482 U CN210881482 U CN 210881482U CN 201820133906 U CN201820133906 U CN 201820133906U CN 210881482 U CN210881482 U CN 210881482U
- Authority
- CN
- China
- Prior art keywords
- cover
- fixedly connected
- cylinder
- brush
- barrel
- Prior art date
- Legal status (The legal status is an assumption and is not a legal conclusion. Google has not performed a legal analysis and makes no representation as to the accuracy of the status listed.)
- Expired - Fee Related
Links
- 238000010422 painting Methods 0.000 title claims description 4
- 229920001971 elastomer Polymers 0.000 claims abstract description 19
- 238000007789 sealing Methods 0.000 claims abstract description 6
- 229920001821 foam rubber Polymers 0.000 claims 2
- 238000005192 partition Methods 0.000 abstract description 11
- 238000004140 cleaning Methods 0.000 description 4
- 238000000034 method Methods 0.000 description 4
- 238000010586 diagram Methods 0.000 description 3
- 239000003973 paint Substances 0.000 description 3
- 230000000903 blocking effect Effects 0.000 description 2
- XLYOFNOQVPJJNP-UHFFFAOYSA-N water Substances O XLYOFNOQVPJJNP-UHFFFAOYSA-N 0.000 description 2
- 230000009286 beneficial effect Effects 0.000 description 1
- 239000004744 fabric Substances 0.000 description 1
- 238000012986 modification Methods 0.000 description 1
- 230000004048 modification Effects 0.000 description 1
Images
Landscapes
- Coating Apparatus (AREA)
Abstract
本实用新型公开了一种画笔收纳筒,包括筒体、一号筒盖和活动轴,所述筒体上端通过活动轴活动连接有一号筒盖,所述筒体内部可拆卸连接有隔板,所述隔板表面设置笔孔,所述笔孔内壁通过弹簧固定连接有固定片,所述固定片一侧固定连接有橡胶垫,所述一号筒盖内部可拆卸连接有海绵垫,所述海绵垫表面设置有凹槽,所述筒体下端螺纹连接有二号筒盖,所述二号筒盖与筒体连接处设置有密封圈,所述二号筒盖下端固定连接有橡胶垫。该画笔收纳筒通过在筒体内部设置有隔板,并且在隔板表面设置有笔孔,在笔孔内壁设置有弹簧和固定片,笔孔可以有效的对画笔进行固定,从而使得画笔保持竖直稳定,避免画笔遭到不必要的伤害。
The utility model discloses a brush storage cylinder, which comprises a cylinder body, a number one cylinder cover and a movable shaft. A pen hole is arranged on the surface of the partition plate, the inner wall of the pen hole is fixedly connected with a fixing piece through a spring, a rubber pad is fixedly connected on one side of the fixing piece, and a sponge pad is detachably connected inside the first cylinder cover, and the surface of the sponge pad is detachably connected. A groove is provided, a No. 2 cylinder cover is threadedly connected to the lower end of the cylinder body, a sealing ring is provided at the connection between the No. 2 cylinder cover and the cylinder body, and a rubber gasket is fixedly connected to the lower end of the No. 2 cylinder cover. The brush storage cylinder is provided with a partition inside the cylinder body, a pen hole is arranged on the surface of the partition, and a spring and a fixing piece are arranged on the inner wall of the pen hole, the pen hole can effectively fix the brush, so that the brush remains vertical Straight and stable to avoid unnecessary damage to the brush.
Description
技术领域technical field
本实用新型涉及收纳筒技术领域,具体为一种画笔收纳筒。The utility model relates to the technical field of storage cylinders, in particular to a brush storage cylinder.
背景技术Background technique
绘画在技术层面上,是一个以表面作为支撑面,再在其之上加上颜色的做法,那些表面可以是纸张或布,加颜色的工具可以通过画笔、也可以通过刷子、海绵或是布条等。在艺术用语的层面上,绘画的意义亦包含利用此艺术行为再加上图形、构图及其他美学方法去达到画家希望表达的概念及意思,而笔筒是中国古代除笔、墨、纸、砚以外最重要的文房用具,大约出现在明朝中晚期,笔筒因使用方便,很快就风靡天下,至今仍盛而不衰,在追求高效率的现社会阶段,而画笔在使用结束后需要放在收纳筒内进行收纳放置。At a technical level, painting is a practice of using a surface as a supporting surface and then adding color to it. Those surfaces can be paper or cloth. The tools for adding color can be brushes, brushes, sponges or cloths. Article etc. At the level of artistic terminology, the meaning of painting also includes the use of this artistic behavior plus graphics, composition and other aesthetic methods to achieve the concept and meaning that the painter wishes to express. The most important stationery utensils appeared in the middle and late Ming Dynasty. Because of the convenience of use, the pen holder quickly became popular all over the world. It is stored and placed in the storage container.
现有的画笔收纳筒已经不能给满足于人们的需求,不能全方位的对画笔进行收纳,使得在携带过程中对画笔有一定损害,当画笔放置在收纳筒内部,画笔容易互相发生碰撞,不能有效的对画笔进行固定,而且画笔中的颜料容易滴落在笔筒内部,使得笔筒清理极为不方便。The existing brush storage cylinders can no longer meet people's needs, and cannot accommodate the brushes in all directions, so that the brushes are damaged to a certain extent during the carrying process. The brush is effectively fixed, and the paint in the brush is easy to drip into the inside of the pen holder, which makes it extremely inconvenient to clean the pen holder.
实用新型内容Utility model content
本实用新型的目的在于提供一种画笔收纳筒,以解决现有的画笔收纳筒已经不能给满足于人们的需求,不能全方位的对画笔进行收纳,使得在携带过程中对画笔有一定损害,当画笔放置在收纳筒内部,画笔容易互相发生碰撞,不能有效的对画笔进行固定,而且画笔中的颜料容易滴落在笔筒内部,使得笔筒清理极为不方便的问题。The purpose of the present utility model is to provide a paintbrush storage tube, so as to solve the problem that the existing paintbrush storage tube can no longer meet the needs of people, and cannot store paintbrushes in all directions, so that the paintbrushes are damaged to a certain extent during the carrying process. When the brushes are placed inside the storage cylinder, the brushes are prone to collide with each other, and the brushes cannot be effectively fixed, and the paint in the brushes easily drips into the interior of the pen holder, which makes it extremely inconvenient to clean the pen holder.
为实现上述目的,本实用新型提供如下技术方案一种画笔收纳筒,包括筒体、一号筒盖和活动轴,所述筒体上端通过活动轴活动连接有一号筒盖,所述筒体内部可拆卸连接有隔板,所述隔板表面设置笔孔,所述笔孔内壁通过弹簧固定连接有固定片,所述固定片一侧固定连接有橡胶垫,所述一号筒盖内部可拆卸连接有海绵垫,所述海绵垫表面设置有凹槽,所述筒体下端螺纹连接有二号筒盖,所述二号筒盖与筒体连接处设置有密封圈,所述二号筒盖下端固定连接有橡胶垫。In order to achieve the above purpose, the present utility model provides the following technical solutions: a brush storage cylinder, comprising a cylinder body, a number one cylinder cover and a movable shaft, the upper end of the cylinder body is movably connected to a number one cylinder cover through the movable shaft, and the interior of the cylinder body is detachable. A partition is connected, the surface of the partition is provided with a pen hole, the inner wall of the pen hole is fixedly connected with a fixing piece through a spring, a rubber pad is fixedly connected to one side of the fixing piece, and a sponge is detachably connected to the inside of the first cylinder cover. The surface of the sponge pad is provided with a groove, the lower end of the cylinder body is threadedly connected with a No. 2 cylinder cover, a sealing ring is provided at the connection between the No. 2 cylinder cover and the cylinder body, and a rubber gasket is fixedly connected to the lower end of the No. 2 cylinder cover .
优选的,所述筒体一侧固定连接有卡扣。Preferably, a buckle is fixedly connected to one side of the cylinder body.
优选的,所述弹簧、固定片和橡胶垫具体数量均设置有两组,且对称放置。Preferably, the springs, the fixing sheets and the rubber pads are provided in two groups in specific numbers, and they are placed symmetrically.
优选的,所述筒体另一侧固定连接有挂绳,所述挂绳下方设置有卡块,所述卡块与筒体固定连接。Preferably, a lanyard is fixedly connected to the other side of the cylinder body, a clamping block is arranged below the lanyard, and the clamping block is fixedly connected to the cylinder body.
优选的,所述固定片与橡胶垫均为半圆弧形状。Preferably, the fixing sheet and the rubber pad are both in the shape of a semi-circular arc.
与现有技术相比,本实用新型的有益效果是:Compared with the prior art, the beneficial effects of the present utility model are:
1、本实用新型通过在筒体内部设置有隔板,并且在隔板表面设置有笔孔,在笔孔内壁设置有弹簧和固定片,笔孔可以更加方便的将画笔放入笔孔中,使得画笔整齐排列,而弹簧和固定片可以有效的对画笔进行固定,从而使得画笔保持竖直稳定,避免画笔遭到不必要的伤害,当画笔放置在固定片之间时,弹簧压缩,对画笔进行固定,从而使得弹簧可以对不同尺寸的画笔进行固定,结构简单,使用方便,有效的对画笔进行整齐收纳。1. The utility model is provided with a partition plate inside the cylinder body, and a pen hole is arranged on the surface of the partition plate, and a spring and a fixing piece are arranged on the inner wall of the pen hole, and the pen hole can more conveniently put the brush into the pen hole, The brushes are arranged neatly, and the springs and the fixing pieces can effectively fix the brushes, so that the brushes remain vertical and stable, and avoid unnecessary damage to the brushes. When the brushes are placed between the fixing pieces, the springs are compressed and the brushes are It is fixed, so that the spring can fix the brushes of different sizes, the structure is simple, the use is convenient, and the brushes are effectively and neatly stored.
2、通过设置有海绵垫和凹槽,海绵垫可以有效的对笔尖的水渍进行吸收,而凹槽方便笔尖放置在凹槽中,对笔尖进行防护,避免笔尖遭受损坏,从而有效的对画笔进行防护。2. By setting the sponge pad and the groove, the sponge pad can effectively absorb the water stains of the pen tip, and the groove is convenient for the pen tip to be placed in the groove to protect the pen tip and avoid damage to the pen tip, so as to effectively protect the brush. Protect.
3、通过设置有二号筒盖。二号筒盖与筒体螺纹连接,便于对筒体中的颜料进行清洗,在清洗筒体时,将二号筒盖拧开,对筒体进行清洗,方便了对画笔收纳筒进行清洗,并且在筒体另一侧设置有卡块,卡块方便的将画笔收纳筒挂在画板上,更加方便使用。3. By setting the No. 2 cylinder cover. The No. 2 cylinder cover is threadedly connected to the cylinder body, which is convenient for cleaning the paint in the cylinder body. When cleaning the cylinder body, the No. 2 cylinder cover is unscrewed to clean the cylinder body, which is convenient for cleaning the brush storage cylinder. A card block is arranged on the other side of the body, and the card block conveniently hangs the brush storage cylinder on the drawing board, which is more convenient to use.
附图说明Description of drawings
图1为本实用新型结构示意图;Fig. 1 is the structural representation of the utility model;
图2为本实用新型隔板俯视结构示意图;Fig. 2 is the top view structure schematic diagram of the partition plate of the utility model;
图3为本实用新型一号筒盖内部结构示意图;3 is a schematic diagram of the internal structure of the No. 1 cylinder cover of the present utility model;
图4为本实用新型笔孔内部结构示意图。4 is a schematic diagram of the internal structure of the pen hole of the present invention.
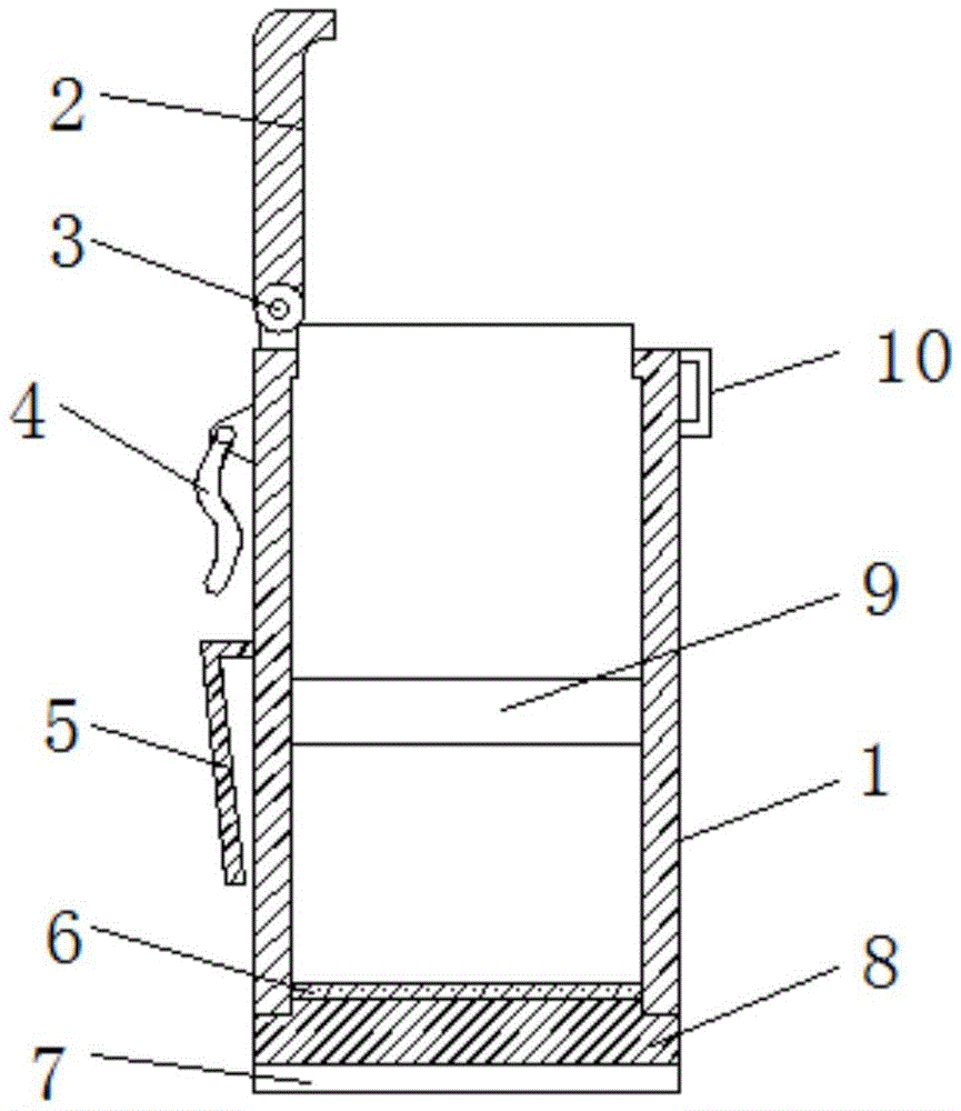
图中:1、筒体,2、一号筒盖,3、活动轴,4、挂绳,5、卡块,6、密封圈,7、防滑垫,8、二号筒盖,9、隔板,10、卡扣,11、笔孔,12、海绵垫,13、凹槽,14、弹簧,15、固定片,16、橡胶垫。In the picture: 1. Cylinder body, 2. No. 1 cylinder cover, 3. Active shaft, 4. Lanyard, 5. Block, 6. Sealing ring, 7. Anti-skid pad, 8. No. 2 cylinder cover, 9. Clapboard, 10. Buckle, 11, Pen hole, 12, Sponge pad, 13, Groove, 14, Spring, 15, Fixing piece, 16, Rubber pad.
具体实施方式Detailed ways
下面将结合附图和实施方式对本实用新型作进一步说明。The present utility model will be further described below with reference to the accompanying drawings and embodiments.
请参阅图1-4,本实用新型提供一种技术方案:一种画笔收纳筒,包括筒体1、一号筒盖2、活动轴3、挂绳4、卡块5、密封圈6、防滑垫7、二号筒盖8、隔板9、卡扣10、笔孔11、海绵垫12、凹槽13、弹簧14、固定片15和橡胶垫16,筒体1上端通过活动轴3活动连接有一号筒盖2,筒体1一侧固定连接有卡扣10,卡扣10便于将一号筒盖2盖住筒体1,使得一号筒盖2进行固定,筒体1内部可拆卸连接有隔板9,隔板9表面设置笔孔11,笔孔11内壁通过弹簧14固定连接有固定片15,固定片15一侧固定连接有橡胶垫16,弹簧14、固定片15和橡胶垫16具体数量均设置有两组,且对称放置,弹簧14和固定片15可以有效的对画笔进行固定,从而使得画笔保持竖直稳定,避免画笔遭到不必要的伤害,当画笔放置在固定片15之间时,弹簧14压缩,对画笔进行固定,从而使得弹簧14可以对不同尺寸的画笔进行固定,结构简单,使用方便,有效的对画笔进行整齐收纳,而橡胶垫16可以有效的保护画笔表面,避免遭受破损,固定片15与橡胶垫16均为半圆弧形状,半圆弧形状的固定片15和橡胶垫16方便将画笔卡在固定片15之间,对画笔起到很好的固定作用,一号筒盖2内部可拆卸连接有海绵垫12,海绵垫12表面设置有凹槽13,海绵垫12可以有效的对笔尖的水渍进行吸收,而凹槽13方便笔尖放置在凹槽13中,对笔尖进行防护,避免笔尖遭受损坏,从而有效的对画笔进行防护,筒体1下端螺纹连接有二号筒盖8,二号筒盖8与筒体1连接处设置有密封圈6,在清洗筒体1时,将二号筒盖8拧开,对筒体1进行清洗,方便了对画笔收纳筒进行清洗,二号筒盖8下端固定连接有橡胶垫16,筒体1另一侧固定连接有挂绳4,挂绳4下方设置有卡块5,卡块5与筒体1固定连接,挂绳4可以方便对画笔收纳筒进行携带,而卡块5方便的将画笔收纳筒挂在画板上,更加方便使用。1-4, the present utility model provides a technical solution: a brush storage cylinder, comprising a
工作原理:在使用时拉开卡扣10,将一号筒盖2打开,将画笔放入到笔孔11中的固定片15之间,当画笔放置固定片15之间时,使得弹簧14压缩,将画笔底部与筒底接触,而弹簧14具有弹力,从而将画笔卡在固定片15之间,而在固定片15一侧设有橡胶垫16,橡胶垫16可以有效对画笔表面进行防护,避免画笔放置在笔孔11中滑动,然后关闭一号筒盖2,使得一号筒盖2中的海绵垫12与笔尖接触,海绵垫12中的凹槽13方便的对笔尖进行防护,避免不同的画笔互相污染,而当需要对画笔收纳筒进行清洗时,拧动二号筒盖8,对笔筒进行清理,而在筒体1一侧设置有卡块5,卡块5方便的将画笔收纳筒挂在画板上,更加方便使用。Working principle: when in use, pull open the
尽管参照前述实施例对本实用新型进行了详细的说明,对于本领域的技术人员来说,其依然可以对前述各实施例所记载的技术方案进行修改,或者对其中部分技术特征进行等同替换,凡在本实用新型的精神和原则之内,所作的任何修改、等同替换、改进等,均应包含在本实用新型的保护范围之内。Although the present invention has been described in detail with reference to the foregoing embodiments, for those skilled in the art, it is still possible to modify the technical solutions described in the foregoing embodiments, or perform equivalent replacements to some of the technical features. Within the spirit and principle of the present invention, any modifications, equivalent replacements, improvements, etc. made should be included within the protection scope of the present invention.
Claims (5)
Priority Applications (1)
| Application Number | Priority Date | Filing Date | Title |
|---|---|---|---|
| CN201820133906.4U CN210881482U (en) | 2018-01-26 | 2018-01-26 | Painting brush storage barrel |
Applications Claiming Priority (1)
| Application Number | Priority Date | Filing Date | Title |
|---|---|---|---|
| CN201820133906.4U CN210881482U (en) | 2018-01-26 | 2018-01-26 | Painting brush storage barrel |
Publications (1)
| Publication Number | Publication Date |
|---|---|
| CN210881482U true CN210881482U (en) | 2020-06-30 |
Family
ID=71315595
Family Applications (1)
| Application Number | Title | Priority Date | Filing Date |
|---|---|---|---|
| CN201820133906.4U Expired - Fee Related CN210881482U (en) | 2018-01-26 | 2018-01-26 | Painting brush storage barrel |
Country Status (1)
| Country | Link |
|---|---|
| CN (1) | CN210881482U (en) |
Cited By (1)
| Publication number | Priority date | Publication date | Assignee | Title |
|---|---|---|---|---|
| CN114158852A (en) * | 2021-11-11 | 2022-03-11 | 安徽工程大学 | A kind of intelligent art painting stand and using method thereof |
-
2018
- 2018-01-26 CN CN201820133906.4U patent/CN210881482U/en not_active Expired - Fee Related
Cited By (2)
| Publication number | Priority date | Publication date | Assignee | Title |
|---|---|---|---|---|
| CN114158852A (en) * | 2021-11-11 | 2022-03-11 | 安徽工程大学 | A kind of intelligent art painting stand and using method thereof |
| CN114158852B (en) * | 2021-11-11 | 2023-02-28 | 安徽工程大学 | An intelligent art painting stand and its use method |
Similar Documents
| Publication | Publication Date | Title |
|---|---|---|
| CN111713845A (en) | Paintbrush with adjustable brush handle | |
| CN210881482U (en) | Painting brush storage barrel | |
| CN203974339U (en) | Combined type Washfree writing brush frame | |
| CN203511094U (en) | Multifunctional brush pen hanger | |
| CN209376981U (en) | A portable retractable vertical toothbrush | |
| CN208944644U (en) | A kind of sensors clean brush | |
| CN208428858U (en) | A kind of whiteboard eraser clean bucket and whiteboard eraser with matching | |
| CN209904334U (en) | Magnetic suction rod chalk and hanging rack | |
| CN205551019U (en) | Novel household utensils wash device | |
| CN211764635U (en) | Oil painting palette | |
| CN108175175A (en) | A kind of paintbrush of anti-drip belt scraping plate | |
| CN209159220U (en) | A kind of Multifunction drawing pencil | |
| CN206124530U (en) | Multifunction drawing pencil | |
| CN211280467U (en) | Pen holder for oil painting and drawing | |
| CN202319622U (en) | Blackboard eraser | |
| CN208052964U (en) | A kind of paintbrush box of portable paintbrush capable of washing | |
| CN206520410U (en) | A kind of paintbrush frame | |
| CN207291441U (en) | One kind rotation storage paintbrush rack | |
| CN206613673U (en) | A kind of mopping device | |
| CN207433126U (en) | A kind of toning dish structure | |
| CN207028647U (en) | A kind of combined type penholder | |
| CN205053200U (en) | Toothbrush convenient to carry and use | |
| CN201752990U (en) | Pen inserting appliance capable of being fixed on drawing board | |
| CN210234504U (en) | Fine arts painting brush penholder | |
| CN110508459B (en) | Conveniently remove printing ink saddlebag for coating that carries |
Legal Events
| Date | Code | Title | Description |
|---|---|---|---|
| GR01 | Patent grant | ||
| GR01 | Patent grant | ||
| CF01 | Termination of patent right due to non-payment of annual fee | ||
| CF01 | Termination of patent right due to non-payment of annual fee |
Granted publication date: 20200630 Termination date: 20210126 |
