CN210849909U - Fixing device is used in air conditioner accessory processing - Google Patents

Fixing device is used in air conditioner accessory processing Download PDF

Info

Publication number
CN210849909U
CN210849909U CN201921366667.8U CN201921366667U CN210849909U CN 210849909 U CN210849909 U CN 210849909U CN 201921366667 U CN201921366667 U CN 201921366667U CN 210849909 U CN210849909 U CN 210849909U
Authority
CN
China
Prior art keywords
hole
support plate
clamping block
groove
rod
Prior art date
Legal status (The legal status is an assumption and is not a legal conclusion. Google has not performed a legal analysis and makes no representation as to the accuracy of the status listed.)
Active
Application number
CN201921366667.8U
Other languages
Chinese (zh)
Inventor
钟灿松
Current Assignee (The listed assignees may be inaccurate. Google has not performed a legal analysis and makes no representation or warranty as to the accuracy of the list.)
Zhengzhou Antong Electromechanical Equipment Co Ltd
Original Assignee
Zhengzhou Antong Electromechanical Equipment Co Ltd
Priority date (The priority date is an assumption and is not a legal conclusion. Google has not performed a legal analysis and makes no representation as to the accuracy of the date listed.)
Filing date
Publication date
Application filed by Zhengzhou Antong Electromechanical Equipment Co Ltd filed Critical Zhengzhou Antong Electromechanical Equipment Co Ltd
Priority to CN201921366667.8U priority Critical patent/CN210849909U/en
Application granted granted Critical
Publication of CN210849909U publication Critical patent/CN210849909U/en
Active legal-status Critical Current
Anticipated expiration legal-status Critical

Links

Images

Landscapes

  • Gripping Jigs, Holding Jigs, And Positioning Jigs (AREA)

Abstract

The utility model belongs to the technical field of the fixed equipment, especially, be a fixing device is used in air conditioner accessory processing, the on-line screen storage device comprises a base, the top fixed mounting of base has fixed extension board, and one side fixed mounting of fixed extension board has first clamp splice, and one side fixed mounting of fixed extension board has the dead lever that is located first clamp splice below, and the dead lever is L type structure, and the dead lever is kept away from the one end welding of fixed extension board at the top of base, and the spout has been seted up at the top of base, and slidable mounting has the slip extension board in the spout, and the top of slip extension. The utility model discloses simple structure, convenient to use rotates first pivot, tentatively adjusts the position of second clamp splice, utilizes first clamp splice and second clamp splice to treat that the machined part carries out preliminary centre gripping, rotates the second pivot, finely tunes the position of second clamp splice, treats the further centre gripping of machined part to make the centre gripping more firm, avoid the too big or undersize influence work efficiency of centre gripping dynamics.

Description

Fixing device is used in air conditioner accessory processing
Technical Field
The utility model relates to a fixed equipment technical field especially relates to a fixing device is used in air conditioner accessory processing.
Background
Nowadays, along with the development of science and technology and the improvement of people's standard of living, the rate of utilization of air conditioner is higher and higher, and the application range of air conditioner is wider and wider moreover, and the quality of air conditioner accessory directly influences the quality of air conditioner, and various problems take place for the air conditioner accessory in the production process, fixes the accessory and is exactly one of them ring, and the quality and the cost of product are directly influenced to fixing device's quality.
However, in the prior art, the fixing device for the air conditioner accessory cannot meet the stability and reliability of workpiece positioning in the using process, sufficient clamping force is not provided to guarantee the machining process of the accessory on the tool fixture, or the clamping force is too large, so that the air conditioner accessory is damaged, the machining quality of a product is affected, the fixing stability cannot be guaranteed when the air conditioner accessory is machined and fixed by some existing fixing devices, the air conditioner accessory is inconvenient to machine after being fixed, and the working efficiency is affected.
SUMMERY OF THE UTILITY MODEL
The utility model aims at solving the defects existing in the prior art and providing a fixing device for processing air conditioner accessories.
In order to achieve the above purpose, the utility model adopts the following technical scheme: a fixing device for processing air conditioner accessories comprises a base, wherein a fixing support plate is fixedly arranged at the top of the base, a first clamping block is fixedly arranged on one side of the fixing support plate, a fixing rod positioned below the first clamping block is fixedly arranged on one side of the fixing support plate, the fixing rod is of an L-shaped structure, one end, away from the fixing support plate, of the fixing rod is welded at the top of the base, a chute is formed in the top of the base, a sliding support plate is slidably arranged in the chute, the top of the sliding support plate extends out of the chute, the sliding support plate is slidably sleeved on the fixing rod, a threaded hole positioned in the chute is formed in one side of the sliding support plate, a first threaded rod is connected in the threaded hole in a threaded manner, two ends of the first threaded rod extend out of the threaded hole, a first through hole is formed in the inner wall of one side of, and the one end that first pivot is located the spout is connected with the one end fixed connection of first threaded rod, and the second through-hole that is located the dead lever top is seted up to one side of slip extension board, and the second through-hole internal rotation is installed the second pivot, and the both ends of second pivot all extend outside the second through-hole, and the thread groove has been seted up to the one end that the second pivot is close to first clamp splice, and thread groove female connection has the second threaded rod, and the one end of second threaded rod extends to outside the thread groove and fixed mounting has the second clamp splice.
Preferably, the bottom of the second clamping block is fixedly provided with a positioning slide rod, and the positioning slide rod is sleeved on the fixing rod in a sliding manner.
Preferably, the side that first clamp splice and second clamp splice are close to each other all fixedly mounted with the blotter, and the one side that two blotters are close to each other all is equipped with the bump.
Preferably, a groove is formed in the inner wall of one side, away from the first through hole, of the sliding groove, one end, away from the first rotating shaft, of the first threaded rod extends into the groove and is fixedly sleeved with a first bearing, and the outer ring of the first bearing is fixedly connected with the inner wall of the groove.
Preferably, an annular groove is formed in the inner wall of the first through hole, an annular block located in the first through hole is fixedly sleeved on the first rotating shaft, and the annular block is rotatably installed in the annular groove.
Preferably, the second rotating shaft is fixedly sleeved with a second bearing located in the second through hole, and an outer ring of the second bearing is fixedly connected with the inner wall of the second through hole.
Compared with the prior art, the beneficial effects of the utility model are that: firstly, the device is matched with a positioning slide bar through a base, a fixed support plate, a first clamping block, a fixed rod, a chute, a sliding support plate, a threaded hole, a first threaded rod, a first through hole, a first rotating shaft, a second through hole, a second rotating shaft, a threaded groove, a second threaded rod, a second clamping block and the positioning slide bar, the first rotating shaft is rotated clockwise, the first rotating shaft drives the first threaded rod to rotate, the sliding support plate slides towards one side close to the fixed support plate in the chute due to the threaded connection of the first threaded rod and the threaded hole, the sliding support plate drives the second clamping block and the positioning slide bar to move, the positioning slide bar slides on the fixed rod, the second clamping block approaches towards the first clamping block, according to the size of a workpiece to be machined, when the second clamping block is moved to a proper position, the first rotating rod stops rotating, the workpiece is clamped, the second rotating shaft is rotated clockwise, and the second threaded rod is in threaded connection, the positioning sliding rod positions the second clamping block, when the second rotating shaft rotates, the second threaded rod slides out of the threaded groove, the second threaded rod drives the second clamping block to slide towards the first clamping block, when the second clamping block and the first clamping block clamp the workpiece to be machined, the second rotating shaft stops rotating, and the workpiece to be machined is further clamped and fixed;
the utility model discloses simple structure, convenient to use rotates first pivot, tentatively adjusts the position of second clamp splice, utilizes first clamp splice and second clamp splice to treat that the machined part carries out preliminary centre gripping, rotates the second pivot, finely tunes the position of second clamp splice, treats the further centre gripping of machined part to make the centre gripping more firm, avoid the too big or undersize influence work efficiency of centre gripping dynamics.
Drawings
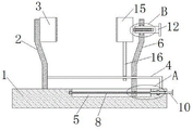
Fig. 1 is a schematic sectional structure view of the main view of the present invention;
FIG. 2 is an enlarged view of portion A of FIG. 1;
fig. 3 is an enlarged view of a portion B in fig. 1.
In the figure: 1. a base; 2. fixing a support plate; 3. a first clamping block; 4. fixing the rod; 5. a chute; 6. a sliding support plate; 7. a threaded hole; 8. a first threaded rod; 9. a first through hole; 10. a first rotating shaft; 11. a second through hole; 12. a second rotating shaft; 13. a thread groove; 14. a second threaded rod; 15. a second clamp block; 16. and positioning the sliding rod.
Detailed Description
The technical solutions in the embodiments of the present invention will be described clearly and completely with reference to the accompanying drawings in the embodiments of the present invention, and it is obvious that the described embodiments are only some embodiments of the present invention, not all embodiments. Based on the embodiments in the present invention, all other embodiments obtained by a person skilled in the art without creative work belong to the protection scope of the present invention.
Referring to fig. 1-3, the present invention provides a technical solution: a fixing device for processing air conditioner accessories comprises a base 1, a fixing support plate 2 is fixedly installed on the top of the base 1, a first clamping block 3 is fixedly installed on one side of the fixing support plate 2, a fixing rod 4 located below the first clamping block 3 is fixedly installed on one side of the fixing support plate 2, the fixing rod 4 is of an L-shaped structure, one end, far away from the fixing support plate 2, of the fixing rod 4 is welded on the top of the base 1, a sliding groove 5 is formed in the top of the base 1, a sliding support plate 6 is slidably installed in the sliding groove 5, the top of the sliding support plate 6 extends out of the sliding groove 5, the sliding support plate 6 is slidably sleeved on the fixing rod 4, a threaded hole 7 located in the sliding groove 5 is formed in one side of the sliding support plate 6, a first threaded rod 8 is connected to the threaded hole 7 in a threaded manner, two ends of the first threaded rod 8 both extend out of the threaded, both ends of a first rotating shaft 10 extend out of the first through hole 9, one end of the first rotating shaft 10, which is positioned in the sliding groove 5, is fixedly connected with one end of a first threaded rod 8, one side of the sliding support plate 6 is provided with a second through hole 11, which is positioned above the fixed rod 4, a second rotating shaft 12 is rotatably installed in the second through hole 11, both ends of the second rotating shaft 12 extend out of the second through hole 11, one end of the second rotating shaft 12, which is close to the first clamping block 3, is provided with a threaded groove 13, the threaded groove 13 is in threaded connection with a second threaded rod 14, and one end of the second threaded rod 14 extends out of the threaded groove 13 and is fixedly installed with a second clamping block 15;
a positioning slide bar 16 is fixedly installed at the bottom of the second clamping block 15, the positioning slide bar 16 is slidably sleeved on the fixing rod 4, cushions are fixedly installed on the sides, close to each other, of the first clamping block 3 and the second clamping block 15, bumps are arranged on the sides, close to each other, of the two cushions, a groove is formed in the inner wall, away from the first through hole 9, of the chute 5, a first threaded rod 8 is extended into the groove and fixedly sleeved with a first bearing, the outer ring of the first bearing is fixedly connected with the inner wall of the groove, an annular groove is formed in the inner wall of the first through hole 9, an annular block located in the first through hole 9 is fixedly sleeved on the first rotating shaft 10 and rotatably installed in the annular groove, a second bearing located in the second through hole 11 is fixedly sleeved on the second rotating shaft 12, and the outer ring of the second bearing is fixedly connected with the inner wall of the second through hole 11, the device comprises a base 1, a fixed support plate 2, a first clamping block 3, a fixed rod 4, a sliding groove 5, a sliding support plate 6, a threaded hole 7, a first threaded rod 8, a first through hole 9, a first rotating shaft 10, a second through hole 11, a second rotating shaft 12, a threaded groove 13, a second threaded rod 14, a second clamping block 15 and a positioning slide bar 16 which are matched, the first rotating shaft 10 is rotated clockwise, the first rotating shaft 10 drives the first threaded rod 8 to rotate, the sliding support plate 6 slides towards one side close to the fixed support plate 2 in the sliding groove 5 due to the threaded connection of the first threaded rod 8 and the threaded hole 7, the sliding support plate 6 drives the second clamping block 15 and the positioning slide bar 16 to move, the positioning slide bar 16 slides on the fixed rod 4, the second clamping block 15 is close to the first clamping block 3, according to the size of a workpiece, when the second clamping block 15 is moved to a proper position, the first rotating rod 10 is stopped to preliminarily clamp the workpiece, then the second rotating shaft 12 is rotated clockwise, because the second threaded rod 14 is in threaded connection with the threaded groove 13, the positioning slide rod 16 positions the second clamping block 15, when the second rotating shaft 12 rotates, the second threaded rod 14 slides out of the threaded groove 13, the second threaded rod 14 drives the second clamping block 15 to slide towards the first clamping block 3, when the second clamping block 15 and the first clamping block 3 clamp the workpiece to be processed, the second rotating shaft 12 stops rotating, the utility model has simple structure and convenient use, rotates the first rotating shaft 10, preliminarily adjusts the position of the second clamping block 15, preliminarily clamps the workpiece to be processed by the first clamping block 3 and the second clamping block 15, rotates the second rotating shaft 12, the position of the second clamping block 15 is finely adjusted, and the workpiece is further clamped, so that clamping is more stable, and the phenomenon that the working efficiency is influenced by too large or too small clamping force is avoided.
The working principle is as follows: when the workpiece clamping device is used, firstly, the first rotating shaft 10 is rotated clockwise, the first rotating shaft 10 drives the annular block to slide in the annular groove, the first rotating shaft 10 drives the first threaded rod 8 to rotate, as the first threaded rod 8 is in threaded connection with the threaded hole 7, when the first threaded rod 8 rotates, the sliding support plate 6 slides to one side close to the fixed support plate 2 in the chute 5, the sliding support plate 6 slides on the fixed rod 4, the sliding support plate 6 drives the second clamping block 15 and the positioning slide rod 16 to move, the positioning slide rod 16 slides on the fixed rod 4, the second clamping block 15 is close to the first clamping block 3, according to the size of a workpiece to be machined, when the second clamping block 15 is moved to a proper position, the first rotating shaft 10 is stopped to rotate, the workpiece to be machined is initially clamped by the first clamping block 3 and the second clamping block 15 through rotating the first rotating shaft 10, then the second rotating shaft 12 is rotated clockwise, as the second threaded rod 14 is in threaded connection with the threaded, the positioning slide rod 16 positions the second clamping block 15 to prevent the second clamping block 15 from rotating, when the second rotating shaft 12 rotates, the second threaded rod 14 slides out of the threaded groove 13, the second threaded rod 14 drives the second clamping block 15 to slide towards the first clamping block 3, when the second clamping block 15 and the first clamping block 3 clamp the workpiece to be machined, the second rotating shaft 12 stops rotating, the workpiece to be machined is further clamped and fixed by the first clamping block 3 and the second clamping block 15 by rotating the second rotating shaft 12, the first clamping block 3 and the second clamping block 15 are used for stably clamping the workpiece to be machined, damage to the workpiece to be machined due to too large clamping force is avoided, the workpiece to be machined falls off due to too small clamping force, and similarly, the first rotating shaft 10 and the second rotating shaft 12 are rotated anticlockwise respectively, and the second clamping block 15 moves towards the direction far away from the first clamping block 3.
The above, only be the concrete implementation of the preferred embodiment of the present invention, but the protection scope of the present invention is not limited thereto, and any person skilled in the art is in the technical scope of the present invention, according to the technical solution of the present invention and the utility model, the concept of which is equivalent to replace or change, should be covered within the protection scope of the present invention.

Claims (6)

1. The utility model provides a fixing device is used in air conditioner accessory processing, includes base (1), its characterized in that: a fixed support plate (2) is fixedly installed at the top of the base (1), a first clamping block (3) is fixedly installed at one side of the fixed support plate (2), a fixed rod (4) positioned below the first clamping block (3) is fixedly installed at one side of the fixed support plate (2), the fixed rod (4) is of an L-shaped structure, one end, far away from the fixed support plate (2), of the fixed rod (4) is welded at the top of the base (1), a sliding groove (5) is formed in the top of the base (1), a sliding support plate (6) is slidably installed in the sliding groove (5), the top of the sliding support plate (6) extends out of the sliding groove (5), the sliding support plate (6) is slidably sleeved on the fixed rod (4), a threaded hole (7) positioned in the sliding groove (5) is formed in one side of the sliding support plate (6), a first threaded rod (8) is in threaded connection with the threaded hole (7), and two, a first through hole (9) is arranged on the inner wall of one side of the sliding chute (5), a first rotating shaft (10) is rotatably arranged in the first through hole (9), both ends of the first rotating shaft (10) extend out of the first through hole (9), and one end fixed connection of one end that first pivot (10) is located spout (5) and first threaded rod (8), second through-hole (11) that are located dead lever (4) top are seted up to one side of slip extension board (6), second pivot (12) are installed to second through-hole (11) internal rotation, the both ends of second pivot (12) all extend outside second through-hole (11), thread groove (13) have been seted up to one end that second pivot (12) are close to first clamp splice (3), thread groove (13) female connection has second threaded rod (14), the one end of second threaded rod (14) extends to outside thread groove (13) and fixed mounting has second clamp splice (15).
2. The air conditioner accessory processing fixing device as claimed in claim 1, wherein: the bottom of the second clamping block (15) is fixedly provided with a positioning slide rod (16), and the positioning slide rod (16) is sleeved on the fixing rod (4) in a sliding manner.
3. The air conditioner accessory processing fixing device as claimed in claim 1, wherein: the first clamping block (3) and the second clamping block (15) are fixedly provided with cushion pads on one sides close to each other, and salient points are arranged on one sides close to each other of the two cushion pads.
4. The air conditioner accessory processing fixing device as claimed in claim 1, wherein: a groove is formed in the inner wall of one side, away from the first through hole (9), of the sliding groove (5), one end, away from the first rotating shaft (10), of the first threaded rod (8) extends into the groove and is fixedly sleeved with a first bearing, and the outer ring of the first bearing is fixedly connected with the inner wall of the groove.
5. The air conditioner accessory processing fixing device as claimed in claim 1, wherein: the inner wall of the first through hole (9) is provided with an annular groove, the first rotating shaft (10) is fixedly sleeved with an annular block located in the first through hole (9), and the annular block is rotatably installed in the annular groove.
6. The air conditioner accessory processing fixing device as claimed in claim 1, wherein: the second rotating shaft (12) is fixedly sleeved with a second bearing positioned in the second through hole (11), and the outer ring of the second bearing is fixedly connected with the inner wall of the second through hole (11).
CN201921366667.8U 2019-08-22 2019-08-22 Fixing device is used in air conditioner accessory processing Active CN210849909U (en)

Priority Applications (1)

Application Number Priority Date Filing Date Title
CN201921366667.8U CN210849909U (en) 2019-08-22 2019-08-22 Fixing device is used in air conditioner accessory processing

Applications Claiming Priority (1)

Application Number Priority Date Filing Date Title
CN201921366667.8U CN210849909U (en) 2019-08-22 2019-08-22 Fixing device is used in air conditioner accessory processing

Publications (1)

Publication Number Publication Date
CN210849909U true CN210849909U (en) 2020-06-26

Family

ID=71305014

Family Applications (1)

Application Number Title Priority Date Filing Date
CN201921366667.8U Active CN210849909U (en) 2019-08-22 2019-08-22 Fixing device is used in air conditioner accessory processing

Country Status (1)

Country Link
CN (1) CN210849909U (en)

Cited By (1)

* Cited by examiner, † Cited by third party
Publication number Priority date Publication date Assignee Title
CN114603505A (en) * 2022-03-24 2022-06-10 镇江银海科技材料有限公司 Fixing and limiting clamp for machining explosion-proof aluminum foil and using method thereof

Cited By (1)

* Cited by examiner, † Cited by third party
Publication number Priority date Publication date Assignee Title
CN114603505A (en) * 2022-03-24 2022-06-10 镇江银海科技材料有限公司 Fixing and limiting clamp for machining explosion-proof aluminum foil and using method thereof

Similar Documents

Publication Publication Date Title
CN206201071U (en) A kind of ultra high molecular polyethylene oil pipe cutting clamper
CN210703687U (en) Special fixture is used in motor stator processing
CN210849909U (en) Fixing device is used in air conditioner accessory processing
CN206732169U (en) A kind of boring grab
CN207223465U (en) A kind of flexibility centralizer
CN108177006B (en) A kind of CNC equipment for processing mobile phone accessories and its application method
CN203579059U (en) Rotatable welding clamp
CN206373390U (en) A kind of Novel radial drilling machine
CN209007342U (en) A kind of fixture for data line production
CN205996275U (en) Cambered surface work piece both ends chamfer equipment
CN209363991U (en) A kind of three axis positioner of level
CN208289482U (en) Reducing gearbox hydraulically operated fixture
CN207840734U (en) A kind of built-up jig component
CN207888275U (en) A kind of shift fork bore hole fixture
CN216000234U (en) Square timber processing centre gripping frock
CN213080215U (en) Fixing clamp of milling machine
CN210360805U (en) Fixing and clamping device for metal polishing
CN206373646U (en) A Detachable Special Fixture for CNC Machining Center
CN211135771U (en) Aluminum mould frame fluting device
CN210099812U (en) Main bearing cap adds clamping apparatus
CN214770432U (en) Auxiliary turning angle tool clamp on machine tool
CN215433311U (en) Large-offset workpiece perpendicularity clamp
CN216264696U (en) Mechanical clamping device
CN207953299U (en) A kind of jig plate of deep cutting bed
CN208231605U (en) A kind of frock clamp convenient for adjustable type

Legal Events

Date Code Title Description
GR01 Patent grant
GR01 Patent grant