CN210691606U - Upper computer for traffic signals - Google Patents
Upper computer for traffic signals Download PDFInfo
- Publication number
- CN210691606U CN210691606U CN201922069031.3U CN201922069031U CN210691606U CN 210691606 U CN210691606 U CN 210691606U CN 201922069031 U CN201922069031 U CN 201922069031U CN 210691606 U CN210691606 U CN 210691606U
- Authority
- CN
- China
- Prior art keywords
- base
- host computer
- upper computer
- control box
- pull rod
- Prior art date
- Legal status (The legal status is an assumption and is not a legal conclusion. Google has not performed a legal analysis and makes no representation as to the accuracy of the status listed.)
- Expired - Fee Related
Links
- 238000004140 cleaning Methods 0.000 claims abstract description 27
- 230000017525 heat dissipation Effects 0.000 claims abstract description 26
- 229920000297 Rayon Polymers 0.000 claims 1
- 238000001816 cooling Methods 0.000 abstract description 17
- 238000009434 installation Methods 0.000 abstract description 2
- 239000000428 dust Substances 0.000 description 4
- 238000000034 method Methods 0.000 description 3
- 238000012986 modification Methods 0.000 description 2
- 230000004048 modification Effects 0.000 description 2
- 239000000853 adhesive Substances 0.000 description 1
- 230000001070 adhesive effect Effects 0.000 description 1
- 230000009286 beneficial effect Effects 0.000 description 1
- 238000010586 diagram Methods 0.000 description 1
- 230000005611 electricity Effects 0.000 description 1
- 239000003292 glue Substances 0.000 description 1
- 230000003068 static effect Effects 0.000 description 1
Images
Landscapes
- Devices For Indicating Variable Information By Combining Individual Elements (AREA)
Abstract
本实用新型公开了一种交通信号用上位机,包括上位机本体、上位机控制箱、散热组件和清洁刷,所述上位机本体的下方设置有上位机控制箱,且上位机本体的内部安装有显示屏,所述上位机控制箱的底端设置有散热组件,所述显示屏的外侧设置有清洁刷,本实用新型通过在上位机本体外框处安装上端啮合有齿轮的齿条,清洁刷通过转轴与齿轮连接,这种结构能够通过转动转把带动清洁刷平移从而实现对显示屏的清洁,底座内底端设置安装在微型电机输出端的散热风扇,散热风扇转动配合散热孔实现对上位机控制箱的散热,贯穿底座凸起端的拉杆通过伸缩弹簧与底座连接,这种结构在实现散热功能的同时还能提高上位机控制箱安装固定的稳定性。
The utility model discloses a host computer for traffic signals, which comprises a host computer body, a host computer control box, a heat dissipation component and a cleaning brush. There is a display screen, the bottom end of the control box of the upper computer is provided with a heat dissipation component, and the outer side of the display screen is arranged with a cleaning brush. The brush is connected with the gear through the rotating shaft. This structure can drive the cleaning brush to move in translation by rotating the handle to clean the display screen. The bottom end of the base is provided with a cooling fan installed at the output end of the micro motor. For the heat dissipation of the computer control box, the pull rod running through the raised end of the base is connected to the base through a telescopic spring. This structure can improve the installation and fixation stability of the upper computer control box while realizing the heat dissipation function.
Description
技术领域technical field
本实用新型属于上位机技术领域,具体涉及一种交通信号用上位机。The utility model belongs to the technical field of host computers, in particular to a host computer for traffic signals.
背景技术Background technique
上位机是指可以直接发出操控命令的计算机,屏幕上显示各种信号变化,下位机是直接控制设备获取设备状况的计算机,上位机发出的命令首先给下位机,下位机再根据此命令解释成相应时序信号直接控制相应设备,下位机不时读取设备状态数据,转换成数字信号反馈给上位机。The upper computer refers to the computer that can directly issue control commands, and various signal changes are displayed on the screen. The lower computer is the computer that directly controls the equipment to obtain the equipment status. The corresponding timing signal directly controls the corresponding equipment, and the lower computer reads the equipment status data from time to time, converts it into a digital signal and feeds it back to the upper computer.
在概念上,控制者和提供服务者是上位机,被控制者和被服务者是下位机,也可以理解为主机和从机的关系,但上位机和下位机是可以转换的。Conceptually, the controller and the service provider are the upper computer, and the controlled person and the served person are the lower computer, which can also be understood as the relationship between the master and the slave, but the upper computer and the lower computer can be converted.
交通信号用上位机就是其中的一种,一般的上位机中的显示屏没有设置自清洁功能,长期暴露外界与空气接触因为静电原因容易粘附灰尘,不仅不卫生还影响使用者的观察,并且上位机控制箱工作过久易发热不及时进行散热可能会影响相关零件的工作进程。The host computer for traffic signals is one of them. The display screen in the general host computer does not have a self-cleaning function. It is easy to adhere to dust due to static electricity when exposed to the outside world for a long time, which is not only unsanitary but also affects the user's observation. If the control box of the upper computer works for a long time, it is easy to heat up, and if the heat dissipation is not carried out in time, the working process of the related parts may be affected.
实用新型内容Utility model content
为解决上述背景技术中提出的问题。本实用新型提供了一种交通信号用上位机,具有清洁方便,有效散热特点。In order to solve the problems raised in the above background art. The utility model provides an upper computer for traffic signals, which has the characteristics of convenient cleaning and effective heat dissipation.
为实现上述目的,本实用新型提供如下技术方案:一种交通信号用上位机,包括上位机本体、上位机控制箱、散热组件和清洁刷,所述上位机本体的下方设置有上位机控制箱,且上位机本体的内部安装有显示屏,所述上位机控制箱的底端设置有散热组件,且上位机控制箱的上端安装有连接座,所述显示屏的外侧设置有清洁刷,所述清洁刷的底端连接有齿轮,所述齿轮的下端啮合有齿条,且齿轮远离清洁刷的一侧设置有转把;In order to achieve the above purpose, the present utility model provides the following technical solutions: a host computer for traffic signals, comprising a host computer body, a host computer control box, a heat dissipation assembly and a cleaning brush, and a host computer control box is arranged below the host computer body , and a display screen is installed inside the host computer body, the bottom end of the host computer control box is provided with a heat dissipation component, and the upper end of the host computer control box is installed with a connecting seat, and the outside of the display screen is provided with a cleaning brush, so The bottom end of the cleaning brush is connected with a gear, the lower end of the gear is engaged with a rack, and the side of the gear away from the cleaning brush is provided with a turning handle;
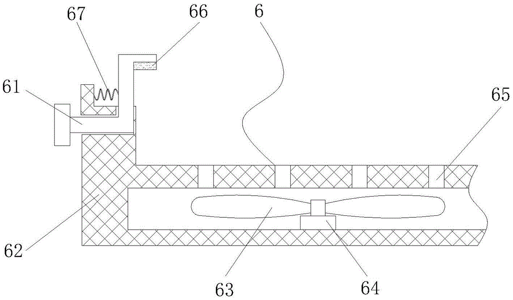
所述散热组件包括拉杆、底座、散热风扇、微型电机、散热孔、防滑垫和伸缩弹簧,其中,所述底座的内底端安装有微型电机,且底座的上端贯穿有拉杆,所述微型电机的输出端连接有散热风扇,所述散热风扇的上方设置有散热孔,所述拉杆的一侧连接有伸缩弹簧,且拉杆贯穿底座的一端下方粘接有防滑垫。The heat dissipation assembly includes a pull rod, a base, a heat dissipation fan, a micro motor, a heat dissipation hole, a non-slip pad and a telescopic spring, wherein a micro motor is installed at the inner bottom end of the base, and a pull rod runs through the upper end of the base, and the micro motor A cooling fan is connected to the output end of the cooling fan, a cooling hole is arranged above the cooling fan, a telescopic spring is connected to one side of the pull rod, and a non-slip pad is adhered under one end of the pull rod passing through the base.
优选的,所述上位机本体与显示屏为一体式结构,且上位机本体与上位机控制箱之间通过连接座连接。Preferably, the main body of the upper computer and the display screen are of an integrated structure, and the main body of the upper computer and the control box of the upper computer are connected by a connecting seat.
优选的,所述齿条通过嵌入上位机本体边框处凿有的凹槽内安装在显示屏的下方,且齿条与齿轮构成啮合结构。Preferably, the rack is installed below the display screen by being embedded in a groove chiseled at the frame of the host computer body, and the rack and the gear form a meshing structure.
优选的,所述齿轮的两侧通过转轴分别与转把和清洁刷连接,所述清洁刷的外侧分布有尺寸相同的刷毛。Preferably, the two sides of the gear are respectively connected with the handle and the cleaning brush through the rotating shaft, and bristles of the same size are distributed on the outside of the cleaning brush.
优选的,所述微型电机的输出端通过轴承与转轴连接,所述散热风扇与微型电机之间通过转轴连接,所述散热孔等距分布在底座上端位于散热风扇上方的位置处。Preferably, the output end of the micro-motor is connected to the rotating shaft through a bearing, the cooling fan and the micro-motor are connected through the rotating shaft, and the heat-dissipating holes are equidistantly distributed on the upper end of the base above the cooling fan.
优选的,所述底座的凸起端凿有滑槽,所述拉杆通过嵌入滑槽活动贯穿底座,且拉杆与底座凸起端内侧之间通过伸缩弹簧连接,所述防滑垫通过强力黏胶粘接在拉杆的下端。Preferably, a chute is chiseled at the protruding end of the base, the pull rod moves through the base by being embedded in the chute, and the pull rod and the inner side of the protruding end of the base are connected by a telescopic spring, and the anti-skid pad is glued with strong glue Connected to the lower end of the pull rod.
与现有技术相比,本实用新型的有益效果是:Compared with the prior art, the beneficial effects of the present utility model are:
1、本实用新型通过在上位机本体外框处安装上端啮合有齿轮的齿条,设置在显示屏上方的清洁刷通过转轴与齿轮连接,这种结构能够通过转动转把带动清洁刷平移从而实现对显示屏表面存在灰尘的清洁。1. In the present invention, a rack with gears meshed at the upper end is installed at the outer frame of the host machine body, and the cleaning brush arranged above the display screen is connected with the gear through a rotating shaft. This structure can be realized by rotating the handle to drive the cleaning brush to translate. Cleaning of dust on the display surface.
2、本实用新型通过在底座内底端设置安装在微型电机输出端的散热风扇,散热风扇转动配合散热孔实现对上位机控制箱的散热,贯穿底座凸起端并且下端粘接有防滑垫的拉杆通过伸缩弹簧与底座连接,这种结构在实现散热功能的同时还能提高上位机控制箱安装固定的稳定性。2. In the present invention, a cooling fan installed on the output end of the micro-motor is arranged at the inner bottom end of the base. The cooling fan rotates and cooperates with the cooling holes to realize heat dissipation to the control box of the upper computer. By connecting the telescopic spring to the base, this structure can improve the stability of the installation and fixation of the control box of the upper computer while realizing the function of heat dissipation.
附图说明Description of drawings
图1为本实用新型交通信号用上位机的结构示意图;Fig. 1 is the structural representation of the upper computer used for the traffic signal of the present utility model;
图2为本实用新型交通信号用上位机的散热组件的结构示意图;2 is a schematic structural diagram of a heat dissipation assembly of a host computer for traffic signals of the present invention;
图中:1、上位机本体;2、显示屏;3、齿条;4、上位机控制箱;5、连接座;6、散热组件;61、拉杆;62、底座;63、散热风扇;64、微型电机;65、散热孔;66、防滑垫;67、伸缩弹簧;7、转把;8、齿轮;9、清洁刷。In the figure: 1. Main body of the host computer; 2. Display screen; 3. Rack; 4. Control box of the host computer; , micro motor; 65, cooling holes; 66, anti-skid pad; 67, telescopic spring; 7, turning handle; 8, gear; 9, cleaning brush.
具体实施方式Detailed ways
下面将结合本实用新型实施例中的附图,对本实用新型实施例中的技术方案进行清楚、完整地描述,显然,所描述的实施例仅仅是本实用新型一部分实施例,而不是全部的实施例。基于本实用新型中的实施例,本领域普通技术人员在没有做出创造性劳动前提下所获得的所有其他实施例,都属于本实用新型保护的范围。The technical solutions in the embodiments of the present utility model will be clearly and completely described below with reference to the accompanying drawings in the embodiments of the present utility model. Obviously, the described embodiments are only a part of the embodiments of the present utility model, rather than all the implementations. example. Based on the embodiments of the present invention, all other embodiments obtained by those of ordinary skill in the art without creative work fall within the protection scope of the present invention.
请参阅图1-2,本实用新型为一种交通信号用上位机,包括上位机本体1、上位机控制箱4、散热组件6和清洁刷9,上位机本体1的下方设置有上位机控制箱4,且上位机本体1的内部安装有显示屏2,上位机控制箱4的底端设置有散热组件6,且上位机控制箱4的上端安装有连接座5,为了安装上位机本体1,上位机本体1与显示屏2为一体式结构,且上位机本体1与上位机控制箱4之间通过连接座5连接;显示屏2的外侧设置有清洁刷9,清洁刷9的底端连接有齿轮8,齿轮8的下端啮合有齿条3,且齿轮8远离清洁刷9的一侧设置有转把7,为了实现对显示屏2表面存在灰尘的清洁,齿轮8的两侧通过转轴分别与转把7和清洁刷9连接,清洁刷9的外侧分布有尺寸相同的刷毛;为了使齿轮8转动的同时还能进行移动,齿条3通过嵌入上位机本体1边框处凿有的凹槽内安装在显示屏2的下方,且齿条3与齿轮8构成啮合结构;Please refer to FIGS. 1-2 , the present utility model is a host computer for traffic signals, comprising a
散热组件6包括拉杆61、底座62、散热风扇63、微型电机64、散热孔65、防滑垫66和伸缩弹簧67,其中,底座62的内底端安装有微型电机64,且底座62的上端贯穿有拉杆61,微型电机64的输出端连接有散热风扇63,散热风扇63的上方设置有散热孔65,为了实现散热作用,微型电机64的输出端通过轴承与转轴连接,散热风扇63与微型电机64之间通过转轴连接,散热孔65等距分布在底座62上端位于散热风扇63上方的位置处;拉杆61的一侧连接有伸缩弹簧67,且拉杆61贯穿底座62的一端下方粘接有防滑垫66,为了进一步实现对上位机控制箱4的固定,底座62的凸起端凿有滑槽,拉杆61通过嵌入滑槽活动贯穿底座62,且拉杆61与底座62凸起端内侧之间通过伸缩弹簧67连接,防滑垫66通过强力黏胶粘接在拉杆61的下端。The
本实用新型的工作原理及使用流程:首先,拉动拉杆61,将上方通过连接座5连接有上位机本体1的上位机控制箱4放置在底座62的上端,然后松开拉杆61,因为贯穿底座62凸起端设置的滑槽的拉杆61通过伸缩弹簧67与底座62连接,并且拉杆61与上位机控制箱4接触的一面粘接有防滑垫66,所以松动拉杆61的同时能够实现对上位机控制箱4的固定,进一步提高其结构的稳定性,另外底座62的内部设置有安装在微型电机64输出端的散热风扇63,这种结构配合散热孔65的分布能够很好的实现对上位机控制箱4的散热,然后,当显示屏2的表面有灰尘分布时,转动转把7,带动齿轮8转动,因为齿轮8的下方啮合有齿条3,所以齿轮8转动的同时还能进行移动,进一步带动通过转轴与齿轮8连接的清洁刷9移动,从而实现对显示屏2的清洁。The working principle and use process of the present utility model: First, pull the
尽管已经示出和描述了本实用新型的实施例,对于本领域的普通技术人员而言,可以理解在不脱离本实用新型的原理和精神的情况下可以对这些实施例进行多种变化、修改、替换和变型,本实用新型的范围由所附权利要求及其等同物限定。Although the embodiments of the present invention have been shown and described, it will be understood by those skilled in the art that various changes and modifications can be made to these embodiments without departing from the principles and spirit of the present invention , alternatives and modifications, the scope of the present invention is defined by the appended claims and their equivalents.
Claims (6)
Priority Applications (1)
| Application Number | Priority Date | Filing Date | Title |
|---|---|---|---|
| CN201922069031.3U CN210691606U (en) | 2019-11-26 | 2019-11-26 | Upper computer for traffic signals |
Applications Claiming Priority (1)
| Application Number | Priority Date | Filing Date | Title |
|---|---|---|---|
| CN201922069031.3U CN210691606U (en) | 2019-11-26 | 2019-11-26 | Upper computer for traffic signals |
Publications (1)
| Publication Number | Publication Date |
|---|---|
| CN210691606U true CN210691606U (en) | 2020-06-05 |
Family
ID=70884328
Family Applications (1)
| Application Number | Title | Priority Date | Filing Date |
|---|---|---|---|
| CN201922069031.3U Expired - Fee Related CN210691606U (en) | 2019-11-26 | 2019-11-26 | Upper computer for traffic signals |
Country Status (1)
| Country | Link |
|---|---|
| CN (1) | CN210691606U (en) |
Cited By (1)
| Publication number | Priority date | Publication date | Assignee | Title |
|---|---|---|---|---|
| CN113458049A (en) * | 2021-07-06 | 2021-10-01 | 安徽森通建设工程有限公司 | Construction warning equipment for building engineering convenient to clean automatically |
-
2019
- 2019-11-26 CN CN201922069031.3U patent/CN210691606U/en not_active Expired - Fee Related
Cited By (1)
| Publication number | Priority date | Publication date | Assignee | Title |
|---|---|---|---|---|
| CN113458049A (en) * | 2021-07-06 | 2021-10-01 | 安徽森通建设工程有限公司 | Construction warning equipment for building engineering convenient to clean automatically |
Similar Documents
| Publication | Publication Date | Title |
|---|---|---|
| CN106251785A (en) | Novel LED billboard | |
| CN203102780U (en) | A display dustproof device | |
| CN211118429U (en) | Electric power surveillance camera head supports framework | |
| CN210691606U (en) | Upper computer for traffic signals | |
| CN201208027Y (en) | Double helix type cleaning brush plate | |
| CN105003807B (en) | Clean-type camera probe holder | |
| CN216480886U (en) | A cleaning device for LED line lamp | |
| CN203970274U (en) | Automatic glass wiping arrangement | |
| CN211155581U (en) | Intelligence robot of sweeping floor based on easy deashing of thing networking | |
| CN204852860U (en) | Cleaning type image -pickup probe frame | |
| CN205229975U (en) | Calculate key dish with dust removal function | |
| CN219247182U (en) | Dustproof electric power cabinet | |
| CN203155597U (en) | Pull-type cleaner for monitor | |
| CN219085603U (en) | Multifunctional LED display screen | |
| CN207625948U (en) | A kind of automatic shooting display device of traffic signal violation lamp | |
| CN204396346U (en) | Computer casing internal components dust arrester | |
| CN214775048U (en) | College music teaching blackboard convenient to clean | |
| CN214420244U (en) | An energy-saving multifunctional charging pile | |
| CN115562451A (en) | A multifunctional cooling base for cloud computing | |
| CN215498707U (en) | Industrial frequency converter with good heat dissipation | |
| CN205091669U (en) | Computer mainframe watertight fittings | |
| CN106388718A (en) | Efficient cleaning device | |
| CN207410354U (en) | A kind of optical transmitter and receiver of vehicular high efficiency and heat radiation | |
| CN217065683U (en) | Operation panel is used in cardiovascular research teaching | |
| CN210402163U (en) | Intelligent computer based on computer grid node algorithm |
Legal Events
| Date | Code | Title | Description |
|---|---|---|---|
| GR01 | Patent grant | ||
| GR01 | Patent grant | ||
| CF01 | Termination of patent right due to non-payment of annual fee |
Granted publication date: 20200605 |
|
| CF01 | Termination of patent right due to non-payment of annual fee |
