CN210667251U - Multimedia teaching device convenient to remove - Google Patents

Multimedia teaching device convenient to remove Download PDF

Info

Publication number
CN210667251U
CN210667251U CN201921571198.3U CN201921571198U CN210667251U CN 210667251 U CN210667251 U CN 210667251U CN 201921571198 U CN201921571198 U CN 201921571198U CN 210667251 U CN210667251 U CN 210667251U
Authority
CN
China
Prior art keywords
display
multimedia teaching
teaching device
chassis
universal wheel
Prior art date
Legal status (The legal status is an assumption and is not a legal conclusion. Google has not performed a legal analysis and makes no representation as to the accuracy of the status listed.)
Expired - Fee Related
Application number
CN201921571198.3U
Other languages
Chinese (zh)
Inventor
唐世锋
Current Assignee (The listed assignees may be inaccurate. Google has not performed a legal analysis and makes no representation or warranty as to the accuracy of the list.)
Henan University Minsheng College
Original Assignee
Henan University Minsheng College
Priority date (The priority date is an assumption and is not a legal conclusion. Google has not performed a legal analysis and makes no representation as to the accuracy of the date listed.)
Filing date
Publication date
Application filed by Henan University Minsheng College filed Critical Henan University Minsheng College
Priority to CN201921571198.3U priority Critical patent/CN210667251U/en
Application granted granted Critical
Publication of CN210667251U publication Critical patent/CN210667251U/en
Expired - Fee Related legal-status Critical Current
Anticipated expiration legal-status Critical

Links

Images

Landscapes

  • Electrically Operated Instructional Devices (AREA)

Abstract

本实用新型公开了一种便于移动的多媒体教学装置,涉及教学辅助设备领域,包括底盘,所述底盘的上端外表面均设置有升降架与置物架,所述升降架位于置物架的两侧,所述升降架的一端设置有显示器,所述显示器的上端外表面均设置有智能翻译机、信号接收器与蓝牙连接器,本实用新型公开了一种便于移动的多媒体教学装置,通过智能翻译机的设置,智能翻译机能够在多媒体教学装置在播放教学视屏时,对视屏内容进行字幕翻译,对外籍的学生有很大的帮助,通过置物架的设置,置物架能够便于老师携带教学用具、书本等物品,通过万向轮的设置,万向轮能够使多媒体教学装置在移动时更加方便快捷,使用的效果相对于传统方式更好。

Figure 201921571198

The utility model discloses a portable multimedia teaching device, which relates to the field of teaching auxiliary equipment. One end of the lifting frame is provided with a display, and the outer surface of the upper end of the display is provided with an intelligent translator, a signal receiver and a bluetooth connector. The utility model discloses a multimedia teaching device that is easy to move. The intelligent translator can perform subtitle translation on the content of the video when the multimedia teaching device is playing the teaching video, which is of great help to foreign students. and other items, through the setting of the universal wheel, the universal wheel can make the multimedia teaching device move more conveniently and quickly, and the use effect is better than the traditional method.

Figure 201921571198

Description

Multimedia teaching device convenient to remove
Technical Field
The utility model relates to a teaching auxiliary assembly field, concretely relates to multimedia teaching device convenient to remove.
Background
The multimedia teaching refers to that in the teaching process, according to the characteristics of the teaching target and the teaching object, the modern teaching media are reasonably selected and applied through teaching design, and are organically combined with the traditional teaching means to jointly participate in the whole teaching process, various media information acts on students to form a reasonable teaching process structure and achieve the optimized teaching effect, the multimedia teaching is ancient, teachers always teach by means of texts, sounds and pictures, however, in the 80 s of the 20 th century, comprehensive application and classroom teaching using various electronic media such as slide show, projection, audio recording, video recording and the like began to appear, and the teaching technology is also called multimedia combined teaching or audio-visual teaching, for the reason that the existing multimedia teaching device is single in function, heavy in equipment and not convenient to move enough, the multimedia teaching device convenient to move is provided.
SUMMERY OF THE UTILITY MODEL
The utility model discloses a main aim at provides a multimedia teaching device convenient to remove, can effectively solve the problem in the background art.
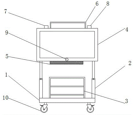
In order to achieve the above purpose, the utility model adopts the following technical scheme: comprises a chassis, wherein the outer surface of the upper end of the chassis is provided with a lifting frame and a storage rack, the lifting frame is positioned on two sides of the storage rack, one end of the lifting frame is provided with a display, the outer surface of the upper end of the display is provided with an intelligent translator, a signal receiver and a Bluetooth connector, the signal receiver is positioned on one side of the intelligent translator, the Bluetooth connector is positioned on the other side of the intelligent translator, the outer surface of the lower end of the display is provided with a loudspeaker, the outer surface of the front end of the display is provided with a power switch key, the outer surface of the lower end of the chassis is provided with a universal wheel, the outer surface of the rear end of the display is provided with a heat dissipation hole and a USB connector, the USB connector is positioned on one side of the heat dissipation hole, the outer surface of, the outer surface of one side of universal wheel is provided with hinders the position ware, the upper end surface of universal wheel is provided with the connecting axle.
Further, a bolt is arranged between the base plate and the lifting frame, the outer surface of the upper end of the base plate is detachably connected with one end of the lifting frame through the bolt, a butterfly screw is arranged between the lifting frame and the display, and the other end of the lifting frame is detachably connected with the outer surface of the lower end of the display through the butterfly screw.
Further, be provided with the fixed block between chassis and the supporter, the upper end surface on chassis passes through the lower extreme fixed surface of fixed block and supporter and is connected, be provided with the cross screw between display and the speaker, the lower extreme surface of display can be dismantled through the upper end surface of cross screw and speaker and be connected.
Further, be provided with the fixed slot between display and the intelligent translator, the upper end surface of display passes through the fixed slot and is connected with the lower extreme surface fixed connection of intelligent translator.
Furthermore, the outer surface of the lower end of the chassis is movably connected with the outer surface of the upper end of the universal wheels through connecting shafts, and the number of the universal wheels is four.
Furthermore, a hexagonal screw is arranged between the universal wheel and the position stopper, and the outer surface of one side of the universal wheel is detachably connected with the outer surface of one side of the position stopper through the hexagonal screw.
Compared with the prior art, the utility model discloses following beneficial effect has: this multimedia teaching device convenient to remove, setting through intelligent translator, intelligent translator can carry out the subtitle translation to the video content when the screen is looked in the broadcast teaching at multimedia teaching device, student to the foreign book has very big help, setting through the supporter, the supporter can be convenient for mr to carry articles such as teaching aid, books, through the setting of universal wheel, the universal wheel can make multimedia teaching device convenient and fast more when removing, the effect of use is better for traditional mode.
Drawings
Fig. 1 is a schematic view of the overall structure of a portable multimedia teaching apparatus of the present invention;
FIG. 2 is a rear view of the multimedia teaching apparatus of the present invention;
FIG. 3 is a side view of the multimedia teaching apparatus of the present invention;
fig. 4 is the utility model relates to a multimedia teaching device universal wheel 10's schematic structure view convenient to remove.
In the figure: 1. a chassis; 2. a lifting frame; 3. a rack; 4. a display; 5. a speaker; 6. an intelligent translator; 7. a signal receiver; 8. a Bluetooth connector; 9. a power switch key; 10. a universal wheel; 11. heat dissipation holes; 12. a USB connector; 13. a power connection hole; 14. an operation button; 15. a position stopper; 16. and (7) connecting the shafts.
Detailed Description
In order to make the technical means, the creation features, the achievement purposes and the functions of the present invention easy to understand, the present invention will be further explained below with reference to the following embodiments and the accompanying drawings, but the following embodiments are only the preferred embodiments of the present invention, and not all embodiments are included. Based on the embodiments in the implementation, other embodiments obtained by those skilled in the art without any creative work belong to the protection scope of the present invention.
Specific embodiments of the present invention will be described below with reference to the accompanying drawings.
As shown in fig. 1-4, a multimedia teaching device convenient for moving comprises a chassis 1, wherein the outer surface of the upper end of the chassis 1 is provided with a lifting frame 2 and a shelf 3, the lifting frame 2 is positioned at two sides of the shelf 3, one end of the lifting frame 2 is provided with a display 4, the outer surface of the upper end of the display 4 is provided with an intelligent translator 6, a signal receiver 7 and a bluetooth connector 8, the signal receiver 7 is positioned at one side of the intelligent translator 6, the bluetooth connector 8 is positioned at the other side of the intelligent translator 6, the outer surface of the lower end of the display 4 is provided with a loudspeaker 5, the outer surface of the front end of the display 4 is provided with a power switch key 9, the outer surface of the lower end of the chassis 1 is provided with a universal wheel 10, the outer surface of the rear end of the display 4 is provided with a heat dissipation hole 11 and a USB connection port 12, the USB connection port, the operation button 14 is positioned above the power connection hole 13, a position stopper 15 is arranged on the outer surface of one side of the universal wheel 10, and a connection shaft 16 is arranged on the outer surface of the upper end of the universal wheel 10.
A bolt is arranged between the chassis 1 and the lifting frame 2, the outer surface of the upper end of the chassis 1 is detachably connected with one end of the lifting frame 2 through the bolt, a butterfly screw is arranged between the lifting frame 2 and the display 4, and the other end of the lifting frame 2 is detachably connected with the outer surface of the lower end of the display 4 through the butterfly screw; a fixing block is arranged between the chassis 1 and the shelf 3, the outer surface of the upper end of the chassis 1 is fixedly connected with the outer surface of the lower end of the shelf 3 through the fixing block, a cross screw is arranged between the display 4 and the loudspeaker 5, and the outer surface of the lower end of the display 4 is detachably connected with the outer surface of the upper end of the loudspeaker 5 through the cross screw; a fixing groove is arranged between the display 4 and the intelligent translator 6, and the outer surface of the upper end of the display 4 is fixedly connected with the outer surface of the lower end of the intelligent translator 6 through the fixing groove; the outer surface of the lower end of the chassis 1 is movably connected with the outer surface of the upper end of the universal wheel 10 through a connecting shaft 16, and the number of the universal wheels 10 is four; a hexagonal screw is arranged between the universal wheel 10 and the position stopper 15, and the outer surface of one side of the universal wheel 10 is detachably connected with the outer surface of one side of the position stopper 15 through the hexagonal screw.
It should be noted that the utility model is a multimedia teaching device convenient to move, when in use, the multimedia teaching device is moved by the universal wheel 10, when moving to a certain position, the position stopper 15 on the universal wheel 10 can be put down to prevent the movement of the universal wheel 10, the display 4 is opened by the power switch key 9, when in use, the lifting frame 2 can be adjusted according to the requirement, the content of the display 4 can be clearly seen by students, the multimedia teaching device can communicate with the signal receiver 7 to carry out online video, so that the expert teaching can give real-time teaching explanation to the students on site by the video, and can also be connected with the mobile phone by the Bluetooth connector 8, can transmit by the Bluetooth connector 8, the USB 12 can be externally connected with other teaching equipment, the intelligent translator 6 can play teaching video by the multimedia teaching device, the caption translation is carried out on the video content, so that the foreign nationality students can easily understand the caption, and the caption translation is more practical.
The foregoing shows and describes the general principles, essential features, and advantages of the invention. It should be understood by those skilled in the art that the present invention is not limited by the above embodiments, and the description in the above embodiments and the description is only preferred examples of the present invention, and is not intended to limit the present invention, and that the present invention can have various changes and modifications without departing from the spirit and scope of the present invention, and these changes and modifications all fall into the scope of the claimed invention. The scope of the invention is defined by the appended claims and equivalents thereof.

Claims (6)

1.一种便于移动的多媒体教学装置,包括底盘(1),其特征在于:所述底盘(1)的上端外表面均设置有升降架(2)与置物架(3),所述升降架(2)位于置物架(3)的两侧,所述升降架(2)的一端设置有显示器(4),所述显示器(4)的上端外表面均设置有智能翻译机(6)、信号接收器(7)与蓝牙连接器(8),所述信号接收器(7)位于智能翻译机(6)的一侧,所述蓝牙连接器(8)位于智能翻译机(6)的另一侧,所述显示器(4)的下端外表面设置有扬声器(5),所述显示器(4)的前端外表面设置有电源开关键(9),所述底盘(1)的下端外表面设置有万向轮(10),所述显示器(4)的后端外表面设置有散热孔(11)与USB连接口(12),所述USB连接口(12)位于散热孔(11)的一侧,所述显示器(4)的一侧外表面设置有电源连接孔(13)与操作按钮(14),所述操作按钮(14)位于电源连接孔(13)的上方,所述万向轮(10)的一侧外表面设置有阻位器(15),所述万向轮(10)的上端外表面设置有连接轴(16)。1. A multimedia teaching device that is easy to move, comprising a chassis (1), characterized in that: the upper outer surface of the chassis (1) is provided with a lifting frame (2) and a rack (3), and the lifting frame (2) It is located on both sides of the storage rack (3), one end of the lifting rack (2) is provided with a display (4), and the outer surface of the upper end of the display (4) is provided with an intelligent translator (6), a signal A receiver (7) and a Bluetooth connector (8), the signal receiver (7) is located on one side of the smart translator (6), and the Bluetooth connector (8) is located on the other side of the smart translator (6) side, the lower end outer surface of the display (4) is provided with a speaker (5), the front end outer surface of the display (4) is provided with a power switch key (9), and the lower end outer surface of the chassis (1) is provided with a A universal wheel (10), a heat dissipation hole (11) and a USB connection port (12) are provided on the outer surface of the rear end of the display (4), and the USB connection port (12) is located on one side of the heat dissipation hole (11) , a power supply connection hole (13) and an operation button (14) are provided on one outer surface of the display (4), the operation button (14) is located above the power supply connection hole (13), and the universal wheel ( A stopper (15) is provided on the outer surface of one side of 10), and a connecting shaft (16) is provided on the outer surface of the upper end of the universal wheel (10). 2.根据权利要求1所述的一种便于移动的多媒体教学装置,其特征在于:所述底盘(1)与升降架(2)之间设置有螺栓,所述底盘(1)的上端外表面通过螺栓与升降架(2)的一端可拆卸连接,所述升降架(2)与显示器(4)之间设置有蝶形螺丝,所述升降架(2)的另一端通过蝶形螺丝与显示器(4)的下端外表面可拆卸连接。2. A kind of multimedia teaching device that is easy to move according to claim 1, characterized in that: bolts are provided between the chassis (1) and the lifting frame (2), and the outer surface of the upper end of the chassis (1) is provided with bolts. One end of the lifting frame (2) is detachably connected by bolts, a thumb screw is provided between the lifting frame (2) and the display (4), and the other end of the lifting frame (2) is connected to the display by a thumb screw The outer surface of the lower end of (4) is detachably connected. 3.根据权利要求1所述的一种便于移动的多媒体教学装置,其特征在于:所述底盘(1)与置物架(3)之间设置有固定块,所述底盘(1)的上端外表面通过固定块与置物架(3)的下端外表面固定连接,所述显示器(4)与扬声器(5)之间设置有十字螺丝,所述显示器(4)的下端外表面通过十字螺丝与扬声器(5)的上端外表面可拆卸连接。3. A kind of multimedia teaching device that is easy to move according to claim 1, it is characterized in that: between the described chassis (1) and the rack (3), a fixed block is arranged, and the upper end of the described chassis (1) is outside The surface is fixedly connected to the outer surface of the lower end of the rack (3) through the fixing block, a cross screw is provided between the display (4) and the speaker (5), and the outer surface of the lower end of the display (4) is connected to the speaker through the cross screw. The outer surface of the upper end of (5) is detachably connected. 4.根据权利要求1所述的一种便于移动的多媒体教学装置,其特征在于:所述显示器(4)与智能翻译机(6)之间设置有固定槽,所述显示器(4)的上端外表面通过固定槽与智能翻译机(6)的下端外表面固定连接。4. a kind of multimedia teaching device that is easy to move according to claim 1, is characterized in that: between described display (4) and intelligent translator (6), be provided with fixed groove, the upper end of described display (4) The outer surface is fixedly connected with the outer surface of the lower end of the intelligent translator (6) through the fixing groove. 5.根据权利要求1所述的一种便于移动的多媒体教学装置,其特征在于:所述底盘(1)的下端外表面通过连接轴(16)与万向轮(10)的上端外表面活动连接,所述万向轮(10)的数量为四组。5. a kind of multimedia teaching device that is easy to move according to claim 1 is characterized in that: the outer surface of the lower end of the chassis (1) moves through the outer surface of the upper end of the connecting shaft (16) and the universal wheel (10) connection, the number of the universal wheels (10) is four groups. 6.根据权利要求1所述的一种便于移动的多媒体教学装置,其特征在于:所述万向轮(10)与阻位器(15)之间设置有六角螺丝,所述万向轮(10)的一侧外表面通过六角螺丝与阻位器(15)的一侧外表面可拆卸连接。6. A kind of multimedia teaching device that is easy to move according to claim 1, is characterized in that: described universal wheel (10) and stopper (15) are provided with hexagonal screws, and described universal wheel (10) is provided with hexagonal screws. One side outer surface of 10) is detachably connected to one side outer surface of the stopper (15) through hexagonal screws.
CN201921571198.3U 2019-09-20 2019-09-20 Multimedia teaching device convenient to remove Expired - Fee Related CN210667251U (en)

Priority Applications (1)

Application Number Priority Date Filing Date Title
CN201921571198.3U CN210667251U (en) 2019-09-20 2019-09-20 Multimedia teaching device convenient to remove

Applications Claiming Priority (1)

Application Number Priority Date Filing Date Title
CN201921571198.3U CN210667251U (en) 2019-09-20 2019-09-20 Multimedia teaching device convenient to remove

Publications (1)

Publication Number Publication Date
CN210667251U true CN210667251U (en) 2020-06-02

Family

ID=70817083

Family Applications (1)

Application Number Title Priority Date Filing Date
CN201921571198.3U Expired - Fee Related CN210667251U (en) 2019-09-20 2019-09-20 Multimedia teaching device convenient to remove

Country Status (1)

Country Link
CN (1) CN210667251U (en)

Similar Documents

Publication Publication Date Title
CN206249617U (en) A kind of human resource management instructional device based on cloud platform
CN208324669U (en) Presentation device is used in a kind of teaching of journalism
CN205564066U (en) Computer distance learning system
CN205121954U (en) Multi -media english teaching equipment
CN206541493U (en) A kind of portable English teaching displaying apparatus
CN206877526U (en) A Multimedia Teaching Instrument Based on Computer Technology
CN210667251U (en) Multimedia teaching device convenient to remove
CN206451377U (en) A Two-way Teaching Platform Based on Multimedia
CN206852336U (en) A kind of English study desk
CN205281853U (en) A multifunctional English teaching aid
CN205564063U (en) Integrated system is recorded automatically to full touch -control multimedia teaching and video
CN205564064U (en) Automatic integrated system and equipment recorded of full touch -control multimedia teaching and video
CN205899842U (en) But speech control multimedia playing's robot
CN205016089U (en) Classroom multimedia teaching system
CN211699276U (en) Promote combination picture puzzle of english study interest of entering
CN204499862U (en) The multimedia lectern that a kind of ideology and politics teaching uses
CN211833336U (en) An integrated multimedia teaching equipment
CN210691698U (en) A display device for music teaching
CN208655058U (en) An electrical and electronic training platform for teaching
CN211264541U (en) A music teaching player
CN204087535U (en) A kind of remote multi-media training set
CN201370273Y (en) Multimedia mobile demonstration system
CN204884242U (en) A teaching play device for agricultural technologies promotes
CN213676128U (en) Auxiliary device suitable for teaching of Chinese language and literature specialty
CN214671124U (en) English teaching is with english contest equipment that has enjoyment

Legal Events

Date Code Title Description
GR01 Patent grant
GR01 Patent grant
CF01 Termination of patent right due to non-payment of annual fee
CF01 Termination of patent right due to non-payment of annual fee

Granted publication date: 20200602

Termination date: 20210920