CN210652460U - Ink slab - Google Patents

Ink slab Download PDF

Info

Publication number
CN210652460U
CN210652460U CN201921517615.6U CN201921517615U CN210652460U CN 210652460 U CN210652460 U CN 210652460U CN 201921517615 U CN201921517615 U CN 201921517615U CN 210652460 U CN210652460 U CN 210652460U
Authority
CN
China
Prior art keywords
inkstone
writing brush
ink
seat
cover
Prior art date
Legal status (The legal status is an assumption and is not a legal conclusion. Google has not performed a legal analysis and makes no representation as to the accuracy of the status listed.)
Expired - Fee Related
Application number
CN201921517615.6U
Other languages
Chinese (zh)
Inventor
陈蔼
冯乐成
Current Assignee (The listed assignees may be inaccurate. Google has not performed a legal analysis and makes no representation or warranty as to the accuracy of the list.)
Guangzhou Panyu Polytechnic
Original Assignee
Guangzhou Panyu Polytechnic
Priority date (The priority date is an assumption and is not a legal conclusion. Google has not performed a legal analysis and makes no representation as to the accuracy of the date listed.)
Filing date
Publication date
Application filed by Guangzhou Panyu Polytechnic filed Critical Guangzhou Panyu Polytechnic
Priority to CN201921517615.6U priority Critical patent/CN210652460U/en
Application granted granted Critical
Publication of CN210652460U publication Critical patent/CN210652460U/en
Expired - Fee Related legal-status Critical Current
Anticipated expiration legal-status Critical

Links

Images

Landscapes

  • Pens And Brushes (AREA)

Abstract

本实用新型涉及书写用品技术领域,公开了一种砚台,包括砚台座、砚台盖、毛笔放置架和笔舔板,所述砚台座内设有砚池,所述砚池的底面倾斜设置,所述毛笔放置架设置在所述砚台座上且位于所述砚池的外周,所述毛笔放置架上设有用于放置毛笔的卡合槽,所述卡合槽朝所述砚池向下倾斜,所述笔舔板与所述砚池的池壁顶部转动连接,所述砚台座的底部开设有与所述砚池的最低位连通的排墨孔,所述砚台座上设有与所述排墨孔形状配合的密封塞,所述砚台座沿其外周设有卡合凹槽,所述砚台盖设有与所述卡合凹槽配合的卡块。采用本实用新型,方便回收剩余墨汁,避免砚台内的墨汁干掉。

Figure 201921517615

The utility model relates to the technical field of writing supplies, and discloses an inkstone table, which comprises an inkstone table base, an inkstone table cover, a writing brush placing rack and a pen licking board. The placement rack is arranged on the inkstone pedestal and is located on the outer periphery of the inkstone pool. The brush placement rack is provided with an engaging groove for placing a writing brush. The engaging groove is inclined downward toward the inkstone pool. The plate is rotatably connected with the top of the pool wall of the inkstone pool, the bottom of the inkstone pedestal is provided with an ink discharge hole that communicates with the lowest position of the inkstone pond, and the inkstone pedestal is provided with a seal that matches the shape of the ink discharge hole. The inkstone base is provided with an engaging groove along its outer circumference, and the inkstone cover is provided with a blocking block matched with the engaging groove. By adopting the utility model, it is convenient to recover the remaining ink and avoid the ink in the inkstone from drying up.

Figure 201921517615

Description

Ink slab
Technical Field
The utility model relates to a write articles for use technical field, especially relate to an inkstone.
Background
The existing inkstone is placed in an open mode, after the inkstone is used for ink grinding, the residual ink is exposed in the air, the ink in the inkstone is quickly dried and cannot be used, waste is caused, and the residual ink is difficult to recover.
SUMMERY OF THE UTILITY MODEL
The utility model aims to solve the problem that an inkstone is provided, remaining chinese ink is conveniently retrieved, avoids the chinese ink in the inkstone to dry.
In order to solve the technical problem, the utility model provides an inkstone, lick the board including inkstone seat, inkstone lid, writing brush rack and pen, be equipped with the inkstone in the inkstone seat, the bottom surface slope of inkstone sets up, the writing brush rack sets up just be located on the inkstone seat the periphery of inkstone, be equipped with the block groove that is used for placing the writing brush on the writing brush rack, the block groove court the inkstone downward sloping, the pen lick the board with the pool wall top of inkstone rotates to be connected, the bottom of inkstone seat seted up with the ink discharge hole of the extreme lower extreme intercommunication of inkstone, be equipped with on the inkstone seat with ink discharge hole shape complex sealing plug, the inkstone seat is equipped with the block recess along its periphery, the inkstone lid be equipped with block recess complex fixture block.
As the utility model discloses preferred scheme, the top in row's china ink hole is equipped with the stopper.
As the preferred proposal of the utility model, the sealing plug is provided with a pull ring.
As the utility model discloses preferred scheme, the bottom of inkstone pedestal is equipped with places the pull ring groove of pull ring.
As the preferred scheme of the utility model, the sealing plug is made by silica gel.
As the utility model discloses preferred scheme, around being equipped with the sealing strip on the fixture block.
As the preferred proposal of the utility model, the top of the inkstone cover is provided with a handle.
As the preferred proposal of the utility model, the writing brush placing rack is provided with a plurality of writing brush placing racks.
The embodiment of the utility model provides an inkstone compares with prior art, and its beneficial effect lies in:
the utility model collects the ink on the inclined bottom surface of the inkstone, when the residual ink in the inkstone is not used for a long time, the sealing plug in the ink discharging hole is opened to discharge the ink from the ink discharging hole so as to collect the ink conveniently, when the residual ink in the inkstone needs to be used in a short time, the ink in the inkstone can not dry out by covering the inkstone cover; moreover, by arranging the pen licking plate with an adjustable angle, the pen point can be adjusted and the ink on the pen point can be evenly wiped and smoothened; in addition, the clamping groove of the writing brush placing frame is inclined downwards towards the inkstone to ensure that when the writing brush is placed on the writing brush placing frame, residual ink in the writing brush flows to the inkstone and the inkstone is not polluted.
Drawings
In order to more clearly illustrate the technical solution of the embodiments of the present invention, the drawings of the embodiments will be briefly described below.
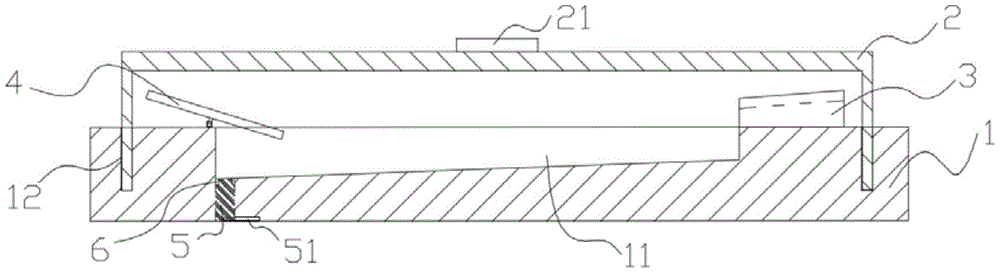
Fig. 1 is a schematic structural diagram of an inkstone provided by the present invention;
in the figure, 1, an inkstone seat; 2. an inkstone cover; 3. placing a brush pen rack; 4. a pen licking plate; 5. a sealing plug; 6. a limiting block; 11. an inkstone; 12. clamping the groove; 21. a handle; 51. and (4) a pull ring.
Detailed Description
The following detailed description of the embodiments of the present invention is provided with reference to the accompanying drawings and examples. The following examples are intended to illustrate the invention, but are not intended to limit the scope of the invention.
In the description of the present invention, it is to be understood that the terms "upper", "lower", "left", "right", "top", "bottom", and the like indicate orientations or positional relationships based on those shown in the drawings, and are only for convenience of description and simplification of description, but do not indicate or imply that the device or element referred to must have a particular orientation, be constructed and operated in a particular orientation, and thus should not be construed as limiting the present invention. It should be understood that the terms "first", "second", etc. are used herein to describe various information, but the information should not be limited to these terms, and these terms are only used to distinguish one type of information from another. For example, "first" information may also be referred to as "second" information, and similarly, "second" information may also be referred to as "first" information, without departing from the scope of the present invention.
As shown in fig. 1, an inkstone according to a preferred embodiment of the present invention includes an inkstone base 1, an inkstone cover 2, a writing brush rack 3 and a writing brush licking plate 4, wherein an inkstone 11 is disposed in the inkstone base 1, a bottom surface of the inkstone 11 is disposed in an inclined manner, the writing brush rack 3 is disposed on the inkstone base 1 and located at a periphery of the inkstone 11, a fastening groove for placing a writing brush is disposed on the writing brush rack 3, the fastening groove is inclined downward toward the inkstone 11, the writing brush licking plate 4 is rotatably connected to a top portion of a pool wall of the inkstone 11, preferably, the writing brush licking plate 4 is connected to a top portion of the pool wall of the inkstone 11 through a damping hinge, an ink discharging hole communicated with a lowest position of the inkstone 11 is disposed at a bottom of the inkstone base 1, a sealing plug 5 having a shape matching with the ink discharging hole is disposed on the inkstone base 1, a fastening groove 12 is disposed along an outer periphery of the inkstone base 1, the inkstone cover 2 is provided with a clamping block matched with the clamping groove 12, and the sealing plug 5 is made of silica gel.
Exemplarily, the top of arranging the china ink hole is equipped with stopper 6, guarantees that sealing plug 5 and row china ink hole are better to be cooperated, guarantees that sealing plug 5 can not bulge outside arranging the china ink hole.
Illustratively, the sealing plug 5 is provided with a pull ring 51, and the sealing plug 5 is conveniently pulled out from the ink drainage hole through the pull ring 51.
Illustratively, a pull ring groove for placing the pull ring 51 is formed in the bottom of the inkstone base 1, so as to ensure that the bottom surface of the inkstone base 1 is flat.
Exemplarily, a sealing strip is wound on the clamping block, so that the sealing performance of the inkstone cover 2 and the clamping groove 12 on the inkstone base 1 is ensured.
Illustratively, a handle 21 is arranged at the top of the inkstone cover 2, so that the inkstone cover 2 can be conveniently opened from the inkstone base 1.
Illustratively, the writing brush rack 3 is provided with a plurality of writing brushes capable of holding a plurality of writing brushes at the same time.
To sum up, the embodiment of the utility model provides an inkstone, can gather chinese ink through the bottom surface that inclines in the inkstone 11, when the chinese ink that remains in the inkstone 11 does not use for a long time, open sealing plug 5 in the row of china ink hole, make chinese ink discharge from row of china ink hole and thus conveniently collect chinese ink, when the chinese ink that remains in the inkstone needs to use in the short time, through closing the inkstone lid, can guarantee that chinese ink in the inkstone can not dry out; moreover, by arranging the pen licking plate 4 with an adjustable angle, the pen point can be adjusted and the ink on the pen point can be evenly wiped and smoothened; in addition, the clamping groove of the writing brush placing frame 3 inclines downwards towards the inkstone 11, so that when a writing brush is placed on the writing brush placing frame 3, residual ink in the writing brush flows to the inkstone 11, and the inkstone cannot be polluted.
The foregoing is only a preferred embodiment of the present invention, and it should be noted that, for those skilled in the art, a plurality of modifications and replacements can be made without departing from the technical principle of the present invention, and these modifications and replacements should also be regarded as the protection scope of the present invention.

Claims (8)

1. The inkstone is characterized by comprising an inkstone seat, an inkstone cover, a writing brush placing frame and a writing brush licking board, wherein the inkstone seat is internally provided with an inkstone, the bottom surface of the inkstone is obliquely arranged, the writing brush placing frame is arranged on the inkstone seat and is positioned at the periphery of the inkstone, the writing brush placing frame is provided with a clamping groove for placing a writing brush, the clamping groove faces the inkstone and is downwards inclined, the writing brush licking board is rotatably connected with the top of the wall of the inkstone, the bottom of the inkstone seat is provided with an ink discharging hole communicated with the lowest position of the inkstone, the inkstone seat is provided with a sealing plug matched with the ink discharging hole in shape, the inkstone seat is provided with a clamping groove along the periphery of the inkstone seat, and the inkstone cover is provided with a clamping block matched with the clamping groove.
2. The inkstone of claim 1, wherein a stop is disposed at a top of the ink discharge hole.
3. The inkstone of claim 1, wherein the sealing plug is provided with a pull ring.
4. The inkstone of claim 3, wherein the bottom of the inkstone base is provided with a pull ring groove for placing the pull ring.
5. The inkstone of claim 1, wherein the sealing plug is made of silicone.
6. The inkstone of claim 1, wherein the block is wrapped with a sealing strip.
7. The inkstone of claim 1, wherein a handle is provided on a top of the inkstone cover.
8. The inkstone of claim 1, wherein a plurality of writing brush holders are provided.
CN201921517615.6U 2019-09-11 2019-09-11 Ink slab Expired - Fee Related CN210652460U (en)

Priority Applications (1)

Application Number Priority Date Filing Date Title
CN201921517615.6U CN210652460U (en) 2019-09-11 2019-09-11 Ink slab

Applications Claiming Priority (1)

Application Number Priority Date Filing Date Title
CN201921517615.6U CN210652460U (en) 2019-09-11 2019-09-11 Ink slab

Publications (1)

Publication Number Publication Date
CN210652460U true CN210652460U (en) 2020-06-02

Family

ID=70843435

Family Applications (1)

Application Number Title Priority Date Filing Date
CN201921517615.6U Expired - Fee Related CN210652460U (en) 2019-09-11 2019-09-11 Ink slab

Country Status (1)

Country Link
CN (1) CN210652460U (en)

Cited By (1)

* Cited by examiner, † Cited by third party
Publication number Priority date Publication date Assignee Title
CN112428733A (en) * 2021-01-13 2021-03-02 武汉乐为环保技术有限公司 Inkstone component

Cited By (1)

* Cited by examiner, † Cited by third party
Publication number Priority date Publication date Assignee Title
CN112428733A (en) * 2021-01-13 2021-03-02 武汉乐为环保技术有限公司 Inkstone component

Similar Documents

Publication Publication Date Title
CN210652460U (en) Ink slab
TW201446552A (en) Moisturizing pen and ink box
US20140346067A1 (en) Toothbrush holder cover
CN106394089B (en) Moisturizing box with rotary licking pen holder
CN206252049U (en) A kind of bowl for dyeing hair
CN205312119U (en) Clothes hanger that dries in air accomodates ware
CN210667764U (en) Case capable of preventing musical instrument from being damaged
CN207001211U (en) A kind of New Rotary cotton swab box
CN205251364U (en) Novel tooth glass
CN210185233U (en) Ceramic cup set
CN209220513U (en) A kind of Medical device box preventing bacteria breed
CN107521270A (en) A kind of partially sealed pen with open-and-close mechanism is put
CN207141918U (en) Blood glucose test paper storage box
CN213696681U (en) Soap box
CN212796355U (en) Multifunctional washing-free moisturizing writing brush box
CN112316995B (en) A multifunctional electrochemical three-neck beaker
CN221652621U (en) A dust plug with a cleaning brush
CN203957568U (en) A kind of ink pad
CN205053200U (en) Toothbrush convenient to carry and use
CN215236438U (en) A multi-purpose cleaning device for nursing file management
CN218571944U (en) Anti-falling strong suction cup
CN211269328U (en) Sealed damp-proof bookcase
CN215272326U (en) Multifunctional kitchen storage box
CN212037289U (en) Three-cup storage toothbrush holder
CN208740326U (en) A kind of cup cabinet

Legal Events

Date Code Title Description
GR01 Patent grant
GR01 Patent grant
CF01 Termination of patent right due to non-payment of annual fee
CF01 Termination of patent right due to non-payment of annual fee

Granted publication date: 20200602