CN210643431U - Showcase with automatic lifting glass door - Google Patents

Showcase with automatic lifting glass door Download PDF

Info

Publication number
CN210643431U
CN210643431U CN201921020492.5U CN201921020492U CN210643431U CN 210643431 U CN210643431 U CN 210643431U CN 201921020492 U CN201921020492 U CN 201921020492U CN 210643431 U CN210643431 U CN 210643431U
Authority
CN
China
Prior art keywords
glass door
fixedly connected
showcase
display
display board
Prior art date
Legal status (The legal status is an assumption and is not a legal conclusion. Google has not performed a legal analysis and makes no representation as to the accuracy of the status listed.)
Expired - Fee Related
Application number
CN201921020492.5U
Other languages
Chinese (zh)
Inventor
邓永青
Current Assignee (The listed assignees may be inaccurate. Google has not performed a legal analysis and makes no representation or warranty as to the accuracy of the list.)
Hangzhou Zhibo Decoration Co ltd
Original Assignee
Hangzhou Zhibo Decoration Co ltd
Priority date (The priority date is an assumption and is not a legal conclusion. Google has not performed a legal analysis and makes no representation as to the accuracy of the date listed.)
Filing date
Publication date
Application filed by Hangzhou Zhibo Decoration Co ltd filed Critical Hangzhou Zhibo Decoration Co ltd
Priority to CN201921020492.5U priority Critical patent/CN210643431U/en
Application granted granted Critical
Publication of CN210643431U publication Critical patent/CN210643431U/en
Expired - Fee Related legal-status Critical Current
Anticipated expiration legal-status Critical

Links

Images

Landscapes

  • Freezers Or Refrigerated Showcases (AREA)

Abstract

本实用新型公开了一种具有自动升降玻璃门的展柜,包括展板放置台,所述展板放置台的底部固定连接有展示台底座,所述展示台底座的底部固定连接有底部耐磨板,所述展示台底座的顶部开设有放置腔,所述放置腔内底部的靠两端位置均固定连接有可伸缩杆。该具有自动升降玻璃门的展柜,通过开关控制钮和输出气缸的设置,可以快速对可升降玻璃门进行升降,方便销售人员拿取柜内的物品,通过可升降玻璃门U型的设计,使顾客从侧面也可对柜内的物品进行观赏,通过可伸缩杆的设置,使可升降玻璃门升降时更具有稳定性,且通过防夹层的设置,可以避免出现人员手部被夹伤的情况,从而提高了该装置的安全性。

Figure 201921020492

The utility model discloses an exhibition cabinet with an automatic lifting glass door, which comprises a display board placing table, a display table base is fixedly connected to the bottom of the display board placing table, and a bottom wear-resistant plate is fixedly connected to the bottom of the display table base. A placement cavity is opened on the top of the base of the display stand, and retractable rods are fixedly connected to both ends of the bottom of the placement cavity. The display cabinet with automatic lifting glass door, through the setting of the switch control button and the output cylinder, can quickly lift the liftable glass door, which is convenient for sales personnel to take the items in the cabinet. Through the U-shaped design of the liftable glass door, the Customers can also view the items in the cabinet from the side. Through the setting of the retractable rod, the liftable glass door is more stable when it is lifted up and down, and the setting of the anti-interlayer can prevent the hand of the person from being pinched. , thereby improving the safety of the device.

Figure 201921020492

Description

Showcase with automatic lifting glass door
Technical Field
The utility model relates to a showcase technical field specifically is a showcase with automatic rising glass door.
Background
The showcase is a prop, is mainly used for displaying and storing commodities in shops such as markets and supermarkets, has individual appearance and powerful functions, and also has an advertising effect, so that the aim of better profit is fulfilled, and a better sale platform is provided for brand products. Various showcases companies can design and manufacture various display cabinets and display cabinets with unique specifications.
With the expansion of the application range of glass and the improvement of the manufacturing process level, many merchants prefer to select glass decorative products in the arrangement process of display shelves of display cabinets. Glass looks beautiful due to the characteristics of being simple and crystal clear, but the exhibition tool made of the glass material also needs to be carefully cared in daily life. The artistic charm of glass makes it one of the indispensable elements in modern fashion home decoration. The glass showcase display effect picture brings people's feeling, creates a glistening texture for the whole shop, and makes people bright in the front, new in the ears and cool to the utmost. Nowadays, the number of glass exhibition tools on the market is more and more, and the glass exhibition has a fragile soul, so that people must carefully care about the glass exhibition tools in decoration. First, glass displays are fragile and not prone to frequent movement, so they are best installed in relatively fixed locations and do not move back and forth as often. The articles placed on the glass exhibition tool must be lightly handled and placed, and hardware articles cannot be thrown onto the glass exhibition tool in a long distance and still cannot be thrown, otherwise the surface of the glass exhibition tool is easily damaged.
However, the traditional glass showcase does not have the function of automatically lifting the glass door, so that the salesperson needs to frequently unlock the showcase to take the articles in the showcase to explain the sale of the customer, and the traditional glass showcase is extremely inconvenient and cannot meet the requirements of the salesperson. To this end, we propose a showcase with automatically liftable glass doors.
SUMMERY OF THE UTILITY MODEL
An object of the utility model is to provide a showcase with automatic rising glass door to propose traditional glass showcase and do not have the function of automatic rising glass door in solving above-mentioned background art, lead to the frequent explanation of unblanking and taking the article in the cabinet and carrying out the sale to client, it is extremely inconvenient, can not satisfy the problem of salesperson demand.
In order to achieve the above object, the utility model provides a following technical scheme: the utility model provides a showcase with automatic lift glass door, places the platform including the panel, the bottom fixedly connected with show stand base of platform is placed to the panel, the bottom fixedly connected with bottom antifriction plate of show stand base, the chamber of placing has been seted up at the top of show stand base, but place the intracavity bottom lean on the equal fixedly connected with telescopic link in both ends position, the top fixedly connected with connecting plate of two telescopic links, the top fixedly connected with liftable glass door of connecting plate, the intermediate position fixed mounting who places the intracavity bottom has the delivery cylinder.
The utility model discloses a table for exhibition glass door, including stand, liftable glass door, but the top of stand is seted up logical groove, but the top of liftable glass door is run through logical groove and is extended to the outside that the stand was placed to the stand, but the top fixedly connected with of liftable glass door prevents the intermediate layer, the rear end fixedly connected with vertical support plate of bench top is placed to the stand, vertical support plate's top fixedly connected with top transparent cover plate, top transparent cover plate's bottom with prevent the pinch layer and contact.
Preferably, the middle position of the top of the display board placing table is fixedly connected with a first display board body, and the top of the first display board body is fixedly connected with a second display board body through a connecting rod.
Preferably, the front side movable mounting of show stand base has the maintenance cabinet door, and the left end position fixed mounting that leans on of show stand base front side has the on-off control button, the on-off control button passes through wire and output cylinder electric connection.
Preferably, the liftable glass door is designed in a U shape, and the width of the liftable glass door is slightly smaller than that of the through groove.
Preferably, the LED illuminating lamps are fixedly mounted in the middle of the front side of the vertical supporting plate and close to two ends, and the LED illuminating lamps are electrically connected with an external power supply through power lines.
Preferably, the output cylinder is SC63X100, and is electrically connected with an external power supply through a power line.
Compared with the prior art, the beneficial effects of the utility model are that: this showcase with automatic rising glass door, setting through on-off control button and output cylinder, can go up and down to liftable glass door fast, make things convenient for the sales force article in the cabinet of taking, design through liftable glass door U type, make the customer edgewise also can view and admire article in the cabinet, but through the setting of telescopic link, more have stability when making liftable glass door go up and down, and through preventing interbedded setting, can avoid appearing the condition that personnel's hand was pressed from both sides and is hindered, thereby the device's security has been improved.
Drawings
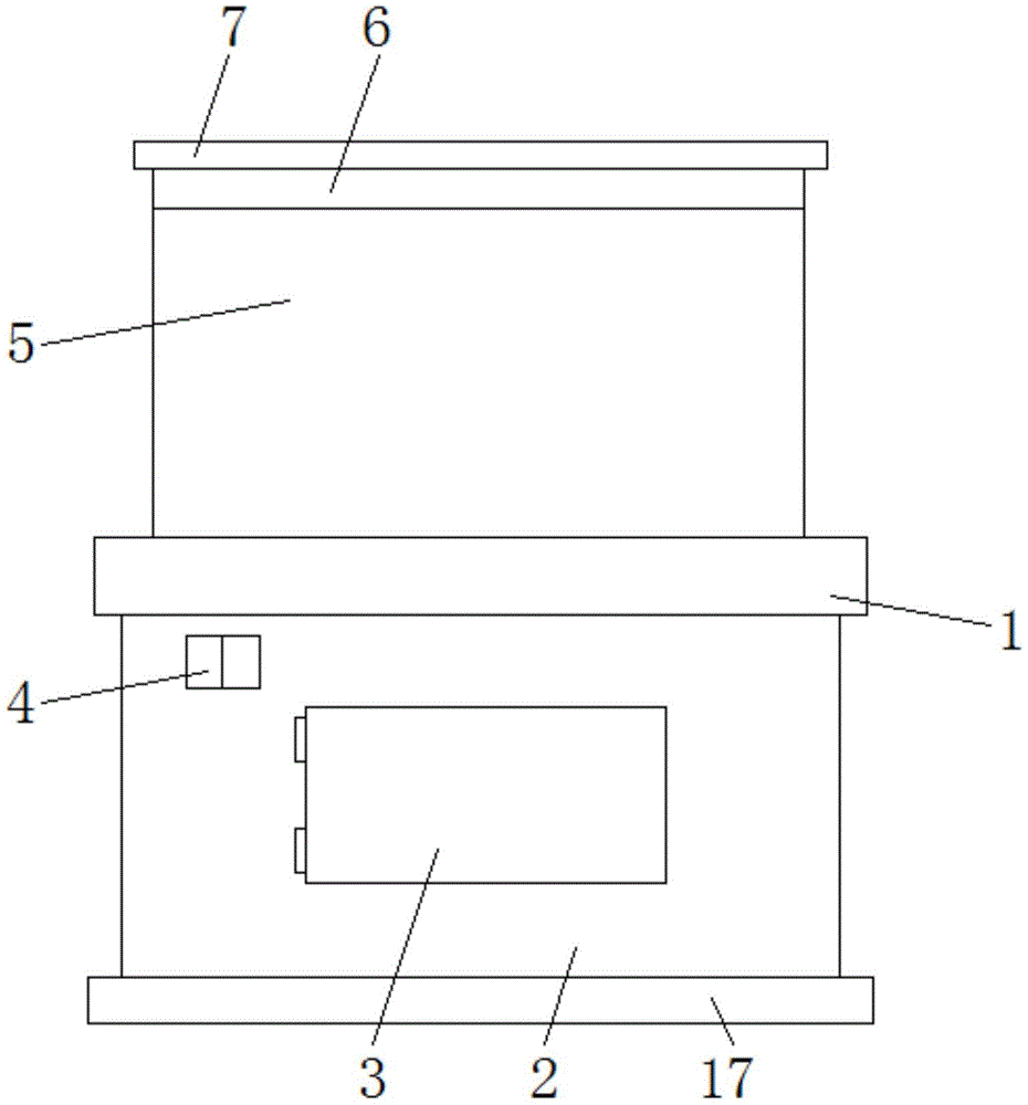
FIG. 1 is a front view of the structure of the present invention;
FIG. 2 is a sectional view of the structure of the present invention;
fig. 3 is a partial top view of the structure of the display board placing table of the present invention;
fig. 4 is a top view of the liftable glass door structure of the present invention.
In the figure: 1. a display board placing table; 2. a display stand base; 3. maintaining the cabinet door; 4. a switch control knob; 5. A liftable glass door; 6. an anti-interlayer; 7. a top transparent cover plate; 8. a vertical support plate; 9. an LED lighting lamp; 10. a first display board body; 11. a through groove; 12. a placement chamber; 13. a connecting plate; 14. a telescopic rod; 15. a second display board body; 16. an output cylinder; 17. a bottom wear plate.
Detailed Description
The technical solutions in the embodiments of the present invention will be described clearly and completely with reference to the accompanying drawings in the embodiments of the present invention, and it is obvious that the described embodiments are only some embodiments of the present invention, not all embodiments. Based on the embodiments in the present invention, all other embodiments obtained by a person skilled in the art without creative work belong to the protection scope of the present invention.
Referring to fig. 1-4, the present invention provides a technical solution: the utility model provides a showcase with automatic lift glass door, place platform 1 including the panel, platform 1 is placed to the panel's bottom fixedly connected with show stand base 2, show stand base 2's bottom fixedly connected with bottom antifriction plate 17, place chamber 12 has been seted up at show stand base 2's top, place the chamber 12 in lean on the equal fixedly connected with telescopic link 14 in both ends position, the top fixedly connected with connecting plate 13 of two telescopic links 14, the top fixedly connected with liftable glass door 5 of connecting plate 13, place the intermediate position fixed mounting of chamber 12 in the bottom and have output cylinder 16, during the use, the user passes through 4 control output cylinders 16 of on-off control button, come to go up and down liftable glass door 5.
The exhibition board is placed platform 1's top and has been seted up logical groove 11, liftable glass door 5's top is run through logical groove 11 and is extended to the exhibition board and place platform 1's outside, liftable glass door 5's top fixedly connected with prevents intermediate layer 6, the exhibition board is placed the rear end fixedly connected with vertical support plate 8 at platform 1 top, vertical support plate 8's top fixedly connected with top transparent cover plate 7, top transparent cover plate 7's bottom with prevent the contact of pinch course 6, prevent that pinch course 6 adopts sponge material to make.
The utility model discloses in: the middle position of the top of the display board placing table 1 is fixedly connected with a first display board body 10, and the top of the first display board body 10 is fixedly connected with a second display board body 15 through a connecting rod; the first and second display board bodies 10 and 15 may have sales articles placed on the top thereof.
The utility model discloses in: a maintenance cabinet door 3 is movably mounted on the front side of the display table base 2, a switch control button 4 is fixedly mounted at the position close to the left end of the front side of the display table base 2, and the switch control button 4 is electrically connected with the output cylinder 16 through a wire; the setting of maintenance cabinet door 3 makes things convenient for personnel to maintain output cylinder 16.
The utility model discloses in: the liftable glass door 5 is designed in a U shape, and the width of the liftable glass door 5 is slightly smaller than that of the through groove 11; the arrangement of the through groove 11 can reduce the friction force on the liftable glass door 5, thereby prolonging the service life of the liftable glass door 5.
The utility model discloses in: the LED illuminating lamps 9 are fixedly arranged at the positions close to the two ends in the middle of the front side of the vertical supporting plate 8, and the LED illuminating lamps 9 are electrically connected with an external power supply through power lines; the LED illuminating lamp 9 provides an illuminating effect for the whole showcase.
The utility model discloses in: the output cylinder 16 is of a model SC63X100, and the output cylinder 16 is electrically connected with an external power supply through a power line.
In summary, the following steps: this showcase with automatic rising glass door, setting through on-off control button 4 and output cylinder 16, can go up and down to liftable glass door 5 fast, make things convenient for the sales force article in the cabinet of taking, design through liftable glass door 5U type, make the customer edgewise also can vwatch the article in the cabinet, but through telescopic link 14's setting, more have stability when making liftable glass door 5 go up and down, and through the setting of preventing intermediate layer 6, can avoid appearing the condition that personnel's hand was pressed from both sides wounded, thereby the device's security has been improved.
It is noted that, herein, relational terms such as first and second, and the like may be used solely to distinguish one entity or action from another entity or action without necessarily requiring or implying any actual such relationship or order between such entities or actions. Also, the terms "comprises," "comprising," or any other variation thereof, are intended to cover a non-exclusive inclusion, such that a process, method, article, or apparatus that comprises a list of elements does not include only those elements but may include other elements not expressly listed or inherent to such process, method, article, or apparatus.
The electrical components presented in the document are all electrically connected with an external master controller and 220V mains, and the master controller can be a conventional known device controlled by a computer or the like.
Although embodiments of the present invention have been shown and described, it will be appreciated by those skilled in the art that changes, modifications, substitutions and alterations can be made in these embodiments without departing from the principles and spirit of the invention, the scope of which is defined in the appended claims and their equivalents.

Claims (6)

1.一种具有自动升降玻璃门的展柜,包括展板放置台(1),其特征在于:所述展板放置台(1)的底部固定连接有展示台底座(2),所述展示台底座(2)的底部固定连接有底部耐磨板(17),所述展示台底座(2)的顶部开设有放置腔(12),所述放置腔(12)内底部的靠两端位置均固定连接有可伸缩杆(14),两个可伸缩杆(14)的顶部固定连接有连接板(13),所述连接板(13)的顶部固定连接有可升降玻璃门(5),所述放置腔(12)内底部的中间位置固定安装有输出气缸(16);1. A showcase with an automatic lifting glass door, comprising a display board placing table (1), characterized in that: a display stand base (2) is fixedly connected to the bottom of the display board placing stand (1), and the display stand base ( 2) A bottom wear-resistant plate (17) is fixedly connected to the bottom, a placement cavity (12) is opened on the top of the display stand base (2), and the inner bottom of the placement cavity (12) is fixedly connected at both ends. There are telescopic rods (14), the tops of the two telescopic rods (14) are fixedly connected with connecting plates (13), and the tops of the connecting plates (13) are fixedly connected with a liftable glass door (5). An output cylinder (16) is fixedly installed in the middle position of the inner bottom of the cavity (12); 所述展板放置台(1)的顶部开设有通槽(11),所述可升降玻璃门(5)的顶部贯穿通槽(11)并延伸至展板放置台(1)的外部,所述可升降玻璃门(5)的顶部固定连接有防夹层(6),所述展板放置台(1)顶部的后端固定连接有竖向支撑板(8),所述竖向支撑板(8)的顶部固定连接有顶部透明盖板(7),所述顶部透明盖板(7)的底部与防夹层(6)接触。A through groove (11) is opened on the top of the display board placing table (1), and the top of the liftable glass door (5) penetrates through the through groove (11) and extends to the outside of the display board placing table (1). An anti-interlayer (6) is fixedly connected to the top of the lift glass door (5), and a vertical support plate (8) is fixedly connected to the rear end of the top of the display board placing table (1). The top is fixedly connected with a top transparent cover plate (7), and the bottom of the top transparent cover plate (7) is in contact with the anti-interlayer (6). 2.根据权利要求1所述的一种具有自动升降玻璃门的展柜,其特征在于:所述展板放置台(1)顶部的中间位置固定连接有第一展示板板体(10),所述第一展示板板体(10)的顶部通过连接杆固定连接有第二展示板板体(15)。2. A showcase with an automatic lift glass door according to claim 1, characterized in that: a first display panel body (10) is fixedly connected to the middle position of the top of the display panel placing table (1), and the The top of the first display board body (10) is fixedly connected with a second display board body (15) through a connecting rod. 3.根据权利要求1所述的一种具有自动升降玻璃门的展柜,其特征在于:所述展示台底座(2)的前侧活动安装有维修柜门(3),且展示台底座(2)前侧的靠左端位置固定安装有开关控制钮(4),所述开关控制钮(4)通过导线与输出气缸(16)电性连接。3. The showcase with automatic lifting glass door according to claim 1, characterized in that: a maintenance cabinet door (3) is movably installed on the front side of the showcase base (2), and the showcase base (2) is movably installed with a maintenance cabinet door (3). ) A switch control button (4) is fixedly installed at the left end position on the front side, and the switch control button (4) is electrically connected with the output cylinder (16) through a wire. 4.根据权利要求1所述的一种具有自动升降玻璃门的展柜,其特征在于:所述可升降玻璃门(5)为U型设计,且可升降玻璃门(5)的宽度略小于通槽(11)的宽度。4. A showcase with an automatic lift glass door according to claim 1, characterized in that: the liftable glass door (5) is of a U-shaped design, and the width of the liftable glass door (5) is slightly smaller than the width of the glass door. The width of the slot (11). 5.根据权利要求1所述的一种具有自动升降玻璃门的展柜,其特征在于:所述竖向支撑板(8)前侧中间的靠两端位置均固定安装有LED照明灯(9),且LED照明灯(9)通过电源线与外接电源电连接。5. A showcase with an automatic lift glass door according to claim 1, characterized in that: LED lights (9) are fixedly installed at both ends of the middle of the front side of the vertical support plate (8). , and the LED lighting lamp (9) is electrically connected with an external power supply through a power cord. 6.根据权利要求1所述的一种具有自动升降玻璃门的展柜,其特征在于:所述输出气缸(16)采用的型号为SC63X100,且输出气缸(16)通过电源线与外接电源电连接。6. A showcase with automatic lifting glass door according to claim 1, characterized in that: the output cylinder (16) adopts a model of SC63X100, and the output cylinder (16) is electrically connected to an external power supply through a power cord .
CN201921020492.5U 2019-07-03 2019-07-03 Showcase with automatic lifting glass door Expired - Fee Related CN210643431U (en)

Priority Applications (1)

Application Number Priority Date Filing Date Title
CN201921020492.5U CN210643431U (en) 2019-07-03 2019-07-03 Showcase with automatic lifting glass door

Applications Claiming Priority (1)

Application Number Priority Date Filing Date Title
CN201921020492.5U CN210643431U (en) 2019-07-03 2019-07-03 Showcase with automatic lifting glass door

Publications (1)

Publication Number Publication Date
CN210643431U true CN210643431U (en) 2020-06-02

Family

ID=70836305

Family Applications (1)

Application Number Title Priority Date Filing Date
CN201921020492.5U Expired - Fee Related CN210643431U (en) 2019-07-03 2019-07-03 Showcase with automatic lifting glass door

Country Status (1)

Country Link
CN (1) CN210643431U (en)

Cited By (1)

* Cited by examiner, † Cited by third party
Publication number Priority date Publication date Assignee Title
CN111972914A (en) * 2020-07-06 2020-11-24 江苏福维健康科技有限公司 Multi-azimuth electronic product display device and use method thereof

Cited By (1)

* Cited by examiner, † Cited by third party
Publication number Priority date Publication date Assignee Title
CN111972914A (en) * 2020-07-06 2020-11-24 江苏福维健康科技有限公司 Multi-azimuth electronic product display device and use method thereof

Similar Documents

Publication Publication Date Title
CN210643431U (en) Showcase with automatic lifting glass door
CN103844718A (en) Novel display cabinet
CN219102884U (en) Lamp capable of adjusting position of light source
CN216147709U (en) Improve office furniture of ornamental effect and use sales exhibition stand
CN202051344U (en) Simple display cabinet
CN216454353U (en) Hardware product display stand
CN210989330U (en) A display cabinet that can automatically adjust the display items for the sale of daily necessities
CN215382869U (en) Display stand for jewelry
CN210408022U (en) Hanging type rack
CN213308726U (en) Clothing exhibition frame with show height adjustment function
CN213216256U (en) Food sale display rack
CN214803773U (en) Forged part selling and displaying device convenient to store
CN111166112A (en) Display device
CN202060398U (en) Novel display counter
CN222323232U (en) Showcase convenient to get and put
CN211324054U (en) Multifunctional display cabinet for clothing shop
CN215348030U (en) Wood structure three-dimensional modeling display stand
CN212415331U (en) Clothing show cupboard convenient to change showcase background
CN223473445U (en) Display cabinet with induction lamp
CN211883139U (en) Display device
CN213721054U (en) Service cabinet with twenty-two-point five-degree opening type spherical glass
CN210696792U (en) Multifunctional sofa
CN218419182U (en) Multi-functional market showcase convenient to put commodity
CN220571890U (en) Mobile phone sales showcase with adjustable illumination angle
CN221450327U (en) Showcase with decorative frame

Legal Events

Date Code Title Description
GR01 Patent grant
GR01 Patent grant
CF01 Termination of patent right due to non-payment of annual fee
CF01 Termination of patent right due to non-payment of annual fee

Granted publication date: 20200602