CN210637441U - A shock-absorbing protection device for an automatic comprehensive wire checker - Google Patents

A shock-absorbing protection device for an automatic comprehensive wire checker Download PDF

Info

Publication number
CN210637441U
CN210637441U CN201921780535.XU CN201921780535U CN210637441U CN 210637441 U CN210637441 U CN 210637441U CN 201921780535 U CN201921780535 U CN 201921780535U CN 210637441 U CN210637441 U CN 210637441U
Authority
CN
China
Prior art keywords
wall
shell
wire
groove
protective housing
Prior art date
Legal status (The legal status is an assumption and is not a legal conclusion. Google has not performed a legal analysis and makes no representation as to the accuracy of the status listed.)
Active
Application number
CN201921780535.XU
Other languages
Chinese (zh)
Inventor
万新强
吴明希
赖勇
候贵宝
葛蕾
王婷
张菁菁
刘晓倩
张洪铭
朱孜
Current Assignee (The listed assignees may be inaccurate. Google has not performed a legal analysis and makes no representation or warranty as to the accuracy of the list.)
State Grid Jiangsu Electric Power Co Ltd
Suqian Power Supply Co of State Grid Jiangsu Electric Power Co Ltd
State Grid Corp of China SGCC
Original Assignee
State Grid Jiangsu Electric Power Co Ltd
Suqian Power Supply Co of State Grid Jiangsu Electric Power Co Ltd
State Grid Corp of China SGCC
Priority date (The priority date is an assumption and is not a legal conclusion. Google has not performed a legal analysis and makes no representation as to the accuracy of the date listed.)
Filing date
Publication date
Application filed by State Grid Jiangsu Electric Power Co Ltd, Suqian Power Supply Co of State Grid Jiangsu Electric Power Co Ltd, State Grid Corp of China SGCC filed Critical State Grid Jiangsu Electric Power Co Ltd
Priority to CN201921780535.XU priority Critical patent/CN210637441U/en
Application granted granted Critical
Publication of CN210637441U publication Critical patent/CN210637441U/en
Active legal-status Critical Current
Anticipated expiration legal-status Critical

Links

Images

Landscapes

  • Buffer Packaging (AREA)

Abstract

本实用新型公开了一种自动化综合查线器用减震保护装置,包括第一保护壳和第二保护壳,所述第一保护壳的内部设有备用电池槽,且备用电池槽内壁插接有备用电池,所述第一保护壳底部内壁设有螺纹,且第一保护壳底部内壁螺接有连接块,所述连接块外壁两侧均设有卡槽,所述连接块底部外壁粘接有放置壳,且放置壳内壁等距离焊接有第一减震弹簧,所述第一减震弹簧远离放置壳的一端均粘接有第一海绵垫。本实用新型采用了旋转卡接式的保护外壳,能够防止查线器在室外携带时受潮,且内部还采用了减震弹簧壳和海绵垫,能够对查线器起到一个良好的减震保护效果,且第一保护壳内部还设有备用电池,能够延长设备的使用时间。

Figure 201921780535

The utility model discloses a shock-absorbing protection device for an automatic comprehensive wire-checking device, comprising a first protection shell and a second protection shell. A spare battery slot is arranged inside the first protection shell, and the inner wall of the spare battery slot is inserted with a Backup battery, the inner wall of the bottom of the first protective shell is provided with threads, and the inner wall of the bottom of the first protective shell is screwed with a connecting block, the outer wall of the connecting block is provided with clamping grooves on both sides, and the outer wall of the bottom of the connecting block is bonded with The shell is placed, and the inner wall of the placement shell is welded with a first shock-absorbing spring at an equal distance, and the end of the first shock-absorbing spring away from the placement shell is bonded with a first sponge pad. The utility model adopts a rotating and snap-connected protective shell, which can prevent the wire checker from getting damp when it is carried outdoors, and also adopts a shock-absorbing spring shell and a sponge pad inside, which can provide a good shock-absorbing protection for the wire checker. In addition, a backup battery is also arranged inside the first protective shell, which can prolong the use time of the device.

Figure 201921780535

Description

Automatic change comprehensive inspection line utensils shock attenuation protection device
Technical Field
The utility model relates to a shock attenuation protection technology field especially relates to an automatic change comprehensive inspection line utensils shock attenuation protection device.
Background
Checking telephone lines with a line inspection machine is a fundamental operation of communication operation and maintenance. At present, the outside protection device of line inspection machine mostly adopts fixed sack to carry the line inspection machine, but carries the line inspection machine when the staff for a long time and outdoor the inspection time measuring, and the equipment often can appear being drenched and the condition of damaging takes place that wets, and because the battery capacity is limited in the line inspection machine, uses for a long time outdoors, and the emergence of the urgent phenomenon that does not have electricity often can appear, produces the influence to user's work.
Therefore, Chinese patent (application No. 201820544808. X) discloses a photovoltaic module bracket shock absorption protection device which can fix a photovoltaic module with a smooth surface and a sharp edge and is convenient to carry manually. But the device mobility is poor, and only adopts the protection piece to carry out the shock attenuation to heavier photovoltaic module for the shock attenuation effect is relatively poor, and this damping device simple structure.
SUMMERY OF THE UTILITY MODEL
The utility model aims at solving the defects existing in the prior art and providing a shock absorption protection device for an automatic comprehensive wire inspection device.
In order to achieve the above purpose, the utility model adopts the following technical scheme:
a shock absorption protection device for an automatic comprehensive wire inspection device comprises a first protection shell and a second protection shell, wherein a standby battery groove is formed in the first protection shell, a standby battery is inserted into the inner wall of the standby battery groove, the inner wall of the bottom of the first protection shell is provided with threads, a connecting block is screwed on the inner wall of the bottom of the first protection shell, clamping grooves are formed in two sides of the outer wall of the connecting block, a placing shell is bonded on the outer wall of the bottom of the connecting block, first shock absorption springs are welded on the inner wall of the placing shell at equal intervals, first sponge cushions are bonded on the ends, far away from the placing shell, of the first shock absorption springs, a wire inspection device placing groove and a wire releasing groove are formed in the tops of the first sponge cushions, clamping blocks are bonded on two sides of the inner wall of the tops of the second protection shell, second shock absorption springs are welded on the inner wall of the bottoms of the second protection shell at equal intervals, and second sponge, and a hanging buckle is bonded on the outer wall of one side of the first protective shell.
Preferably, plastic films are bonded to the outer walls of the first spongy cushion and the second spongy cushion.
Preferably, the diameter of the clamping block is matched with the inner diameter of the clamping groove, and the clamping block and the clamping groove form sliding fit.
Preferably, first protective housing forms through draw-in groove and fixture block joint with the second protective housing, and the junction bonding of first protective housing and second protective housing has sealed the pad.
Preferably, the hanging buckle is made of elastic plastic.
Preferably, the line inspection device placing groove is matched with the line inspection device, and the line releasing groove is matched with the line.
Preferably, the clamping groove is of an L-shaped structure, and a stop strip is bonded to the inner wall of the middle of the clamping groove.
The utility model has the advantages that:
1. this automatic comprehensive wire inspection utensils shock attenuation protection device of design has adopted the protecting sheathing of rotatory joint formula, and the user only need rotatory two protective casings to open it or closed when using with the closure, and such design can be used for outdoor use well and reach good waterproof dustproof effect.
2. This automatic change is synthesized shock attenuation protection device for wire inspection ware of design, except possessing the waterproof dust-proof housing of joint formula, its inside damping spring shell and foam-rubber cushion of having still adopted can play a good shock attenuation protection effect to the wire inspection ware, and the inside battery that still is equipped with of first protection casing, when the wire inspection ware does not have the electricity in outdoor work, can take out battery, changes the inside battery of wire inspection ware to the live time of extension equipment.
Drawings
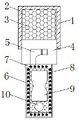
Fig. 1 is a sectional view of the whole structure of the shock absorption protection device for the automatic comprehensive wire inspection device provided by the utility model;
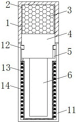
fig. 2 is a sectional view of a first protection shell structure of the shock absorption protection device for the automatic comprehensive wire inspection device provided by the utility model;
fig. 3 is a sectional view of a second protective casing of the shock absorption protection device for the automatic comprehensive wire inspection device provided by the utility model;
fig. 4 is the utility model provides an automatic change comprehensive inspection utensils shock attenuation protection device's overall structure elevation.
In the figure: 1 first protective housing, 2 reserve battery jars, 3 reserve batteries, 4 connecting blocks, 5 draw-in grooves, 6 place the shell, 7 first damping spring, 8 first foam-rubber cushion, 9 wire inspection ware mounting groove, 10 wire releasing grooves, 11 second protective housing, 12 fixture blocks, 13 second damping spring, 14 second foam-rubber cushion, 15 string knot.
Detailed Description
The technical solutions in the embodiments of the present invention will be described clearly and completely with reference to the accompanying drawings in the embodiments of the present invention, and it is obvious that the described embodiments are only some embodiments of the present invention, not all embodiments.
Referring to fig. 1-4, a shock absorption protection device for an automatic comprehensive wire tester comprises a first protection shell 1 and a second protection shell 14, wherein a standby battery groove 2 is arranged in the first protection shell 1, a standby battery 3 is inserted into the inner wall of the standby battery groove 2, the inner wall of the bottom of the first protection shell 1 is provided with screw threads, a connecting block 4 is screwed on the inner wall of the bottom of the first protection shell 1, two sides of the outer wall of the connecting block 4 are respectively provided with a clamping groove 5, the clamping grooves 5 are in an L-shaped structure, a baffle is adhered on the inner wall of the middle part of each clamping groove 5, a placing shell 6 is adhered on the outer wall of the bottom of each connecting block 4, first shock absorption springs 7 are welded on the inner wall of each placing shell 6 at equal intervals, one ends, far away from the placing shell 6, of the first shock absorption springs 7 are respectively adhered with a first sponge pad 8, a wire tester placing groove 9 and a wire releasing groove 10 are arranged on the top of each first, the fixture block 12 is bonded on two sides of the inner wall of the top of the second protective shell 11, the first protective shell 1 and the second protective shell 11 are connected through the clamping groove 5 and the fixture block 12 in a clamped mode to form, a sealing gasket is bonded on the joint of the first protective shell 1 and the second protective shell 11, the diameter of the fixture block 12 is matched with the inner diameter of the clamping groove 5, the fixture block 12 and the clamping groove 5 form sliding fit, second damping springs 13 are welded on the inner wall of the bottom of the second protective shell 11 at equal intervals, a second sponge pad 14 is bonded on one end, away from the second protective shell 11, of each second damping spring 13, plastic films are bonded on the outer walls of the first sponge pad 8 and the second sponge pad 14, a hanging buckle 15 is bonded on the outer wall of one side of the first protective shell 1, and.
The working principle is as follows: when the user uses this protection device, at first with first protective housing 1 in the rotatory part of connecting block 4, after filling in the inside reserve battery groove 2 of first protective housing 1 with fully charged stand-by battery 3, the spiro union is good connecting block 4, then place the inside back at cable finder resettlement groove 9 with the cable finder that needs to place, place the lines that need to use inside unwrapping wire groove 10 again, after placing and finishing, with the inside fixture block 12 of second protective housing 11 after aiming at draw-in groove 5 of connecting block 4 both sides, rotatory second protective housing 11 is complete with first protective housing 1 and the concatenation of second protective housing 11, later hang buckle 15 and hand-carry on user's belt, when going out to use cable finder no electricity, take out stand-by battery 3 in the reserve groove 2 and change it inside the cable finder, make cable finder continue to work.
The above, only be the concrete implementation of the preferred embodiment of the present invention, but the protection scope of the present invention is not limited thereto, and any person skilled in the art is in the technical scope of the present invention, according to the technical solution of the present invention and the utility model, the concept of which is equivalent to replace or change, should be covered within the protection scope of the present invention.

Claims (7)

1. The shock absorption protection device for the automatic comprehensive wire checker comprises a first protection shell (1) and a second protection shell (11), and is characterized in that a standby battery groove (2) is arranged inside the first protection shell (1), a standby battery (3) is inserted into the inner wall of the standby battery groove (2), threads are arranged on the inner wall of the bottom of the first protection shell (1), a connecting block (4) is screwed on the inner wall of the bottom of the first protection shell (1), clamping grooves (5) are arranged on two sides of the outer wall of the connecting block (4), a placing shell (6) is bonded on the outer wall of the bottom of the connecting block (4), first shock absorption springs (7) are welded on the inner wall of the placing shell (6) at equal intervals, first sponge cushions (8) are bonded on one ends, far away from the placing shell (6), of the first sponge cushions (7), a wire checker placing groove (9) and a paying-off groove (10) are arranged at the top of the first sponge cushions (8), the utility model discloses a damping device, including first protective housing (1), second protective housing (11) top inner wall both sides all bond and have fixture block (12), and second protective housing (11) bottom inner wall equidistance welding has second damping spring (13), second damping spring (13) keep away from the one end of second protective housing (11) and all bond and have second foam-rubber cushion (14), first protective housing (1) one side outer wall bonds and has hang knot (15).
2. The shock absorption protection device for the automatic comprehensive cable inspection device as claimed in claim 1, wherein plastic films are adhered to the outer walls of the first spongy cushion (8) and the second spongy cushion (14).
3. The shock absorption protection device for the automatic comprehensive wire inspector according to claim 1, wherein the diameter of the fixture block (12) is adapted to the inner diameter of the fixture groove (5), and the fixture block (12) and the fixture groove (5) form a sliding fit.
4. The automatic change and synthesize shock attenuation protection device for wire inspection ware of claim 1, characterized in that, first protective housing (1) and second protective housing (11) are formed through draw-in groove (5) and fixture block (12) joint, and the junction of first protective housing (1) and second protective housing (11) bonds there is the sealed pad.
5. The shock absorption protection device for the automatic comprehensive wire tester as claimed in claim 1, wherein the hanging buckle (15) is made of elastic plastic.
6. The shock absorption protection device for the automatic comprehensive wire checker according to claim 1, wherein the wire checker placing groove (9) is adapted to the wire checker, and the wire releasing groove (10) is adapted to the wire.
7. The shock absorption protection device for the automatic comprehensive wire inspection device as claimed in claim 1, wherein the slot (5) is of an L-shaped structure, and a stop bar is bonded to the inner wall of the middle part of the slot (5).
CN201921780535.XU 2019-10-23 2019-10-23 A shock-absorbing protection device for an automatic comprehensive wire checker Active CN210637441U (en)

Priority Applications (1)

Application Number Priority Date Filing Date Title
CN201921780535.XU CN210637441U (en) 2019-10-23 2019-10-23 A shock-absorbing protection device for an automatic comprehensive wire checker

Applications Claiming Priority (1)

Application Number Priority Date Filing Date Title
CN201921780535.XU CN210637441U (en) 2019-10-23 2019-10-23 A shock-absorbing protection device for an automatic comprehensive wire checker

Publications (1)

Publication Number Publication Date
CN210637441U true CN210637441U (en) 2020-05-29

Family

ID=70797460

Family Applications (1)

Application Number Title Priority Date Filing Date
CN201921780535.XU Active CN210637441U (en) 2019-10-23 2019-10-23 A shock-absorbing protection device for an automatic comprehensive wire checker

Country Status (1)

Country Link
CN (1) CN210637441U (en)

Similar Documents

Publication Publication Date Title
CN210637441U (en) A shock-absorbing protection device for an automatic comprehensive wire checker
CN208795788U (en) A kind of electric power maintenance meter measuring device
CN208239480U (en) A kind of multifunctional lithium ion cell test fixture
CN211767183U (en) Equipment for storing gyroscope module
CN211179919U (en) Electric power instrument with shock-absorbing function
CN212909950U (en) Portable charging device for Bluetooth headset
CN210578525U (en) Outdoor interphone
CN210608396U (en) Tray type cable bridge
CN210625926U (en) Pneumatic pressure gauge shock mounting
CN210036804U (en) Portable environment monitoring equipment
CN217607509U (en) Can accomodate multi-functional portable treasured that charges of data line
CN214583553U (en) Intelligent remote water meter fault detection device
CN220473591U (en) Battery pack performance testing device
CN218211484U (en) Turbine flowmeter with protective structure
CN207817382U (en) A kind of automatic measuring platform instrument
CN216577781U (en) Toolbox is used in maintenance of electronic railway connecting net of being convenient for
CN214200495U (en) Battery package air tightness test equipment
CN205365840U (en) Simple and easy positioner of motorcycle seat
CN221234286U (en) Moisture-proof optical fiber box storage box
CN215795721U (en) Varactor formula corrugated paper packing carton
CN210327557U (en) Waterproof interphone with anti-falling structure
CN216160049U (en) A LoRa wireless temperature detector
CN215344190U (en) Special waterproof motor of car washer
CN210668840U (en) High-speed automobile connector
CN211741389U (en) Portable universal meter

Legal Events

Date Code Title Description
GR01 Patent grant
GR01 Patent grant