CN210454922U - A new type of cargo stair climber - Google Patents

A new type of cargo stair climber Download PDF

Info

Publication number
CN210454922U
CN210454922U CN201920950151.1U CN201920950151U CN210454922U CN 210454922 U CN210454922 U CN 210454922U CN 201920950151 U CN201920950151 U CN 201920950151U CN 210454922 U CN210454922 U CN 210454922U
Authority
CN
China
Prior art keywords
fixedly connected
frame
rotating
stair climbing
left end
Prior art date
Legal status (The legal status is an assumption and is not a legal conclusion. Google has not performed a legal analysis and makes no representation as to the accuracy of the status listed.)
Expired - Fee Related
Application number
CN201920950151.1U
Other languages
Chinese (zh)
Inventor
应东
何军
陈泓岩
沈诗祎
陈松
李超凡
刘磊
王昭辉
李庆华
董明
田力
崇信民
杨丽敏
Current Assignee (The listed assignees may be inaccurate. Google has not performed a legal analysis and makes no representation or warranty as to the accuracy of the list.)
CHANGZHOU XINLANLING ELECTRIC POWER ACCESSORY CO LTD
Yinchuan Power Supply Co of State Grid Ningxia Electric Power Co Ltd
Original Assignee
CHANGZHOU XINLANLING ELECTRIC POWER ACCESSORY CO LTD
Yinchuan Power Supply Co of State Grid Ningxia Electric Power Co Ltd
Priority date (The priority date is an assumption and is not a legal conclusion. Google has not performed a legal analysis and makes no representation as to the accuracy of the date listed.)
Filing date
Publication date
Application filed by CHANGZHOU XINLANLING ELECTRIC POWER ACCESSORY CO LTD, Yinchuan Power Supply Co of State Grid Ningxia Electric Power Co Ltd filed Critical CHANGZHOU XINLANLING ELECTRIC POWER ACCESSORY CO LTD
Priority to CN201920950151.1U priority Critical patent/CN210454922U/en
Application granted granted Critical
Publication of CN210454922U publication Critical patent/CN210454922U/en
Expired - Fee Related legal-status Critical Current
Anticipated expiration legal-status Critical

Links

Images

Landscapes

  • Handcart (AREA)

Abstract

本实用新型公开了一种新型载物爬楼机,包括机架,所述机架左端固定连接有固定罩,所述机架左端固定连接有两个固定架,所述固定架上均转动连接有转动轮,所述机架左端固定连接有连接板,所述连接板左端转动连接有转动板,所述转动板另一端通过转轴转动连接有转动架,所述转动架侧壁两侧均转动连接有协助轮,所述固定罩内部顶端固定连接有液压缸,所述液压缸输出端固定连接有固定块,所述固定块侧壁固定连接有连接杆,所述连接杆另一端通过转轴与转动架转动连接。本实用新型提高了该新型载物爬楼机的使用性能,便于对爬楼机的速度与方向进行控制,保证爬楼机登梯的稳定性,使用安全不易发生损坏,并且灵活度较佳,便于在狭小的楼梯口进行移动。

Figure 201920950151

The utility model discloses a novel load-carrying stair climbing machine, which comprises a frame, a fixing cover is fixedly connected to the left end of the frame, and two fixing frames are fixedly connected to the left end of the frame, and the fixing frames are all rotatably connected There is a rotating wheel, the left end of the frame is fixedly connected with a connecting plate, the left end of the connecting plate is rotatably connected with a rotating plate, the other end of the rotating plate is rotatably connected with a turret through a rotating shaft, and both sides of the side wall of the turret rotate An assist wheel is connected, a hydraulic cylinder is fixedly connected to the inner top of the fixed cover, a fixed block is fixedly connected to the output end of the hydraulic cylinder, a connecting rod is fixedly connected to the side wall of the fixed block, and the other end of the connecting rod is connected to the shaft through a rotating shaft. The turret is connected in rotation. The utility model improves the usability of the novel load stair climbing machine, facilitates the control of the speed and direction of the stair climbing machine, ensures the stability of the stair climbing machine, is safe to use, and is less prone to damage, and has better flexibility. Easy to move around narrow stairwells.

Figure 201920950151

Description

Novel carry thing and climb building machine
Technical Field
The utility model relates to a climb building machine technical field, specifically be a novel carry thing and climb building machine.
Background
Along with the acceleration of social urbanization construction, the problem that urban living space is small is relieved to a certain extent by the popularization of high-rise buildings, however, some old-fashioned houses are not equipped with elevators conditionally, and the abnormally narrow stairs bring a lot of difficulties and inconvenience for residents to carry goods upstairs and downstairs, and have potential safety hazards. But the inconvenient speed and the direction of controlling its climbing of present electronic year thing stair climbing machine in use, it is relatively poor to climb the stair machine stability of climbing the ladder, uses to have danger, easily causes the damage of stair climbing machine to nimble degree is low, inconveniently removes in narrow and small stair mouth. Therefore, a novel object-carrying stair climbing machine is provided.
SUMMERY OF THE UTILITY MODEL
An object of the utility model is to provide a novel carry thing and climb building machine to provide the inconvenient speed and the direction of controlling its climbing of present electronic year thing climbing building machine in use in solving above-mentioned background art, climbing building machine climbing stability is relatively poor, uses to have danger, easily causes climbing building machine to damage, and nimble degree is low, inconvenient problem of removing in narrow and small stair mouth.
In order to solve the technical problem, the utility model provides a following technical scheme: the utility model provides a novel carry thing and climb building machine, which comprises a frame, frame left end fixedly connected with fixed cover, two mounts of frame left end fixedly connected with, all rotate on the mount and be connected with the rotation wheel, frame left end fixedly connected with connecting plate, the connecting plate left end is rotated and is connected with the rotor plate, the rotor plate other end is rotated through the pivot and is connected with the rotating turret, rotating turret lateral wall both sides all rotate and are connected with the assistance wheel, the inside top fixedly connected with pneumatic cylinder of fixed cover, pneumatic cylinder output fixedly connected with fixed block, fixed block lateral wall fixedly connected with connecting rod, the connecting rod other end rotates through pivot and rotating turret to be connected, frame right-hand member fixedly connected with carries the thing seat, carry thing seat one side and placed the.
Preferably, the both ends of carrying seat lateral wall all rotate and are connected with the card strip, two fixedly connected with hasp between the card strip.
Preferably, the two assisting wheels are both positioned inside the two rotating wheels, and the assisting wheels are made of rubber.
Preferably, a supporting pad is fixedly connected between the top end of the frame and the bottom end of the steel cylinder, and the supporting pad is made of rubber.
Preferably, the distance between the two rotating wheels is the same as the width of the frame, and the rotating wheels are pneumatic rubber wheels.
Preferably, the upper side of the left end of the rack is fixedly connected with a pushing frame, and the side wall of the pushing frame is fixedly connected with an anti-skidding sleeve.
Compared with the prior art, the beneficial effects of the utility model are that:
the utility model discloses, in using this machine of climbing building, hand is on pushing away the frame, then the people stands above the stair, make the frame become certain angle place, then utilize the pneumatic cylinder to drive the fixed block and move down, then the fixed block passes through the connecting rod and drives the rotating turret below and be anticlockwise swing, then support two helping wheels on the stair, continue to extend the pneumatic cylinder and make the horizontal position of frame rise, and the horizontal position of rotating wheel also rises, then make the rotating wheel place the last step of stair, then pull the pushing away frame forward, the pneumatic cylinder shrink drives the fixed block and moves up simultaneously, then shrink helping wheels between the rotating wheel, can accomplish the work of climbing building in proper order, solved present electric climbing building machine in use inconvenient control its speed and direction of climbing, climbing building machine climbing stability is relatively poor, use has danger, easily cause the machine of climbing building to damage, and nimble degree is low, and the technical problem that inconvenient removal was carried out in narrow and small stair mouth has improved this novel thing of carrying and has climbed building machine's performance, is convenient for control the speed and the direction of climbing building machine, guarantees the stability of climbing building machine stairs, and the difficult emergence of safe in utilization is damaged to the flexibility ratio preferred is convenient for remove at narrow and small stair mouth.
Drawings
Fig. 1 is a schematic structural diagram of an embodiment of the present invention;
fig. 2 is a schematic view of a partial structure of an embodiment of the present invention;
fig. 3 is a side view of an embodiment of the present invention.
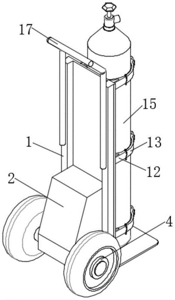
In the figure: 1. a frame; 2. a fixed cover; 3. a fixed mount; 4. a rotating wheel; 5. a connecting plate; 6. a rotating plate; 7. a rotating frame; 8. an assistance wheel; 9. a hydraulic cylinder; 10. a fixed block; 11. a connecting rod; 12. a carrying seat; 13. clamping the strip; 14. locking; 15. a steel cylinder; 16. a support pad; 17. a pushing frame.
Detailed Description
In order to improve this novel thing of carrying and climb building machine's performance, be convenient for control the speed and the direction of climbing building machine, guarantee the stability that climbing building machine climbed, the difficult emergence of safe in utilization is damaged to the flexibility ratio preferred is convenient for carry out the technical problem that removes at narrow and small stair mouth, the embodiment of the utility model provides a novel thing of carrying climbs building machine. The technical solutions in the embodiments of the present invention will be described clearly and completely with reference to the accompanying drawings in the embodiments of the present invention, and it is obvious that the described embodiments are only some embodiments of the present invention, not all embodiments. Based on the embodiments in the present invention, all other embodiments obtained by a person skilled in the art without creative work belong to the protection scope of the present invention.
Example 1
Please refer to fig. 1-3, this embodiment provides a novel carry thing stair climbing machine, which comprises a frame 1, 1 left end fixedly connected with fixed cover 2 of frame, 1 left end fixedly connected with two mounts 3 of frame, all rotate on the mount 3 and be connected with the turning wheel 4, 1 left end fixedly connected with connecting plate 5 of frame, 5 left ends of connecting plate rotate and are connected with rotor plate 6, the 6 other end of rotor plate rotates through the pivot and is connected with rotor frame 7, 7 lateral wall both sides of rotor frame all rotate and are connected with assistance wheel 8, 2 inside top fixedly connected with pneumatic cylinders 9 of fixed cover, 9 output end fixedly connected with fixed block 10 of pneumatic cylinder, 10 lateral walls of fixed block fixedly connected with connecting rod 11, the connecting rod 11 other end rotates through pivot and rotor frame 7 to be connected, 1 right-hand member fixedly connected with carries thing seat 12 of.
In the embodiment, when the stair climbing machine is used, a user holds the stair on a pushing frame 17, then stands above a stair to place the frame 1 at a certain angle, then drives a fixing block 10 to move downwards by using a hydraulic cylinder 9, wherein the hydraulic cylinder 9 is CZA-63 in model, then the fixing block 10 drives the lower part of a rotating frame 7 to swing anticlockwise through a connecting rod 11, then supports two assisting wheels 8 on the stair, continues to extend the hydraulic cylinder 9 to enable the horizontal position of the frame 1 to rise, enables the horizontal position of the rotating wheel 4 to rise, enables the rotating wheel 4 to be placed on the upper step of the stair, then pulls the pushing frame 17 forwards, meanwhile, the hydraulic cylinder 9 contracts to drive the fixing block 10 to move upwards, then contracts the assisting wheels 8 between the rotating wheels 4, and then sequentially moves downwards to finish the stair climbing work.
Example 2
Referring to fig. 1-3, a further improvement is made on the basis of embodiment 1: the two ends of the side wall of the object carrying seat 12 are rotatably connected with clamping strips 13, a lock catch 14 is fixedly connected between the two clamping strips 13, a steel bottle 15 can be loaded and unloaded through the lock catch 14 and the clamping strips 13, the two assisting wheels 8 are positioned on the inner sides of the two rotating wheels 4, the assisting wheels 8 are made of rubber, the two assisting wheels 8 can be conveniently contracted between the two rotating wheels 4, the vibration of the assisting wheels 8 can be reduced, a supporting pad 16 is fixedly connected between the top end of the rack 1 and the bottom end of the steel bottle 15, the supporting pad 16 is made of rubber, the stability of the steel bottle 15 when being placed can be ensured through the supporting pad 16, the distance between the two rotating wheels 4 is the same as the width of the rack 1, the rotating wheels 4 are inflatable rubber wheels, the flexibility of the stair climbing machine can be ensured under the condition that the rack 1 is stable, a pushing frame 17 is fixedly connected to the upper side of, the stair climbing machine can be pushed by the pushing frame 17, and the stability of the movement of the pushing frame 17 is ensured by the anti-skidding sleeves.
In the description of the present application, it should be noted that the terms "vertical", "upper", "lower", "horizontal", and the like indicate orientations or positional relationships based on the orientations or positional relationships shown in the drawings, and are only for convenience of description and simplicity of description, but do not indicate or imply that the referred device or element must have a specific orientation, be constructed and operated in a specific orientation, and thus, should not be construed as limiting the present application. Furthermore, "first" and "second" are used for descriptive purposes only and are not to be construed as indicating or implying relative importance.
In the description of the present application, it should be further noted that, unless otherwise explicitly stated or limited, the terms "disposed," "mounted," "connected," and "connected" are to be construed broadly and may include, for example, a fixed connection, a detachable connection, an integral connection, a mechanical connection, an electrical connection, a direct connection, a connection through an intermediate medium, and a connection between two elements. The specific meaning of the above terms in the present application can be understood by those of ordinary skill in the art according to specific circumstances.
Although embodiments of the present invention have been shown and described, it will be appreciated by those skilled in the art that changes, modifications, substitutions and alterations can be made in these embodiments without departing from the principles and spirit of the invention, the scope of which is defined in the appended claims and their equivalents.

Claims (6)

1. The utility model provides a novel carry thing stair climbing machine, includes frame (1), its characterized in that: the left end of the rack (1) is fixedly connected with a fixed cover (2), the left end of the rack (1) is fixedly connected with two fixed frames (3), the fixed frames (3) are all rotatably connected with rotating wheels (4), the left end of the rack (1) is fixedly connected with a connecting plate (5), the left end of the connecting plate (5) is rotatably connected with a rotating plate (6), the other end of the rotating plate (6) is rotatably connected with a rotating frame (7) through a rotating shaft, two sides of the side wall of the rotating frame (7) are both rotatably connected with assisting wheels (8), the top end inside the fixed cover (2) is fixedly connected with a hydraulic cylinder (9), the output end of the hydraulic cylinder (9) is fixedly connected with a fixed block (10), the side wall of the fixed block (10) is fixedly connected with a connecting rod (11), and the other, the right end of the rack (1) is fixedly connected with an object carrying seat (12), and a steel cylinder (15) is placed on one side of the object carrying seat (12).
2. The novel carrying stair climbing machine according to claim 1, characterized in that: the both ends of carrying thing seat (12) lateral wall all rotate and are connected with card strip (13), two fixedly connected with hasp (14) between card strip (13).
3. The novel carrying stair climbing machine according to claim 1, characterized in that: the two assisting wheels (8) are both positioned on the inner sides of the two rotating wheels (4), and the assisting wheels (8) are made of rubber.
4. The novel carrying stair climbing machine according to claim 1, characterized in that: a supporting pad (16) is fixedly connected between the top end of the frame (1) and the bottom end of the steel cylinder (15), and the supporting pad (16) is made of rubber.
5. The novel carrying stair climbing machine according to claim 1, characterized in that: the distance between the two rotating wheels (4) is the same as the width of the rack (1), and the rotating wheels (4) are inflatable rubber wheels.
6. The novel carrying stair climbing machine according to claim 1, characterized in that: the frame (1) left end upside fixedly connected with pushes away frame (17), push away frame (17) lateral wall fixedly connected with antiskid cover.
CN201920950151.1U 2019-06-24 2019-06-24 A new type of cargo stair climber Expired - Fee Related CN210454922U (en)

Priority Applications (1)

Application Number Priority Date Filing Date Title
CN201920950151.1U CN210454922U (en) 2019-06-24 2019-06-24 A new type of cargo stair climber

Applications Claiming Priority (1)

Application Number Priority Date Filing Date Title
CN201920950151.1U CN210454922U (en) 2019-06-24 2019-06-24 A new type of cargo stair climber

Publications (1)

Publication Number Publication Date
CN210454922U true CN210454922U (en) 2020-05-05

Family

ID=70441635

Family Applications (1)

Application Number Title Priority Date Filing Date
CN201920950151.1U Expired - Fee Related CN210454922U (en) 2019-06-24 2019-06-24 A new type of cargo stair climber

Country Status (1)

Country Link
CN (1) CN210454922U (en)

Cited By (2)

* Cited by examiner, † Cited by third party
Publication number Priority date Publication date Assignee Title
CN112325153A (en) * 2020-11-12 2021-02-05 广西桂林金秉航科技有限公司 Electrified automatic air supplement unit of SF6 equipment
CN112896246A (en) * 2021-01-29 2021-06-04 金华送变电工程有限公司 A electronic car of going upstairs for carrying gas cylinder

Cited By (2)

* Cited by examiner, † Cited by third party
Publication number Priority date Publication date Assignee Title
CN112325153A (en) * 2020-11-12 2021-02-05 广西桂林金秉航科技有限公司 Electrified automatic air supplement unit of SF6 equipment
CN112896246A (en) * 2021-01-29 2021-06-04 金华送变电工程有限公司 A electronic car of going upstairs for carrying gas cylinder

Similar Documents

Publication Publication Date Title
CN210454922U (en) A new type of cargo stair climber
CN113417475B (en) Automatic turnover device for unit curtain wall and turnover method thereof
CN105818878A (en) Stair climbing mechanism driven by motor
CN202765066U (en) Semi-automatic mechanical load-bearing device with function of walking up and down stairs
CN110193175A (en) Manned automatic climbing device suitable for electric pole
CN214570229U (en) Rotatable crane for production and batching in chemical industry
CN214776085U (en) Tower crane accessory handling device
CN214990060U (en) Hoisting device with folding standing platform
CN212656120U (en) A movable hanging basket device for construction operation
CN214399562U (en) Hoisting apparatus for computer lab
CN215291292U (en) A lifting device for building construction
CN214141375U (en) Safety device for building electrical construction
CN214575513U (en) An adjustable building platform for interior decoration buildings
CN108791450A (en) A kind of substation's Weight upstairs climbing automatic conveying device
CN211314078U (en) Collapsible flexible maintenance cat ladder of hydraulic engineering
CN211844566U (en) A kind of concrete transfer trolley for convenient unloading
CN221896155U (en) A scaffolding with protective structure
CN215520747U (en) Power steel pipe tower with auxiliary ladder
CN117846484A (en) A portable ladder
CN214785779U (en) Building construction lift platform
CN218091918U (en) Scaffold for building engineering construction
CN217420424U (en) Movable operating frame for constructional engineering
CN222227890U (en) A protective lifting device for dangerous wall reconstruction construction
CN220430208U (en) Warehouse commodity circulation transfer car (buggy) with adjustable
CN219928345U (en) Platform for assisting bridge crane hoisting operation

Legal Events

Date Code Title Description
GR01 Patent grant
GR01 Patent grant
CF01 Termination of patent right due to non-payment of annual fee

Granted publication date: 20200505

CF01 Termination of patent right due to non-payment of annual fee