CN210449589U - Automatic spraying machine with cleaning function - Google Patents
Automatic spraying machine with cleaning function Download PDFInfo
- Publication number
- CN210449589U CN210449589U CN201920918758.1U CN201920918758U CN210449589U CN 210449589 U CN210449589 U CN 210449589U CN 201920918758 U CN201920918758 U CN 201920918758U CN 210449589 U CN210449589 U CN 210449589U
- Authority
- CN
- China
- Prior art keywords
- storage tank
- pipe
- wall
- fixedly connected
- circular
- Prior art date
- Legal status (The legal status is an assumption and is not a legal conclusion. Google has not performed a legal analysis and makes no representation as to the accuracy of the status listed.)
- Expired - Fee Related
Links
- 238000005507 spraying Methods 0.000 title claims abstract description 29
- 238000004140 cleaning Methods 0.000 title claims description 20
- XLYOFNOQVPJJNP-UHFFFAOYSA-N water Substances O XLYOFNOQVPJJNP-UHFFFAOYSA-N 0.000 claims abstract description 43
- 239000007921 spray Substances 0.000 claims description 13
- 239000011248 coating agent Substances 0.000 claims description 10
- 238000000576 coating method Methods 0.000 claims description 10
- 230000000694 effects Effects 0.000 abstract description 3
- 239000000463 material Substances 0.000 description 14
- 238000000034 method Methods 0.000 description 7
- 230000008569 process Effects 0.000 description 5
- 238000012856 packing Methods 0.000 description 4
- 239000010720 hydraulic oil Substances 0.000 description 3
- 230000007246 mechanism Effects 0.000 description 3
- 230000005540 biological transmission Effects 0.000 description 2
- 230000003028 elevating effect Effects 0.000 description 2
- 241001391944 Commicarpus scandens Species 0.000 description 1
- 230000009471 action Effects 0.000 description 1
- 238000013475 authorization Methods 0.000 description 1
- 230000008859 change Effects 0.000 description 1
- 238000001125 extrusion Methods 0.000 description 1
- 230000007774 longterm Effects 0.000 description 1
- 239000010865 sewage Substances 0.000 description 1
- 238000004381 surface treatment Methods 0.000 description 1
Images
Landscapes
- Cleaning By Liquid Or Steam (AREA)
Abstract
The utility model discloses an automatic spraying machine with clean function, there are the removal carrier of electric drive wheel and universal wheel including bottom both ends difference fixed mounting, set up the storage water tank of water inlet and set up the storage tank of feed inlet, top outer wall one side and the storage water tank bottom outer wall welded fastening of removal carrier, remove carrier top outer wall middle-end and storage tank bottom and pass through support frame welded fastening, storage tank bottom is through conveying pipeline fixedly connected with force pump, storage water tank top inner wall fixedly connected with water pump, the folding bellows of water pump output end fixedly connected with, the folding bellows is fixed in storage water tank top outer wall through movable support device, the folding bellows other end passes through raceway fixedly connected with shower nozzle, be convenient for folding bellows bottom through movable support device and carry out arbitrary angle activity, can not take place the extruded condition of rupture.
Description
Technical Field
The utility model relates to a flush coater technical field especially relates to an automatic flush coater with clean function.
Background
Spraying is taken as a method and means for surface treatment of products, the development of the method is not obvious, at present, domestic spraying equipment mainly comprises a horizontal reciprocating automatic spraying machine, a rotary spraying robot and the like, and through retrieval, the Chinese patent with the authorization number of CN205797593U discloses an automatic spraying machine which comprises an upper frame, a lower frame, a material box and a lifting mechanism, wherein the upper frame is provided with a lifting mechanism on the surface, the lifting mechanism comprises a lifting frame, a driven wheel, a motor and a driving wheel connected with the motor, the top of the lifting frame is provided with a controller, the driving wheel and the driven wheel are wound with a transmission belt, the transmission belt is provided with a lifting block, the lifting block is connected with a spraying head through a connecting rod, the spraying head is provided with an electromagnetic valve, an infrared sensor and a distance sensor, the spraying head is connected with the material box through a spraying hose, and the inner; the lower frame both ends backup pad is equipped with the guided way, and the lower frame top is equipped with hydraulic oil pump, and the elevating platform is withstood to the plunger of hydraulic oil pump, and the elevating platform welds in the upper frame bottom, and the cylinder liner of hydraulic oil pump is equipped with the running-board outward. One of the automatic sprayer devices of the above patents suffers from the following disadvantages: 1. lack of cleanable devices; 2. the spraying hose is not protected, and is easy to break after long-term use.
SUMMERY OF THE UTILITY MODEL
The utility model aims at solving the problem that the cleaning device is lacked after the coating machine is used and the joint of the spraying pipe has no safety protection, and the automatic coating machine with the cleaning function is provided.
In order to achieve the above purpose, the utility model adopts the following technical scheme:
an automatic spraying machine with a cleaning function comprises a moving carrier, a water storage tank and a material storage tank, wherein an electric driving wheel and a universal wheel are respectively and fixedly installed at two ends of the bottom of the moving carrier, the water storage tank is provided with a water inlet, the material storage tank is provided with a feed inlet, one side of the outer wall of the top of the moving carrier is fixedly welded with the outer wall of the bottom of the water storage tank, the middle end of the outer wall of the top of the moving carrier is fixedly welded with the bottom of the material storage tank through a support frame, the bottom of the material storage tank is fixedly connected with a pressure pump through a material conveying pipe, the other side of the pressure pump is fixedly connected with a spray gun through a material spraying pipe, the inner wall of the top of the water storage tank is fixedly connected with a water pump, the supercharging device comprises a first round pipe and a second round pipe, one side, opposite to the second round pipe, of the first round pipe is fixedly connected with a communicating pipe, balls are arranged inside the communicating pipe, and micro holes are formed in one ends, far away from the communicating pipe, of the first round pipe and the second round pipe.
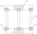
Preferably, the movable supporting device comprises circular discs, wherein four groups of spherical grooves are formed in one opposite side of each circular disc at equal intervals, the spherical grooves are rotatably connected with circular spheres, the spherical spheres are vertically symmetrical and fixedly connected through connecting rods, and through holes are formed in the middle of the two circular discs.
Preferably, storage tank upper end middle part fixed mounting has the motor, motor output end fixed mounting has the auger, and the auger runs through storage tank top outer wall and stretches into storage tank middle part.
Preferably, the side face of the movable carrier is fixedly provided with a control box, the control box comprises a box body, a controller is arranged in the box body, the outer wall of the side face of the box body is provided with a control switch, and the water pump, the motor and the pressure pump are respectively electrically connected with the control switch through wires.
Preferably, the folding corrugated pipe and the water delivery pipe are fixed by threads, and the folding corrugated pipe is of a telescopic folding structure.
Preferably, the diameter of the circular sphere is smaller than the inner diameter of the spherical groove, and the connecting rod and the circular sphere are welded and fixed.
The utility model has the advantages that:
1. the utility model discloses be provided with folding bellows, fix it through movable supporting device, wherein, folding bellows carries out threaded fixation through-hole and raceway, fix through the connecting rod between two upper and lower circular dishes, the spherical groove has been seted up at the opposite face of circular dish, its inside swing joint has circular spheroid, and it is fixed through the connecting rod between the circular spheroid of longitudinal symmetry, because can rotate in a flexible way between circular spheroid and the spherical groove, therefore, in carrying out the water spray cleaning process, can carry out arbitrary angle activity to folding bellows bottom, can not take place to break extruded problem, traditional pipe class bottom has effectively been solved and has taken place to break easily in the use and distort extruded problem.
2. The utility model discloses when spraying the clear water, rivers get into inside the intercommunication pipe through first round platform pipe, inside communicating pipe ball spurts rivers divergence into second round platform pipe, and spout in the nozzle is spouted to rethread second round platform pipe, through the effect of first round platform pipe, communicating pipe and second round platform pipe, can effectively give off rivers and spout, increase spray intensity, range and jet surface to guarantee more laborsaving high-efficient in the cleaning process.
Drawings
Fig. 1 is a front view of an automatic coating machine with a cleaning function according to the present invention;
fig. 2 is a front sectional view of a movable supporting device of an automatic coating machine with a cleaning function according to the present invention;
fig. 3 is a top cross-sectional view of a movable supporting device of an automatic coating machine with a cleaning function according to the present invention;
fig. 4 is a cross-sectional view of a pressurizing device of an automatic coating machine with a cleaning function according to the present invention.
In the figure: 1 moving carrier, 2 water storage tanks, 3 water pumps, 4 folding corrugated pipes, 5 supercharging devices, 6 spray heads, 7 communicating pipes, 8 movable supporting devices, 9 motors, 10 packing augers, 11 material storage tanks, 12 material conveying pipes, 13 pressure pumps, 14 spray guns, 15 first round table pipes, 16 connecting rods, 17 circular spheres, 18 through holes, 19 spherical grooves, 20 circular discs, 21 second round table pipes, 22 balls and 23 micro holes.
Detailed Description
The technical solutions in the embodiments of the present invention will be described clearly and completely with reference to the accompanying drawings in the embodiments of the present invention, and it is obvious that the described embodiments are only some embodiments of the present invention, not all embodiments.
Referring to fig. 1-4, an automatic spraying machine with cleaning function comprises a mobile carrier 1, a water storage tank 2 and a material storage tank 11, wherein an electric driving wheel and a universal wheel are respectively and fixedly installed at two ends of the bottom of the mobile carrier 1, a water inlet is formed in the water storage tank 2, a feed inlet is formed in the material storage tank 11, one side of the outer wall of the top of the mobile carrier 1 is fixedly welded with the outer wall of the bottom of the water storage tank 2, the middle end of the outer wall of the top of the mobile carrier 1 is fixedly welded with the bottom of the material storage tank 11 through a support frame, the bottom of the material storage tank 11 is fixedly connected with a pressure pump 13 through a feed delivery pipe 12, the other side of the pressure pump 13 is fixedly connected with a spray gun 14 through a spray pipe, the inner wall of the top of the water, a pressurizing device 5 is arranged at one end of the inner wall of the spray head 6, the pressurizing device 5 comprises a first circular truncated cone pipe 15 and a second circular truncated cone pipe 21, a communicating pipe 7 is fixedly connected to one side, opposite to the first circular truncated cone pipe 15 and the second circular truncated cone pipe 21, of the first circular truncated cone pipe 15, a ball 22 is arranged inside the communicating pipe 7, and micro holes 23 are formed in ends, far away from the communicating pipe 7, of the first circular truncated cone pipe 15 and the second circular truncated cone pipe 21;
the movable supporting device 8 comprises circular discs 20, four groups of spherical grooves 19 are equidistantly arranged on one opposite side of each of the two circular discs 20, the spherical grooves 19 are rotatably connected with a circular sphere 17 in the inner part, the circular spheres 17 which are symmetrical up and down are fixedly connected with each other through a connecting rod 16, through holes 18 are respectively arranged in the middle parts of the two circular discs 20, a motor 9 is fixedly arranged in the middle part of the upper end of the storage tank 11, a packing auger 10 is fixedly arranged at the output end of the motor 9, the packing auger 10 penetrates through the outer wall of the top of the storage tank 11 and extends into the middle part of the storage tank 11, a control box is fixedly arranged on the side surface of the movable carrier 1 and comprises a box body, a controller is arranged in the box body, the controller is of a ground ADAM-5510M model, a control switch is arranged on the outer wall of the side surface, the folding corrugated pipe 4 is of a telescopic folding structure, the diameter of the circular ball 17 is smaller than the inner diameter of the spherical groove 19, and the connecting rod 16 and the circular ball 17 are welded and fixed.
The working principle is as follows: before the device is used, an electric driving wheel is controlled by a control box to move to a work place, coating is injected into a storage tank 11 through a feeding hole, a packing auger 10 is driven to rotate by a starting motor 9, the coating in the storage tank 11 is stirred and mixed, then the coating is conveyed into a spray gun 14 through a conveying pipe 12 by starting a pressure pump 13 through the control box, spraying operation is carried out, after the spraying operation is finished, a water pump 3 is started to convey clean water in a water tank 2 to the inside of a spray head 6 through a folding corrugated pipe 4, then water is sprayed and cleaned on the outer part of the device, meanwhile, the clean water can be injected into the device through the feeding hole of the storage tank 11, the inside of the tank body is cleaned, and sewage is discharged; the folding corrugated pipe 4 is fixed through the movable supporting device 8, wherein the folding corrugated pipe 4 is in threaded fixation with a water delivery pipe through a through hole 18, the upper and lower circular discs 20 are fixed through a connecting rod 16, spherical grooves 19 are formed in the opposite surfaces of the circular discs 20, circular balls 17 are movably connected in the folding corrugated pipe, the circular balls 17 which are symmetrical up and down are fixed through the connecting rod, and the circular balls 17 and the spherical grooves 19 can flexibly rotate, so that the bottom of the folding corrugated pipe 4 can move at any angle in the process of water spraying and cleaning, the problem of fracture and extrusion cannot occur, the problem that the bottom of the traditional pipe is easy to fracture, distort and extrude in the using process is effectively solved, meanwhile, when clear water is sprayed, water flows into the communicating pipe 7 through the first circular truncated cone pipe 15, and the balls in the communicating pipe 7 divergently spray the water into the second circular truncated cone pipe 22, and then the second circular truncated cone pipe 22 is sprayed into the nozzle to be sprayed out, and water flow can be effectively dispersed and sprayed out under the action of the first circular truncated cone pipe 15, the communicating pipe 7 and the second circular truncated cone pipe 21, so that the spraying strength, the spraying range and the spraying surface are increased, and more labor saving and high efficiency in the cleaning process are ensured.
The above, only be the concrete implementation of the preferred embodiment of the present invention, but the protection scope of the present invention is not limited thereto, and any person skilled in the art is in the technical scope of the present invention, according to the technical solution of the present invention and the utility model, the concept of which is equivalent to replace or change, should be covered within the protection scope of the present invention.
Claims (6)
1. An automatic spraying machine with a cleaning function comprises a movable carrier (1), a water storage tank (2) and a storage tank (11), wherein the two ends of the bottom of the movable carrier are respectively and fixedly provided with an electric driving wheel and a universal wheel, the water storage tank is provided with a water inlet, the storage tank is provided with a feed inlet, one side of the outer wall of the top of the movable carrier (1) is fixedly welded with the outer wall of the bottom of the water storage tank (2), the middle end of the outer wall of the top of the movable carrier (1) is fixedly welded with the bottom of the storage tank (11) through a support frame, the bottom of the storage tank (11) is fixedly connected with a pressure pump (13) through a feed delivery pipe (12), the other side of the pressure pump (13) is fixedly connected with a spray gun (14) through a spray pipe, the inner wall of the top of the water storage tank (2) is fixedly connected with a water pump (3), the output, folding bellows (4) other end passes through raceway fixedly connected with shower nozzle (6), and shower nozzle (6) inner wall one end is provided with supercharging device (5), supercharging device (5) are including first round platform pipe (15) and second round platform pipe (21), first round platform pipe (15) and second round platform pipe (21) one side fixedly connected with communicating pipe (7) relatively, communicating pipe (7) inside is provided with ball (22), communicating pipe (7) one end is all provided with micropore (23) is kept away from with second round platform pipe (21) first round platform pipe (15).
2. The automatic spraying machine with the cleaning function according to claim 1, wherein the movable supporting device (8) comprises circular discs (20), four groups of spherical grooves (19) are equidistantly formed in one side of each of the two circular discs (20), a circular ball body (17) is rotatably connected inside each spherical groove (19), the circular ball bodies (17) are vertically symmetrical and fixedly connected through a connecting rod (16), and a through hole (18) is formed in the middle of each of the two circular discs (20).
3. The automatic spraying machine with the cleaning function according to claim 1, wherein a motor (9) is fixedly mounted in the middle of the upper end of the storage tank (11), an auger (10) is fixedly mounted at the output end of the motor (9), and the auger (10) penetrates through the outer wall of the top of the storage tank (11) and extends into the middle of the storage tank (11).
4. The automatic spraying machine with the cleaning function according to claim 1, wherein a control box is fixedly mounted on the side surface of the movable carrier (1), the control box comprises a box body, a controller is arranged in the box body, a control switch is arranged on the outer wall of the side surface of the box body, and the water pump (3), the motor (9) and the pressure pump (13) are electrically connected with the control switch through wires respectively.
5. The automatic spraying machine with the cleaning function according to claim 1, wherein the folding corrugated pipe (4) and the water pipe are fixed by screw threads, and the folding corrugated pipe (4) is of a telescopic folding structure.
6. The automatic coating machine with cleaning function according to claim 2, characterized in that the diameter of the circular sphere (17) is smaller than the inner diameter of the spherical groove (19), and the connecting rod (16) is welded and fixed with the circular sphere (17).
Priority Applications (1)
| Application Number | Priority Date | Filing Date | Title |
|---|---|---|---|
| CN201920918758.1U CN210449589U (en) | 2019-06-19 | 2019-06-19 | Automatic spraying machine with cleaning function |
Applications Claiming Priority (1)
| Application Number | Priority Date | Filing Date | Title |
|---|---|---|---|
| CN201920918758.1U CN210449589U (en) | 2019-06-19 | 2019-06-19 | Automatic spraying machine with cleaning function |
Publications (1)
| Publication Number | Publication Date |
|---|---|
| CN210449589U true CN210449589U (en) | 2020-05-05 |
Family
ID=70441359
Family Applications (1)
| Application Number | Title | Priority Date | Filing Date |
|---|---|---|---|
| CN201920918758.1U Expired - Fee Related CN210449589U (en) | 2019-06-19 | 2019-06-19 | Automatic spraying machine with cleaning function |
Country Status (1)
| Country | Link |
|---|---|
| CN (1) | CN210449589U (en) |
Cited By (1)
| Publication number | Priority date | Publication date | Assignee | Title |
|---|---|---|---|---|
| CN114831557A (en) * | 2022-04-21 | 2022-08-02 | 深圳优地科技有限公司 | Cleaning robot, control method of cleaning robot, and storage medium |
-
2019
- 2019-06-19 CN CN201920918758.1U patent/CN210449589U/en not_active Expired - Fee Related
Cited By (2)
| Publication number | Priority date | Publication date | Assignee | Title |
|---|---|---|---|---|
| CN114831557A (en) * | 2022-04-21 | 2022-08-02 | 深圳优地科技有限公司 | Cleaning robot, control method of cleaning robot, and storage medium |
| CN114831557B (en) * | 2022-04-21 | 2024-01-30 | 深圳优地科技有限公司 | Cleaning robot, control method for cleaning robot, and storage medium |
Similar Documents
| Publication | Publication Date | Title |
|---|---|---|
| CN210449589U (en) | Automatic spraying machine with cleaning function | |
| CN205966681U (en) | Storage tank cleaning device | |
| CN209427594U (en) | A kind of efficient screw conveyor | |
| CN210847549U (en) | Device for cleaning inner cover of bell-type annealing furnace | |
| CN211470141U (en) | Concrete gravel storage bin | |
| CN218803597U (en) | Injection molding machine release agent spraying mechanism | |
| CN208592940U (en) | A kind of side wall sprinkling curing system | |
| CN215429749U (en) | Petroleum pipeline spraying equipment | |
| CN207076330U (en) | A kind of spraying device of desulfurizing tower | |
| CN204469937U (en) | Large volume cylindrical tank cleaning three-dimensional rotation shower nozzle | |
| CN218190459U (en) | Plastic bottle spraying equipment capable of preventing bottle body from toppling | |
| CN209810745U (en) | A metal parts cleaning system | |
| CN212388922U (en) | An intelligent wall spraying machine | |
| CN215519997U (en) | Injection boosting device of concrete injection machine | |
| CN217191106U (en) | Water hose cleaning machine | |
| CN211275776U (en) | High-pressure spraying cleaning machine | |
| CN212883069U (en) | Industrial atomization spray head capable of spraying at multiple angles | |
| CN210411297U (en) | Steel pipe inner and outer wall saponification liquid spraying device | |
| CN203140388U (en) | Automatic cleaning device for chemical reaction kettle | |
| CN213670124U (en) | Surface spraying device of hydraulic cylinder | |
| CN116856992A (en) | Intelligent dust fall system for coal mine | |
| CN211025606U (en) | A dust removal device for a construction site | |
| CN211936130U (en) | Novel tower crane water spraying device | |
| CN109047058A (en) | The cleaning equipment of numerical control processing | |
| CN110813953B (en) | High-pressure spray cleaning machine |
Legal Events
| Date | Code | Title | Description |
|---|---|---|---|
| GR01 | Patent grant | ||
| GR01 | Patent grant | ||
| CF01 | Termination of patent right due to non-payment of annual fee |
Granted publication date: 20200505 Termination date: 20210619 |
|
| CF01 | Termination of patent right due to non-payment of annual fee |