CN210422301U - A new type of multi-cavity sealed aluminum-plastic-aluminum doors and windows - Google Patents

A new type of multi-cavity sealed aluminum-plastic-aluminum doors and windows Download PDF

Info

Publication number
CN210422301U
CN210422301U CN201920971288.5U CN201920971288U CN210422301U CN 210422301 U CN210422301 U CN 210422301U CN 201920971288 U CN201920971288 U CN 201920971288U CN 210422301 U CN210422301 U CN 210422301U
Authority
CN
China
Prior art keywords
aluminum
plastic
window
stile
section bar
Prior art date
Legal status (The legal status is an assumption and is not a legal conclusion. Google has not performed a legal analysis and makes no representation as to the accuracy of the status listed.)
Active
Application number
CN201920971288.5U
Other languages
Chinese (zh)
Inventor
陈世杰
Current Assignee (The listed assignees may be inaccurate. Google has not performed a legal analysis and makes no representation or warranty as to the accuracy of the list.)
Tangshan Kunda Technology Ltd
Original Assignee
Tangshan Kunda Technology Ltd
Priority date (The priority date is an assumption and is not a legal conclusion. Google has not performed a legal analysis and makes no representation as to the accuracy of the date listed.)
Filing date
Publication date
Application filed by Tangshan Kunda Technology Ltd filed Critical Tangshan Kunda Technology Ltd
Priority to CN201920971288.5U priority Critical patent/CN210422301U/en
Application granted granted Critical
Publication of CN210422301U publication Critical patent/CN210422301U/en
Active legal-status Critical Current
Anticipated expiration legal-status Critical

Links

Images

Landscapes

  • Wing Frames And Configurations (AREA)
  • Specific Sealing Or Ventilating Devices For Doors And Windows (AREA)

Abstract

一种新型多腔密封铝塑铝门窗,它涉及门窗领域。它包含铝塑铝窗扇、铝塑铝窗框、铝塑铝窗梃、中空玻璃、铝塑铝窗玻璃压线、框梃隔热塑钢型材、扇隔热塑钢型材和复合等压胶条,所述铝塑铝窗梃的一侧安装有铝塑铝窗扇,另一侧安装有铝塑铝窗框,铝塑铝窗框分别与铝塑铝窗扇及铝塑铝窗框之间均安装有中空玻璃,铝塑铝窗扇、铝塑铝窗框与铝塑铝窗梃分别与中空玻璃之间设置有铝塑铝窗玻璃压线,铝塑铝窗扇与铝塑铝窗梃的内侧均设置有框梃隔热塑钢型材及扇隔热塑钢型材。本实用新型有益效果为:结构设计简单优化,密封隔热性能更加优化,颜色可选性广,隔音性能及气密性好,具有良好的整窗强度及抗风压性能好。

Figure 201920971288

A novel multi-cavity sealed aluminum-plastic-aluminum door and window relates to the field of doors and windows. It includes aluminum-plastic-aluminum window sash, aluminum-plastic-aluminum window frame, aluminum-plastic-aluminum window stile, insulating glass, aluminum-plastic-aluminum window glass crimping line, frame stile heat-insulating plastic-steel profiles, fan heat-insulating plastic-steel profiles and composite isobars. The aluminum-plastic-aluminum window stile is installed with an aluminum-plastic-aluminum window sash on one side, and an aluminum-plastic-aluminum window frame is installed on the other side. Glass, aluminum-plastic-aluminum window sash, aluminum-plastic-aluminum window frame and aluminum-plastic-aluminum window stile are respectively provided with aluminum-plastic-aluminum window glass pressure lines between the insulating glass, and the inner side of the aluminum-plastic-aluminum window sash and the aluminum-plastic-aluminum window stile are provided with frames. Stile thermal insulation plastic-steel profiles and fan thermal-insulation plastic-steel profiles. The beneficial effects of the utility model are as follows: the structure design is simple and optimized, the sealing and thermal insulation performance is more optimized, the color selection is wide, the sound insulation performance and air tightness are good, and the whole window strength and wind pressure resistance performance are good.

Figure 201920971288

Description

Novel multi-cavity sealing aluminum-plastic-aluminum door and window
Technical Field
The utility model relates to a door and window field, concretely relates to novel sealed plastic-aluminum aluminium door and window of multicavity.
Background
The door and window is divided into an enclosure member or a partition member according to different positions, has different design requirements and has the functions of heat preservation, heat insulation, sound insulation, water resistance, fire prevention and the like, and the new requirement is energy saving, wherein the heat lost by the gap between the door and the window in a cold area accounts for about 25 percent of the total heating heat consumption; the requirement of the tightness of the door and window is an important content in the energy-saving design. The door and window section bar in the current market mainly takes a hollow cavity section bar as a main part, and the sealing property is realized. The heat preservation and sound insulation airtightness can not meet the requirements of users in severe cold regions.
SUMMERY OF THE UTILITY MODEL
An object of the utility model is to prior art's defect and not enough, provide a novel sealed aluminium-plastic-aluminium door and window of multicavity, this structural design simply optimizes, and the sealing and heat-proof quality optimizes more, and colour selectability is wide, and sound insulation performance and gas tightness are good, and it is good to have good whole window intensity and anti-wind pressure performance.
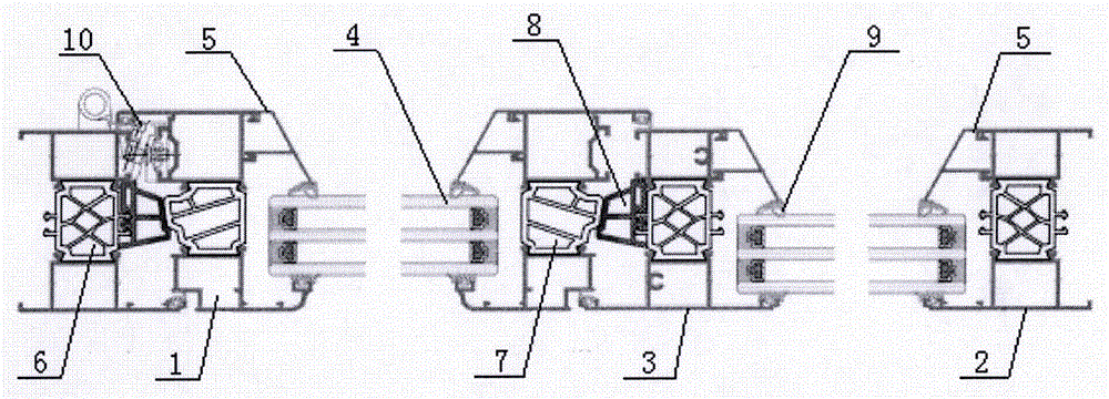
In order to achieve the above purpose, the utility model adopts the following technical scheme: the window comprises an aluminum-plastic aluminum window sash 1, an aluminum-plastic aluminum window frame 2, an aluminum-plastic aluminum window stile 3, hollow glass 4, an aluminum-plastic aluminum window glass pressing line 5, a frame stile heat insulation plastic steel section bar 6, a sash heat insulation plastic steel section bar 7, a composite isobaric adhesive tape 8 and a hinge 10, wherein one side of the aluminum-plastic aluminum window stile 3 is provided with the aluminum-plastic aluminum window sash 1, the other side is provided with the aluminum-plastic aluminum window frame 2, the hollow glass 4 is respectively arranged between the aluminum-plastic aluminum window sash 2 and the aluminum-plastic aluminum window sash 1 as well as between the aluminum-plastic aluminum window frame 2 as well as between the aluminum-plastic aluminum window sash 1 and the aluminum-plastic aluminum window stile 3 as well as between the aluminum-plastic aluminum window sash 2 and the hollow glass 4, the frame stile heat insulation plastic steel section bar 6 and the sash heat insulation plastic steel section bar 7 are respectively arranged at the inner sides of the aluminum-plastic aluminum window sash 1 and the aluminum-plastic, the composite isobaric rubber strip 8 is completely attached to the frame stile heat insulation plastic steel section 6 and the sash heat insulation plastic steel section 7, a hinge 10 is further arranged inside the aluminum-plastic aluminum window sash 1, and the frame stile heat insulation plastic steel section 6 and the sash heat insulation plastic steel section 7 are both multi-cavity plastic steel sections.
The section structure of the frame stile heat insulation plastic steel section 6 is a PVC six-cavity structure.
And a sealing rubber strip 9 is arranged at the joint of the hollow glass 4 and the aluminum-plastic aluminum-window glass pressing line 5, and the sealing rubber strip 9 is a composite ethylene-propylene-diene monomer rubber strip.
The composite isobaric adhesive tape 8 is a three-cavity composite adhesive tape.
The sealing rubber strip 9 is a hollow cavity composite rubber strip.
The sections in the aluminum plastic aluminum window sash 1 are connected through corner connectors and four corner punch rivets.
The sections in the aluminum-plastic aluminum window frame 2 are connected through corner connectors and four corner punch rivets.
The aluminum-plastic aluminum window stile 3 is characterized in that the internal sections are connected through double-screw fixed angle pieces.
The section bar inside the aluminum-plastic aluminum window frame 2 is connected with the section bar inside the aluminum-plastic aluminum window stile 3 through a double-screw fixed angle piece.
The hollow glass 4 is three layers of hollow glass.
The utility model discloses a theory of operation: the aluminum-plastic aluminum door and window adopts a cross-section structure of composite profiles, the visible surfaces of the composite profiles are aluminum-plastic aluminum window sashes, aluminum-plastic aluminum window frames and aluminum-plastic aluminum window stiles, the aluminum-plastic profiles are all adopted, the heat insulation plastic steel profiles of the stiles and the heat insulation plastic steel profiles of the sash on the invisible surfaces adopt multi-cavity plastic steel profiles, the multi-cavity structure is relative to the hollow cavity structure, the temperature and the sound inside the cavity are not easy to dissipate, the excellent heat insulation performance is achieved, meanwhile, the composite isobaric adhesive tape is a three-cavity composite adhesive tape, the unique three-sealing design enables the composite isobaric adhesive tape to be completely attached to the heat insulation plastic steel profiles of the stiles and the heat insulation plastic steel profiles of the sash, the original point contact is optimized to be the whole-surface contact, the water-air separation effect is achieved.
After the technical scheme is adopted, the utility model discloses beneficial effect does: the structural design is simple to optimize, and the sealing and heat-insulating property is optimized more, and colour selectivity is wide, and sound insulation performance and gas tightness are good, and it is good to have good whole window intensity and anti-wind pressure performance.
Drawings
In order to more clearly illustrate the embodiments of the present invention or the technical solutions in the prior art, the drawings needed to be used in the description of the embodiments or the prior art will be briefly described below, it is obvious that the drawings in the following description are only some embodiments of the present invention, and for those skilled in the art, other drawings can be obtained according to these drawings without inventive exercise.
Fig. 1 is a schematic structural diagram of the present invention;
fig. 2 is a cross-sectional view corresponding to fig. 1.
Description of reference numerals: the window frame comprises an aluminum-plastic aluminum window sash 1, an aluminum-plastic aluminum window frame 2, an aluminum-plastic aluminum window stile 3, hollow glass 4, an aluminum-plastic aluminum window glass pressing line 5, a frame stile heat insulation plastic steel section 6, a sash heat insulation plastic steel section 7, a composite isobaric adhesive tape 8, a hinge 10 and a sealing adhesive tape 9.
Detailed Description
Referring to fig. 1 to 2, the technical solution adopted by the present embodiment is: the window comprises an aluminum-plastic aluminum window sash 1, an aluminum-plastic aluminum window frame 2, an aluminum-plastic aluminum window stile 3, hollow glass 4, an aluminum-plastic aluminum window glass pressing line 5, a frame stile heat insulation plastic steel section 6, a sash heat insulation plastic steel section 7, a composite isobaric adhesive tape 8 and a hinge 10, wherein one side of the aluminum-plastic aluminum window stile 3 is provided with the aluminum-plastic aluminum window sash 1, the other side is provided with the aluminum-plastic aluminum window frame 2, the aluminum-plastic aluminum window sash 1, the aluminum-plastic aluminum window frame 2 and the aluminum-plastic aluminum window stile 3 are all visible surfaces, aluminum alloy is adopted, the color selectivity is wide, the surface treatment forms are various, the requirements of matching of various colorful doors and windows of different buildings and outer walls are met, the window is suitable for high-grade residential doors and windows, the aluminum-plastic aluminum window sash 1 is an inward opening and inward falling type window sash, the hollow glass 4 is respectively arranged between the aluminum-plastic aluminum window sash 2 and the aluminum-plastic aluminum window sash 1 and the aluminum-plastic aluminum window frame 2, the aluminum-plastic aluminum, the aluminum-plastic aluminum window sash 1 and the aluminum-plastic aluminum window stile 3 are both provided with a frame stile heat insulation plastic steel section bar 6 and a sash heat insulation plastic steel section bar 7 at the inner sides, the aluminum-plastic aluminum window sash 2 is also provided with the frame stile heat insulation plastic steel section bar 6 at the inner sides, a composite isobaric adhesive tape 8 is embedded between the frame stile heat insulation plastic steel section bar 6 and the sash heat insulation plastic steel section bar 7, the composite isobaric adhesive tape 8 is completely attached to the frame stile heat insulation plastic steel section bar 6 and the sash heat insulation plastic steel section bar 7, the whole surface contact is optimized by the original point contact, a hinge 10 is further arranged inside the aluminum-plastic aluminum window sash 1, the frame stile heat insulation plastic steel section bar 6 and the sash heat insulation plastic steel section bar 7 are both multi-cavity plastic steel section bars, and the aluminum-plastic.
The section structure of the frame stile heat insulation plastic steel section 6 is a PVC six-cavity structure, a unique scientific formula system is adopted, the heat conductivity coefficient is low, the heat insulation effect is good, the defect of large heat loss of an aluminum door window or a bridge-cut aluminum door window in a severe cold area is overcome, the condensation phenomenon on the door window is reduced, and the heat insulation and energy saving effects of the door window are improved.
The joint of the hollow glass 4 and the aluminum-plastic aluminum window glass pressing line 5 is provided with a sealing rubber strip 9, and the sealing rubber strip 9 is a composite ethylene propylene diene monomer rubber strip and has the characteristics of ozone resistance, heat resistance, weather resistance and excellent aging resistance.
The composite isobaric adhesive tape 8 is a three-cavity composite adhesive tape.
The sealing rubber strip 9 is a hollow cavity composite rubber strip.
The sections in the aluminum plastic aluminum window sash 1 are connected through corner connectors and four corner punch rivets.
The sections in the aluminum-plastic aluminum window frame 2 are connected through corner connectors and four corner punch rivets.
The aluminum-plastic aluminum window stile 3 is characterized in that the internal sections are connected through double-screw fixed angle pieces.
The section bar of 2 inside aluminium-plastic aluminium window frames and the section bar of 3 inside aluminium-plastic aluminium window stile pass through two screw fixation angle pieces and connect, have increaseed whole window intensity to connect 2 whole injecting glue in bight and handle, the anti-wind is pressed and sealing performance is better.
The hollow glass 4 is three-layer hollow glass, and the three-layer hollow glass obviously improves the sound insulation effect of the door and window and improves the indoor living comfort level.
The utility model discloses a theory of operation: the aluminum-plastic aluminum door and window adopts a cross-section structure of composite profiles, the visible surfaces of the composite profiles are aluminum-plastic aluminum window sashes, aluminum-plastic aluminum window frames and aluminum-plastic aluminum window stiles, the aluminum-plastic profiles are all adopted, the heat insulation plastic steel profiles of the stiles and the heat insulation plastic steel profiles of the sash on the invisible surfaces adopt multi-cavity plastic steel profiles, the multi-cavity structure is relative to the hollow cavity structure, the temperature and the sound inside the cavity are not easy to dissipate, the excellent heat insulation performance is achieved, meanwhile, the composite isobaric adhesive tape is a three-cavity composite adhesive tape, the unique three-sealing design enables the composite isobaric adhesive tape to be completely attached to the heat insulation plastic steel profiles of the stiles and the heat insulation plastic steel profiles of the sash, the original point contact is optimized to be the whole-surface contact, the water-air separation effect is achieved.
After the technical scheme is adopted, the utility model discloses beneficial effect does: the structural design is simple to optimize, and the sealing and heat-insulating property is optimized more, and colour selectivity is wide, and sound insulation performance and gas tightness are good, and it is good to have good whole window intensity and anti-wind pressure performance.
The above description is only for the purpose of illustrating the technical solutions of the present invention and not for the purpose of limiting the same, and other modifications or equivalent replacements made by those of ordinary skill in the art to the technical solutions of the present invention should be covered within the scope of the claims of the present invention as long as they do not depart from the spirit and scope of the technical solutions of the present invention.

Claims (10)

1. The utility model provides a novel sealed plastic-aluminum aluminium door and window of multicavity which characterized in that: the window comprises an aluminum-plastic aluminum window sash (1), an aluminum-plastic aluminum window frame (2), an aluminum-plastic aluminum window stile (3), hollow glass (4), aluminum-plastic aluminum window glass press lines (5), a frame stile heat insulation plastic steel section bar (6), a sash heat insulation plastic steel section bar (7), a composite isobaric adhesive tape (8) and a hinge (10), wherein one side of the aluminum-plastic aluminum window stile (3) is provided with the aluminum-plastic aluminum window sash (1), the other side is provided with the aluminum-plastic aluminum window frame (2), the hollow glass (4) is respectively arranged between the aluminum-plastic aluminum window sash (2) and the aluminum-plastic aluminum window sash (1) and between the aluminum-plastic aluminum window frame (2) and the hollow glass (4) respectively, the aluminum-plastic aluminum window press lines (5) are arranged between the aluminum-plastic aluminum window sash (1) and the aluminum-plastic aluminum window stile (3) and the hollow glass (4), the frame stile heat insulation plastic steel section bar (6) and the sash heat insulation plastic steel section bar (, the inboard of aluminium-plastic aluminium window frame (2) also is provided with thermal-insulated plastic steel section bar of frame club (6), and it has compound isobaric adhesive tape (8) to embed between thermal-insulated plastic steel section bar of frame club (6) and the thermal-insulated plastic steel section bar of fan (7), and compound isobaric adhesive tape (8) are laminated completely and are connected in thermal-insulated plastic steel section bar of frame club (6) and thermal-insulated plastic steel section bar of fan (7), and the inside of aluminium-plastic aluminium casement (1) still is provided with hinge (10), thermal-insulated plastic steel section bar of frame club (6) and thermal-insulated plastic steel section bar of fan (7) be multic.
2. A novel multi-cavity sealed aluminum-plastic-aluminum door window according to claim 1, wherein: the section structure of the frame stile heat insulation plastic steel section bar (6) is a PVC six-cavity structure.
3. A novel multi-cavity sealed aluminum-plastic-aluminum door window according to claim 1, wherein: and a sealing rubber strip (9) is arranged at the joint of the hollow glass (4) and the aluminum-plastic aluminum window glass pressing line (5), and the sealing rubber strip (9) is a composite ethylene propylene diene monomer rubber strip.
4. A novel multi-cavity sealed aluminum-plastic-aluminum door window according to claim 1, wherein: the composite isobaric rubber strip (8) is a three-cavity composite rubber strip.
5. A novel multi-cavity sealed aluminum-plastic-aluminum door window according to claim 3, wherein: the sealing rubber strip (9) is a hollow cavity composite rubber strip.
6. A novel multi-cavity sealed aluminum-plastic-aluminum door window according to claim 1, wherein: the inner sections of the aluminum-plastic aluminum window sash (1) are connected through corner connectors and four corner punch rivets.
7. A novel multi-cavity sealed aluminum-plastic-aluminum door window according to claim 1, wherein: the inner sections of the aluminum-plastic aluminum window frame (2) are connected through corner connectors and four corner punch rivets.
8. A novel multi-cavity sealed aluminum-plastic-aluminum door window according to claim 1, wherein: the inner section bars of the aluminum-plastic aluminum window stile (3) are connected through double-screw fixed angle-adding pieces.
9. A novel multi-cavity sealed aluminum-plastic-aluminum door window according to claim 1, wherein: the section bar in the aluminum-plastic aluminum window frame (2) is connected with the section bar in the aluminum-plastic aluminum window stile (3) through double-screw fixed angle pieces.
10. A novel multi-cavity sealed aluminum-plastic-aluminum door window according to claim 1, wherein: the hollow glass (4) is three layers of hollow glass.
CN201920971288.5U 2019-06-26 2019-06-26 A new type of multi-cavity sealed aluminum-plastic-aluminum doors and windows Active CN210422301U (en)

Priority Applications (1)

Application Number Priority Date Filing Date Title
CN201920971288.5U CN210422301U (en) 2019-06-26 2019-06-26 A new type of multi-cavity sealed aluminum-plastic-aluminum doors and windows

Applications Claiming Priority (1)

Application Number Priority Date Filing Date Title
CN201920971288.5U CN210422301U (en) 2019-06-26 2019-06-26 A new type of multi-cavity sealed aluminum-plastic-aluminum doors and windows

Publications (1)

Publication Number Publication Date
CN210422301U true CN210422301U (en) 2020-04-28

Family

ID=70377187

Family Applications (1)

Application Number Title Priority Date Filing Date
CN201920971288.5U Active CN210422301U (en) 2019-06-26 2019-06-26 A new type of multi-cavity sealed aluminum-plastic-aluminum doors and windows

Country Status (1)

Country Link
CN (1) CN210422301U (en)

Cited By (1)

* Cited by examiner, † Cited by third party
Publication number Priority date Publication date Assignee Title
CN110185357A (en) * 2019-06-26 2019-08-30 唐山坤达科技有限公司 A kind of novel multi-cavity seal aluminum plastic aluminium door and window

Cited By (1)

* Cited by examiner, † Cited by third party
Publication number Priority date Publication date Assignee Title
CN110185357A (en) * 2019-06-26 2019-08-30 唐山坤达科技有限公司 A kind of novel multi-cavity seal aluminum plastic aluminium door and window

Similar Documents

Publication Publication Date Title
CN202645297U (en) Bridge-cut-off heat insulation aluminum alloy energy saving environmental protection door and window
CN205047064U (en) Four sealing sections can al -alloy door & window
CN202689882U (en) 72 series high-performance aluminum alloy inward opening window
CN210422301U (en) A new type of multi-cavity sealed aluminum-plastic-aluminum doors and windows
CN201474510U (en) Wood-aluminum composite inner window structure
CN205638062U (en) Novel energy -conserving aluminum alloy window
CN204552481U (en) Pure wooden outward opening door window system
CN203050407U (en) Composite wood-aluminum out-opening window structure
CN2599193Y (en) Energy-saving plastic-aluminum composite casement doors and windows
CN202611450U (en) Energy-saving and heat-insulated internal inverted window of curtain wall
CN201180455Y (en) Aluminum wooden composite stile material
CN201705117U (en) Aluminum plastic composite energy-saving door and window
CN2809152Y (en) Aluminum-plastic composite thermal insulation energy-saving door and window
CN203050384U (en) Aluminum-clad-wood in-opening window structure
CN203050366U (en) An aluminum clad wood outward opening window structure
CN201420474Y (en) Heat-insulation energy-saving aluminum alloy door and window
CN201486383U (en) Wood-aluminum composite inner door structure
CN221373372U (en) Novel multi-cavity sealing aluminum plastic aluminum door and window
CN221823635U (en) A high performance aluminum alloy passive window system
CN201180456Y (en) Aluminum wooden composite frame material
CN201180457Y (en) Aluminum wooden composite fan material
CN201635586U (en) Energy-saving door and window structure
CN201486376U (en) Wood-aluminum composite outward opening window structure
CN202788448U (en) Wooden plastic aluminum composite door and window fan section bar
CN217538359U (en) Heat-insulating aluminum alloy door and window

Legal Events

Date Code Title Description
GR01 Patent grant
GR01 Patent grant
PE01 Entry into force of the registration of the contract for pledge of patent right

Denomination of utility model: A new type of multi cavity sealed aluminum-plastic aluminum door and window

Granted publication date: 20200428

Pledgee: China Postal Savings Bank Co.,Ltd. Luannan County Branch

Pledgor: TANGSHAN KUNDA TECHNOLOGY LTD.

Registration number: Y2025980022513

PE01 Entry into force of the registration of the contract for pledge of patent right