CN210285069U - Medical low-temperature storage box for medicine inspection - Google Patents

Medical low-temperature storage box for medicine inspection Download PDF

Info

Publication number
CN210285069U
CN210285069U CN201921247546.1U CN201921247546U CN210285069U CN 210285069 U CN210285069 U CN 210285069U CN 201921247546 U CN201921247546 U CN 201921247546U CN 210285069 U CN210285069 U CN 210285069U
Authority
CN
China
Prior art keywords
fixed
thermal insulation
fixing plate
wall
heat
Prior art date
Legal status (The legal status is an assumption and is not a legal conclusion. Google has not performed a legal analysis and makes no representation as to the accuracy of the status listed.)
Active
Application number
CN201921247546.1U
Other languages
Chinese (zh)
Inventor
吴玉霜
赵瑞
Current Assignee (The listed assignees may be inaccurate. Google has not performed a legal analysis and makes no representation or warranty as to the accuracy of the list.)
Dalian Otsuka Pharmaceutical Co ltd
Original Assignee
Dalian Otsuka Pharmaceutical Co ltd
Priority date (The priority date is an assumption and is not a legal conclusion. Google has not performed a legal analysis and makes no representation as to the accuracy of the date listed.)
Filing date
Publication date
Application filed by Dalian Otsuka Pharmaceutical Co ltd filed Critical Dalian Otsuka Pharmaceutical Co ltd
Priority to CN201921247546.1U priority Critical patent/CN210285069U/en
Application granted granted Critical
Publication of CN210285069U publication Critical patent/CN210285069U/en
Active legal-status Critical Current
Anticipated expiration legal-status Critical

Links

Images

Landscapes

  • Devices That Are Associated With Refrigeration Equipment (AREA)
  • Medical Preparation Storing Or Oral Administration Devices (AREA)

Abstract

本实用新型公开了一种药品检验用医用低温保存箱,包括外壳、固定板、保温内胆、半导体制冷片、散热片、散热扇、散热孔、蓄电池、保温盖体、搭扣锁、第一存放架、限位环和第二存放架,外壳内壁下端固定有固定板,固定板上表面固定有保温内胆,保温内胆底部镶嵌固定有半导体制冷片,且半导体制冷片的制冷端与保温内胆内壁连通,半导体制冷片底部穿过固定板,固定板下表面靠近半导体制冷片的一端固定有散热片,此药品检验用医用低温保存箱体型较小,便于人们携带使用,并且当半导体制冷片出现故障或者蓄电池没电时,冷冻后的冰盒可继续释放冷量,对保温内胆进行温度的保持,减缓保温内胆内温度上高的速度,以便人们应急使用。

Figure 201921247546

The utility model discloses a medical low-temperature storage box for drug testing, which comprises an outer shell, a fixing plate, a thermal insulation inner tank, a semiconductor refrigeration sheet, a heat sink, a cooling fan, a cooling hole, a battery, a thermal insulation cover, a hasp lock, a first The storage rack, the limit ring and the second storage rack, the lower end of the inner wall of the shell is fixed with a fixing plate, the surface of the fixing plate is fixed with a thermal insulation inner tank, the bottom of the thermal insulation inner tank is inlaid and fixed with a semiconductor refrigerating sheet, and the cooling end of the semiconductor refrigerating sheet is connected to the thermal insulation sheet. The inner wall of the inner tank is connected, the bottom of the semiconductor refrigerating sheet passes through the fixing plate, and the end of the lower surface of the fixing plate close to the semiconductor refrigerating sheet is fixed with a heat sink. When the sheet fails or the battery is out of power, the frozen ice box can continue to release cold energy, maintain the temperature of the thermal insulation liner, and slow down the speed of the high temperature in the thermal insulation liner, so that people can use it in an emergency.

Figure 201921247546

Description

Medical low-temperature storage box for medicine inspection
Technical Field
The utility model relates to a low temperature storage box technical field specifically is a medical low temperature storage box is used in medicine inspection.
Background
In order to prevent the medicine harmful to the health of people from flowing into the interior, according to the regulation of the drug management law of the people's republic of China, imported medicines (medicinal materials) and exported finished medicines must be imported and exported after being inspected and qualified by a drug quarantine office at the bank, and a quality management organization set up by pharmaceutical enterprises for ensuring the quality of the medicines is responsible for quality monitoring in the whole process of medicine production, material auditing, product release and field inspection. Mainly inspect the medicine content, the purity, etc. need preserve the sample of inspection after the inspection, and some medicines need keep warm under the low temperature state, and then need preserve through the cryopreservation case in order not to destroy the sample, and current cryopreservation box shape is great, and people of not being convenient for carry to when the preservation case electric quantity is not enough, the temperature rise is too fast in the incubator, the emergency of being not convenient for to deal with. Therefore, a medical low-temperature preservation box for drug inspection is provided.
SUMMERY OF THE UTILITY MODEL
An object of the utility model is to provide a medicine inspection is with medical low temperature storage case to solve the problem that proposes in the above-mentioned background art.
In order to achieve the above object, the utility model provides a following technical scheme: a medical low-temperature storage box for drug inspection comprises a shell, a fixing plate, a heat-insulating inner container, a semiconductor refrigerating sheet, a radiating fin, a radiating fan, a radiating hole, a storage battery, a heat-insulating cover body, a hasp lock, a first storage rack, a limiting ring and a second storage rack, wherein the fixing plate is fixed at the lower end of the inner wall of the shell, the heat-insulating inner container is fixed on the upper surface of the fixing plate, the semiconductor refrigerating sheet is fixed at the bottom of the heat-insulating inner container in an embedded manner, the refrigerating end of the semiconductor refrigerating sheet is communicated with the inner wall of the heat-insulating inner container, the bottom of the semiconductor refrigerating sheet penetrates through the fixing plate, the radiating fin is fixed at one end, close to the semiconductor refrigerating sheet, of the lower surface of the fixing plate and is in contact with one side of the semiconductor refrigerating sheet, the radiating fin is fixed at one side of the radiating fan, the heat preservation cover body is fixed with the shell through the hasp lock, the lower end of the inner wall of the heat preservation liner is fixedly provided with a first storage rack, the middle part of the inner wall of the heat preservation liner is fixedly provided with a limiting ring, and the upper surface of the limiting ring is provided with a second storage rack.
Preferably, a partition board is fixed at the bottom of the inner wall of the shell and is fixedly connected with the fixing board.
Preferably, the lower surface of the heat-preservation cover body is fixedly embedded with a temperature sensor, and the upper surface of the heat-preservation cover body is fixedly embedded with a control panel.
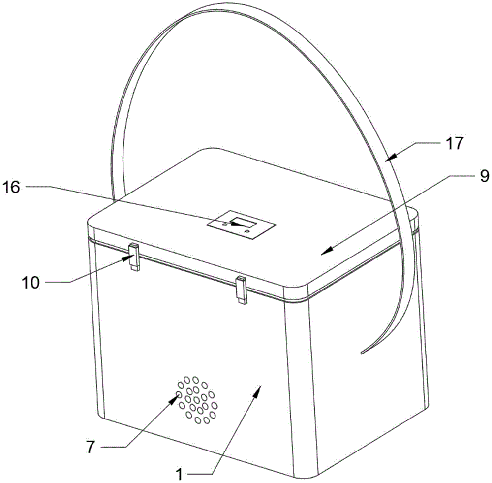
Preferably, a strap is fixed to the outer side of the housing.
Preferably, an ice box is placed at the bottom of the inner wall of the heat-preservation liner, and a notch is formed in one end, close to the semiconductor refrigeration piece, of the ice box.
Preferably, the upper surface of the second storage rack is fixed with a surrounding rack, and the surrounding rack is connected with the heat-preservation liner in a sliding manner.
Compared with the prior art, the beneficial effects of the utility model are that:
1. when the utility model is used, a sample is placed on the first storage rack and the second storage rack, the second storage rack can be taken out from the heat-insulating inner container, so that people can put the sample in the first storage rack, the heat-insulating cover body is covered after the sample is stored, the heat-insulating inner container is sealed, the refrigerating end of the semiconductor refrigerating sheet is communicated with the heat-insulating inner container, so that the semiconductor refrigerating sheet cools the heat-insulating inner container, the hot end of the semiconductor refrigerating sheet is connected with a radiating fin, one end of the radiating fin is fixed with a radiating fan, the heat absorbed by the radiating fin is taken out of the shell from the radiating hole by the radiating fan, the semiconductor refrigerating sheet is radiated, so that the refrigerating end of the semiconductor refrigerating sheet refrigerates, the temperature in the heat-insulating inner container is detected by a temperature sensor, the temperature is displayed by a control panel, and the semiconductor refrigerating sheet, the radiating fan, the temperature sensor and the control panel are all, the device is small in size and convenient to carry and use by people.
2. The utility model discloses when the electric quantity that leads to the battery because of long-time the use is not enough, because placed the ice chest on the fixed plate, when semiconductor refrigeration piece cools off in to the heat preservation inner bag, also freeze the ice chest, when semiconductor refrigeration piece broke down or the battery did not have the electricity, the ice chest after freezing can continue to release cold volume, carries out the maintenance of temperature to the heat preservation inner bag, slows down the speed that is high on the temperature in the heat preservation inner bag to people's emergent use.
Drawings
FIG. 1 is a schematic view of the overall structure of the present invention;
fig. 2 is a schematic view of the cross-sectional structure of the present invention.
In the figure: 1. a housing; 2. a fixing plate; 3. a heat preservation liner; 4. a semiconductor refrigeration sheet; 5. a heat sink; 6. a heat dissipation fan; 7. heat dissipation holes; 8. a storage battery; 9. a heat-preserving cover body; 10. a hasp lock; 11. a first storage rack; 12. a limiting ring; 13. a second storage rack; 14. a partition plate; 15. a temperature sensor; 16. a control panel; 17. a harness; 18. an ice box; 19. and (5) enclosing the frame.
Detailed Description
The technical solutions in the embodiments of the present invention will be described clearly and completely with reference to the accompanying drawings in the embodiments of the present invention, and it is obvious that the described embodiments are only some embodiments of the present invention, not all embodiments. Based on the embodiments in the present invention, all other embodiments obtained by a person skilled in the art without creative work belong to the protection scope of the present invention.
Referring to fig. 1-2, the present invention provides a technical solution: a medical low-temperature storage box for drug inspection comprises a shell 1, a fixing plate 2, a heat-insulating inner container 3, a semiconductor refrigeration piece 4, a radiating fin 5, a radiating fan 6, radiating holes 7, a storage battery 8, a heat-insulating cover body 9, a hasp lock 10, a first storage rack 11, a limiting ring 12 and a second storage rack 13, wherein the fixing plate 2 is fixed at the lower end of the inner wall of the shell 1, the heat-insulating inner container 3 is fixed on the upper surface of the fixing plate 2, the semiconductor refrigeration piece 4 is fixedly embedded at the bottom of the heat-insulating inner container 3, the refrigeration end of the semiconductor refrigeration piece 4 is communicated with the inner wall of the heat-insulating inner container 3, the bottom of the semiconductor refrigeration piece 4 penetrates through the fixing plate 2, the radiating fin 5 is fixed at one end of the lower surface of the fixing plate 2 close to the semiconductor refrigeration piece 4, the radiating fin 5 is in contact with one side of the, the bottom of the inner wall of the shell 1 is fixedly provided with a storage battery 8, one end of the top of the shell 1 is rotatably connected with a heat-insulating cover body 9 through a hinge, the heat-insulating cover body 9 is fixed with the shell 1 through a hasp lock 10, the lower end of the inner wall of the heat-insulating liner 3 is fixedly provided with a first storage rack 11, the middle part of the inner wall of the heat-insulating liner 3 is fixedly provided with a limiting ring 12, the upper surface of the limiting ring 12 is provided with a second storage rack 13, when in use, a sample is placed on the first storage rack 11 and the second storage rack 13, the second storage rack 13 can be taken out of the heat-insulating liner 3, so that people can place the sample in the first storage rack 11, after storage, the heat-insulating cover body 9 is covered, the interior of the heat-insulating liner 3 is sealed, the refrigerating end of the semiconductor refrigerating sheet 4 is communicated with the interior of the heat-insulating liner 3, so that the semiconductor refrigerating sheet 4 cools the interior of the heat, the heat absorbed by the radiating fins 5 is extracted out of the shell 1 from the radiating holes 7 through the radiating fan 6, the semiconductor refrigerating sheet 4 is radiated, so that the refrigerating of the refrigerating end is facilitated, the temperature in the heat preservation liner 3 is detected through the temperature sensor 15 and is displayed through the control panel 16, and the semiconductor refrigerating sheet 4, the radiating fan 6, the temperature sensor 15 and the control panel 16 are all powered through the storage battery 8.
The bottom of the inner wall of the shell 1 is fixedly provided with a partition plate 14, and the partition plate 14 is fixedly connected with the fixing plate 2, so that the hot ends of the storage battery 8 and the semiconductor refrigerating sheet 4 are conveniently separated, and the ambient temperature of the storage battery 8 is prevented from being higher.
A temperature sensor 15 is embedded and fixed on the lower surface of the heat-preservation cover body 9, and a control panel 16 is embedded and fixed on the upper surface of the heat-preservation cover body 9, so that the temperature in the heat-preservation liner 3 can be conveniently detected.
The outer side of the shell 1 is fixed with a strap 17, which is convenient for people to carry the shell 1.
The ice box 18 has been placed to 3 inner wall bottoms of heat preservation inner bag, and the one end that the ice box 18 is close to semiconductor refrigeration piece 4 is equipped with the breach, is convenient for store cold volume, cools off heat preservation inner bag 3 when making semiconductor refrigeration piece 4 break down or battery 8 do not have the electricity.
The enclosing frame 19 is fixed on the upper surface of the second storage frame 13, and the enclosing frame 19 is in sliding connection with the heat-preservation liner 3, so that people can take the second storage frame 13 out of the heat-preservation liner 3 conveniently.
It is noted that, herein, relational terms such as first and second, and the like may be used solely to distinguish one entity or action from another entity or action without necessarily requiring or implying any actual such relationship or order between such entities or actions. Also, the terms "comprises," "comprising," or any other variation thereof, are intended to cover a non-exclusive inclusion, such that a process, method, article, or apparatus that comprises a list of elements does not include only those elements but may include other elements not expressly listed or inherent to such process, method, article, or apparatus.
Although embodiments of the present invention have been shown and described, it will be appreciated by those skilled in the art that changes, modifications, substitutions and alterations can be made in these embodiments without departing from the principles and spirit of the invention, the scope of which is defined in the appended claims and their equivalents.

Claims (6)

1.一种药品检验用医用低温保存箱,包括外壳(1)、固定板(2)、保温内胆(3)、半导体制冷片(4)、散热片(5)、散热扇(6)、散热孔(7)、蓄电池(8)、保温盖体(9)、搭扣锁(10)、第一存放架(11)、限位环(12)和第二存放架(13),其特征在于:所述外壳(1)内壁下端固定有固定板(2),所述固定板(2)上表面固定有保温内胆(3),所述保温内胆(3)底部镶嵌固定有半导体制冷片(4),且半导体制冷片(4)的制冷端与保温内胆(3)内壁连通,所述半导体制冷片(4)底部穿过固定板(2),所述固定板(2)下表面靠近半导体制冷片(4)的一端固定有散热片(5),且散热片(5)与半导体制冷片(4)一侧接触,所述散热片(5)一侧固定有散热扇(6),所述外壳(1)靠近散热扇(6)的一端开设有散热孔(7),所述外壳(1)内壁底部固定有蓄电池(8),所述外壳(1)顶部一端通过铰链转动连接有保温盖体(9),所述保温盖体(9)通过搭扣锁(10)与外壳(1)固定,所述保温内胆(3)内壁下端固定有第一存放架(11),所述保温内胆(3)内壁中部固定有限位环(12),所述限位环(12)上表面放置有第二存放架(13)。1. A medical cryogenic storage box for drug testing, comprising an outer shell (1), a fixing plate (2), a thermal insulation liner (3), a semiconductor refrigeration sheet (4), a heat sink (5), a cooling fan (6), A heat dissipation hole (7), a battery (8), a thermal insulation cover (9), a snap lock (10), a first storage rack (11), a limit ring (12) and a second storage rack (13), characterized in that A fixing plate (2) is fixed at the lower end of the inner wall of the outer casing (1), a thermal insulation inner container (3) is fixed on the upper surface of the fixing plate (2), and a semiconductor refrigeration is inlaid and fixed at the bottom of the insulation inner container (3). and the cooling end of the semiconductor refrigeration sheet (4) is communicated with the inner wall of the thermal insulation liner (3). A heat sink (5) is fixed on one end of the surface close to the semiconductor refrigeration sheet (4), and the heat sink (5) is in contact with one side of the semiconductor refrigeration sheet (4), and a heat dissipation fan (6) is fixed on one side of the heat sink (5). ), the end of the casing (1) close to the cooling fan (6) is provided with a heat dissipation hole (7), a battery (8) is fixed at the bottom of the inner wall of the casing (1), and the top end of the casing (1) is rotated by a hinge A heat preservation cover body (9) is connected, the heat preservation cover body (9) is fixed with the outer shell (1) by a hasp lock (10), and a first storage rack (11) is fixed at the lower end of the inner wall of the heat preservation inner tank (3). A limit ring (12) is fixed in the middle of the inner wall of the heat preservation liner (3), and a second storage rack (13) is placed on the upper surface of the limit ring (12). 2.根据权利要求1所述的一种药品检验用医用低温保存箱,其特征在于:所述外壳(1)内壁底部固定有隔板(14),且隔板(14)与固定板(2)固定连接。2. A medical cryogenic storage box for drug testing according to claim 1, characterized in that: a partition plate (14) is fixed at the bottom of the inner wall of the casing (1), and the partition plate (14) and the fixing plate (2) are fixed at the bottom. ) fixed connection. 3.根据权利要求1所述的一种药品检验用医用低温保存箱,其特征在于:所述保温盖体(9)下表面镶嵌固定有温度传感器(15),所述保温盖体(9)上表面镶嵌固定有控制面板(16)。3. A medical cryogenic storage box for drug testing according to claim 1, characterized in that: a temperature sensor (15) is embedded and fixed on the lower surface of the thermal insulation cover (9), and the thermal insulation cover (9) A control panel (16) is inlaid and fixed on the upper surface. 4.根据权利要求1所述的一种药品检验用医用低温保存箱,其特征在于:所述外壳(1)外侧固定有背带(17)。4 . The medical cryogenic storage box for drug testing according to claim 1 , wherein a strap ( 17 ) is fixed on the outer side of the outer shell ( 1 ). 5 . 5.根据权利要求1所述的一种药品检验用医用低温保存箱,其特征在于:所述保温内胆(3)内壁底部放置有冰盒(18),且冰盒(18)靠近半导体制冷片(4)的一端设有缺口。5. A medical cryogenic storage box for drug testing according to claim 1, characterized in that: an ice box (18) is placed at the bottom of the inner wall of the thermal insulation liner (3), and the ice box (18) is close to the semiconductor refrigeration One end of the sheet (4) is provided with a notch. 6.根据权利要求1所述的一种药品检验用医用低温保存箱,其特征在于:所述第二存放架(13)上表面固定有围架(19),且围架(19)与保温内胆(3)滑动连接。6. A medical cryogenic storage box for drug testing according to claim 1, characterized in that: an enclosure (19) is fixed on the upper surface of the second storage rack (13), and the enclosure (19) is connected to the insulation The inner tank (3) is slidably connected.
CN201921247546.1U 2019-08-05 2019-08-05 Medical low-temperature storage box for medicine inspection Active CN210285069U (en)

Priority Applications (1)

Application Number Priority Date Filing Date Title
CN201921247546.1U CN210285069U (en) 2019-08-05 2019-08-05 Medical low-temperature storage box for medicine inspection

Applications Claiming Priority (1)

Application Number Priority Date Filing Date Title
CN201921247546.1U CN210285069U (en) 2019-08-05 2019-08-05 Medical low-temperature storage box for medicine inspection

Publications (1)

Publication Number Publication Date
CN210285069U true CN210285069U (en) 2020-04-10

Family

ID=70061832

Family Applications (1)

Application Number Title Priority Date Filing Date
CN201921247546.1U Active CN210285069U (en) 2019-08-05 2019-08-05 Medical low-temperature storage box for medicine inspection

Country Status (1)

Country Link
CN (1) CN210285069U (en)

Cited By (5)

* Cited by examiner, † Cited by third party
Publication number Priority date Publication date Assignee Title
CN112078972A (en) * 2020-09-10 2020-12-15 江苏诺金电气科技有限公司 Multifunctional heat insulation box
CN112110047A (en) * 2020-10-19 2020-12-22 山西白求恩医院(山西医学科学院) Anesthetic save set for hospital
CN112407606A (en) * 2020-09-16 2021-02-26 新疆野马文化发展有限公司 Sweat blood BMW genome preservation system
CN113353418A (en) * 2021-05-20 2021-09-07 刘表楠 Traffic police is with party's blood extraction censorship ware
CN119714698A (en) * 2025-03-03 2025-03-28 扬子江药业集团江苏紫龙药业有限公司 Method and equipment for detecting defects of freeze-drying medicine bottle sealing process

Cited By (5)

* Cited by examiner, † Cited by third party
Publication number Priority date Publication date Assignee Title
CN112078972A (en) * 2020-09-10 2020-12-15 江苏诺金电气科技有限公司 Multifunctional heat insulation box
CN112407606A (en) * 2020-09-16 2021-02-26 新疆野马文化发展有限公司 Sweat blood BMW genome preservation system
CN112110047A (en) * 2020-10-19 2020-12-22 山西白求恩医院(山西医学科学院) Anesthetic save set for hospital
CN113353418A (en) * 2021-05-20 2021-09-07 刘表楠 Traffic police is with party's blood extraction censorship ware
CN119714698A (en) * 2025-03-03 2025-03-28 扬子江药业集团江苏紫龙药业有限公司 Method and equipment for detecting defects of freeze-drying medicine bottle sealing process

Similar Documents

Publication Publication Date Title
CN210285069U (en) Medical low-temperature storage box for medicine inspection
CN203020768U (en) Digital display cool storage and heat insulation box
CN212333333U (en) A precise temperature-controlled organ transport box
CN203601784U (en) Medical refrigerating transportation box
CN111532561A (en) Organ transfer box capable of accurately controlling temperature and using method thereof
CN204937913U (en) Superconduct insulation can
CN214165699U (en) Movable medicine box of rescue vehicle
CN204750990U (en) A commodity circulation case that is used for aquatic products short distance cold chain to deliver
CN104132494A (en) Multi-inner-container separable long-acting refrigerating cabinet
CN207174456U (en) A kind of medicinal PVC packing box
CN209720464U (en) Portable cold chain distribution box
CN217178989U (en) Cooling and fresh-keeping container based on radiation refrigeration film
CN204568405U (en) A kind of Cord blood test tube stand transfer box
CN218173292U (en) Quick-frozen food storage device with constant temperature function
CN205345633U (en) Cold storage insulation box
CN204433408U (en) A kind of blood refrigerating carrying case
CN212474620U (en) High and cold area liquid medicine transport case that keeps warm
CN219572378U (en) Medical low-temperature preservation box
CN103767407B (en) A kind of vertical flex cabinet door and showcase
CN207903142U (en) A kind of graphene fever chamber
CN218154968U (en) Poultry bacterin refrigeration plant
CN202535988U (en) Cooling control device for cell, tissue and organ low-temperature preservation
CN220989050U (en) Comprehensive first-aid kit with low-temperature preservation function
WO2024164437A1 (en) Drug cold-storage cup
CN210486268U (en) Low-temperature storage device for plasma

Legal Events

Date Code Title Description
GR01 Patent grant
GR01 Patent grant