CN210185969U - Head operation support - Google Patents

Head operation support Download PDF

Info

Publication number
CN210185969U
CN210185969U CN201820964599.4U CN201820964599U CN210185969U CN 210185969 U CN210185969 U CN 210185969U CN 201820964599 U CN201820964599 U CN 201820964599U CN 210185969 U CN210185969 U CN 210185969U
Authority
CN
China
Prior art keywords
head
support
pipe
patient
support part
Prior art date
Legal status (The legal status is an assumption and is not a legal conclusion. Google has not performed a legal analysis and makes no representation as to the accuracy of the status listed.)
Expired - Fee Related
Application number
CN201820964599.4U
Other languages
Chinese (zh)
Inventor
Huixian Jin
金惠仙
Xiaoxian Yang
杨晓仙
Current Assignee (The listed assignees may be inaccurate. Google has not performed a legal analysis and makes no representation or warranty as to the accuracy of the list.)
Jinhua central hospital
Original Assignee
Jinhua central hospital
Priority date (The priority date is an assumption and is not a legal conclusion. Google has not performed a legal analysis and makes no representation as to the accuracy of the date listed.)
Filing date
Publication date
Application filed by Jinhua central hospital filed Critical Jinhua central hospital
Priority to CN201820964599.4U priority Critical patent/CN210185969U/en
Application granted granted Critical
Publication of CN210185969U publication Critical patent/CN210185969U/en
Expired - Fee Related legal-status Critical Current
Anticipated expiration legal-status Critical

Links

Images

Landscapes

  • Accommodation For Nursing Or Treatment Tables (AREA)

Abstract

针对现有技术的不足,本实用新型公开一种头部手术支架,首先能保证整个支架的稳定支持,其次提供给病人一个放松的手术环境,也给医生提供了较为便利的手术环境。为实现以上目的,本实用新型通过以下技术方案予以实现:一种头部手术支架,由安装底座和支撑部组成,其中安装底座为包括一对平行设置的管道,所述管道前端设有支撑部。本实用新型通过这样的技术方案,首先整个架体安装方便,安装完毕后非常稳定,不会由于在手术过程中碰到而翻倒。其结构确保在无菌布覆盖下,手术病人依然有较大的头部空间,不会因为过小的空间产生窒息感,也保证了供氧的充足。

Figure 201820964599

Aiming at the deficiencies of the prior art, the utility model discloses a head surgical bracket, which can firstly ensure the stable support of the entire bracket, and secondly provide a relaxed operating environment for patients and a relatively convenient operating environment for doctors. In order to achieve the above purpose, the present utility model is achieved through the following technical solutions: a head surgery bracket, which is composed of an installation base and a support part, wherein the installation base includes a pair of parallel pipes, and the front end of the pipe is provided with a support part . The utility model adopts such a technical scheme, first of all, the whole frame body is easy to install, very stable after the installation is completed, and will not fall over due to being touched during the operation. Its structure ensures that under the cover of sterile cloth, the surgical patient still has a large head space, and there is no suffocation due to the too small space, and it also ensures sufficient oxygen supply.

Figure 201820964599

Description

Head operation support
Technical Field
The utility model relates to a medical instrument, concretely relates to head operation support.
Background
In brain surgery, a sterile part is required to cover the head of a patient for smooth surgery. But this results in a very depressed patient, breathing difficulty and a very difficult mood.
In response to this problem, prior art designs have raised the sterile part of the rack. For example, patent 201320184501.0 entitled "oxygen-absorbable head operation support" discloses a support, in particular an oxygen-absorbable head operation support, belonging to the technical field of medical apparatus. According to the technical proposal provided by the utility model, the oxygen-absorbable head operation bracket comprises a bracket body; the rack body comprises two arc-shaped supporting tubes, supporting bottom plates which are fixedly connected are arranged at two ends of each arc-shaped supporting tube, and a tray support for placing a tray is arranged between the arc-shaped supporting tubes; the lower part of one arc-shaped supporting tube is provided with an oxygen inhalation interface which is communicated with the arc-shaped supporting rod, the inner side surface of the arc-shaped supporting rod is provided with oxygen inhalation holes, and the oxygen inhalation holes are communicated with the oxygen inhalation interface through the arc-shaped supporting rod. The utility model discloses simple structure is compact, and convenient to use improves operation efficiency, and accommodation is wide, safe and reliable.
However, the stent in this technique does not play an additional role other than the supporting role. The base plate is narrow and may tip over if not in place or touched during surgery. Although the tray support is arranged on the surgical operation table, the tray support is naturally shielded when the sterile cloth is covered by the sterile cloth because the arc-shaped supporting tube is required to support the sterile cloth during the surgical operation. This results in the tray support not being able to achieve the desired effect at all. Finally, the specific structure of the utility model can not ensure the stability when being placed on the sickbed.
SUMMERY OF THE UTILITY MODEL
The utility model discloses a head operation support, at first can guarantee the stable support of whole support, secondly provide the operation environment that patient relaxed, also provide comparatively convenient operation environment for the doctor to the not enough of prior art.
In order to achieve the above purpose, the utility model discloses a following technical scheme realizes: a head surgical support comprises an installation base and a supporting part, wherein the installation base comprises a pair of parallel pipelines, at least two fixing columns are arranged below each pipeline, the pipelines are fixed on a fixing plate through the fixing columns, the fixing plate is a hard plate with a smooth upper surface, the front end of each pipeline is provided with the supporting part, the supporting part is a hollow support body, and the top of the outer side of the supporting part is provided with a clamp body for fixing sterile cloth.
Preferably, the cross section of the supporting part is rectangular or annular, and the width of the supporting part is not less than 10 cm. Too wide a support occupies too much space, which affects the operation. Too small a support reduces the portion of the sterile cloth supported, resulting in reduced headroom and increased patient discomfort.
Preferably, a row of LED lamps is annularly arranged on the inner side of the supporting part. The LED lamp can increase the luminance of aseptic cloth cover part, reduces patient's oppression and feels, also can be used for carrying out the suggestion of operation time simultaneously for patient can know the operation progress.
Preferably, a sound box is arranged in the pipeline. This can relieve the patient from the urgency of the music.
Furthermore, the side surface of the pipeline is also provided with an installation jack, and a detachable tool tray is arranged in the installation jack. The tool tray is used for temporarily visiting some surgical supplies, and is convenient for a doctor to operate.
Preferably, the thickness of the tool tray does not exceed 1/2 the height of the duct and the width of the tool tray does not exceed 5 cm. Too thick a tool tray can result in excessive mass and difficulty in securing the tubing. Too wide a width can result in too much lateral space being occupied and inconvenience for a doctor at the bedside to stand.
Preferably, the pipeline top is equipped with the adjustment hole corresponding to the fixed column portion, and the fixed column side is equipped with the screw thread and the top passes through the bolt fastening. The structure can not only adjust the distance between the pipeline and the fixing plate, but also adjust the horizontal state of the supporting part.
Preferably, the side of the pipeline facing to the operation patient is provided with a flexible pad strip. The pipeline is hard for ensuring the strength. The patient may move about and touch the tube after surgery. The flexible pad strip is arranged on the side, close to the patient, of the pipeline, so that the pain of the patient during collision can be effectively reduced.
The utility model discloses a such technical scheme, at first whole support body simple to operate, the installation finishes the back very stable, can not overturn owing to touch at the operation in-process. The structure ensures that the operation patient still has larger head space under the covering of the sterile cloth, the suffocation feeling can not be generated due to the undersize space, and the sufficiency of oxygen supply is also ensured. The rest of the devices ensure that the patient is relaxed in the mental state during the operation and also provide enough convenience for the operating doctor.
Drawings
In order to more clearly illustrate the embodiments of the present invention or the technical solutions in the prior art, the drawings used in the description of the embodiments or the prior art will be briefly described below, it is obvious that the drawings in the following description are only some embodiments of the present invention, and for those skilled in the art, other drawings can be obtained according to these drawings without creative efforts.
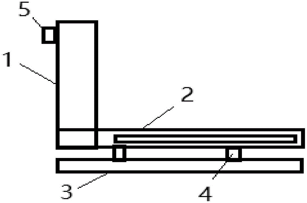
Fig. 1 is a schematic side view of a head surgery support according to the present invention.
Fig. 2 is a front structural view of the head surgical support of the present invention.
Detailed Description
In order to make the objects, technical solutions and advantages of the embodiments of the present invention clearer, the embodiments of the present invention will be clearly and completely described below with reference to the accompanying drawings in the embodiments of the present invention, and it is obvious that the described embodiments are some, but not all, embodiments of the present invention. Based on the embodiments in the present invention, all other embodiments obtained by a person skilled in the art without creative work belong to the protection scope of the present invention.
As shown in fig. 1 and 2, the utility model relates to a head operation support comprises installation base and supporting part 1, wherein the installation base is pipeline 2 including a pair of parallel arrangement, and every pipeline 2 below is equipped with two piece at least fixed columns 4, and pipeline 2 fixes on fixed plate 3 through fixed column 4, fixed plate 3 is the glossy hard board of upper surface, 2 front ends of pipeline are equipped with supporting part 1, supporting part 1 is the cavity support body, 1 outside top of supporting part is equipped with the clamp 5 that is used for fixed aseptic cloth. The cross section of the supporting part 1 is rectangular or annular, and the width of the supporting part 1 is not less than 10 cm. A row of LED lamps is annularly arranged on the inner side of the supporting part 1. A sound box is arranged in the pipeline 2. The side of the pipeline 2 is also provided with an installation jack, and a detachable tool tray 6 is arranged in the installation jack. The thickness of the tool tray 6 does not exceed 1/2 the height of the pipe 2 and the width of the tool tray 6 does not exceed 5 cm. The pipeline 2 top corresponds 4 portions of fixed column and is equipped with the adjustment hole, and 4 sides of fixed column are equipped with the screw thread and the top passes through the bolt fastening. One side of the pipeline 2 facing to the operation patient is provided with a flexible filler strip.
Example 1:
for patients moving from other places to the operating room, the utility model is already installed on the sickbed. The head of the patient is placed in the supporting part 1 during the operation. When in operation, a doctor clamps one side of the sterile cloth on the clamp body 5, and the sterile cloth is supported by the support part 1, so that the patient is ensured to have a larger breathing space under the covering of the sterile cloth. And the supporting part 1 is hollow, so that smooth air circulation is ensured, and the patient does not feel uncomfortable. The surgeon can use the tool tray 6 to speed up the procedure during the procedure. The patient can learn the progress of the operation from the indication of the LED lamp or the sound box in the tube 2 if necessary without waiting for any purpose.
The LED lights may also be used to emit some soft light to stabilize the patient's mood. The sound box can also play soft music to relieve the nervous mood of the patient. Since the LED light is covered under the sterile cloth, such light does not affect the doctor's operation. Similarly, the enclosure is located in the conduit 2, close to the patient's ear and away from the doctor. The music in the sound box is played at a smaller volume, so that the doctor can not be influenced to perform the operation.
Example 2:
if the patient is directly operated on the sickbed, the head operation bracket is installed before the operation. At the moment, the mattress on the bed is only needed to be pulled up, and the head position of the patient is lifted at the same time. The fixing plate 3 is arranged between the bed board and the mattress. Since the upper surface of the fixing plate 3 is a smooth plane, the position of the patient's head can be finely adjusted by pulling the pad. After the adjustment is finished, the bolt on the fixing column 4 is rotated through the adjusting hole of the fixing column 4, the pipeline 2 is adjusted downwards until the pipeline 2 and the fixing plate 3 clamp the bedding together, and the bracket is mounted and can be used for operation. When in operation, a doctor clamps one side of the sterile cloth on the clamp body 5, and the sterile cloth is supported by the support part 1, so that the patient is ensured to have a larger breathing space under the covering of the sterile cloth. And the supporting part 1 is hollow, so that smooth air circulation is ensured, and the patient does not feel uncomfortable. The surgeon can use the tool tray 6 to speed up the procedure during the procedure. The patient can learn the progress of the operation from the indication of the LED lamp or the sound box in the tube 2 if necessary without waiting for any purpose.
The LED lights may also be used to emit some soft light to stabilize the patient's mood. The sound box can also play soft music to relieve the nervous mood of the patient. Since the LED light is covered under the sterile cloth, such light does not affect the doctor's operation. Similarly, the enclosure is located in the conduit 2, close to the patient's ear and away from the doctor. The music in the sound box is played at a smaller volume, so that the doctor can not be influenced to perform the operation.
In this document, relational terms such as first and second, and the like may be used solely to distinguish one entity or action from another entity or action without necessarily requiring or implying any actual such relationship or order between such entities or actions. Also, the terms "comprises," "comprising," or any other variation thereof, are intended to cover a non-exclusive inclusion, such that a process, method, article, or apparatus that comprises a list of elements does not include only those elements but may include other elements not expressly listed or inherent to such process, method, article, or apparatus. Without further limitation, an element defined by the phrase "comprising an … …" does not exclude the presence of other identical elements in a process, method, article, or apparatus that comprises the element.
The above embodiments are only used to illustrate the technical solution of the present invention, and not to limit it; although the present invention has been described in detail with reference to the foregoing embodiments, it should be understood by those skilled in the art that: the technical solutions described in the foregoing embodiments may still be modified, or some technical features may be equivalently replaced; such modifications and substitutions do not depart from the spirit and scope of the present invention in its corresponding aspects.

Claims (8)

1.一种头部手术支架,其特征在于:由安装底座和支撑部(1)组成,其中安装底座为包括一对平行设置的管道(2),每根管道(2)下方设有至少两根固定柱(4),管道(2)通过固定柱(4)固定在固定板(3)上,所述固定板(3)为上表面光滑的硬质板,所述管道(2)前端设有支撑部(1),所述支撑部(1)为中空架体,所述支撑部(1)外侧顶部设有用于固定无菌布的夹体(5)。1. A head surgery bracket, characterized in that: it is composed of an installation base and a support part (1), wherein the installation base comprises a pair of pipes (2) arranged in parallel, and at least two pipes (2) are arranged below each pipe (2). A fixed column (4), the pipeline (2) is fixed on the fixed plate (3) through the fixed column (4), the fixed plate (3) is a hard plate with a smooth upper surface, and the front end of the pipeline (2) is provided with a fixed plate (3). There is a support part (1), the support part (1) is a hollow frame body, and a clip body (5) for fixing the sterile cloth is provided on the top of the outer side of the support part (1). 2.如权利要求1所述的一种头部手术支架,其特征在于:所述支撑部(1)的截面为矩形或者环形,支撑部(1)的宽度不少于10cm。2 . The head surgery support according to claim 1 , wherein the cross section of the support portion ( 1 ) is rectangular or annular, and the width of the support portion ( 1 ) is not less than 10 cm. 3 . 3.如权利要求2所述的一种头部手术支架,其特征在于:所述支撑部(1)内侧环设有一排LED灯。3 . The head surgery support according to claim 2 , wherein a row of LED lights is arranged in the inner ring of the support portion ( 1 ). 4 . 4.如权利要求1或2或3所述的一种头部手术支架,其特征在于:所述管道(2)内设有音箱。4. A head surgery support according to claim 1, 2 or 3, characterized in that: a sound box is provided in the pipe (2). 5.如权利要求1所述的一种头部手术支架,其特征在于:所述管道(2)侧面还设有安装插孔,所述安装插孔内用于安装可拆卸的工具托盘(6)。5. A head surgery bracket according to claim 1, characterized in that: the side of the pipe (2) is further provided with an installation socket, and the installation socket is used to install a detachable tool tray (6). ). 6.如权利要求5所述的一种头部手术支架,其特征在于:工具托盘(6)厚度不超过管道(2)高度的1/2,工具托盘(6)的宽度不超过5cm。6 . The head surgery support according to claim 5 , wherein the thickness of the tool tray ( 6 ) does not exceed 1/2 of the height of the pipe ( 2 ), and the width of the tool tray ( 6 ) does not exceed 5 cm. 7 . 7.如权利要求1所述的一种头部手术支架,其特征在于:所述管道(2)上方对应固定柱(4)部设有调整孔,固定柱(4)侧面设有螺纹且顶部通过螺栓固定。7. A head surgery support according to claim 1, characterized in that: an adjustment hole is provided on the top of the pipe (2) corresponding to the fixing column (4), and the side of the fixing column (4) is provided with threads and a top portion. Fastened by bolts. 8.如权利要求1所述的一种头部手术支架,其特征在于:所述管道(2)朝向手术病人一侧设有柔性垫条。8 . The head surgical support according to claim 1 , wherein a flexible pad is provided on the side of the pipe ( 2 ) facing the operating patient. 9 .
CN201820964599.4U 2018-06-22 2018-06-22 Head operation support Expired - Fee Related CN210185969U (en)

Priority Applications (1)

Application Number Priority Date Filing Date Title
CN201820964599.4U CN210185969U (en) 2018-06-22 2018-06-22 Head operation support

Applications Claiming Priority (1)

Application Number Priority Date Filing Date Title
CN201820964599.4U CN210185969U (en) 2018-06-22 2018-06-22 Head operation support

Publications (1)

Publication Number Publication Date
CN210185969U true CN210185969U (en) 2020-03-27

Family

ID=69880108

Family Applications (1)

Application Number Title Priority Date Filing Date
CN201820964599.4U Expired - Fee Related CN210185969U (en) 2018-06-22 2018-06-22 Head operation support

Country Status (1)

Country Link
CN (1) CN210185969U (en)

Cited By (1)

* Cited by examiner, † Cited by third party
Publication number Priority date Publication date Assignee Title
CN113476152A (en) * 2021-07-28 2021-10-08 河南科技大学第一附属医院 Intracardiac branch of academic or vocational study alcohol cardiomyopathy protector

Cited By (2)

* Cited by examiner, † Cited by third party
Publication number Priority date Publication date Assignee Title
CN113476152A (en) * 2021-07-28 2021-10-08 河南科技大学第一附属医院 Intracardiac branch of academic or vocational study alcohol cardiomyopathy protector
CN113476152B (en) * 2021-07-28 2022-05-31 河南科技大学第一附属医院 Intracardiac branch of academic or vocational study alcohol cardiomyopathy protector

Similar Documents

Publication Publication Date Title
CN207837816U (en) One kind being convenient for fixed surgical bed
CN210185969U (en) Head operation support
CN211068558U (en) Pipeline fixing device for anesthesia operation
CN209770554U (en) Bile duct cancer operation auxiliary device for general surgery department
CN204501449U (en) A kind of surgical bed for department of ophthalmology
CN210750045U (en) Wound cleaning device for pediatric surgery
CN211271239U (en) Multi-functional bracket is used in ophthalmic surgery
CN211512519U (en) Adjustable limb bracket for nursing of hand surgery for sickbed
CN207837822U (en) A kind of novel urological surgery bed
CN206138341U (en) Surgical treatment operation table
CN205867006U (en) Ventilate and use head rack in prone position
CN210872704U (en) A hospital surgical dressing rack
CN114344035A (en) Neurosurgery brain operation auxiliary device
CN222218160U (en) A protective head support for surgery
CN207101473U (en) A kind of gynecological nursing holder device
CN201389156Y (en) Neck anesthesia operation frame
CN213431404U (en) Auxiliary foot fixing device for gynecological examination bed
CN208864511U (en) A multifunctional ophthalmic surgery holder
CN101579280B (en) Operation platform for ophthalmologic operation
CN204798279U (en) Make things convenient for medical chair of changing dressings that head changed dressings
CN205391201U (en) Neurosurgical surgical bracket
CN213217999U (en) Joint basic nursing support
CN212997147U (en) Sick bed shelf convenient to dismouting
CN213588902U (en) Support frame for interventional operation bed
CN220404314U (en) Leg nursing supporting equipment

Legal Events

Date Code Title Description
GR01 Patent grant
GR01 Patent grant
CF01 Termination of patent right due to non-payment of annual fee
CF01 Termination of patent right due to non-payment of annual fee

Granted publication date: 20200327

Termination date: 20210622