CN210185023U - A transformable shelf - Google Patents

A transformable shelf Download PDF

Info

Publication number
CN210185023U
CN210185023U CN201920108779.7U CN201920108779U CN210185023U CN 210185023 U CN210185023 U CN 210185023U CN 201920108779 U CN201920108779 U CN 201920108779U CN 210185023 U CN210185023 U CN 210185023U
Authority
CN
China
Prior art keywords
box
rack
shelf
base
utility
Prior art date
Legal status (The legal status is an assumption and is not a legal conclusion. Google has not performed a legal analysis and makes no representation as to the accuracy of the status listed.)
Expired - Fee Related
Application number
CN201920108779.7U
Other languages
Chinese (zh)
Inventor
Chunpeng Zhang
张春芃
Yunfeng Zhu
朱云峰
Current Assignee (The listed assignees may be inaccurate. Google has not performed a legal analysis and makes no representation or warranty as to the accuracy of the list.)
Nanjing Institute of Industry Technology
Original Assignee
Nanjing Institute of Industry Technology
Priority date (The priority date is an assumption and is not a legal conclusion. Google has not performed a legal analysis and makes no representation as to the accuracy of the date listed.)
Filing date
Publication date
Application filed by Nanjing Institute of Industry Technology filed Critical Nanjing Institute of Industry Technology
Priority to CN201920108779.7U priority Critical patent/CN210185023U/en
Application granted granted Critical
Publication of CN210185023U publication Critical patent/CN210185023U/en
Expired - Fee Related legal-status Critical Current
Anticipated expiration legal-status Critical

Links

Images

Landscapes

  • Tables And Desks Characterized By Structural Shape (AREA)
  • Assembled Shelves (AREA)
  • Combinations Of Kitchen Furniture (AREA)

Abstract

本实用新型公开了一种可变形搁物架,属于家具用品领域,包括底座、N个箱体和N+1个搁物板,所述搁物板与箱体自上而下相间设置在底座上,所述底座上设有用于安装搁物板的支撑柱,所述搁物板中除最上层外均设有供下方箱体或支撑柱插入的孔,最上层搁物板与最上层箱体固定连接,其余搁物板与其上方箱体固定连接,所述箱体顶部两侧设有插孔,所述插孔中插有用于支撑上方置物板的固定条。本实用新型既可以作为搁物架使用,又可以变形成桌椅茶几使用,同时可拆卸,搬运方便。

Figure 201920108779

The utility model discloses a deformable shelf, which belongs to the field of furniture products. The utility model comprises a base, N boxes and N+1 shelves. On the base, there is a support column for installing a shelf board, and the shelf board is provided with holes for inserting the lower box or support column except the uppermost layer. The uppermost shelf board and the uppermost box The other shelves are fixedly connected to the upper box, and two sides of the top of the box are provided with insertion holes, and the insertion holes are inserted into the fixing strips for supporting the upper storage plate. The utility model can not only be used as a shelf, but also can be transformed into a table, chair, and coffee table, and at the same time, the utility model can be disassembled and carried conveniently.

Figure 201920108779

Description

Deformable rack
Technical Field
The utility model relates to the field of furniture articles, in particular to a deformable rack.
Background
At present, the furniture market has a plurality of furniture varieties, people have higher and higher requirements on the furniture, and the functional composite furniture is more and more pursued by people.
Racks are almost indispensable household articles for every family, but the existing racks are too single in function and difficult to carry due to the huge size and quality of the racks when the family layout needs to be changed or moved every time.
SUMMERY OF THE UTILITY MODEL
The utility model provides a flexible rack, its advantage both can regard as the rack to use, can become the use of table chair tea table again, can dismantle simultaneously, the transport is convenient.
The above object of the utility model is realized through following technical scheme, a flexible rack, including base, a N box and a N +1 thing board of putting, the thing board of putting alternately sets up on the base with box top-down, be equipped with the support column that is used for installing the thing board of putting on the base, all be equipped with except that the top layer supplies below box or support column male hole in the thing board of putting, the superiors put thing board and the superiors box fixed connection, all the other thing boards of putting rather than top box fixed connection, box top both sides are equipped with the jack, it has the fixed strip that is used for supporting the top thing board of putting to insert in the jack.
Through above-mentioned technical scheme, box and shelf form tower form rack and supply the rack to use, and simultaneously, rack and box can be dismantled, convenient transport, and box and rack can make up in a flexible way simultaneously, form articles such as desk tea table and supply the use, the utility model discloses can regard as the rack to use, the split of doing makes up into desk or tea table and uses, and single box and rack are made up and are placed subaerial and can be used as the stool, and the function is abundant, can use in a flexible way, and each part can be dismantled, convenient transport.
The utility model discloses further set up to, N is not less than 2 positive integer.
By the technical scheme, the functions of assembling and disassembling other objects can be well realized by more than 2 box bodies and more than 3 object placing plates.
The utility model discloses further set up to, the base is the tripod.
Through the technical scheme, the tripod can well support the rack.
The utility model discloses further set up to, box cavity and lower extreme opening, N the box from the top down volume dwindles in proper order and lower floor's box can be retracted in the inner chamber of its upper box completely.
Through the technical scheme, the lower-layer box body can be retracted into the upper-layer box body, and the combination diversity of the box body and the rack is further enriched.
The utility model discloses further set up as, the lower part both sides of box also are equipped with the jack.
Through the technical scheme, the box body can be turned over for use, and the fixing strip is inserted into the insertion hole to fix the storage plate, so that the combination diversity of the box body and the storage rack is further enriched.
To sum up, the beneficial effects of the utility model are that:
1. the rack can be used as a rack and can be transformed into a table, a chair and a tea table;
2. each part is convenient to disassemble and assemble and convenient to carry.
Drawings
FIG. 1 is a schematic overall structure diagram of the first embodiment;
FIG. 2 is an exploded view of the first embodiment;
FIG. 3 is an overall view of another perspective of the embodiment;
FIG. 4 is a schematic view of a modification of the first embodiment;
FIG. 5 is a schematic view of a modification of the first embodiment;
FIG. 6 is a schematic view of a modification of the first embodiment;
fig. 7 is a schematic diagram of a modification of the first embodiment.
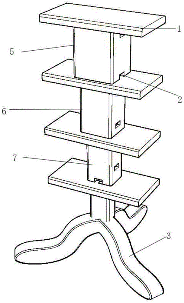
In the figure, 1, a shelf without holes; 2. a jack; 3. a base; 4. a fixing strip; 5. a large-size box body; 6. a middle box body; 7. a small-size box body; 8. large-size hole shelf boards; 9. a medium-sized hole shelf; 10. a small-size hole shelf.
Detailed Description
The following detailed description of the embodiments of the present invention will be made with reference to the accompanying drawings.
The first embodiment is as follows: as shown in fig. 1-3, a deformable rack includes a base 3, N boxes and N +1 shelves, where N is a natural number not less than 2, in this embodiment, N takes the value of 3, that is, includes three boxes and four shelves, the shelves and the boxes are alternately arranged on the base 3 from top to bottom, a support column for mounting the shelves is arranged on the base 3, and the support column is connected to the lowest shelf.
The base 3 is used for supporting the rack, the base is a tripod, the tripod is simple in structure, and the rack can be well supported. The box body is hollow and has an opening at the lower end, the box bodies are different in size, the volume of the upper layer box body is larger than that of the lower layer box body, the three box bodies are respectively a small box body 7, a medium box body 6 and a large box body 5 from bottom to top, holes for inserting the lower box body or a support column are formed in the shelf plates except the uppermost layer, the four shelf plates are respectively a non-hole shelf plate 1, a large-hole shelf plate 8, a medium-hole shelf plate 9 and a small-hole shelf plate 10 from top to bottom, the shelf plates are fixedly connected with the upper box body, the uppermost layer shelf plate is fixedly connected with the uppermost layer box body, insertion holes 2 are formed in two sides of the top of the box body, and fixing strips 4 for supporting the upper shelf plate are inserted in. The box body and the shelf plate form a tower-shaped shelf for holding articles, meanwhile, the shelf plate and the box body can be detached, the carrying is convenient, meanwhile, the box body and the shelf plate can be flexibly combined to form articles such as a table, a tea table and the like for use, the functions are rich, the use is flexible, all the parts can be detached, and the carrying is convenient.
The two sides of the lower part of the box body are also provided with jacks 2, the box body can be turned over for use, and fixing strips 4 are inserted into the jacks 2 to fix the object placing plates, so that the combination diversity of the box body and the object placing rack is further enriched.
As shown in fig. 4, a variant of this embodiment is shown, in which the fixing strip is taken out, the supporting column, the small-sized box and the medium-sized box are sequentially retracted into the large-sized box, and the small-sized shelf, the medium-sized shelf and the large-sized shelf are overlapped together, so that the rack can be changed into a table.
As shown in fig. 5, a variant of this embodiment is shown, in which the fixing strip is taken out, the middle case with the middle shelf and the small case with the small shelf are taken out and put on one side to be used as a stool, the supporting column on the base is inserted into the large case, the base, the large case and the non-porous shelf form a table, and the shelf is changed into a table and a chair.
As shown in fig. 6, a variant of this embodiment is shown, in which the fixing strip is taken out, the middle case with the middle shelf and the small case with the small hole are taken out and placed upside down on two sides of the large case, so that the middle shelf, the small shelf and the non-hole shelf are in the same plane, and the fixing strip is used to penetrate through the large case, the middle case and the small case to fix the large case, the middle case and the small case, so that the shelf is changed into a tea table for use.
As shown in fig. 7, a modification of the present embodiment is shown, which is similar to fig. 6, and on the basis of the modification of fig. 6, a heightening column is added at the bottom of the base, and the heightening column is inserted into some counter bores of a building to install the tea table, so that the practicability of the tea table is increased.
The above list is only a limited number of the deformation modes of the rack in the embodiment, and is not exhaustive, and other effective deformation modes can be performed in combination with the actual needs and the combined structure of the rack in the actual use.
Example two: referring to fig. 1, different from the first embodiment, the three sets of cases have the same size and specification, and the rest three shelves have the same specification except for the uppermost shelf.
The foregoing is only a preferred embodiment of the present invention, and it should be noted that, for those skilled in the art, many modifications and improvements can be made without departing from the inventive concept, and all of them belong to the protection scope of the present invention.

Claims (5)

1. The utility model provides a flexible rack, its characterized in that includes base (3), a N box and a N +1 rack, the rack sets up on base (3) with box top-down is alternate, be equipped with the support post that is used for installing the rack on base (3), all be equipped with in the rack except that the top layer and supply below box or support column male hole, the superiors rack and superiors box fixed connection, all the other racks and its top box fixed connection, box top both sides are equipped with jack (2), the fixed strip (4) that are used for supporting the top rack are inserted in jack (2).
2. The transformable rack of claim 1, wherein N is a natural number not less than 2.
3. The transformable rack according to claim 1, wherein the base (3) is a tripod.
4. The transformable rack of claim 1, wherein the boxes are hollow and open at the lower end, the volume of the N boxes decreases from top to bottom and the lower box can be fully retracted into the inner cavity of the upper box.
5. The transformable rack according to claim 1, wherein the lower portion of the box is also provided with insertion holes (2) on both sides.
CN201920108779.7U 2019-01-22 2019-01-22 A transformable shelf Expired - Fee Related CN210185023U (en)

Priority Applications (1)

Application Number Priority Date Filing Date Title
CN201920108779.7U CN210185023U (en) 2019-01-22 2019-01-22 A transformable shelf

Applications Claiming Priority (1)

Application Number Priority Date Filing Date Title
CN201920108779.7U CN210185023U (en) 2019-01-22 2019-01-22 A transformable shelf

Publications (1)

Publication Number Publication Date
CN210185023U true CN210185023U (en) 2020-03-27

Family

ID=69879281

Family Applications (1)

Application Number Title Priority Date Filing Date
CN201920108779.7U Expired - Fee Related CN210185023U (en) 2019-01-22 2019-01-22 A transformable shelf

Country Status (1)

Country Link
CN (1) CN210185023U (en)

Similar Documents

Publication Publication Date Title
CN210185023U (en) A transformable shelf
CN218683237U (en) Puzzle-shaped children table and chair mounting structure
CN201920213U (en) Integral type double-layer bed with upper and lower bunks
CN205267519U (en) Sectional furniture made of paper
CN206808941U (en) A kind of Multi-function, composition computer desk
CN204561402U (en) a bookshelf
CN206150934U (en) Transform of a lot of dimension and table built -in cupboard that uses
CN207532120U (en) Multi-functional adjustable space household frame
CN209986928U (en) Rack of easy access toolbox
CN211211883U (en) Outdoor expansion box
CN220212293U (en) Outdoor table capable of being quickly disassembled and stored and small in storage volume
CN222084883U (en) Storage board connection structure and storage cabinet thereof
CN220384548U (en) Combined table
CN211186376U (en) A multifunctional combined bookcase
CN214996400U (en) Portable combined type rack
CN221749873U (en) A foldable table and chair
CN222929432U (en) Office workstation
CN221671181U (en) Study table with bookshelf
CN221450355U (en) Combined folding exhibition stand and exhibition stand system
CN201256752Y (en) Combined bookshelf capable of being used for chair
CN213605423U (en) Novel sofa bookshelf
CN211298918U (en) Shelf for placing articles
CN221997216U (en) A removable IGT table
CN222284976U (en) Multifunctional combined tea table
CN204812872U (en) Modular multifunction seat

Legal Events

Date Code Title Description
GR01 Patent grant
GR01 Patent grant
CF01 Termination of patent right due to non-payment of annual fee
CF01 Termination of patent right due to non-payment of annual fee

Granted publication date: 20200327