CN210148291U - Push type bill perforating device - Google Patents
Push type bill perforating device Download PDFInfo
- Publication number
- CN210148291U CN210148291U CN201920848750.2U CN201920848750U CN210148291U CN 210148291 U CN210148291 U CN 210148291U CN 201920848750 U CN201920848750 U CN 201920848750U CN 210148291 U CN210148291 U CN 210148291U
- Authority
- CN
- China
- Prior art keywords
- punch
- pressing
- base
- pressing block
- punching device
- Prior art date
- Legal status (The legal status is an assumption and is not a legal conclusion. Google has not performed a legal analysis and makes no representation as to the accuracy of the status listed.)
- Expired - Fee Related
Links
- 238000003825 pressing Methods 0.000 claims abstract description 38
- 238000004080 punching Methods 0.000 claims abstract description 19
- 238000000034 method Methods 0.000 description 7
- 238000005553 drilling Methods 0.000 description 3
- 238000010586 diagram Methods 0.000 description 2
- 238000012986 modification Methods 0.000 description 2
- 230000004048 modification Effects 0.000 description 2
- 230000009286 beneficial effect Effects 0.000 description 1
- 230000000694 effects Effects 0.000 description 1
Images
Landscapes
- Perforating, Stamping-Out Or Severing By Means Other Than Cutting (AREA)
Abstract
本实用新型公布了一种按压式票据打孔装置,包括底座,所述底座上设有支架,支架上铰接有按压块,按压块可绕水平轴转动,其远离铰接的一端设有手柄,按压块下方设有可竖直移动的冲子,冲子头部朝下;所述支架上设有与冲子相配合的杆套,所述按压块正下方设有压板,所述压板一端支架铰接,其可绕水平轴转动;所述压板与按压块通过弹片连接;所述杆套上设有使冲子处于最上位置的复位弹簧。本实用新型的目的是,提供一种按压式票据打孔装置,该打孔装置将票据预压紧后,通过按压方式,快速对其进行打孔操作,特别省力,操作简单,使用方便。
The utility model discloses a press-type bill punching device, which comprises a base, a support is arranged on the base, a push block is hinged on the support, the push block can rotate around a horizontal axis, and the end away from the hinge is provided with a handle for pressing A vertically movable punch is arranged below the block, and the head of the punch faces downward; a rod sleeve matched with the punch is arranged on the bracket, and a pressing plate is arranged directly under the pressing block, and one end of the pressing plate is hinged to the bracket , which can be rotated around the horizontal axis; the pressing plate and the pressing block are connected by elastic pieces; the rod sleeve is provided with a return spring that keeps the punch in the uppermost position. The purpose of the present utility model is to provide a press-type bill punching device, which pre-presses the bill, and then quickly punches the bill by pressing, which is particularly labor-saving, simple to operate, and convenient to use.
Description
技术领域technical field
本实用新型属于财会用具技术领域,具体为一种按压式票据打孔装置。The utility model belongs to the technical field of accounting appliances, in particular to a press-type bill punching device.
背景技术Background technique
票据作为一种具有法律意义的重要凭证,其保存时通常都是将各种大小不一的票据打孔后用绳捆绑后保存至档案柜中,那么打孔装置就是装订票据时必备的办公用品,现有都是手工用打孔针进行打孔、穿线,其操作费时、费力,操作过程特别容易伤手,因此有必开发一种专用的票据打孔装置。Bills are an important document with legal significance. When saving bills, various sizes of bills are usually punched and tied with ropes and stored in the filing cabinet. Then the punching device is a necessary office for binding bills. Currently, punching needles are used for punching and threading by hand. The operation is time-consuming and laborious, and the operation process is particularly easy to hurt hands. Therefore, it is necessary to develop a special bill punching device.
实用新型内容Utility model content
本实用新型的目的是针对以上问题,提供一种按压式票据打孔装置,该打孔装置将票据预压紧后,通过按压方式,快速对其进行打孔操作,特别省力,操作简单,使用方便。The purpose of the present utility model is to solve the above problems and provide a press-type bill punching device, which pre-presses the bill and quickly punches the bill by pressing, which is particularly labor-saving, simple to operate, and easy to use. convenient.
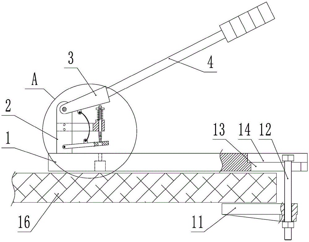
为实现以上目的,本实用新型采用的技术方案是:一种按压式票据打孔装置,包括底座,所述底座上设有支架,支架上铰接有按压块,按压块可绕水平轴转动,其远离铰接的一端设有手柄,按压块下方设有可竖直移动的冲子,冲子头部朝下;所述支架上设有与冲子相配合的杆套,所述按压块正下方设有压板,所述压板一端支架铰接,其可绕水平轴转动;所述压板与按压块通过弹片连接;所述杆套上设有使冲子处于最上位置的复位弹簧。In order to achieve the above purpose, the technical scheme adopted by the present invention is: a press-type bill punching device, comprising a base, a bracket is arranged on the base, a pressing block is hinged on the bracket, and the pressing block can rotate around a horizontal axis, and the One end away from the hinge is provided with a handle, a vertically movable punch is arranged under the pressing block, and the head of the punch is facing downward; There is a pressure plate, one end of the pressure plate is hinged with a bracket, which can be rotated around a horizontal axis; the pressure plate and the pressure block are connected by elastic sheets; the rod sleeve is provided with a return spring that keeps the punch in the uppermost position.
进一步的,所述复位弹簧套设于冲子上,其下端与杆套接触,上端与挡块接触;所述挡块套设在冲子上,其通过螺钉锁紧。Further, the return spring is sleeved on the punch, the lower end of which is in contact with the rod sleeve, and the upper end is in contact with the stopper; the stopper is sleeved on the punch and is locked by screws.
进一步的,还包括夹板和螺栓,所述底座上远离支架的一端沿其长度延伸方向设有长槽孔,所述螺栓上端与长槽孔配合,下端与夹板连接。Further, it also includes a splint and a bolt, one end of the base away from the bracket is provided with a long slotted hole along its length extending direction, the upper end of the bolt is matched with the long slotted hole, and the lower end of the bolt is connected with the splint.
进一步的,所述长槽孔上端设有用于容纳螺栓头的沉台。Further, the upper end of the long slotted hole is provided with a sink for accommodating the bolt head.
进一步的,所述底座上位于冲子的正下方设有落料孔。Further, a blanking hole is provided on the base directly below the punch.
本实用新型的有益效果:该打孔装置将票据预压紧后,通过按压方式,快速对其进行打孔操作,特别省力,操作简单,使用方便。本实用新型中挡块可沿冲子轴线方向移动,即可调节冲子默认状态下的高度,从而调节与底座之间的距离,在一定范围内满足不同厚度票据的打孔。本实用新型中通常底座放置于桌面上即可进行打孔操作,但操作者握紧力不够时,此时将夹板置于桌板底,然后螺栓头上端卡于长槽孔内,下端贯穿夹板后,通过螺母拧紧,使底座在使用过程中不会晃动,更稳定;长槽孔的一端设置成开口状,其作用是在不需要使用夹板时,方便螺栓快速滑出,不用将螺母完全拧出,节省时间。The beneficial effects of the utility model are as follows: after the bill is pre-compressed by the punching device, the bill can be punched quickly by pressing, which is particularly labor-saving, simple to operate and convenient to use. In the utility model, the block can be moved along the axis direction of the punch, so that the height of the punch in the default state can be adjusted, thereby adjusting the distance between the punch and the base, so as to satisfy the punching of bills with different thicknesses within a certain range. In the utility model, the base is usually placed on the table to perform the drilling operation, but when the operator's grip is not enough, the splint is placed at the bottom of the table, and then the upper end of the bolt head is clamped in the long slot hole, and the lower end penetrates the splint. Afterwards, tighten the nut so that the base will not shake during use and is more stable; one end of the long slotted hole is set to an open shape, and its function is to facilitate the bolt to slide out quickly when the splint is not needed, without completely screwing the nut out and save time.
附图说明Description of drawings
图1为本实用新型主视结构示意图。FIG. 1 is a schematic view of the front structure of the utility model.
图2为本实用新型图1中A处局部放大结构示意图。FIG. 2 is a schematic diagram of a partially enlarged structure at A in FIG. 1 of the present utility model.
图3为本实用新型图1中底座俯视结构示意图。FIG. 3 is a top-view structural schematic diagram of the base in FIG. 1 of the present utility model.
图4为本实用新型图1中夹板仰视结构示意图。FIG. 4 is a schematic view of the bottom structure of the splint in FIG. 1 of the present utility model.
图中所述文字标注表示为:1、底座;2、支架;3、按压块;4、手柄;5、冲子;6、杆套;7、压板;8、弹片;9、复位弹簧;10、挡块;11、夹板;12、螺栓;13、长槽孔;14、沉台;15、落料孔;16、桌板。The text in the figure is marked as follows: 1, base; 2, bracket; 3, pressing block; 4, handle; 5, punch; 6, rod cover; 7, pressure plate; 8, shrapnel; 9, return spring; 10 , block; 11, splint; 12, bolt; 13, long slot hole; 14, sinking table; 15, blanking hole; 16, table board.
具体实施方式Detailed ways
为了使本领域技术人员更好地理解本实用新型的技术方案,下面结合附图对本实用新型进行详细描述,本部分的描述仅是示范性和解释性,不应对本实用新型的保护范围有任何的限制作用。In order to make those skilled in the art better understand the technical solutions of the present invention, the present invention will be described in detail below in conjunction with the accompanying drawings. The description in this part is only exemplary and explanatory, and should not have any protection scope of the present invention. restrictive effect.
如图1-4所示,本实用新型的具体结构为:一种按压式票据打孔装置,包括底座1,底座1上端面为工作平台,所述底座1上设有支架2,其设置两个,支架2上铰接有按压块3,即按压块3通过转轴与支架2铰接,按压块3可绕水平轴转动,其远离铰接的一端设有手柄4,可通过焊接连接,按压块3下方设有可竖直移动的冲子5,冲子5不能位于按压块3铰接处的正下方,冲子5头部朝下,下端有刃口,冲子5上与按压块3接触端优选设有球头状,减小磨损;所述支架2上设有与冲子5相配合的杆套6,所述按压块3正下方设有压板7,所述压板7一端支架2铰接,其可绕水平轴转动;所述压板7与按压块3通过弹片8连接,即弹片8一端与按压块3上的非铰接处连接,另一端与压板7的非铰接处连接;所述杆套6上设有使冲子5处于最上位置的复位弹簧9。As shown in Figures 1-4, the specific structure of the present invention is as follows: a press-type bill punching device, comprising a
优选的,所述复位弹簧9套设于冲子5上,其下端与杆套6接触,上端与挡块10接触;所述挡块10套设在冲子5上,即挡块10上设有通孔,其通过螺钉锁紧。挡块10可沿冲子5轴线方向移动,并通过螺钉锁紧,即可调节冲子5默认状态下的高度,从而调节与底座1之间的距离,在一定范围内满足不同厚度票据的打孔。Preferably, the
优选的,还包括夹板11和螺栓12,所述底座1上远离支架2的一端沿其长度延伸方向设有长槽孔13,所述螺栓12上端与长槽孔13配合,下端与夹板11连接。通常底座放置于桌面上即可进行打孔操作,但操作者握紧力不够时,此时将夹板11置于桌板16底,然后螺栓12头上端卡于长槽孔13内,下端贯穿夹板11后,通过螺母拧紧,使底座1在使用过程中不会晃动,更稳定;长槽孔13的一端设置成开口状,其作用是在不需要使用夹板11时,方便螺栓12快速滑出,不用将螺母完全拧出,节省时间。Preferably, it also includes a
优选的,所述长槽孔13上端设有用于容纳螺栓头的沉台14。该沉台14保证螺栓头最上端面低于底座1上端工作平面,保证工作平面平整,不影响打孔操作。Preferably, the upper end of the
优选的,所述底座1上位于冲子5的正下方设有落料孔15。正常使用下,冲子5打孔冲出来的料会留在其头部的孔内,定期清理即可,此处设计落料孔15的作用是保证最低层的票据完全被打穿。Preferably, a
具体使用时,将多张票据叠放、整理好之后,一只手持票,放入至压板7正下方,打孔位置与冲子5头部对齐,另一只手按压手柄4,带动按压块3转动,其通过弹片8推动压板7转动,对票据进行预压紧,随着手柄4继续按压,弹片8弹性变形,压板7压紧力变大,按压块3与冲子5上端接触后,将其向下推出,冲子5下端的刃口对票据快速进行打孔操作,特别省力,操作简单,使用方便,松开手柄4后,复位弹簧9向上将冲子5顶起,同时将按压块3顶至原位;另外,冲子5做成这种可拆卸式结构,当其刃口磨损后,方便将其拆下进行打磨。In specific use, after stacking and arranging multiple bills, hold the bill with one hand and place it directly under the
需要说明的是,在本文中,术语“包括”、“包含”或者其任何其他变体意在涵盖非排他性的包含,从而使得包括一系列要素的过程、方法、物品或者设备不仅包括那些要素,而且还包括没有明确列出的其他要素,或者是还包括为这种过程、方法、物品或者设备所固有的要素。It should be noted that, herein, the terms "comprising", "comprising" or any other variation thereof are intended to encompass non-exclusive inclusion, such that a process, method, article or device comprising a series of elements includes not only those elements, It also includes other elements not expressly listed or inherent to such a process, method, article or apparatus.
本文中应用了具体个例对本实用新型的原理及实施方式进行了阐述,以上实例的说明只是用于帮助理解本实用新型的方法及其核心思想。以上所述仅是本实用新型的优选实施方式,应当指出,由于文字表达的有限性,而客观上存在无限的具体结构,对于本技术领域的普通技术人员来说,在不脱离本实用新型原理的前提下,还可以做出若干改进、润饰或变化,也可以将上述技术特征以适当的方式进行组合;这些改进润饰、变化或组合,或未经改进将实用新型的构思和技术方案直接应用于其它场合的,均应视为本实用新型的保护范围。The principles and implementations of the present invention are described herein by using specific examples, and the descriptions of the above examples are only used to help understand the method and the core idea of the present invention. The above are only the preferred embodiments of the present utility model. It should be pointed out that, due to the limited expression of words, there are objectively unlimited specific structures. For those of ordinary skill in the art, without departing from the principles of the present utility model. Under the premise, several improvements, modifications or changes can also be made, and the above-mentioned technical features can also be combined in an appropriate manner; these improvements, modifications or combinations, or the ideas and technical solutions of the utility model are directly applied without improvement. In other occasions, all should be regarded as the protection scope of the present invention.
Claims (5)
Priority Applications (1)
| Application Number | Priority Date | Filing Date | Title |
|---|---|---|---|
| CN201920848750.2U CN210148291U (en) | 2019-06-06 | 2019-06-06 | Push type bill perforating device |
Applications Claiming Priority (1)
| Application Number | Priority Date | Filing Date | Title |
|---|---|---|---|
| CN201920848750.2U CN210148291U (en) | 2019-06-06 | 2019-06-06 | Push type bill perforating device |
Publications (1)
| Publication Number | Publication Date |
|---|---|
| CN210148291U true CN210148291U (en) | 2020-03-17 |
Family
ID=69762058
Family Applications (1)
| Application Number | Title | Priority Date | Filing Date |
|---|---|---|---|
| CN201920848750.2U Expired - Fee Related CN210148291U (en) | 2019-06-06 | 2019-06-06 | Push type bill perforating device |
Country Status (1)
| Country | Link |
|---|---|
| CN (1) | CN210148291U (en) |
Cited By (1)
| Publication number | Priority date | Publication date | Assignee | Title |
|---|---|---|---|---|
| CN111842695A (en) * | 2020-07-09 | 2020-10-30 | 广东省工业设备安装有限公司 | Method for manufacturing gasket and opening tool of gasket |
-
2019
- 2019-06-06 CN CN201920848750.2U patent/CN210148291U/en not_active Expired - Fee Related
Cited By (1)
| Publication number | Priority date | Publication date | Assignee | Title |
|---|---|---|---|---|
| CN111842695A (en) * | 2020-07-09 | 2020-10-30 | 广东省工业设备安装有限公司 | Method for manufacturing gasket and opening tool of gasket |
Similar Documents
| Publication | Publication Date | Title |
|---|---|---|
| CN210148291U (en) | Push type bill perforating device | |
| CN204936547U (en) | A kind of reorganizer of accounting voucher binder | |
| CN207086664U (en) | A kind of hole punched device with compressing structure | |
| CN204322778U (en) | A kind of finance voucher finishing device | |
| CN108068166A (en) | A kind of high-efficiency rotating card punch | |
| CN211073727U (en) | Financial management is with wage list location cutting device | |
| CN209615698U (en) | A kind of safe punch for accounting voucher punching | |
| CN206367053U (en) | Many size automatic punching devices | |
| CN214419023U (en) | Bidding book binding equipment for engineering cost bidding | |
| CN110509351A (en) | Binding equipment and operation method for financial accounting and auditing | |
| CN210190000U (en) | Financial accounting file perforating device | |
| CN206748603U (en) | A kind of financial accounting puncher | |
| CN209831861U (en) | A new type of multipurpose manual punching pliers | |
| CN207784633U (en) | Work table for accounting | |
| CN202412970U (en) | Financial certificate binding machine | |
| CN219293125U (en) | A positioning tool for sheet metal processing | |
| CN217167506U (en) | Quick clamping device for machine manufacturing | |
| CN206983553U (en) | Accounting bookbinding platform | |
| CN206426198U (en) | A kind of efficient perforating device | |
| CN207105917U (en) | One kind has hole paper printed matter binding apparatus | |
| CN218112170U (en) | An automatic multi-hole wire binding file binding machine | |
| CN221892116U (en) | Punch pliers | |
| CN205853671U (en) | A workbench for a file binding machine | |
| CN209812511U (en) | Adjustable perforating device for animation | |
| CN219380873U (en) | Document binding device |
Legal Events
| Date | Code | Title | Description |
|---|---|---|---|
| GR01 | Patent grant | ||
| GR01 | Patent grant | ||
| CF01 | Termination of patent right due to non-payment of annual fee |
Granted publication date: 20200317 Termination date: 20210606 |
|
| CF01 | Termination of patent right due to non-payment of annual fee |
