CN209998043U - Oil pipe descaling device for oil field development - Google Patents
Oil pipe descaling device for oil field development Download PDFInfo
- Publication number
- CN209998043U CN209998043U CN201920832847.4U CN201920832847U CN209998043U CN 209998043 U CN209998043 U CN 209998043U CN 201920832847 U CN201920832847 U CN 201920832847U CN 209998043 U CN209998043 U CN 209998043U
- Authority
- CN
- China
- Prior art keywords
- descaling
- shaft
- block
- rotating shaft
- pipe
- Prior art date
- Legal status (The legal status is an assumption and is not a legal conclusion. Google has not performed a legal analysis and makes no representation as to the accuracy of the status listed.)
- Expired - Fee Related
Links
Images
Landscapes
- Electric Cable Installation (AREA)
Abstract
本实用新型公开了一种油田开发用的油管除垢装置,所述除垢装置包括管头固定座、管尾固定座、转轴、第一除垢块与第二除垢块,且管头固定座设置在管尾固定座的一侧,所述转轴设置在管头固定座靠近管尾固定座的一侧外表面,且第一除垢块设置在转轴的前端,所述第二除垢块设置在转轴的后端,且第一除垢块的外表面焊接有除垢刀片。本实用新型的有益效果是:能够直接将油管夹在装置之间对油管内壁进行除垢,省去了工作人员需要手拿除垢装置对油管内壁进行除垢的麻烦,也避免工作人员长时间握持除垢装置造成手部疼痛的情况发生,同时可以对装置进行调节能够对不同长度与直径的油管进行除垢,使得该装置的使用体验更好。
The utility model discloses an oil pipe descaling device for oilfield development. The descaling device comprises a pipe head fixing seat, a pipe tail fixing seat, a rotating shaft, a first descaling block and a second descaling block, and the pipe head is fixed The seat is arranged on one side of the pipe end fixing seat, the rotating shaft is arranged on the outer surface of the side of the pipe head fixing seat close to the pipe end fixing seat, and the first descaling block is arranged at the front end of the rotating shaft, and the second descaling block is arranged at the front end of the rotating shaft. It is arranged at the rear end of the rotating shaft, and a descaling blade is welded on the outer surface of the first descaling block. The beneficial effect of the utility model is that the oil pipe can be directly clamped between the devices to descale the inner wall of the oil pipe, which saves the trouble of the staff needing to hold the descaler device to descale the inner wall of the oil pipe, and also avoids the long time of the staff. Holding the descaling device causes hand pain, and at the same time, the device can be adjusted to descale oil pipes of different lengths and diameters, making the device experience better.
Description
技术领域technical field
本实用新型涉及一种油管除垢装置,具体为一种油田开发用的油管除垢装置,属于油管除垢装置应用技术领域。The utility model relates to an oil pipe descaling device, in particular to an oil pipe descaling device for oil field development, and belongs to the technical field of the application of the oil pipe descaling device.
背景技术Background technique
油管是油田开发过程中在钻探完成后将原油和天然气从油气层运输到地表的大型管道,它用以承受开采过程中产生的压力,油管在长时间输送油体后其内壁会产生污垢,所以工作人员也需要使用除垢装置定期对油管内壁进行除垢,保证油管能够更好的输送油体。The oil pipe is a large-scale pipeline that transports crude oil and natural gas from the oil and gas layer to the surface after the drilling is completed in the oilfield development process. It is used to withstand the pressure generated during the production process. The staff also needs to use the descaling device to descale the inner wall of the oil pipe regularly to ensure that the oil pipe can better transport the oil body.
但是现有的除垢装置在使用时需要工作人员用手握持柱装置的把手,将装置的除垢端伸进油管中对油管内壁进行除垢,装置在运行时除垢端会与油管内部发生碰撞产生震动,工作人员长时间握持装置时手部会因震动而麻木疼痛,并且现有的除垢装置为一体固定式的,不能够调节,无法对不同大小的油管进行除垢并且装置的除垢端无法更好的贴合在油管内壁会导致除垢效果较差,给该除垢装置的使用带来了一定的影响。However, when the existing descaling device is in use, the staff needs to hold the handle of the column device by hand, and extend the descaling end of the device into the oil pipe to remove the scale on the inner wall of the oil pipe. Vibration occurs when a collision occurs, and when the staff holds the device for a long time, the hands will be numb and painful due to the vibration, and the existing descaling device is integrated and fixed, which cannot be adjusted. The inability of the descaling end to fit better on the inner wall of the oil pipe will result in poor descaling effect, which will have a certain impact on the use of the descaling device.
实用新型内容Utility model content
本实用新型的目的可以通过以下技术方案实现:一种油田开发用的油管除垢装置,所述除垢装置包括管头固定座、管尾固定座、转轴、第一除垢块与第二除垢块,且管头固定座设置在管尾固定座的一侧,所述转轴设置在管头固定座靠近管尾固定座的一侧外表面,且第一除垢块设置在转轴的前端,所述第二除垢块设置在转轴的后端,且第一除垢块的外表面焊接有除垢刀片,所述第二除垢块的外表面固定安装有除垢刷毛,其中所述管头固定座的另一侧外表面固定安装有电机,所述管头固定座与管尾固定座相互靠近的一侧外表面均开设有插接槽,且插接槽的内部焊接有转轴安装座,所述转轴安装座的一侧外表面活动安装有轴承,且转轴与轴承固定连接,所述管头固定座与管尾固定座的上端外表面、前端外表面与后端外表面均开设有螺纹孔,且螺纹孔的内部螺纹连接有螺纹轴,所述螺纹轴的下端外表面焊接有弧形固定块,且螺纹轴的上端螺纹连接有第二紧固螺帽,所述第一除垢块与转轴之间和第二除垢块与转轴之间均焊接有连接杆,且第一除垢块与第二除垢块均通过连接杆和转轴固定连接。The purpose of the present utility model can be achieved through the following technical solutions: an oil pipe descaling device for oilfield development, the descaling device comprises a pipe head fixing seat, a pipe tail fixing seat, a rotating shaft, a first descaling block and a second descaling block and the pipe head fixing seat is arranged on one side of the pipe tail fixing seat, the rotating shaft is arranged on the outer surface of the side of the pipe head fixing seat close to the pipe tail fixing seat, and the first descaling block is arranged at the front end of the rotating shaft, The second descaling block is arranged at the rear end of the rotating shaft, and a descaling blade is welded on the outer surface of the first descaling block, and descaling bristles are fixedly installed on the outer surface of the second descaling block, wherein the pipe A motor is fixedly installed on the outer surface of the other side of the head fixing seat, the outer surface of the side of the tube head fixing seat and the tube tail fixing seat that are close to each other is provided with an insertion slot, and the inside of the insertion slot is welded with a rotating shaft mounting seat A bearing is movably installed on one outer surface of the rotating shaft mounting seat, and the rotating shaft is fixedly connected with the bearing. A threaded hole, and a threaded shaft is threaded inside the threaded hole, an arc-shaped fixing block is welded on the outer surface of the lower end of the threaded shaft, and a second fastening nut is threadedly connected to the upper end of the threaded shaft, and the first descaling A connecting rod is welded between the block and the rotating shaft and between the second descaling block and the rotating shaft, and the first descaling block and the second descaling block are fixedly connected through the connecting rod and the rotating shaft.
优选的,所述转轴包括第一轴体、第二轴体与调节轴,所述调节轴设置在第一轴体与第二轴体之间,且第一轴体的另一端与调节轴的一端焊接连接,所述调节轴的另一端贯穿设置在第二轴体的内部。Preferably, the rotating shaft includes a first shaft body, a second shaft body and an adjustment shaft, the adjustment shaft is arranged between the first shaft body and the second shaft body, and the other end of the first shaft body is in contact with the adjustment shaft. One end is welded and connected, and the other end of the adjusting shaft is disposed through the inside of the second shaft body.
优选的,所述调节轴与第二轴体的上端外表面均开设有第一固定孔,且第一固定孔的内部贯穿设置有第一固定轴,所述第一固定轴的上端与下端均螺纹连接有第一紧固螺帽。Preferably, a first fixing hole is formed on the outer surface of the upper end of the adjusting shaft and the second shaft body, and a first fixing shaft is arranged through the inside of the first fixing hole, and the upper end and the lower end of the first fixing shaft are both The screw connection is provided with a first fastening nut.
优选的,所述连接杆包括第一杆体、第二杆体与调节杆,所述调节杆设置在第一杆体与第二杆体之间,且第一杆体的另一端与调节杆的一端焊接连接,所述调节杆的另一端贯穿设置在第二杆体的内部。Preferably, the connecting rod includes a first rod body, a second rod body and an adjusting rod, the adjusting rod is arranged between the first rod body and the second rod body, and the other end of the first rod body is welded to one end of the adjusting rod, The other end of the adjusting rod is disposed through the inside of the second rod body.
优选的,所述调节杆与第二杆体的外表面均开设有第二固定孔,且第二固定孔的内部贯穿设置有第二固定轴。Preferably, a second fixing hole is formed on the outer surface of the adjusting rod and the second rod body, and a second fixing shaft is provided through the inside of the second fixing hole.
优选的,所述第一除垢块与第二除垢块均呈弧形状设置Preferably, the first descaling block and the second descaling block are both arranged in an arc shape
优选的,所述第一除垢块与第二除垢块的数量均若干组,且第一除垢块与第二除垢块均呈等距离分别设置在第二轴体的前端与后端。Preferably, the number of the first descaling block and the second descaling block are several groups, and the first descaling block and the second descaling block are arranged at the front end and the rear end of the second shaft body at an equal distance, respectively. .
与现有技术相比,本实用新型的有益效果是:Compared with the prior art, the beneficial effects of the present utility model are:
1、通过设置的除垢装置能够直接将油管夹持住对油管内壁进行除垢,省去了工作人员需要手拿除垢装置对油管内壁进行除垢的麻烦,也避免工作人员长时间握持除垢装置造成手部疼痛的情况发生,将油管的两端分别插接到管头固定座与管尾固定座中的插接槽内部,同时油管头两端也包裹在插接槽的内部焊接的转轴安装座外部,而转轴、第一除垢块与第二除垢块在油管的内部,工作人员拧转管头固定座与管尾固定座上端、前端与后端的三组螺纹轴使得三组弧形固定块分别贴向油管的上端,前端与后端将油管夹持住,再将电机通电运行通过轴承带动转轴、第一除垢块与第二除垢块转动使得第一除垢块上的除垢刀片与第二除垢块的除垢刷毛对油管内壁进行除垢,从而整个除垢过程不需要依赖人工,减轻了工作人员的工作量。1. Through the set descaling device, the oil pipe can be directly clamped to descale the inner wall of the oil pipe, which saves the trouble of the staff needing to use the descaling device to descale the inner wall of the oil pipe, and also avoids the staff holding it for a long time. In the case of hand pain caused by the descaling device, insert the two ends of the oil pipe into the insertion grooves in the pipe head holder and the pipe tail holder respectively. The shaft, the first descaling block and the second descaling block are inside the oil pipe. The staff turn the three sets of threaded shafts on the upper, front and rear ends of the pipe head fixing seat and the pipe tail fixing seat to make the three A set of arc-shaped fixing blocks are respectively attached to the upper end of the oil pipe, the front and rear ends of the oil pipe are clamped, and then the motor is energized to run through the bearing to drive the rotating shaft, the first descaling block and the second descaling block to rotate, so that the first descaling block rotates The descaling blade on the top and the descaling bristles of the second descaling block descale the inner wall of the oil pipe, so that the whole descaling process does not need to rely on manual work, which reduces the workload of the staff.
2、通过在第一除垢块的外表面焊接了除垢刀片,在第二除垢块的外表面固定安装了除垢刷毛,除垢刀片与除垢刷毛跟随着转轴转动对油管进行除垢,除垢刀片先对油管内壁的污垢进行刮除,其次除垢刷毛对污垢进行刷除,两者相互配合能够更好的对油管内壁的污垢进行清理,使得该除垢装置的除垢效果更好2. The descaling blade is welded on the outer surface of the first descaling block, and the descaling bristles are fixedly installed on the outer surface of the second descaling block. The descaling blade and the descaling bristles follow the rotation of the shaft to descale the oil pipe , the descaling blade first scrapes the dirt on the inner wall of the oil pipe, and then the descaling bristles brush off the dirt. The two cooperate with each other to better clean the dirt on the inner wall of the oil pipe, so that the descaling effect of the descaling device is better. it is good
3、通过设置的转轴其长度能够调节,同时也能够调节第一除垢块与转轴和第二除垢块与转轴之间的距离,从而能够根据油管的长度调整转轴的长度保证第一除垢块与第二除垢块在油管内部,避免因转轴过长使得第一除垢块与第二除垢块超出到油管外部,也能够根据油管的直径将第一除垢块与转轴和第二除垢块与转轴之间的距离调整适中使得除垢刀片与除垢刷毛贴合在油管内壁对油管内壁进行除垢,使得除垢装置的除垢效果更好,并且能够对不同长度与直径的油管进行除垢,使得除垢装置的使用更加广泛。3. The length of the rotating shaft can be adjusted, and at the same time, the distance between the first descaling block and the rotating shaft and the second descaling block and the rotating shaft can be adjusted, so that the length of the rotating shaft can be adjusted according to the length of the oil pipe to ensure the first descaling The block and the second descaling block are inside the oil pipe, to avoid the first and second descaling blocks protruding outside the oil pipe due to the excessively long rotating shaft. The distance between the descaling block and the rotating shaft is adjusted moderately so that the descaling blade and the descaling bristles are attached to the inner wall of the oil pipe to descale the inner wall of the oil pipe, which makes the descaling effect of the descaling device better, and can be used for different lengths and diameters. The oil pipe is descaled, making the descaler device more widely used.
附图说明Description of drawings
为了便于本领域技术人员理解,下面结合附图对本实用新型作进一步的说明。In order to facilitate the understanding of those skilled in the art, the present utility model will be further described below with reference to the accompanying drawings.
图1为本实用新型的整体结构示意图。FIG. 1 is a schematic diagram of the overall structure of the present invention.
图2为本实用新型的管头固定座与管尾固定座的剖面视图。2 is a cross-sectional view of the pipe head fixing seat and the pipe tail fixing seat of the present invention.
图3为本实用新型的第一轴体、第二轴体与调节轴的连接结构视图。3 is a view of the connection structure of the first shaft body, the second shaft body and the adjustment shaft of the present invention.
图4为本实用新型的第一杆体、第二杆体与调节杆的连接结构视图。4 is a view of the connection structure of the first rod body, the second rod body and the adjusting rod of the present invention.
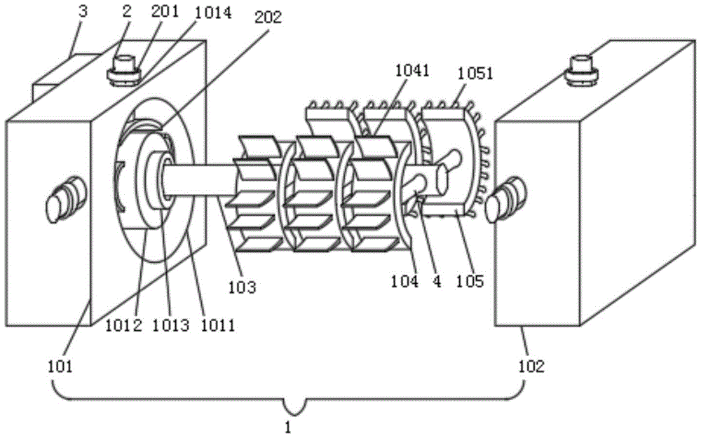
图中:1、除垢装置;101、管头固定座;1011、插接槽;1012、转轴安装座;1013、轴承;1014、螺纹孔;102、管尾固定座;103、转轴;1031、第一轴体;1032、第二轴体;1033、调节轴;1034、第一固定孔;1035、第一固定轴;1036、第一紧固螺帽;104、第一除垢块;1041、除垢刀片;105、第二除垢块;1051、除垢刷毛;2、螺纹轴;201、第二紧固螺帽;202、固定块;3、电机;4、连接杆;401、第一杆体;402、第二杆体;403、调节杆;404、第二固定孔;405、第二固定轴。In the figure: 1, descaling device; 101, pipe head fixing seat; 1011, inserting slot; 1012, rotating shaft mounting seat; 1013, bearing; 1014, threaded hole; 102, pipe end fixing seat; 103, rotating shaft; 1031, 1032, the second shaft body; 1033, the adjustment shaft; 1034, the first fixing hole; 1035, the first fixing shaft; 1036, the first fastening nut; 104, the first descaling block; 1041, Descaling blade; 105, second descaling block; 1051, descaling bristles; 2, threaded shaft; 201, second fastening nut; 202, fixing block; 3, motor; 4, connecting rod; 401, first Rod body; 402, second rod body; 403, adjusting rod; 404, second fixing hole; 405, second fixing shaft.
具体实施方式Detailed ways
下面将结合实施例对本实用新型的技术方案进行清楚、完整地描述,显然,所描述的实施例仅仅是本实用新型一部分实施例,而不是全部的实施例。基于本实用新型中的实施例,本领域普通技术人员在没有作出创造性劳动前提下所获得的所有其它实施例,都属于本实用新型保护的范围。The technical solutions of the present invention will be clearly and completely described below with reference to the embodiments. Obviously, the described embodiments are only a part of the embodiments of the present invention, rather than all the embodiments. Based on the embodiments of the present invention, all other embodiments obtained by those of ordinary skill in the art without creative work fall within the protection scope of the present invention.
请参阅图1-4所示,一种油田开发用的油管除垢装置,除垢装置1包括管头固定座101、管尾固定座102、转轴103、第一除垢块104与第二除垢块105,且管头固定座101设置在管尾固定座102的一侧,转轴103设置在管头固定座101靠近管尾固定座102的一侧外表面,且第一除垢块104设置在转轴103的前端,第二除垢块105设置在转轴103的后端,且第一除垢块104的外表面焊接有除垢刀片1041,第二除垢块105的外表面固定安装有除垢刷毛1051,其中管头固定座101的另一侧外表面固定安装有电机3,电机3通电运行后能够通过轴承1013带动转轴103、第一除垢块104与第二除垢块105转动使得除垢刀片1041与除垢刷毛1051对油管内壁进行除垢,管头固定座101与管尾固定座102相互靠近的一侧外表面均开设有插接槽1011,插接槽1011用来插接油管,使得油管两端分别与管头固定座101与管尾固定座102连接,且插接槽1011的内部焊接有转轴安装座1012,转轴安装座1012的一侧外表面活动安装有轴承1013,且转轴103与轴承1013固定连接,管头固定座101与管尾固定座102的上端外表面、前端外表面与后端外表面均开设有螺纹孔1014,且螺纹孔1014的内部螺纹连接有螺纹轴2,螺纹轴2的下端外表面焊接有弧形固定块202,拧转螺纹轴2可以使得弧形固定块202抵在油管的外表面对油管进行固定,且螺纹轴2的上端螺纹连接有第二紧固螺帽201,第二紧固螺帽201能够使得螺纹轴2固定在螺纹孔1014中,从而使得弧形固定块202更稳定的将油管固定住,第一除垢块104与转轴103之间和第二除垢块105与转轴103之间均焊接有连接杆4,且第一除垢块104与第二除垢块105均通过连接杆4和转轴103固定连接。Please refer to FIGS. 1-4 , an oil pipe descaling device for oilfield development. The descaling device 1 includes a pipe
作为本实用新型的一种技术优化方案,转轴103包括第一轴体1031、第二轴体1032与调节轴1033,调节轴1033设置在第一轴体1031与第二轴体1032之间,且第一轴体1031的另一端与调节轴1033的一端焊接连接,调节轴1033的另一端贯穿设置在第二轴体1032的内部。As a technical optimization solution of the present invention, the rotating
作为本实用新型的一种技术优化方案,调节轴1033与第二轴体1032的上端外表面均开设有第一固定孔1034,且第一固定孔1034的内部贯穿设置有第一固定轴1035,将第一固定轴1035拧进第一固定孔1034中可以将第二轴体1032与调节轴1033固定住,第一固定轴1035的上端与下端均螺纹连接有第一紧固螺帽1036,拧进第一紧固螺帽1036能够使得第一固定轴1035更加稳定的将第二轴体1032与调节轴1033固定住。As a technical optimization solution of the present invention, first fixing holes 1034 are formed on the outer surfaces of the upper ends of the adjusting shaft 1033 and the second shaft body 1032, and a first fixing shaft 1035 is provided through the inside of the first fixing hole 1034, The second shaft body 1032 and the adjusting shaft 1033 can be fixed by screwing the first fixing shaft 1035 into the first fixing hole 1034. The upper end and the lower end of the first fixing shaft 1035 are both threadedly connected with a first tightening nut 1036. Inserting the first fastening nut 1036 can make the first fixing shaft 1035 more stably fix the second shaft body 1032 and the adjusting shaft 1033 .
作为本实用新型的一种技术优化方案,连接杆4包括第一杆体401、第二杆体402与调节杆403,调节杆403设置在第一杆体401与第二杆体402之间,且第一杆体401的另一端与调节杆403的一端焊接连接,调节杆403的另一端贯穿设置在第二杆体402的内部。As a technical optimization solution of the present invention, the connecting rod 4 includes a
作为本实用新型的一种技术优化方案,调节杆403与第二杆体402的外表面均开设有第二固定孔404,且第二固定孔404的内部贯穿设置有第二固定轴405,将第二固定轴405拧进第二固定孔404中即可将调节杆403与第二杆体402固定住。As a technical optimization solution of the present invention, the outer surfaces of the adjusting
作为本实用新型的一种技术优化方案,第一除垢块104与第二除垢块105均呈弧形状设置,能够使得第一除垢块104上的除垢刀片1041与第二除垢块105与除垢刷毛1051更好的贴合在油管内壁。As a technical optimization solution of the present invention, the
作为本实用新型的一种技术优化方案,第一除垢块104与第二除垢块105的数量均若干组,且第一除垢块104与第二除垢块105均呈等距离分别设置在第二轴体1032的前端与后端。As a technical optimization scheme of the present invention, the number of the
本实用新型在使用时,首先工作人员根据油管的长度调整转轴103的长度,工作人员左右移动第二轴体1032调整其与调节轴1033之间的距离即可加长或者缩短转轴103的长度,调整好后将第一固定轴1035拧进第一固定孔1034中,再拧紧第一紧固螺帽1036将第二轴体1032与调节轴1033固定起来,再根据油管的直径调整第一除垢块104与转轴103和第二除垢块105与转轴103之间的距离,使得除垢刀片1041与除垢刷毛1051更好的贴合在油管内壁对油管进行除垢,调整时工作人员前后拉动调节杆403调整其与第二杆体402之间的距离即可加长或者缩短连接杆4的长度,调整好连接杆4的长度后,将第二固定轴405拧进第二固定孔404中将调节杆403与第二杆体402固定起来,其次工作人员将油管的两端分别插接到管头固定座101与管尾固定座102中的插接槽1011内部,同时油管头两端也包裹在插接槽1011的内部焊接的转轴安装座1012外部,而转轴103、第一除垢块104与第二除垢块105在油管的内部,工作人员拧转管头固定座101与管尾固定座102上端、前端与后端的三组螺纹轴2使得三组弧形固定块202分别贴向油管的上端,前端与后端将油管夹持住,再将电机3通电运行通过轴承1013带动转轴103、第一除垢块104与第二除垢块105转动使得第一除垢块104上的除垢刀片1041与第二除垢块105的除垢刷毛1051对油管内壁进行除垢,除垢刀片1041先对油管内壁的污垢进行刮除,除垢刷毛1051再对污垢进行刷除,两者相互配合能够更好的对油管内壁的污垢进行清理。When the utility model is in use, firstly, the staff adjusts the length of the rotating
以上公开的本实用新型优选实施例只是用于帮助阐述本实用新型。优选实施例并没有详尽叙述所有的细节,也不限制该实用新型仅为的具体实施方式。显然,根据本说明书的内容,可作很多的修改和变化。本说明书选取并具体描述这些实施例,是为了更好地解释本实用新型的原理和实际应用,从而使所属技术领域技术人员能很好地理解和利用本实用新型。本实用新型仅受权利要求书及其全部范围和等效物的限制。The preferred embodiments of the present invention disclosed above are only used to help illustrate the present invention. The preferred embodiments do not exhaustively describe all the details, nor do they limit the invention to specific embodiments only. Obviously, many modifications and variations are possible in light of the content of this specification. This specification selects and specifically describes these embodiments in order to better explain the principle and practical application of the present invention, so that those skilled in the art can well understand and utilize the present invention. The present invention is limited only by the claims and their full scope and equivalents.
Claims (7)
Priority Applications (1)
| Application Number | Priority Date | Filing Date | Title |
|---|---|---|---|
| CN201920832847.4U CN209998043U (en) | 2019-06-04 | 2019-06-04 | Oil pipe descaling device for oil field development |
Applications Claiming Priority (1)
| Application Number | Priority Date | Filing Date | Title |
|---|---|---|---|
| CN201920832847.4U CN209998043U (en) | 2019-06-04 | 2019-06-04 | Oil pipe descaling device for oil field development |
Publications (1)
| Publication Number | Publication Date |
|---|---|
| CN209998043U true CN209998043U (en) | 2020-01-31 |
Family
ID=69308944
Family Applications (1)
| Application Number | Title | Priority Date | Filing Date |
|---|---|---|---|
| CN201920832847.4U Expired - Fee Related CN209998043U (en) | 2019-06-04 | 2019-06-04 | Oil pipe descaling device for oil field development |
Country Status (1)
| Country | Link |
|---|---|
| CN (1) | CN209998043U (en) |
Cited By (2)
| Publication number | Priority date | Publication date | Assignee | Title |
|---|---|---|---|---|
| CN111186918A (en) * | 2020-02-17 | 2020-05-22 | 罗光政 | Adjustable turbulence scale inhibitor and scale inhibition method |
| CN114542014A (en) * | 2022-01-26 | 2022-05-27 | 浙江义乌龙祥机械设备有限公司 | Descaling and antiscaling device |
-
2019
- 2019-06-04 CN CN201920832847.4U patent/CN209998043U/en not_active Expired - Fee Related
Cited By (3)
| Publication number | Priority date | Publication date | Assignee | Title |
|---|---|---|---|---|
| CN111186918A (en) * | 2020-02-17 | 2020-05-22 | 罗光政 | Adjustable turbulence scale inhibitor and scale inhibition method |
| CN111186918B (en) * | 2020-02-17 | 2024-02-20 | 罗光政 | Adjustable turbulence scale inhibitor and scale inhibition method |
| CN114542014A (en) * | 2022-01-26 | 2022-05-27 | 浙江义乌龙祥机械设备有限公司 | Descaling and antiscaling device |
Similar Documents
| Publication | Publication Date | Title |
|---|---|---|
| CN205146813U (en) | Pipeline cleaner | |
| CN209998043U (en) | Oil pipe descaling device for oil field development | |
| CN205949419U (en) | Ring type oil tube outer wall cleaning brush | |
| CA2625432C (en) | Pipe cleaner | |
| CN102293511A (en) | Radian-adjustable paint brush | |
| CN217191403U (en) | A cleaning device for mechanical parts | |
| CN103721985A (en) | Pipeline cleaning device | |
| CN203566581U (en) | Sleeve wrench for disassembling and installing basin-type water faucet | |
| CN204843789U (en) | Inside deruster of pipeline | |
| CN214767546U (en) | Scale cleaning device for heating and ventilation pipeline | |
| CN210847508U (en) | Cleaning device for automobile ventilation duct | |
| CN209999109U (en) | Three-section type water-stopping screw rubber head dismantling tool | |
| CN103721984A (en) | Pay-off box of pipeline cleaning device | |
| CN207681129U (en) | A kind of oil extraction pipeline descaler | |
| CN100589930C (en) | A device for removing burrs on the end face and inner edge of metal round pipes | |
| CN104511460A (en) | Tube automatic screw-in cleaning machine | |
| CN214441546U (en) | Special-shaped pipeline cleaning device for single crystal furnace | |
| CN221602728U (en) | Conditioning circulating pipeline cleaning equipment | |
| CN209476516U (en) | A spray gun for cleaning the inner wall of seamless steel pipe | |
| CN210532416U (en) | Mechanical cleaning machine for boiler pipeline dirt | |
| CN222369855U (en) | An electric tool for cleaning the inside of a steel cylinder concrete pipe | |
| CN209665050U (en) | A brush device for grinding the inner wall of a slender metal pipe | |
| CN211330608U (en) | Short pipe internal cleaning device | |
| CN207086484U (en) | A kind of tubular heat exchanger Special cleaning tool | |
| CN220955514U (en) | Underground variable-diameter deformed sleeve shaper |
Legal Events
| Date | Code | Title | Description |
|---|---|---|---|
| GR01 | Patent grant | ||
| GR01 | Patent grant | ||
| CF01 | Termination of patent right due to non-payment of annual fee |
Granted publication date: 20200131 Termination date: 20200604 |
|
| CF01 | Termination of patent right due to non-payment of annual fee |
