CN209949715U - Double-panel integrated cabinet - Google Patents
Double-panel integrated cabinet Download PDFInfo
- Publication number
- CN209949715U CN209949715U CN201821832279.XU CN201821832279U CN209949715U CN 209949715 U CN209949715 U CN 209949715U CN 201821832279 U CN201821832279 U CN 201821832279U CN 209949715 U CN209949715 U CN 209949715U
- Authority
- CN
- China
- Prior art keywords
- double
- casing
- fixedly connected
- panel
- sliding
- Prior art date
- Legal status (The legal status is an assumption and is not a legal conclusion. Google has not performed a legal analysis and makes no representation as to the accuracy of the status listed.)
- Expired - Fee Related
Links
Images
Landscapes
- Cooling Or The Like Of Electrical Apparatus (AREA)
Abstract
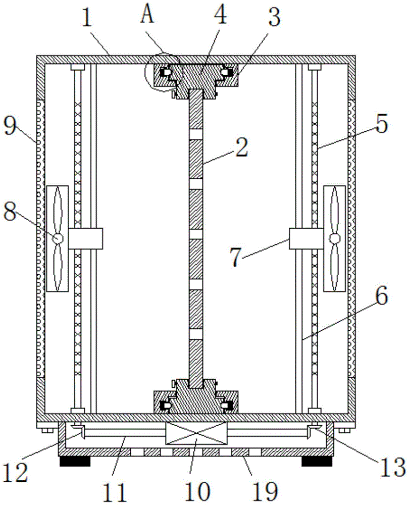
本实用新型公开了双面板集成化机箱,包括壳体和设置于壳体内部的双面板,壳体的上下两个内侧壁均固定设有滑轨,两个滑轨的内部均滑动连接有第一滑块,两个第一滑块相对的两端均开设有双面板相匹配的安装槽并通过第一螺栓与双面板固定连接,壳体的内部设有两组竖直设置的往复丝杆和滑杆,两个往复丝杆的上下两端均通过滚动轴承与壳体转动连接,两个滑杆的两端均与壳体固定连接,两个往复丝杆的杆壁均活动套接有丝杆螺母,两个丝杆螺母均通过通孔分别与两个滑杆滑动连接。本实用新型能够有效的对机箱的内部进行散热,且散热效率高,还便于将双面从机箱的内部移出,便于对双面板的两面进行维修,便于人们使用。
The utility model discloses a double-panel integrated case, which comprises a casing and a double-panel arranged inside the casing. The upper and lower inner side walls of the casing are fixedly provided with sliding rails, and the interiors of the two sliding rails are slidably connected with a first A sliding block, the opposite ends of the two first sliding blocks are provided with installation grooves that match the double panels and are fixedly connected to the double panels through first bolts, and two sets of vertically arranged reciprocating screw rods are arranged inside the casing The upper and lower ends of the two reciprocating screw rods are rotatably connected to the housing through rolling bearings, both ends of the two sliding rods are fixedly connected to the housing, and the rod walls of the two reciprocating screw rods are movably sleeved with wires A rod nut, the two lead screw nuts are both slidably connected to the two sliding rods through the through holes. The utility model can effectively dissipate heat to the inside of the case, and has high heat dissipation efficiency, and is convenient for removing both sides from the inside of the case, facilitating maintenance on both sides of the double-sided panel, and being convenient for people to use.
Description
技术领域technical field
本实用新型涉及机箱技术领域,尤其涉及双面板集成化机箱。The utility model relates to the technical field of chassis, in particular to a double-panel integrated chassis.
背景技术Background technique
双面板是印刷线路板即PCB里的二层板的简称,正面和反面都布置线路,且两面线路通过过孔传电路,因此它一般运用在电源上,如电器电源,LED驱动,数据传输,等等。Double-sided is the abbreviation of printed circuit board, that is, the two-layer board in the PCB. The front and back sides are arranged with lines, and the circuits on both sides pass through the via holes, so it is generally used in power supplies, such as electrical power supplies, LED drivers, data transmission, and many more.
随着计算机的功能增加,PCB板上的线路也越来越多,单面板已经不能所有线路走线,因此人们研发了双面板,在计算机机箱中使用双面板进行走线,但是双面板机箱在使用时,会产生更多的热量,容易影响计算机运行,且双面板表面元件损坏后不容易维修,因此提出双面板集成化机箱。With the increase of computer functions, there are more and more lines on the PCB board. The single-panel can no longer run all the lines. Therefore, people have developed a double-panel and use the double-panel for wiring in the computer case. However, the double-panel chassis is in the During use, more heat will be generated, which will easily affect the operation of the computer, and it is not easy to repair after the double-panel surface components are damaged. Therefore, a double-panel integrated chassis is proposed.
实用新型内容Utility model content
本实用新型的目的是为了解决现有技术中双面板机箱在使用时,会产生更多的热量,容易影响计算机运行,且双面板表面元件损坏后不容易维修的问题,而提出的双面板集成化机箱。The purpose of this utility model is to solve the problems in the prior art that when the double-panel case is in use, more heat is generated, which easily affects the operation of the computer, and the double-panel surface components are not easy to be repaired after being damaged. The proposed double-panel integrated chassis.
为了实现上述目的,本实用新型采用了如下技术方案:In order to achieve the above-mentioned purpose, the utility model adopts the following technical solutions:
双面板集成化机箱,包括壳体和设置于壳体内部的双面板,所述壳体的上下两个内侧壁均固定设有滑轨,两个所述滑轨的内部均滑动连接有第一滑块,两个所述第一滑块相对的两端均开设有双面板相匹配的安装槽并通过第一螺栓与双面板固定连接,所述壳体的内部设有两组竖直设置的往复丝杆和滑杆,两个所述往复丝杆的上下两端均通过滚动轴承与壳体转动连接,两个所述滑杆的两端均与壳体固定连接,两个所述往复丝杆的杆壁均活动套接有丝杆螺母,两个所述丝杆螺母均通过通孔分别与两个滑杆滑动连接,两个所述丝杆螺母相反的两端均固定连接有风扇,所述壳体的左右两个侧壁均开设有散热口,两个所述散热口的内部均固定设有防尘网,所述壳体的底部固定设有双轴电机,所述双轴电机的两个输出端均通过联轴器转动连接有转杆,两个所述转杆相反的两端均固定连接有第一锥齿轮,两个所述往复丝杆的下端均贯穿壳体的下侧壁并固定连接有第二锥齿轮,两个所述第一锥齿轮分别与两个第二锥齿轮啮合连接,所述壳体的背面开设有开口,所述开口的内部设有挡板,所述开口的内侧壁开设与挡板相匹配的第一滑槽,所述挡板通过第一滑槽与壳体滑动连接。A double-panel integrated chassis includes a casing and a double-sided panel disposed inside the casing. The upper and lower inner side walls of the casing are fixedly provided with slide rails, and the interiors of the two slide rails are slidably connected with a first The sliding block, the opposite ends of the two first sliding blocks are provided with installation grooves that match the double panels and are fixedly connected with the double panels through the first bolts, and two sets of vertically arranged A reciprocating screw rod and a sliding rod, the upper and lower ends of the two reciprocating screw rods are rotatably connected to the housing through rolling bearings, the two ends of the two sliding rods are fixedly connected to the housing, and the two reciprocating screw rods are connected to the housing. Both the rod walls are movably sleeved with screw nuts, the two screw nuts are both slidably connected to the two sliding rods through the through holes, and the opposite ends of the two screw nuts are fixedly connected with a fan, so The left and right side walls of the housing are provided with cooling vents, the interiors of the two cooling vents are fixedly provided with dust-proof nets, and the bottom of the housing is fixedly provided with a dual-axis motor, and the The two output ends are rotatably connected with a rotating rod through a coupling, the opposite ends of the two rotating rods are fixedly connected with a first bevel gear, and the lower ends of the two reciprocating screw rods penetrate through the lower side of the casing The wall is fixedly connected with a second bevel gear, the two first bevel gears are meshed with the two second bevel gears respectively, the back of the housing is provided with an opening, and the interior of the opening is provided with a baffle plate, so The inner side wall of the opening is provided with a first chute matching the baffle, and the baffle is slidably connected to the housing through the first chute.
优选的,所述壳体的底部四角处均固定连接有支撑脚,所述支撑脚的底部固定设有防滑垫。Preferably, the four corners of the bottom of the casing are fixedly connected with supporting feet, and the bottom of the supporting feet is fixedly provided with anti-skid pads.
优选的,所述双面板的表面开设有多个均匀分布的通风孔。Preferably, a plurality of evenly distributed ventilation holes are formed on the surface of the double-sided panel.
优选的,所述滑轨的内部两侧均开设有凹槽,所述凹槽的内部活动设有限位块,所述限位块位于凹槽内部的一端固定连接有弹簧,所述限位块位于凹槽外部的一端为弧形设置,所述第一滑块的侧壁开设有与限位块相匹配的弧形槽。Preferably, grooves are provided on both sides of the inside of the slide rail, a limit block is movably provided inside the groove, and one end of the limit block located inside the groove is fixedly connected with a spring, and the limit block is fixedly connected with a spring. The end located outside the groove is arranged in an arc shape, and the side wall of the first sliding block is provided with an arc groove matching the limit block.
优选的,所述限位块的侧壁位于凹槽内部的一端固定连接有两个对称分布的第二滑块,所述凹槽的侧壁开设有与第二滑块相匹配的第二滑槽。Preferably, two symmetrically distributed second sliding blocks are fixedly connected to one end of the side wall of the limiting block inside the groove, and the side wall of the groove is provided with a second sliding block matching the second sliding block. groove.
优选的,所述壳体的底部设有保护壳,所述保护壳通过第二螺栓与壳体固定连接,所述双轴电机、转杆、第一锥齿轮及第二锥齿轮均位于保护壳的内部设置,所述保护壳的底部开设有多个均匀分布的散热孔。Preferably, the bottom of the casing is provided with a protective casing, the protective casing is fixedly connected to the casing through a second bolt, and the biaxial motor, the rotating rod, the first bevel gear and the second bevel gear are all located in the protective casing The bottom of the protective shell is provided with a plurality of evenly distributed heat dissipation holes.
与现有技术相比,本实用新型提供了双面板集成化机箱,具备以下有益效果:Compared with the prior art, the utility model provides a double-panel integrated chassis, which has the following beneficial effects:
1、该双面板集成化机箱,通过设有的风扇能够将壳体内部的热空气吸出,通过设有双轴电机能够带动两个转杆旋转,两个转杆分别能够带动两个第一锥齿轮旋转,两个第一锥齿轮分别能够带动两个第二锥齿轮旋转,两个第二锥齿轮旋转分别能够带动两个往复丝杆旋转,两个往复丝杆旋转分别能够带动两个丝杆螺母上下往复移动,两个丝杆螺母分别能够带动两个风扇上下往复移动,从而能够增大两个风扇的散热范围,提高散热效率。1. The double-panel integrated chassis can suck out the hot air inside the casing through the fan provided, and can drive the two rotating rods to rotate through the double-axis motor, and the two rotating rods can respectively drive the two first cones. When the gear rotates, the two first bevel gears can respectively drive the two second bevel gears to rotate, the two second bevel gears can respectively drive the two reciprocating screw rods to rotate, and the two reciprocating screw rods can respectively drive the two screw rods to rotate. The nut moves up and down reciprocatingly, and the two screw nuts can drive the two fans to move up and down respectively, thereby increasing the heat dissipation range of the two fans and improving the heat dissipation efficiency.
2、该双面板集成化机箱,通过设有的滑轨与第一滑块能够将双面板从壳体的内部移出,从而便于对双面板的两面进行维修,通过设有的弹簧能够对限位块施加弹力,将限位块插入第一滑块上的弧形槽中,从而能够对第一滑块施加压力,避免第一滑块带动双面板随意晃动。2. The double-panel integrated chassis can remove the double-panel from the inside of the casing through the provided slide rail and the first sliding block, so as to facilitate the maintenance of both sides of the double-panel, and the provided spring can limit the position The elastic force is applied to the block, and the limit block is inserted into the arc groove on the first sliding block, so as to exert pressure on the first sliding block and prevent the first sliding block from driving the double-sided panel to shake at will.
该装置中未涉及部分均与现有技术相同或可采用现有技术加以实现,本实用新型能够有效的对机箱的内部进行散热,且散热效率高,还便于将双面从机箱的内部移出,便于对双面板的两面进行维修,便于人们使用。The parts not involved in the device are the same as the existing technology or can be realized by using the existing technology. The utility model can effectively dissipate heat to the inside of the case, and has high heat dissipation efficiency, and it is also convenient to remove the two sides from the inside of the case. It is convenient to carry out maintenance on both sides of the double-sided panel, and it is convenient for people to use.
附图说明Description of drawings
图1为本实用新型提出的双面板集成化机箱的结构示意图;1 is a schematic structural diagram of a double-panel integrated chassis proposed by the present invention;
图2为本实用新型提出的双面板集成化机箱侧面的结构示意图;Fig. 2 is the structural schematic diagram of the side surface of the double-panel integrated chassis proposed by the utility model;
图3为图1中A部分的结构放大图。FIG. 3 is an enlarged view of the structure of part A in FIG. 1 .
图中:1壳体、2双面板、3滑轨、4第一滑块、5往复丝杆、6滑杆、7丝杆螺母、8风扇、9防尘网、10双轴电机、11转杆、12第一锥齿轮、13第二锥齿轮、14挡板、15支撑脚、16限位块、17弹簧、18第二滑块、19保护壳。In the picture: 1 shell, 2 double panels, 3 slide rails, 4 first sliders, 5 reciprocating screws, 6 slide rods, 7 screw nuts, 8 fans, 9 dust filters, 10 dual-axis motors, 11 turns Rod, 12 first bevel gear, 13 second bevel gear, 14 baffle plate, 15 support foot, 16 limit block, 17 spring, 18 second slider, 19 protective shell.
具体实施方式Detailed ways
下面将结合本实用新型实施例中的附图,对本实用新型实施例中的技术方案进行清楚、完整地描述,显然,所描述的实施例仅仅是本实用新型一部分实施例,而不是全部的实施例。The technical solutions in the embodiments of the present utility model will be clearly and completely described below with reference to the accompanying drawings in the embodiments of the present utility model. Obviously, the described embodiments are only a part of the embodiments of the present utility model, rather than all the implementations. example.
在本实用新型的描述中,需要理解的是,术语“上”、“下”、“前”、“后”、“左”、“右”、“顶”、“底”、“内”、“外”等指示的方位或位置关系为基于附图所示的方位或位置关系,仅是为了便于描述本实用新型和简化描述,而不是指示或暗示所指的装置或元件必须具有特定的方位、以特定的方位构造和操作,因此不能理解为对本实用新型的限制。In the description of the present invention, it should be understood that the terms "upper", "lower", "front", "rear", "left", "right", "top", "bottom", "inside", The orientation or positional relationship indicated by "outside" is based on the orientation or positional relationship shown in the accompanying drawings, which is only for the convenience of describing the present invention and simplifying the description, rather than indicating or implying that the indicated device or element must have a specific orientation , are constructed and operated in a specific orientation, and therefore should not be construed as a limitation of the present invention.
参照图1-3,双面板集成化机箱,包括壳体1和设置于壳体1内部的双面板2,壳体1的上下两个内侧壁均固定设有滑轨3,两个滑轨3的内部均滑动连接有第一滑块4,两个第一滑块4相对的两端均开设有双面板2相匹配的安装槽并通过第一螺栓与双面板2固定连接,滑轨3的内部两侧均开设有凹槽,凹槽的内部活动设有限位块16,限位块16位于凹槽内部的一端固定连接有弹簧17,限位块16位于凹槽外部的一端为弧形设置,第一滑块的侧壁开设有与限位块16相匹配的弧形槽,弹簧17能够对限位块16施加弹力,将限位块16插入第一滑块4上的弧形槽中,从而能够对第一滑块4施加压力,避免第一滑块4带动双面板2随意晃动,限位块16的侧壁位于凹槽内部的一端固定连接有两个对称分布的第二滑块18,凹槽的侧壁开设有与第二滑块18相匹配的第二滑槽,能够使限位块16移动时更加稳定和灵活,壳体1的内部设有两组竖直设置的往复丝杆5和滑杆6,两个往复丝杆5的上下两端均通过滚动轴承与壳体1转动连接,两个滑杆6的两端均与壳体1固定连接,两个往复丝杆5的杆壁均活动套接有丝杆螺母7,两个丝杆螺母7均通过通孔分别与两个滑杆6滑动连接,两个丝杆螺母7相反的两端均固定连接有风扇8,壳体1的左右两个侧壁均开设有散热口,两个散热口的内部均固定设有防尘网9,双面板2的表面开设有多个均匀分布的通风孔,便于空气流动,便于提高散热效率,壳体1的底部固定设有双轴电机10,双轴电机10的两个输出端均通过联轴器转动连接有转杆11,两个转杆11相反的两端均固定连接有第一锥齿轮12,两个往复丝杆5的下端均贯穿壳体1的下侧壁并固定连接有第二锥齿轮13,两个第一锥齿轮12分别与两个第二锥齿轮13啮合连接,壳体1的底部设有保护壳19,保护壳19通过第二螺栓与壳体1固定连接,双轴电机10、转杆11、第一锥齿轮12及第二锥齿轮13均位于保护壳19的内部设置,能够对双轴电机10、转杆11、第一锥齿轮12及第二锥齿轮13进行保护,保护壳19的底部开设有多个均匀分布的散热孔,便于双轴电机10工作时散热,壳体1的背面开设有开口,开口的内部设有挡板14,开口的内侧壁开设与挡板14相匹配的第一滑槽,挡板14通过第一滑槽与壳体1滑动连接,壳体1的底部四角处均固定连接有支撑脚15,支撑脚15的底部固定设有防滑垫,能够对壳体1进行支撑,提高机箱的稳定性,双轴电机10和风扇8均通过控制开关与外部电源电性连接,此为现有技术。1-3, a double-panel integrated chassis includes a
本实用新型中,使用时,通过设有的风扇8将壳体1内部的热空气吸出,通过设有双轴电机10带动两个转杆11旋转,两个转杆11分别带动两个第一锥齿轮12旋转,两个第一锥齿轮12分别带动两个第二锥齿轮13旋转,两个第二锥齿轮13旋转分别带动两个往复丝杆5旋转,两个往复丝杆5旋转分别带动两个丝杆螺母7上下往复移动,两个丝杆螺母7分别带动两个风扇8上下往复移动,从而增大两个风扇8的散热范围,提高散热效率,通过设有的滑轨3与第一滑块4将双面板2从壳体1的内部移出,从而便于对双面板2的两面进行维修,通过设有的弹簧17对限位块16施加弹力,将限位块16插入第一滑块4上的弧形槽中,从而对第一滑块4施加压力,避免第一滑块4带动双面板2随意晃动。In the utility model, when in use, the hot air inside the
以上所述,仅为本实用新型较佳的具体实施方式,但本实用新型的保护范围并不局限于此,任何熟悉本技术领域的技术人员在本实用新型揭露的技术范围内,根据本实用新型的技术方案及其实用新型构思加以等同替换或改变,都应涵盖在本实用新型的保护范围之内。The above description is only a preferred embodiment of the present invention, but the protection scope of the present invention is not limited to this. Equivalent replacement or modification of the new technical solution and its utility model concept shall be included within the protection scope of the present utility model.
Claims (6)
Priority Applications (1)
| Application Number | Priority Date | Filing Date | Title |
|---|---|---|---|
| CN201821832279.XU CN209949715U (en) | 2018-11-08 | 2018-11-08 | Double-panel integrated cabinet |
Applications Claiming Priority (1)
| Application Number | Priority Date | Filing Date | Title |
|---|---|---|---|
| CN201821832279.XU CN209949715U (en) | 2018-11-08 | 2018-11-08 | Double-panel integrated cabinet |
Publications (1)
| Publication Number | Publication Date |
|---|---|
| CN209949715U true CN209949715U (en) | 2020-01-14 |
Family
ID=69118173
Family Applications (1)
| Application Number | Title | Priority Date | Filing Date |
|---|---|---|---|
| CN201821832279.XU Expired - Fee Related CN209949715U (en) | 2018-11-08 | 2018-11-08 | Double-panel integrated cabinet |
Country Status (1)
| Country | Link |
|---|---|
| CN (1) | CN209949715U (en) |
Cited By (4)
| Publication number | Priority date | Publication date | Assignee | Title |
|---|---|---|---|---|
| CN111130312A (en) * | 2020-01-16 | 2020-05-08 | 安徽成业电子科技有限公司 | Switching power supply device and control method thereof |
| CN113194679A (en) * | 2021-04-22 | 2021-07-30 | 上海四卜格网络科技有限公司 | Heat dissipation device based on big data processing process |
| CN114340286A (en) * | 2021-12-30 | 2022-04-12 | 江西威尔高电子股份有限公司 | Double-sided circuit board for communication |
| CN114483293A (en) * | 2021-09-02 | 2022-05-13 | 广州盛康动力设备有限公司 | Diesel engine generator set with efficient cooling device |
-
2018
- 2018-11-08 CN CN201821832279.XU patent/CN209949715U/en not_active Expired - Fee Related
Cited By (6)
| Publication number | Priority date | Publication date | Assignee | Title |
|---|---|---|---|---|
| CN111130312A (en) * | 2020-01-16 | 2020-05-08 | 安徽成业电子科技有限公司 | Switching power supply device and control method thereof |
| CN113194679A (en) * | 2021-04-22 | 2021-07-30 | 上海四卜格网络科技有限公司 | Heat dissipation device based on big data processing process |
| CN113194679B (en) * | 2021-04-22 | 2022-09-13 | 上海四卜格网络科技有限公司 | Heat dissipation device based on big data processing process |
| CN114483293A (en) * | 2021-09-02 | 2022-05-13 | 广州盛康动力设备有限公司 | Diesel engine generator set with efficient cooling device |
| CN114340286A (en) * | 2021-12-30 | 2022-04-12 | 江西威尔高电子股份有限公司 | Double-sided circuit board for communication |
| CN114340286B (en) * | 2021-12-30 | 2024-05-10 | 江西威尔高电子股份有限公司 | Double-sided circuit board for communication |
Similar Documents
| Publication | Publication Date | Title |
|---|---|---|
| CN209949715U (en) | Double-panel integrated cabinet | |
| WO2021000602A1 (en) | Computer case facilitating dust removal | |
| CN206058076U (en) | Microcomputer efficient heat radiation enclosure | |
| CN114447796A (en) | A kind of high-efficiency heat dissipation electrical equipment protection box | |
| CN206479915U (en) | The cabinet of dust-proof radiating | |
| CN205620894U (en) | Computer machine case with high heat dissipating ability | |
| CN109885134A (en) | Computer motherboard structure | |
| CN211878520U (en) | A computer case cabinet with moisture-proof and dust-proof functions | |
| CN209859089U (en) | Heat dissipation mechanism for computer | |
| CN209728629U (en) | An air duct structure and electronic equipment using the air duct | |
| CN216411373U (en) | A shielding structure based on double-layer PCB board | |
| CN112002681A (en) | Integrated circuit board with protection function | |
| CN204616234U (en) | An industrial robot electric control cabinet | |
| CN114158212B (en) | Rack servers and integrated mounting equipment for server hardware | |
| CN214238126U (en) | Power plant electrical equipment installation cabinet | |
| CN207867420U (en) | A kind of dustproof computer cabinet used in library | |
| CN209265341U (en) | A kind of computer motherboard structure being easily installed | |
| CN218041187U (en) | A high-power switching DC stabilized power supply | |
| CN219165026U (en) | Outdoor electric cabinet of high-efficient dustproof heat removal | |
| CN217847048U (en) | Computer motherboard fixed plate with dust removal function | |
| CN219778519U (en) | Digital data storage device with rack structure | |
| CN218277366U (en) | A casing with a protective mechanism | |
| CN220962293U (en) | Portable electronic computer case | |
| CN219740916U (en) | A kind of large computer circuit protection device | |
| CN218277667U (en) | Singlechip development experimental apparatus |
Legal Events
| Date | Code | Title | Description |
|---|---|---|---|
| GR01 | Patent grant | ||
| GR01 | Patent grant | ||
| CF01 | Termination of patent right due to non-payment of annual fee |
Granted publication date: 20200114 |
|
| CF01 | Termination of patent right due to non-payment of annual fee |
