CN203559467U - 带有隔污套的防臭地漏 - Google Patents
带有隔污套的防臭地漏 Download PDFInfo
- Publication number
- CN203559467U CN203559467U CN201320716723.2U CN201320716723U CN203559467U CN 203559467 U CN203559467 U CN 203559467U CN 201320716723 U CN201320716723 U CN 201320716723U CN 203559467 U CN203559467 U CN 203559467U
- Authority
- CN
- China
- Prior art keywords
- closing
- stopper
- floor drain
- shell
- fixed
- Prior art date
- Legal status (The legal status is an assumption and is not a legal conclusion. Google has not performed a legal analysis and makes no representation as to the accuracy of the status listed.)
- Expired - Fee Related
Links
- 239000010865 sewage Substances 0.000 title abstract description 17
- 230000001877 deodorizing effect Effects 0.000 title abstract 6
- 238000000638 solvent extraction Methods 0.000 title abstract 3
- 238000007789 sealing Methods 0.000 claims abstract description 8
- 241000238631 Hexapoda Species 0.000 abstract description 4
- 230000008901 benefit Effects 0.000 abstract description 4
- 241000894006 Bacteria Species 0.000 abstract description 3
- 230000036541 health Effects 0.000 abstract description 3
- 239000000126 substance Substances 0.000 abstract description 2
- 230000000903 blocking effect Effects 0.000 abstract 1
- 239000002781 deodorant agent Substances 0.000 description 8
- 230000005484 gravity Effects 0.000 description 7
- XLYOFNOQVPJJNP-UHFFFAOYSA-N water Substances O XLYOFNOQVPJJNP-UHFFFAOYSA-N 0.000 description 6
- 230000006870 function Effects 0.000 description 4
- 230000000505 pernicious effect Effects 0.000 description 3
- 238000010586 diagram Methods 0.000 description 2
- 230000007246 mechanism Effects 0.000 description 2
- ATJFFYVFTNAWJD-UHFFFAOYSA-N Tin Chemical compound [Sn] ATJFFYVFTNAWJD-UHFFFAOYSA-N 0.000 description 1
- 238000009825 accumulation Methods 0.000 description 1
- 238000004332 deodorization Methods 0.000 description 1
- 230000000694 effects Effects 0.000 description 1
- 238000005516 engineering process Methods 0.000 description 1
- 239000000796 flavoring agent Substances 0.000 description 1
- 235000019634 flavors Nutrition 0.000 description 1
- 230000006872 improvement Effects 0.000 description 1
- 238000010030 laminating Methods 0.000 description 1
- 230000004048 modification Effects 0.000 description 1
- 238000012986 modification Methods 0.000 description 1
- 230000008447 perception Effects 0.000 description 1
Images
Landscapes
- Sink And Installation For Waste Water (AREA)
Abstract
本实用新型涉及一种带有隔污套的防臭地漏,包括关闭筒、关闭塞和网架,网架固定于关闭筒上端,关闭塞与封闭安装在关闭筒内的关闭塞驱动部相连,在关闭塞驱动部与关闭塞之间连接隔污套,关闭塞驱动部的上端固定在网架上,关闭塞由相连的塞体和塞杆构成,关闭塞驱动部包括外壳及相配合的上吸块和下吸块,外壳固定于网架,上吸块固定于外壳内,下吸块固定在伸入外壳内的塞杆上。本实用新型通过上述设计,能杜绝有害气体、害虫、细菌、异味物质经下水管进入室内,能杜绝污水返流,可以有效提高室内空气质量,保护人们的健康,具有结构简单紧凑、不易堵塞、防臭性能好,使用寿命长、可靠性高的优点。
Description
技术领域
本实用新型涉及一种带有隔污套的防臭地漏。
背景技术
现在随着人们生活水平和健康意识的不断提高,人们在装修房子时越来越倾向于购买带有防臭功能的地漏。防臭地漏可以防止下水管里的害虫、有害气体、异味气体进入室内,在公共下水管道堵塞时还可以防止污水返流至室内。防臭地漏的种类较多,有水封式、弹簧式、磁力式、重力式等。水封式防臭地漏最为常见,但是地漏里面起到水封作用的水用不了多长时间就会自行蒸发干导致防臭功能丧失,水封式防臭地漏还存在着内部容易堆积污垢、排水速度不快等缺点,所以这种普通的水封式防臭地漏有被逐渐淘汰的趋势。现有技术的弹簧式、磁力式、重力式等防臭地漏比水封式防臭地漏具有一定的优势,而现有技术的弹簧式、磁力式、重力式等防臭地漏由于在地漏排水期间污水会直接接触到防臭功能机构的核心零件,积累的污垢赃物会污染甚至堵塞防臭功能机构里面的零件致关闭塞无法上下运动,导致现有技术的防臭地漏使用寿命不长,这些防臭地漏在污水中使用容易被损坏。
发明内容
本实用新型的目的是提供一种既能杜绝有害气体、害虫、细菌、异味经地漏进入室内,杜绝污水返流到室内,又能在污水里长寿命使用的防臭地漏。
本实用新型解决其技术问题所采用的技术方案是:包括关闭筒、关闭塞和网架,网架固定于关闭筒上端,关闭塞与封闭安装在关闭筒内的关闭塞驱动部相连,在关闭塞驱动部与关闭塞之间连接隔污套。
关闭塞驱动部的上端固定在网架上。
关闭塞由相连的塞体和塞杆构成,关闭塞驱动部包括外壳及相配合的上吸块和下吸块,外壳固定于网架,上吸块固定于外壳内,下吸块固定在伸入外壳内的塞杆上。
关闭塞由相连的塞体和塞杆构成,关闭塞驱动部包括固定于网架的外壳,塞杆伸入外壳内,塞杆的上端与外壳的下壁之间套装复位弹簧。
本实用新型通过上述具体设计,能杜绝有害气体、害虫、细菌、异味物质经下水管进入室内,能杜绝污水返流,可以有效提高室内空气质量,保护人们的健康,具有结构简单紧凑、不易堵塞、防臭性能好,使用寿命长、可靠性高的优点。
附图说明
以下结合附图和实施例说明本实用新型的详细内容。
图1是本实用新型的结构原理图。
图2是本实用新型实施例一的装配结构示意图。
图3是本实用新型实施例二的装配结构示意图。
具体实施方式
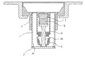
如图所示,本实用新型包括关闭筒1、关闭塞2和网架3,网架3固定于关闭筒1上端,关闭塞2与封闭安装在关闭筒1内的关闭塞驱动部4相连,在关闭塞驱动部4与关闭塞2之间连接隔污套5,关闭塞驱动部4的上端固定在网架3上。关闭塞2由相连的塞体2a和塞杆2b构成,关闭塞驱动部4的一种实施方式是包括外壳6及相配合的上吸块7和下吸块8,外壳6固定于网架3,上吸块7固定于外壳6内,下吸块8固定在伸入外壳6内的塞杆2b上,关闭塞2向上移动与关闭筒3贴合即可实现关闭使地漏停止排水。开始排污后,随着排入关闭筒1的污水变多,当塞体2a上方的污水重力小于上吸块7和下吸块8之间的磁力时,下吸块8会和上吸块7紧吸在一起,塞体2a和关闭筒1紧紧贴合在一起呈关闭状态;当塞体2a上方的污水重力大于上吸块7和下吸块8的磁力时,下吸块8会向下移动和上吸块7分离,塞体2a会与关闭筒3分离开呈开启状态,污水经塞体2a的外边缘流入下水管。关闭塞2由相连的塞体2a和塞杆2b构成,关闭塞驱动部4的另一种实施方式是包括固定于网架3的外壳6,塞杆2b伸入外壳6内,塞杆2b的上端与外壳6的下壁之间套装复位弹簧9。当塞体2a上方的污水重力小于复位弹簧9对塞杆2b向上的弹力时,塞体2a和关闭筒3会紧紧贴合在一起呈关闭状态;当塞体2a上方的污水重力大于复位弹簧9对2b向上的弹力时,塞体2a会向下移动,关闭塞1与关闭筒3会分离开呈开启状态,污水经塞体2a的外边缘流入下水管。以上所述的实施例仅仅是对本实用新型带有隔污套的防臭地漏的优选实施方式进行描述,并非对实用新型的构思和范围进行限定,在不脱离本实用新型方案的前提下,本领域技术人员对本实用新型的技术方案作出的各种外型变型和改进,均应落入本实用新型带有隔污套的防臭地漏的保护范围。
Claims (4)
1.一种带有隔污套的防臭地漏,包括关闭筒、关闭塞和网架,网架固定于关闭筒上端,关闭塞与封闭安装在关闭筒内的关闭塞驱动部相连,其特征是在关闭塞驱动部(4)与关闭塞(2)之间连接隔污套(5)。
2.根据权利要求1所述的带有隔污套的防臭地漏,其特征是关闭塞驱动部(4)的上端固定在网架(3)上。
3.根据权利要求1或2所述的带有隔污套的防臭地漏,其特征是关闭塞(2)由相连的塞体(2a)和塞杆(2b)构成,关闭塞驱动部(4)包括外壳(6)及相配合的上吸块(7)和下吸块(8),外壳(6)固定于网架(3),上吸块(7)固定于外壳(6)内,下吸块(8)固定在伸入外壳(6)内的塞杆(2b)上。
4.根据权利要求1或2所述的带有隔污套的防臭地漏,其特征是关闭塞(2)由相连的塞体(2a)和塞杆(2b)构成,关闭塞驱动部(4)包括固定于网架(3)的外壳(6),塞杆(2b)伸入外壳(6)内,塞杆(2b)的上端与外壳(6)的下壁之间套装复位弹簧(9)。
Priority Applications (1)
| Application Number | Priority Date | Filing Date | Title |
|---|---|---|---|
| CN201320716723.2U CN203559467U (zh) | 2013-11-14 | 2013-11-14 | 带有隔污套的防臭地漏 |
Applications Claiming Priority (1)
| Application Number | Priority Date | Filing Date | Title |
|---|---|---|---|
| CN201320716723.2U CN203559467U (zh) | 2013-11-14 | 2013-11-14 | 带有隔污套的防臭地漏 |
Publications (1)
| Publication Number | Publication Date |
|---|---|
| CN203559467U true CN203559467U (zh) | 2014-04-23 |
Family
ID=50509198
Family Applications (1)
| Application Number | Title | Priority Date | Filing Date |
|---|---|---|---|
| CN201320716723.2U Expired - Fee Related CN203559467U (zh) | 2013-11-14 | 2013-11-14 | 带有隔污套的防臭地漏 |
Country Status (1)
| Country | Link |
|---|---|
| CN (1) | CN203559467U (zh) |
Cited By (4)
| Publication number | Priority date | Publication date | Assignee | Title |
|---|---|---|---|---|
| CN105864547A (zh) * | 2016-06-12 | 2016-08-17 | 浙江德首新型建材有限公司 | 防堵水管弯头 |
| CN108954003A (zh) * | 2018-06-28 | 2018-12-07 | 湖州同成环境科技有限公司 | 一种市政污水运输管道 |
| CN111364553A (zh) * | 2020-03-04 | 2020-07-03 | 内蒙古科技大学 | 废水再利用系统 |
| CN111576599A (zh) * | 2020-06-19 | 2020-08-25 | 彭利芳 | 一种基于市政工程的止溢污水井盖 |
-
2013
- 2013-11-14 CN CN201320716723.2U patent/CN203559467U/zh not_active Expired - Fee Related
Cited By (4)
| Publication number | Priority date | Publication date | Assignee | Title |
|---|---|---|---|---|
| CN105864547A (zh) * | 2016-06-12 | 2016-08-17 | 浙江德首新型建材有限公司 | 防堵水管弯头 |
| CN108954003A (zh) * | 2018-06-28 | 2018-12-07 | 湖州同成环境科技有限公司 | 一种市政污水运输管道 |
| CN111364553A (zh) * | 2020-03-04 | 2020-07-03 | 内蒙古科技大学 | 废水再利用系统 |
| CN111576599A (zh) * | 2020-06-19 | 2020-08-25 | 彭利芳 | 一种基于市政工程的止溢污水井盖 |
Similar Documents
| Publication | Publication Date | Title |
|---|---|---|
| CN203559467U (zh) | 带有隔污套的防臭地漏 | |
| CN202577499U (zh) | 防臭地漏 | |
| KR101264017B1 (ko) | 악취 및 역류 방지 기능을 갖는 배수구 개폐 조절 장치 | |
| CN202672327U (zh) | 压缩弹簧式自闭地漏 | |
| CN101748784B (zh) | 自动密闭型深水封地漏 | |
| CN201660958U (zh) | 磁力防臭地漏 | |
| CN203559466U (zh) | 下水管自动防臭装置 | |
| CN202148576U (zh) | 自动密封下水管道防虫防臭器 | |
| CN205189104U (zh) | S弧形管腔防逆阀地漏 | |
| CN203559468U (zh) | 防臭地漏关闭芯 | |
| CN203654434U (zh) | 一种防堵自动密封地漏内芯 | |
| CN103603419A (zh) | 防臭地漏关闭芯 | |
| CN207919716U (zh) | 一种快速排水的防臭防虫地漏 | |
| CN201649271U (zh) | 磁力防臭地漏 | |
| CN203113464U (zh) | 水封式防臭排污箱 | |
| CN203626006U (zh) | 一种防臭阀芯 | |
| CN204059548U (zh) | 一种加快排水的地漏 | |
| CN102192343A (zh) | 一种机械磁力密封单向阀芯 | |
| CN222908964U (zh) | 一种带磁吸单向阀的存水弯 | |
| CN202031165U (zh) | 防臭地漏 | |
| CN201809833U (zh) | 自动密封下水管道防臭器 | |
| CN203878725U (zh) | 防返水防臭味自清地漏 | |
| CN204059550U (zh) | 加快排水的地漏 | |
| CN207597559U (zh) | 一种地漏防臭芯 | |
| CN201334710Y (zh) | 磁力防臭地漏 |
Legal Events
| Date | Code | Title | Description |
|---|---|---|---|
| C14 | Grant of patent or utility model | ||
| GR01 | Patent grant | ||
| CF01 | Termination of patent right due to non-payment of annual fee | ||
| CF01 | Termination of patent right due to non-payment of annual fee |
Granted publication date: 20140423 Termination date: 20161114 |