CN203522045U - Preformed twisted wire winding assistor - Google Patents
Preformed twisted wire winding assistor Download PDFInfo
- Publication number
- CN203522045U CN203522045U CN201320595987.7U CN201320595987U CN203522045U CN 203522045 U CN203522045 U CN 203522045U CN 201320595987 U CN201320595987 U CN 201320595987U CN 203522045 U CN203522045 U CN 203522045U
- Authority
- CN
- China
- Prior art keywords
- fixing hole
- shaped frame
- twisted wire
- wire winding
- rod
- Prior art date
- Legal status (The legal status is an assumption and is not a legal conclusion. Google has not performed a legal analysis and makes no representation as to the accuracy of the status listed.)
- Expired - Fee Related
Links
Images
Landscapes
- Suspension Of Electric Lines Or Cables (AREA)
Abstract
本实用新型公开了一种预绞丝缠绕辅助器,涉及电力系统电工辅助工具,具体为一种用于输电线路导线修补时使用的工具。包括U型架,其一侧架体设有弯头,弯头的一侧设有第一固定孔,另一侧设有第二固定孔,所述第一固定孔和第二固定孔位于同一垂直中心轴线;还设有固定杆,固定杆与第一固定孔和第二固定孔配合使用;所述U型架一侧架体与另一侧架体沿U型架水平中心轴线呈对称结构;所述U型架一侧还单独设有穿线杆。该预绞丝缠绕辅助器解决了目前在进行输电线路导线修补时缠绕预绞丝缺乏快速、安全专业工具的技术问题,并且与传统手工作业相比,具有结构新颖简单、使用方便、灵活、安全、省时省工省力、提高工作效率的特点。
The utility model discloses a pre-twisted wire winding auxiliary device, which relates to an electrician's auxiliary tool in an electric power system, in particular to a tool used for repairing a transmission line wire. It includes a U-shaped frame, one side of which is provided with an elbow, one side of the elbow is provided with a first fixing hole, and the other side is provided with a second fixing hole, and the first fixing hole and the second fixing hole are located at the same Vertical central axis; there is also a fixed rod, which is used in conjunction with the first fixed hole and the second fixed hole; the frame body on one side of the U-shaped frame and the frame body on the other side are symmetrical along the horizontal central axis of the U-shaped frame ; One side of the U-shaped frame is also separately provided with a threading rod. The pre-twisted wire winding assistant solves the current technical problem of lack of fast and safe professional tools for winding pre-twisted wires when repairing transmission line wires, and compared with traditional manual work, it has novel and simple structure, convenient use, flexibility and safety. , Save time, labor and effort, and improve work efficiency.
Description
技术领域 technical field
本实用新型涉及电力系统电工辅助工具,具体为一种用于输电线路导线修补时使用的预绞丝缠绕辅助器。 The utility model relates to an auxiliary tool for electricians in a power system, in particular to a pre-twisted wire winding auxiliary device used for repairing wires of transmission lines.
背景技术 Background technique
目前,电力系统内运行的35KV及以上输电线路,当导线发生少量的断股缺陷后,通常的处理方法是用与导线同型号的铝合金预绞丝在导线表面上进行缠绕补修。当下,我公司在进行输电线路导线修补时缠绕预绞丝无专业工具,传统的作业方法是将每根预绞丝一端用左手压紧在导线上,右手则顺导线绞制方向进行缠绕,或采用改锥等非专业工具进行辅助缠绕。以上传统作业方法由于缠绕的预绞丝根数多、刚性大,当根数达到一定数量时还会出现不美观、两端参差不齐,进而诱发导电体尖端放电、导线断股等安全隐患。同时,在作业过程中费时、费力,工作效率不高,劳动强度大,耗费时间长。 At present, for 35KV and above transmission lines operating in the power system, when a small amount of broken strands occurs in the wire, the usual treatment method is to use the same type of aluminum alloy pre-twisted wire as the wire to wind and repair the wire surface. At present, our company does not have professional tools for winding pre-twisted wires when repairing transmission line wires. The traditional operation method is to press one end of each pre-twisted wire on the wire with the left hand, and wind the wire along the direction of the wire with the right hand, or Use non-professional tools such as screwdrivers for auxiliary winding. Due to the large number of pre-twisted wires and high rigidity of the above traditional operation methods, when the number of wires reaches a certain number, there will be unsightly appearance and uneven ends, which will induce electrical discharge at the tip of the conductor, wire breakage and other safety hazards. At the same time, it is time-consuming and labor-intensive in the operation process, the work efficiency is not high, the labor intensity is high, and the time-consuming is long.
实用新型内容 Utility model content
本实用新型要解决的技术问题是提供一种预绞丝缠绕辅助器,解决了目前在进行输电线路导线修补时缠绕预绞丝缺乏快速、安全专业工具的技术问题,并且与传统手工作业相比,具有结构新颖简单、使用方便、灵活、安全、省时省工省力、提高工作效率的特点。 The technical problem to be solved by the utility model is to provide a pre-twisted wire winding auxiliary device, which solves the technical problem of lack of fast and safe professional tools for winding pre-twisted wires when repairing transmission line wires, and compared with traditional manual work , has the characteristics of novel and simple structure, convenient use, flexibility, safety, saving time and labor, and improving work efficiency.
本实用新型所采取的技术方案是:一种预绞丝缠绕辅助器,包括U型架,其一侧架体设有弯头,弯头的一侧设有第一固定孔,另一侧设有第二固定孔,所述第一固定孔和第二固定孔位于同一垂直中心轴线;还设有固定杆,固定杆与第一固定孔和第二固定孔配合使用。 The technical solution adopted by the utility model is: a pre-twisted wire winding auxiliary device, including a U-shaped frame, one side of which is provided with an elbow, one side of the elbow is provided with a first fixing hole, and the other side is provided with a There is a second fixing hole, the first fixing hole and the second fixing hole are located on the same vertical central axis; a fixing rod is also provided, and the fixing rod is used in conjunction with the first fixing hole and the second fixing hole.
所述U型架一侧架体与另一侧架体沿U型架水平中心轴线呈对称结构。 The frame body on one side of the U-shaped frame and the frame body on the other side have a symmetrical structure along the horizontal central axis of the U-shaped frame.
所述U型架一侧还单独设有穿线杆。 One side of the U-shaped frame is also separately provided with a threading rod.
最佳地,所述弯头的尾端呈扁平状并与水平面呈30°角。 Optimally, the tail end of the elbow is flat and forms an angle of 30° with the horizontal plane.
最佳地,所述固定杆一端设有把手。 Optimally, a handle is provided at one end of the fixing rod.
最佳地,所述固定杆为螺纹杆,使用时,与第一固定孔和第二固定孔螺纹配合。 Optimally, the fixing rod is a threaded rod, which is threadedly engaged with the first fixing hole and the second fixing hole when in use.
最佳地,所述穿线杆的尾端呈扁平状。 Optimally, the tail end of the threading rod is flat.
采用上述技术方案所产生的有益效果在于:本实用新型通过U型架两侧固定杆和固定孔将导线固定在U型架两侧弯头内,不需要用手去按压导线,可大大降低作业人员劳动强度;然后将预绞丝的一端缠绕在穿线杆上,转动U型架,就可将预绞丝快速、安全的缠绕至导线上,省时省工省力,提高了工作效率。 The beneficial effects produced by adopting the above technical scheme are: the utility model fixes the wires in the elbows on both sides of the U-shaped frame through the fixing rods and fixing holes on both sides of the U-shaped frame, and does not need to press the wires by hand, which can greatly reduce the operating cost. Labor intensity; then wind one end of the pre-twisted wire on the threading rod, and turn the U-shaped frame to quickly and safely wind the pre-twisted wire to the wire, saving time, labor and effort, and improving work efficiency.
本实用新型结构简单、使用方便,具有广泛的推广价值,特别适用于35KV以上高压输电线路修补导线工作。 The utility model has the advantages of simple structure, convenient use and extensive popularization value, and is especially suitable for repairing wires of high-voltage transmission lines above 35KV.
附图说明 Description of drawings
下面结合附图和具体实施方式对本实用新型作进一步详细的说明。 Below in conjunction with accompanying drawing and specific embodiment, the utility model is described in further detail.
图1是本实用新型结构示意图。 Fig. 1 is the structural representation of the utility model.
图2是本实用新型俯视图。 Fig. 2 is a top view of the utility model.
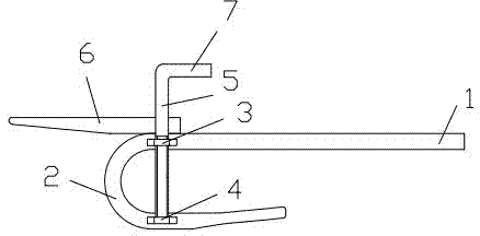
图中,1.U型架,2.弯头,3.第一固定孔,4.第二固定孔,5.固定杆,6.穿线杆,7.把手,8.导线,9.预绞丝。 In the figure, 1. U-shaped frame, 2. Elbow, 3. First fixing hole, 4. Second fixing hole, 5. Fixing rod, 6. Threading rod, 7. Handle, 8. Wire, 9. Pre-twisted Silk.
具体实施方式 Detailed ways
参见附图1和附图2,一种预绞丝缠绕辅助器,包括U型架1,可采用10mm*800mm预应力钢筋。其一侧架体设有弯头2,弯头2圆弧直径应大于导线直径。为了更好的同导线接触,尤其是导地线,将弯头2的尾端压成扁平状并与水平面呈30°角。弯头2的一侧设有第一固定孔3,另一侧设有第二固定孔4,所述第一固定孔3和第二固定孔4位于同一垂直中心轴线,起固定导线作用。还设有固定杆5,所述固定杆5为螺纹杆,其一端设有把手7,便于操作。固定杆5与第一固定孔3和第二固定孔4螺纹配合使用。
Referring to accompanying drawing 1 and accompanying
所述U型架1一侧架体与另一侧架体沿U型架1水平中心轴线呈对称结构。 The frame body on one side of the U-shaped frame 1 is symmetrical to the frame body on the other side along the horizontal central axis of the U-shaped frame 1 .
所述U型架1一侧还单独设有穿线杆6,为了方便对预绞丝9的操作,将其尾端压成扁平状,尾端露出弯头2圆弧部位约500mm。
One side of the U-shaped frame 1 is also separately provided with a
使用时,先将导线8穿过U型架两侧的弯头,U型架两侧固定杆5分别与U型架两侧的第一固定孔3和第二固定孔4螺纹配合,以便将导线8固定在U型架两侧的弯头内,然后将预绞丝9的一端缠绕在穿线杆6上,另一端放在导线8表面,手握U型架1,并沿导线8顺时针转动,由于预绞丝本身呈螺旋状,在预绞丝缠绕辅助器的带动下,可将预绞丝9快速、安全的缠绕至导线8上。
During use,
Claims (5)
Priority Applications (1)
| Application Number | Priority Date | Filing Date | Title |
|---|---|---|---|
| CN201320595987.7U CN203522045U (en) | 2013-09-26 | 2013-09-26 | Preformed twisted wire winding assistor |
Applications Claiming Priority (1)
| Application Number | Priority Date | Filing Date | Title |
|---|---|---|---|
| CN201320595987.7U CN203522045U (en) | 2013-09-26 | 2013-09-26 | Preformed twisted wire winding assistor |
Publications (1)
| Publication Number | Publication Date |
|---|---|
| CN203522045U true CN203522045U (en) | 2014-04-02 |
Family
ID=50380920
Family Applications (1)
| Application Number | Title | Priority Date | Filing Date |
|---|---|---|---|
| CN201320595987.7U Expired - Fee Related CN203522045U (en) | 2013-09-26 | 2013-09-26 | Preformed twisted wire winding assistor |
Country Status (1)
| Country | Link |
|---|---|
| CN (1) | CN203522045U (en) |
Cited By (1)
| Publication number | Priority date | Publication date | Assignee | Title |
|---|---|---|---|---|
| CN117175428A (en) * | 2023-11-02 | 2023-12-05 | 国网山东省电力公司高青县供电公司 | A special power cable pre-twisting auxiliary tool |
-
2013
- 2013-09-26 CN CN201320595987.7U patent/CN203522045U/en not_active Expired - Fee Related
Cited By (2)
| Publication number | Priority date | Publication date | Assignee | Title |
|---|---|---|---|---|
| CN117175428A (en) * | 2023-11-02 | 2023-12-05 | 国网山东省电力公司高青县供电公司 | A special power cable pre-twisting auxiliary tool |
| CN117175428B (en) * | 2023-11-02 | 2024-01-30 | 国网山东省电力公司高青县供电公司 | A special power cable pre-twisting auxiliary tool |
Similar Documents
| Publication | Publication Date | Title |
|---|---|---|
| CN203522074U (en) | Bundling fixing device for tail wire and main wire of stay wire of power transmission line poles | |
| CN203522045U (en) | Preformed twisted wire winding assistor | |
| CN204205434U (en) | A kind of portable cable wire straighten tool | |
| CN202949172U (en) | Tower rod and conducting wire foreign matter live-line enucleator | |
| CN202276057U (en) | Simple wire stripper | |
| CN204884850U (en) | Sleeve pipe lead wire lifting mechanism | |
| CN205509030U (en) | Bushing type 10kV earth connection take -up | |
| CN205189743U (en) | Insulating hard terraced afterbody mounting fixture | |
| CN203475922U (en) | Electric pole wiring manufacturing tool | |
| CN202034507U (en) | Ground wire clamp specially used for metering box | |
| CN203553381U (en) | Grounding device ensuring good electric contact | |
| CN204504057U (en) | Portable multi-function wire apparatus for shaping | |
| CN203491499U (en) | Core damage-resistant wire stripper used in live-line work | |
| CN203481699U (en) | Push-and-pull operating lever of wire clamping device | |
| CN203251019U (en) | A line strain clamp winding device | |
| CN203151005U (en) | Wire clamping device for bunched cables | |
| CN201490636U (en) | An aluminum sheath port former | |
| CN105834328A (en) | Insulating pliers for hot-line work | |
| CN202943194U (en) | Bending spanner | |
| CN206250691U (en) | A kind of shield lines erecting device for wire | |
| CN105576392A (en) | Sleeve pipe type winding device of 10kV grounding line | |
| CN204012580U (en) | Cable fixer | |
| CN203951134U (en) | Cable fixer | |
| CN204905769U (en) | Curved ware of multi -functional laos | |
| CN105958394B (en) | A kind of end aids in calibrator device |
Legal Events
| Date | Code | Title | Description |
|---|---|---|---|
| C14 | Grant of patent or utility model | ||
| GR01 | Patent grant | ||
| CF01 | Termination of patent right due to non-payment of annual fee |
Granted publication date: 20140402 Termination date: 20180926 |
|
| CF01 | Termination of patent right due to non-payment of annual fee |
