CN203472169U - Simple pressure device - Google Patents

Simple pressure device Download PDF

Info

Publication number
CN203472169U
CN203472169U CN201320564209.1U CN201320564209U CN203472169U CN 203472169 U CN203472169 U CN 203472169U CN 201320564209 U CN201320564209 U CN 201320564209U CN 203472169 U CN203472169 U CN 203472169U
Authority
CN
China
Prior art keywords
support
cushion block
bottom support
platform
head
Prior art date
Legal status (The legal status is an assumption and is not a legal conclusion. Google has not performed a legal analysis and makes no representation as to the accuracy of the status listed.)
Expired - Fee Related
Application number
CN201320564209.1U
Other languages
Chinese (zh)
Inventor
史忠震
张宇
许贞俊
张银山
李青青
许静
许燕
Current Assignee (The listed assignees may be inaccurate. Google has not performed a legal analysis and makes no representation or warranty as to the accuracy of the list.)
Guizhou University
Original Assignee
Guizhou University
Priority date (The priority date is an assumption and is not a legal conclusion. Google has not performed a legal analysis and makes no representation as to the accuracy of the date listed.)
Filing date
Publication date
Application filed by Guizhou University filed Critical Guizhou University
Priority to CN201320564209.1U priority Critical patent/CN203472169U/en
Application granted granted Critical
Publication of CN203472169U publication Critical patent/CN203472169U/en
Anticipated expiration legal-status Critical
Expired - Fee Related legal-status Critical Current

Links

Images

Landscapes

  • Dental Tools And Instruments Or Auxiliary Dental Instruments (AREA)

Abstract

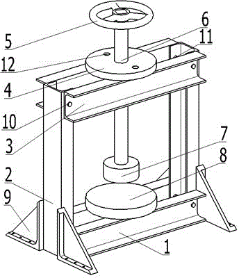
本实用新型公开了一种简易压力装置,包括底部支撑(1),底部支撑(1)两侧为纵支撑(2)和支底座(9),纵支撑(2)顶端为上部支撑(3),上部支撑(3)上方有圆柱形垫块(4),螺杆(6)垂直穿过垫块(4),其上、下端分别与手轮(5)和压力头(7)相连接,压力头(7)正下方为圆柱形平台(8),平台(8)固定在底部支撑(1)上。本实用新型组装简单,工作原理简单,价格便宜,移动性好特别适用于压力要求小的手工加工。

Figure 201320564209

The utility model discloses a simple pressure device, which comprises a bottom support (1), a vertical support (2) and a support base (9) on both sides of the bottom support (1), and an upper support (3) at the top of the vertical support (2). , there is a cylindrical pad (4) above the upper support (3), the screw (6) passes through the pad (4) vertically, and its upper and lower ends are respectively connected with the handwheel (5) and the pressure head (7). Right below the head (7) is a cylindrical platform (8), and the platform (8) is fixed on the bottom support (1). The utility model has the advantages of simple assembly, simple working principle, low price and good mobility, and is especially suitable for manual processing with small pressure requirements.

Figure 201320564209

Description

A kind of simple and easy pressure apparatus
Technical field
The utility model belongs to mechanical field, is specifically related to a kind of structure of pressure flattening device.
Background technology
Repoussage part in industries such as electrical equipment, electronics, instrument, instrument, jewellery, hardware, clothes adds man-hour, usually need to workpiece carry out smooth, the operation such as be press-fitted, particularly the repoussage when laminated steel cores of motor, just more needs a kind of compression tools that is simple and easy to use.It is pneumatic or electronic that pressure apparatus mostly in the market is, and complex structure, due to power set, is unfavorable for dismounting, and mobility is bad, and it is convenient not to operate.For above-mentioned pressure, require little, and workpiece needs to carry out immediately the situation of repoussage after having made, consider a kind of manually-operated press device not with power source, workman can making limit, limit repoussage, one people just can complete the operation of making and repoussage, relatively adopts the forcing press with power set, and mobility is strong, maintenance cost is low, and it is convenient that behaviour does.
Summary of the invention
The technical problems to be solved in the utility model is: a kind of simple and easy pressure apparatus is provided, and simple in structure, low price, for convenience detach, mobility is good, and handled easily is applicable to the little particularly home built of pressure requirement environment.
The technical solution of the utility model is: a kind of simple and easy pressure apparatus, comprise bottom support, bottom support both sides are supported and a base for vertical, vertical support top end is upper support, there is cylindrical cushion block upper support top, and screw rod is vertically through cushion block, and its upper and lower end is connected with head with handwheel respectively, under head, be cylindrical bar, platform is fixed in bottom support.Bottom support, vertical support and upper support form the support frame of a door shape, facilitate the turnover of workpiece.Propping up base is four leg-of-mutton steel components, and its effect is fixing and firm whole support frame.Cushion block is the fixing and action component of screw rod, and platform is for place work piece, and head is used for flat workpiece.
On cushion block, have two screws, and be connected with upper support with countersunk nut by dormant bolt.
Cushion block and platform lower surface all have a clamping part, have the plane of pair of parallel on clamping part.
Bottom support, vertical support and upper support employing channel-section steel.
During use, by rotation hand wheel, drive screw rod, screw rod moves downward, and head contacts surface of the work gradually, so complete smooth work under the acting in conjunction of platform and head, whole process is simple and convenient.For correcting, the workpiece that deformation force is less is effective especially.
The utility model assembling is simple, and operation principle is simple, low price, and mobility is specially adapted to well the little manual processing of pressure requirement.
Accompanying drawing explanation
Fig. 1 is front view of the present utility model;
Fig. 2 is left view of the present utility model;
Fig. 3 is top view of the present utility model;
Fig. 4 is the side view that just waiting of the present utility model;
Fig. 5 is the side view such as just grade of the utility model cushion block;
Fig. 6 is the side view such as just grade of the utility model platform.
The specific embodiment
As shown in Fig. 1~Fig. 6, a kind of simple and easy pressure apparatus, comprise bottom support 1, bottom support 1 both sides are for indulging support 2 and a base 9, and vertical support 2 tops are upper support 3, and there is cylindrical cushion block 4 upper support 3 tops, screw rod 6 is vertical through cushion block 4, its upper and lower end is connected with head 7 with handwheel 5 respectively, is cylindrical bar 8 under head 7, and platform 8 is fixed in bottom support 1.Bottom support 1, vertical support 2 and upper support 3 adopt channel-section steels, and bottom support 1 is that two notches are opposing, the channel-section steel that spaced and parallel is placed in interval is two and vertically supports 2, upper support 3 is also to consist of two notch channel-section steels opposing and that spaced and parallel is placed.Propping up base 9 is four leg-of-mutton steel components, is welded in respectively between two vertical support on 2.Vertical support 2 links together with base support 1 and upper support 3 respectively by bolt 10 and nut 11.
Cushion block 4 is a circular iron block, has two screws on it, and is connected with upper support 3 with countersunk nut 13 by dormant bolt 12.Cushion block 4 and platform 8 lower surfaces all have a clamping part 14, have the plane 15 of pair of parallel on clamping part 14.By the pair of parallel plane 15 on clamping part 14, cushion block 4 lower ends are sandwiched in upper support 3, and are positioned at centre position, and platform 8 lower ends are sandwiched in bottom support 1.Cushion block 4 centers have screwed hole, and screw rod 6 vertically penetrates, and head 7 is also connected with screw rod 6 by screw thread with handwheel 5.
During use, by rotation hand wheel 5, drive screw rod 6, screw rod 6 moves downward, and head 7 contacts surface of the work gradually, so complete smooth work under the acting in conjunction of platform 8 and head 7.

Claims (4)

1. a simple and easy pressure apparatus, it is characterized in that: comprise bottom support (1), bottom support (1) both sides are vertical (2) and the base (9) of supporting, vertical support (2) top is upper support (3), there is cylindrical cushion block (4) upper support (3) top, and screw rod (6) is vertically through cushion block (4), and its upper and lower end is connected with head (7) with handwheel (5) respectively, under head (7), be cylindrical bar (8), platform (8) is fixed in bottom support (1).
2. a kind of simple and easy pressure apparatus according to claim 1, is characterized in that: on cushion block (4), have two screws, and be connected with upper support (3) with countersunk nut (13) by dormant bolt (12).
3. a kind of simple and easy pressure apparatus according to claim 1, is characterized in that: cushion block (4) and platform (8) lower surface all have a clamping part (14), have the plane (15) of pair of parallel on clamping part (14).
4. according to a kind of simple and easy pressure apparatus described in claim 1,2 or 3, it is characterized in that: bottom support (1), vertical (2) and upper support (3) the employing channel-section steel of supporting.
CN201320564209.1U 2013-09-12 2013-09-12 Simple pressure device Expired - Fee Related CN203472169U (en)

Priority Applications (1)

Application Number Priority Date Filing Date Title
CN201320564209.1U CN203472169U (en) 2013-09-12 2013-09-12 Simple pressure device

Applications Claiming Priority (1)

Application Number Priority Date Filing Date Title
CN201320564209.1U CN203472169U (en) 2013-09-12 2013-09-12 Simple pressure device

Publications (1)

Publication Number Publication Date
CN203472169U true CN203472169U (en) 2014-03-12

Family

ID=50220569

Family Applications (1)

Application Number Title Priority Date Filing Date
CN201320564209.1U Expired - Fee Related CN203472169U (en) 2013-09-12 2013-09-12 Simple pressure device

Country Status (1)

Country Link
CN (1) CN203472169U (en)

Cited By (1)

* Cited by examiner, † Cited by third party
Publication number Priority date Publication date Assignee Title
CN103465491A (en) * 2013-09-12 2013-12-25 贵州大学 Pressure ware

Cited By (1)

* Cited by examiner, † Cited by third party
Publication number Priority date Publication date Assignee Title
CN103465491A (en) * 2013-09-12 2013-12-25 贵州大学 Pressure ware

Similar Documents

Publication Publication Date Title
CN104400397B (en) Motor press-fitting device
CN204771448U (en) Two side shafts of electric tricycle rear axle differential hold installation device
CN205237459U (en) Battery equipment pressing mechanism
CN105923222A (en) Steel plate patch mounting mechanism
CN203472169U (en) Simple pressure device
CN103465491A (en) Pressure ware
CN207223794U (en) A kind of electric automatization fixture
CN204172008U (en) A kind of steel construction that makes is at the device of vertical direction turn over 360 deg
CN205202165U (en) Membrane structure of multi-station flexible welding equipment
CN203764698U (en) Simple manual plate bending device
CN204339181U (en) welding fixture
CN206869301U (en) A kind of resistance spot welding prepressing device
CN206248771U (en) A four-station motor automatic withstand voltage test fixture
CN104029146A (en) Clamp for press fitting of short-axis pipe
CN203875787U (en) Elastic pressing plate clamp
CN204365863U (en) A kind of electric-controlled type riveting device
CN206550621U (en) A kind of bracket assembled device
CN210513680U (en) Device for detecting service life of membrane switch
CN203726202U (en) High-pressure gear pump body fixing device
CN107470472A (en) A kind of efficient diel for being used to produce compressor air-discharging noise reduction lid
CN206305277U (en) Semi-automatic panel leveling machine
CN206263488U (en) Two point hold-down gear
CN105057447A (en) Punch high in production efficiency
CN204339171U (en) Mounting bracket of steering column of automobile assembly head hold-down mechanism
CN220444761U (en) A kind of fiber board pressing clamp

Legal Events

Date Code Title Description
GR01 Patent grant
GR01 Patent grant
CF01 Termination of patent right due to non-payment of annual fee

Granted publication date: 20140312

Termination date: 20150912

EXPY Termination of patent right or utility model