CN203397257U - 一种带有活动板的笔记本电脑 - Google Patents

一种带有活动板的笔记本电脑 Download PDF

Info

Publication number
CN203397257U
CN203397257U CN201320235117.9U CN201320235117U CN203397257U CN 203397257 U CN203397257 U CN 203397257U CN 201320235117 U CN201320235117 U CN 201320235117U CN 203397257 U CN203397257 U CN 203397257U
Authority
CN
China
Prior art keywords
notebook computer
movable
portable plate
movable plate
board
Prior art date
Legal status (The legal status is an assumption and is not a legal conclusion. Google has not performed a legal analysis and makes no representation as to the accuracy of the status listed.)
Expired - Fee Related
Application number
CN201320235117.9U
Other languages
English (en)
Inventor
徐久成
孙林
黄博淘
李正娥
徐俊利
Current Assignee (The listed assignees may be inaccurate. Google has not performed a legal analysis and makes no representation or warranty as to the accuracy of the list.)
Henan Normal University
Original Assignee
Henan Normal University
Priority date (The priority date is an assumption and is not a legal conclusion. Google has not performed a legal analysis and makes no representation as to the accuracy of the date listed.)
Filing date
Publication date
Application filed by Henan Normal University filed Critical Henan Normal University
Priority to CN201320235117.9U priority Critical patent/CN203397257U/zh
Application granted granted Critical
Publication of CN203397257U publication Critical patent/CN203397257U/zh
Anticipated expiration legal-status Critical
Expired - Fee Related legal-status Critical Current

Links

Images

Landscapes

  • Casings For Electric Apparatus (AREA)
  • Calculators And Similar Devices (AREA)

Abstract

本实用新型涉及一种带有活动板的笔记本电脑。所述笔记本电脑一侧的底面上铰接或抽拉安装有活动板。本实用新型通过在笔记本电脑底面安装一个活动板,当用笔记本电脑在户外学习时,将笔记本电脑底面的活动板展开或拉出,使其与笔记本电脑处于同一平面,再将书放在活动板上,以满足用户边看书边操作电脑的需求,当不用活动板时,将活动板扣在笔记本电脑的底面或推进笔记本电脑的抽拉板槽内,方便用户携带。

Description

一种带有活动板的笔记本电脑
技术领域
本实用新型涉及一种带有活动板的笔记本电脑。
背景技术
目前市场上的笔记本电脑,当用户在户外学习时,要看书写字的话,则需要将书放在其他地方,而且写字也不方便,如果笔记本电脑上能够带有一个硬板的话,既方便看书写字,又不影响操作电脑,这样会给用户带来很大的方便性。
实用新型内容
本实用新型的目的是提供一种带有活动板的笔记本电脑,以解决目前用户在户外使用笔记本电脑时不方便放书、看书、写字等烦恼。
本实用新型为解决上述技术问题而提供一种带有活动板的笔记本电脑,包括笔记本电脑,笔记本电脑一侧的底面上铰接或抽拉安装有活动板。
所述通过铰接安装活动板的笔记本电脑的底面上设置有用于使活动板固定在笔记本电脑底面的锁定装置,该锁定装置为锁销,活动板上设置有与锁销配套使用的锁孔。
所述的笔记本电脑底面安装有滑轨,活动板上相对应位置设置有与滑轨配合的导向滑动部件。
所述的活动板上还设置有凹槽,用于存放文具。
所述的铰接方式为合页或者铰链。
本实用新型的有益效果是: 本实用新型通过在笔记本电脑一侧的底面上铰接或抽拉安装有活动板。本实用新型通过在笔记本电脑底面安装一个活动板,当用笔记本电脑在户外学习时,将笔记本电脑底面的活动板展开或拉出,使其与笔记本电脑处于同一平面,再将书放在活动板上,以满足用户边看书边操作电脑的需求,当不用活动板时,将活动板扣在笔记本电脑的底面或推进笔记本电脑的抽拉板槽内,方便用户携带。
附图说明
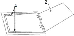
图1是本实用新型实施例一的正视图;
图2是本实用新型实施例一的底面俯视图;
图3是本实用新型实施例一中所用的合页示意图;
图4是本实用新型实施例一中固定装置具体结构的剖面图;
图5是本实用新型实施例二中带活动板的笔记本电脑的正视图;
图6是本实用新型的笔记本电脑托盘底部右边的抽拉板槽位正视图。
具体实施方式
下面结合附图对本实用新型的具体实施方式作进一步的说明。
实施例一
如图1所示,本实用新型的带有活动板的笔记本电脑包括笔记本电脑1、活动板2和合页5,活动板2通过合页5铰接在笔记本电脑1右侧的底面上,这里的合页也可以用铰链替代,活动板2也可以铰接安装在笔记本电脑左侧或前侧的底面上,活动板2折叠后扣在笔记本电脑1的底面,且活动板2的外侧面和笔记本电脑底面处于同一平面,为了防止活动板2因为自身重量自动展开,活动板2与笔记本电脑1底面上设置有锁定装置4,活动板2通过该锁定装置4卡在笔记本电脑的底面。锁定装置4的结构图如图4所示,为安装在笔记本电脑底面两侧的楔形锁销,包括楔形块、弹簧和突起7和8,活动板2相对应位置处设置有该锁销4配合使用的锁孔,当需要将活动板固定在笔记本电脑底面时,把活动板压到楔形锁销上边缘,锁销4在活动板2的外力作用下缩回,直至活动板完全贴合笔记本电脑底部,此时锁销不再受活动板外力作用,但是在弹簧弹力的作用下楔形块被弹进活动板2锁孔内,从而起到固定活动板的作用。当需要将活动板展开时,按住突起7和突起8把楔形块往两侧拨开,这时活动板不再受固定装置影响而展开。活动板2的上表面设置有凹槽3,用于存放笔、橡皮等文具,以满足用户一边看书写字,一边操作笔记本电脑的需求。本实用新型能够在不影响用户携带笔记本的情况下使用户在户外学习时可以将书放在活动板上,实现边看书边操作电脑的需求。当用笔记本电脑在户外学习时,将笔记本电脑底面的活动板展开,使其与笔记本电脑处于同一平面,再将书放在活动板上,满足用户边看书边操作电脑的需求,记录完信息后,将笔存放在展开后的活动板的右侧凹槽内,因此本实用新型解除了用户操作电脑时不方便看书写字的烦恼,而当不用活动板时,将活动板扣在笔记本电脑的底面,方便用户携带。
实施例二
本实用新型的另一种实施方式是:在笔记本电脑的右边(或左边或前边)设置一种抽拉式的活动板,通过在笔记本电脑底部增设一个滑轨,活动板上相对应位置设置有与该滑轨配合的导向滑动部件。如图5所示。这里的滑轨采用抽拉板槽位6,该抽拉板槽位用于放置活动板,当需要用到活动板时,将活动板从笔记本电脑底部的抽拉板槽位中拉出,不用时将活动板推进抽拉板槽位内即可。所述实用新型的笔记本电脑托盘底部右边的抽拉板槽位图如图6所示。活动板2的上表面设置有凹槽3,用于存放笔、橡皮等文具,以满足用户一边看书写字,一边操作笔记本电脑的需求。本实用新型能够在不影响用户携带笔记本的情况下使用户在户外学习时可以将书放在活动板上,实现边看书边操作电脑的需求。当用笔记本电脑在户外学习时,将笔记本电脑底面的活动板拉出,再将书放在活动板上,满足用户边看书边操作电脑的需求,记录完信息后,将笔存放在展开后的活动板的右侧凹槽内,因此本实用新型解除了用户操作电脑时不方便看书写字的烦恼,而当不用活动板时,将活动板推进抽拉板槽位内即可,方便用户携带。

Claims (5)

1. 一种带有活动板的笔记本电脑,包括笔记本电脑,其特征在于:所述笔记本电脑一侧的底面上铰接或抽拉安装有活动板。
2.根据权利要求1所述的带有活动板的笔记本电脑,其特征在于:所述通过铰接安装活动板的笔记本电脑的底面上设置有用于使活动板固定在笔记本电脑底面的锁定装置,该锁定装置为锁销,活动板上设置有与锁销配套使用的锁孔。
3.根据权利要求1所述的带有活动板的笔记本电脑,其特征在于:所述的笔记本电脑底面安装有滑轨,活动板上相对应位置设置有与滑轨配合的导向滑动部件。
4.根据权利要求2或3所述的带有活动板的笔记本电脑,其特征在于:所述的活动板上还设置有凹槽,用于存放文具。
5.根据权利要求2所述的带有活动板的笔记本电脑,其特征在于:所述的铰接方式为合页或者铰链。
CN201320235117.9U 2013-05-03 2013-05-03 一种带有活动板的笔记本电脑 Expired - Fee Related CN203397257U (zh)

Priority Applications (1)

Application Number Priority Date Filing Date Title
CN201320235117.9U CN203397257U (zh) 2013-05-03 2013-05-03 一种带有活动板的笔记本电脑

Applications Claiming Priority (1)

Application Number Priority Date Filing Date Title
CN201320235117.9U CN203397257U (zh) 2013-05-03 2013-05-03 一种带有活动板的笔记本电脑

Publications (1)

Publication Number Publication Date
CN203397257U true CN203397257U (zh) 2014-01-15

Family

ID=49908778

Family Applications (1)

Application Number Title Priority Date Filing Date
CN201320235117.9U Expired - Fee Related CN203397257U (zh) 2013-05-03 2013-05-03 一种带有活动板的笔记本电脑

Country Status (1)

Country Link
CN (1) CN203397257U (zh)

Cited By (2)

* Cited by examiner, † Cited by third party
Publication number Priority date Publication date Assignee Title
CN104142711A (zh) * 2014-02-19 2014-11-12 河南师范大学 带鼠标托板的笔记本电脑
CN105260684A (zh) * 2015-11-06 2016-01-20 广西职业技术学院 一种带防盗装置的笔记本电脑

Cited By (4)

* Cited by examiner, † Cited by third party
Publication number Priority date Publication date Assignee Title
CN104142711A (zh) * 2014-02-19 2014-11-12 河南师范大学 带鼠标托板的笔记本电脑
CN104142711B (zh) * 2014-02-19 2017-12-05 河南师范大学 带鼠标托板的笔记本电脑
CN105260684A (zh) * 2015-11-06 2016-01-20 广西职业技术学院 一种带防盗装置的笔记本电脑
CN105260684B (zh) * 2015-11-06 2018-02-16 广西职业技术学院 一种带防盗装置的笔记本电脑

Similar Documents

Publication Publication Date Title
US20150359120A1 (en) Convertible portfolio cover for a portable electronic device
CN203397257U (zh) 一种带有活动板的笔记本电脑
CN203828351U (zh) 便携可收缩式笔记本电脑桌
CN202077819U (zh) 可收放键盘的板式电脑桌
CN104455971A (zh) 一种便携式笔记本电脑支架
CN103222735A (zh) 内嵌式综合电脑书桌
CN201727078U (zh) 一种防尘防盗多用电脑桌
CN206964384U (zh) 一种带写字板的书架
KR102582340B1 (ko) 책넘김 방지기구
CN204764160U (zh) 一种墙壁床上书桌
CN202425876U (zh) 便携式折叠桌
CN204459632U (zh) 一种便携式笔记本电脑支架
CN204218306U (zh) 阅书架
KR200439159Y1 (ko) 책받침대를 구비한 컴퓨터 책상
CN216165960U (zh) 一种多功能电脑桌
CN201435031Y (zh) 用于笔记本电脑的便携式托架
CN202351803U (zh) 一种带有隐藏式触摸板的有线键盘
CN212185657U (zh) 一种新型便携式折叠阅读支架
CN204595698U (zh) 多功能平板电脑套
CN210062523U (zh) 一种多功能收纳盒
CN205866393U (zh) 一种设计专业用多功能课桌
CN211684264U (zh) 一种扩展式乐谱夹
CN205929881U (zh) 一种电子书套
CN204367684U (zh) 一种多功能写字板
CN215512953U (zh) 一种便携式指纹u盘电源记事本

Legal Events

Date Code Title Description
C14 Grant of patent or utility model
GR01 Patent grant
CF01 Termination of patent right due to non-payment of annual fee
CF01 Termination of patent right due to non-payment of annual fee

Granted publication date: 20140115

Termination date: 20160503