CN203319073U - Household garbage classifying and recycling cabinet - Google Patents
Household garbage classifying and recycling cabinet Download PDFInfo
- Publication number
- CN203319073U CN203319073U CN2013203158785U CN201320315878U CN203319073U CN 203319073 U CN203319073 U CN 203319073U CN 2013203158785 U CN2013203158785 U CN 2013203158785U CN 201320315878 U CN201320315878 U CN 201320315878U CN 203319073 U CN203319073 U CN 203319073U
- Authority
- CN
- China
- Prior art keywords
- cabinet
- recycling
- collection box
- box
- door leaf
- Prior art date
- Legal status (The legal status is an assumption and is not a legal conclusion. Google has not performed a legal analysis and makes no representation as to the accuracy of the status listed.)
- Expired - Fee Related
Links
- 238000004064 recycling Methods 0.000 title claims abstract description 93
- 239000010813 municipal solid waste Substances 0.000 title claims abstract description 40
- 238000011084 recovery Methods 0.000 claims abstract description 24
- 239000002699 waste material Substances 0.000 claims description 54
- 239000010791 domestic waste Substances 0.000 abstract description 16
- 238000005192 partition Methods 0.000 abstract description 3
- 239000002028 Biomass Substances 0.000 description 8
- 229910001385 heavy metal Inorganic materials 0.000 description 8
- 229910052751 metal Inorganic materials 0.000 description 8
- 239000002184 metal Substances 0.000 description 8
- 239000002920 hazardous waste Substances 0.000 description 7
- 239000011521 glass Substances 0.000 description 6
- 239000007788 liquid Substances 0.000 description 6
- 150000002739 metals Chemical class 0.000 description 6
- 229940079593 drug Drugs 0.000 description 4
- 239000003814 drug Substances 0.000 description 4
- 235000019645 odor Nutrition 0.000 description 4
- 241001465754 Metazoa Species 0.000 description 3
- 231100001261 hazardous Toxicity 0.000 description 3
- 231100000614 poison Toxicity 0.000 description 3
- 230000007096 poisonous effect Effects 0.000 description 3
- XEEYBQQBJWHFJM-UHFFFAOYSA-N Iron Chemical compound [Fe] XEEYBQQBJWHFJM-UHFFFAOYSA-N 0.000 description 2
- 241000699670 Mus sp. Species 0.000 description 2
- 241000700159 Rattus Species 0.000 description 2
- QAOWNCQODCNURD-UHFFFAOYSA-N Sulfuric acid Chemical compound OS(O)(=O)=O QAOWNCQODCNURD-UHFFFAOYSA-N 0.000 description 2
- 238000009825 accumulation Methods 0.000 description 2
- 238000006243 chemical reaction Methods 0.000 description 2
- 239000002894 chemical waste Substances 0.000 description 2
- 230000002354 daily effect Effects 0.000 description 2
- 230000006866 deterioration Effects 0.000 description 2
- 230000003203 everyday effect Effects 0.000 description 2
- 235000013305 food Nutrition 0.000 description 2
- 235000021190 leftovers Nutrition 0.000 description 2
- 239000010808 liquid waste Substances 0.000 description 2
- 230000007774 longterm Effects 0.000 description 2
- 239000010814 metallic waste Substances 0.000 description 2
- 229910052782 aluminium Inorganic materials 0.000 description 1
- XAGFODPZIPBFFR-UHFFFAOYSA-N aluminium Chemical compound [Al] XAGFODPZIPBFFR-UHFFFAOYSA-N 0.000 description 1
- 244000052616 bacterial pathogen Species 0.000 description 1
- 235000013405 beer Nutrition 0.000 description 1
- 235000013409 condiments Nutrition 0.000 description 1
- 239000002537 cosmetic Substances 0.000 description 1
- 230000007812 deficiency Effects 0.000 description 1
- 235000013399 edible fruits Nutrition 0.000 description 1
- 238000009459 flexible packaging Methods 0.000 description 1
- 235000015219 food category Nutrition 0.000 description 1
- 239000010922 glass waste Substances 0.000 description 1
- 229910052742 iron Inorganic materials 0.000 description 1
- 238000000034 method Methods 0.000 description 1
- 239000000575 pesticide Substances 0.000 description 1
- 239000000126 substance Substances 0.000 description 1
Images
Classifications
-
- Y—GENERAL TAGGING OF NEW TECHNOLOGICAL DEVELOPMENTS; GENERAL TAGGING OF CROSS-SECTIONAL TECHNOLOGIES SPANNING OVER SEVERAL SECTIONS OF THE IPC; TECHNICAL SUBJECTS COVERED BY FORMER USPC CROSS-REFERENCE ART COLLECTIONS [XRACs] AND DIGESTS
- Y02—TECHNOLOGIES OR APPLICATIONS FOR MITIGATION OR ADAPTATION AGAINST CLIMATE CHANGE
- Y02W—CLIMATE CHANGE MITIGATION TECHNOLOGIES RELATED TO WASTEWATER TREATMENT OR WASTE MANAGEMENT
- Y02W30/00—Technologies for solid waste management
- Y02W30/10—Waste collection, transportation, transfer or storage, e.g. segregated refuse collecting, electric or hybrid propulsion
Landscapes
- Refuse Collection And Transfer (AREA)
- Processing Of Solid Wastes (AREA)
- Refuse Receptacles (AREA)
Abstract
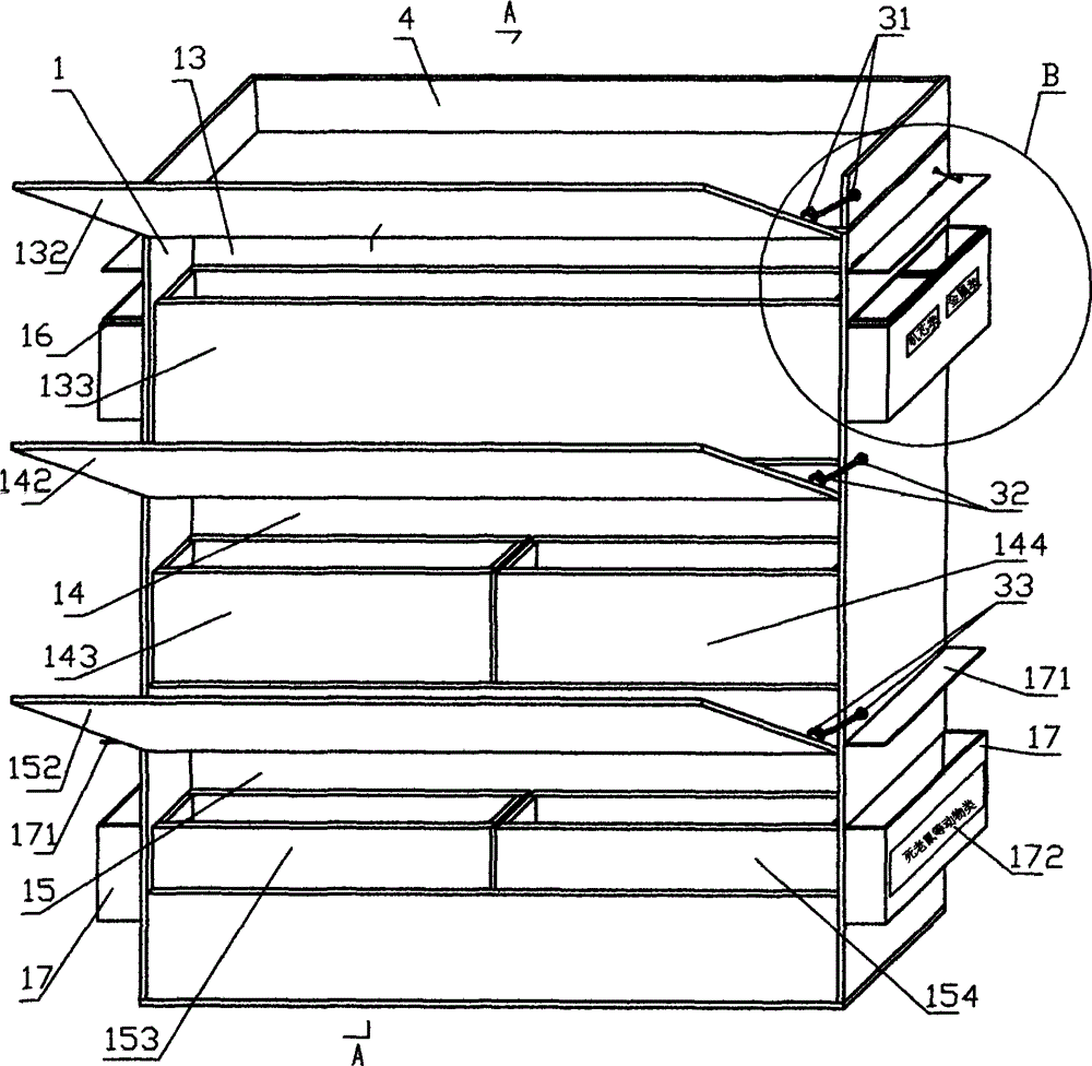
一种生活垃圾分类回收柜,其包括柜体(1),柜体(1)内通过隔板(11、12)分成三层回收箱,回收箱的正面均设有开口(131、141、151),上层回收箱(13)内安放有一个回收盒(133);中层回收箱(14)内设有两个长条形回收盒(143、144);下层回收箱(15)内设有两个长条形回收盒(153、154);柜体(1)的左右外侧上部分别设有两个回收盒(16);柜体(1)的左右外侧下部分别设有围栏(17)。其不但可以将垃圾按照回收用途、回收价值、垃圾物理特性进行分类,其还可以将有腐烂变质、散发难闻或有害气味的垃圾与可以长期存放的垃圾进行分类存放。
A sorting and recycling cabinet for domestic waste, which includes a cabinet body (1). The inside of the cabinet body (1) is divided into three layers of recycling bins through partitions (11, 12), and openings (131, 141, 151 ), a recovery box (133) is placed in the upper recovery box (13); two strip recovery boxes (143, 144) are arranged in the middle recovery box (14); Two elongated recycling boxes (153, 154); the upper left and right outer sides of the cabinet (1) are respectively provided with two recycling boxes (16); the lower left and right outer sides of the cabinet (1) are respectively provided with fences (17). It can not only classify garbage according to recycling use, recycling value, and physical characteristics of garbage, but also classify and store rotten, unpleasant or harmful odor garbage and garbage that can be stored for a long time.
Description
技术领域technical field
本实用新型涉及一种生活垃圾(包括生活废品)回收设备,特别是一种生活垃圾分类回收柜。The utility model relates to a domestic waste (including domestic waste product) recovery equipment, in particular to a sorting recovery cabinet for domestic waste.
背景技术Background technique
许多生活垃圾(包括生活废品),特别是像重金属类、电路板类、危险液体类、玻璃类等危险类生活废品都被人们作为垃圾扔进了垃圾箱,没有得到很好的利用,而且还污染环境;主要是因为在城市的大街小巷都是用大体积的回收箱把日常危险废品聚集在一起存放,没有在投放时就进行分类,或者是通过回收点回收危险废品,大体积的回收箱摆在街道上既遮挡视线,而且投入费用也很大,由于箱体高大成本高使其数量有限,不能像果皮箱一样随意放置,人们投放不方便,很多时候人们生活中的危险类废品往往只有一点点,为了投放这一点点危险类生活废品要跑很远的路去投放,很多人都会放弃投放,人们往往将危险类生活废品作为普通垃圾扔进了垃圾箱,所以用大体积的回收箱或者固定的回收点还不能很好解决危险类废品回收的问题。Many domestic wastes (including domestic waste products), especially dangerous domestic waste products such as heavy metals, circuit boards, dangerous liquids, glass, etc., are thrown into the dustbin as garbage by people, and have not been well utilized. Pollution of the environment; mainly because large-volume recycling bins are used to store daily hazardous waste in the streets and alleys of the city, and they are not classified when they are released, or hazardous waste is recycled through recycling points, and large-volume recycling Putting boxes on the street not only blocks the line of sight, but also costs a lot of money. Due to the high cost of the boxes, the quantity is limited, and they cannot be placed randomly like fruit boxes. Only a little bit, in order to release this little bit of hazardous domestic waste, you have to go a long way to put it in. Many people will give up. People often throw hazardous domestic waste into the trash can as ordinary garbage, so use a large volume of recycling Bins or fixed recycling points are still not a good solution to the problem of hazardous waste recycling.
这解决上述问题,本申请人申请了危险类废品回收柜专利权(专利号:200920259833.4),其虽然可以用解决一些废品回收分类的问题,但在实践中发现其还存在一些不足:目前,可以回收利用的危险废品主要可以分成电池类(电池等化工废品)、芯片类(芯片、银行卡等电子卡、电路板、等)、普通金属类(也叫小金属类,主要为日常使用较多的铁、铝等金属废品)、重金属类(含有铅的等重金属废品,大多是有毒,所以要单独分成一类)、玻璃类(灯管、酒瓶等)、危险液体类(农药等有毒药物,硫酸等危险物),而危险类废品回收柜(专利号:200920259833.4)将危险液体类废品分类放在最上面一层,即与电池类、芯片类、普通金属类和重金属类放在同一层,很不安全,一方面因为危险液体类废品可能会产生一些渗漏,影响旁边的废品安全,另一方面还可能产生滴漏,影响下层的废品安全;将玻璃类放在最上面一层,而将灯泡、灯管等大件类又单独放在最下一层,同一种属性的废品分成两类,明显分类不合理,还占用两个废品分类空间,浪费回收柜的空间;对电池等化工废品也没有很好的分类,放到其它废品中,使其得不到充分利用,还可能产生危险;并且,各废品单格中没有挡门,容易让雨水浸入,使废品产生腐袭或者引起其它化学反应,使废品可利用价值减少,也可能产生二次污染,甚至引起危险事故的发生。This solves the above-mentioned problems, the applicant has applied for the patent right of the hazardous waste recycling cabinet (patent number: 200920259833.4), although it can be used to solve some problems of recycling and classification of waste products, it is found in practice that it still has some shortcomings: at present, it can Recycled hazardous waste can be mainly divided into batteries (chemical waste products such as batteries), chips (electronic cards such as chips, bank cards, circuit boards, etc.), common metals (also called small metals, mainly for daily use) Iron, aluminum and other metal wastes), heavy metals (most of which contain lead and other heavy metals are poisonous, so they should be divided into a separate category), glass (light tubes, wine bottles, etc.), dangerous liquids (poisonous drugs such as pesticides) , sulfuric acid and other dangerous substances), and the hazardous waste recycling cabinet (patent number: 200920259833.4) classifies hazardous liquid waste on the top layer, that is, puts it on the same layer as batteries, chips, common metals and heavy metals , very unsafe. On the one hand, dangerous liquid wastes may leak and affect the safety of waste products next to them; Large items such as light bulbs and lamp tubes are placed separately on the bottom layer. Waste products of the same attribute are divided into two categories, which is obviously unreasonable and occupies two spaces for waste classification, wasting space in the recycling cabinet; The waste products are not well classified, and they are placed in other waste products, so that they cannot be fully utilized and may cause danger; moreover, there is no door in each waste product grid, which is easy for rainwater to soak in, causing waste products to rot or cause damage. Other chemical reactions reduce the usable value of waste products, may also cause secondary pollution, and even cause dangerous accidents.
这解决这一问题,本申请人申请了危险废品分类回收柜专利(专利号:201120377945.7),其虽然可将废品的分类与投放回收相结合,在回收时就直接而自然地进行了分类,省工省时,且不会产生废品之间相互干扰或者发生化学反应;三层回收箱设计及标签设计使分类更加更加合理,对电池等化工废品进行了分类,重金属类与普通金属分开更加合理(重金属废品大多是有毒),特别是将危险液体类单独分成一类并置于最下层,更安全可靠。但其存在以下问题:目前,人们生活中产生的生活垃圾(包括生活废品),除了可以按照以上可利用价值进行分类外,没有考虑到生活垃圾的存放时间和对周围环境生产影响的情况进行分类,从生活垃圾的存放时间和对周围环境生产影响方面可将生活垃圾分为两大类:一类是容易腐烂变质、散发难闻或有害气味类垃圾,甚至会造成污染,这类垃圾保存期短,需要每天、甚至几个小时内就要进行处理,主要包括生活残菜剩饭、死鼠等生物质垃圾,生物质垃圾会腐烂,散发难闻气味,还可能传播病菌,很容易造成污染和危害;另一类是为可以长期存放的垃圾,这类垃圾不需要经常处理,也不容易腐烂变质,不会散发难闻或有害气味,其放在家中对人们生活没有明显的影响与危害,即不易腐烂变质、不散发难闻或有害气味类垃圾,例如“电池类”、“芯片类”、“小金属类”、“重金属类”、“灯管等玻璃类”等。由于目前的废品(包括垃圾)分类回收柜没有将这两类垃圾分开存放,所以人们往往是将这些容易腐烂变质、散发难闻或有害气味类垃圾混合存放入其它废品(包括垃圾)中,使得人们需要天天去处理这些垃圾、废品,这样一方面会很麻烦,很费时,另一方面,人们天天去处理掉这些垃圾和废品,每天废品没有积聚起来,量很少,废品价值也少,人们往往在处理垃圾时,将那些小量的本来可以再利用的废品(例如“电池类”、“芯片类”、“小金属类”、“重金属类”、“灯管等玻璃类”)连同容易腐烂变质、散发难闻或有害气味类垃圾一起仍掉,不会送到专门的回收店去,造成了事实上废品的浪费,这种废品分类回收柜也事实上只起到一个临时垃圾存放箱的作用,没有起到真正回收、积聚生活垃圾中的废品(废品只有积聚到一定量时,人们才会觉得值得将其送到专门回收店去)的作用。This solves this problem, and the applicant has applied for the patent (patent No.: 201120377945.7) of hazardous waste classification recovery cabinet, although it can combine the classification of waste products with putting in recycling, when recycling, it directly and naturally classifies, saving It saves labor and time, and will not cause mutual interference or chemical reaction between waste products; the design of three-layer recycling bins and label design makes the classification more reasonable, and the classification of chemical waste products such as batteries is more reasonable. It is more reasonable to separate heavy metals from ordinary metals ( Most of the heavy metal wastes are poisonous), especially the dangerous liquids are separated into one category and placed at the bottom, which is safer and more reliable. But it has the following problems: At present, the domestic waste (including domestic waste) produced in people's lives, in addition to being classified according to the above usable value, does not take into account the storage time of domestic waste and the impact on the surrounding environment. From the storage time of domestic garbage and the impact on the surrounding environment, domestic garbage can be divided into two categories: one is easy to rot and deteriorate, emits unpleasant or harmful odors, and even causes pollution. The storage period of this type of garbage is Short, it needs to be processed every day or even within a few hours. It mainly includes living leftovers, dead rats and other biomass waste. Biomass waste will rot, emit bad smell, and may spread germs, which is easy to cause pollution The other type is garbage that can be stored for a long time. This kind of garbage does not need to be disposed of frequently, and it is not easy to rot and deteriorate. , that is, garbage that is not perishable and does not emit unpleasant or harmful odors, such as "batteries", "chips", "small metals", "heavy metals", "glasses such as lamp tubes", etc. Because the current waste (comprising garbage) sorting and recycling cabinets do not store these two types of garbage separately, people often store these perishable, unpleasant or harmful smell garbage in other waste products (comprising garbage). People need to dispose of these rubbish and waste products every day. On the one hand, it will be very troublesome and time-consuming. Often when disposing of garbage, those small amounts of waste products that could have been reused (such as "batteries", "chips", "small metals", "heavy metals", "glasses such as lamp tubes") are combined with easy Rotten waste, bad smell or harmful smell will be discarded together, and will not be sent to a special recycling shop, resulting in a waste of waste. In fact, this kind of waste sorting and recycling cabinet is only a temporary garbage storage box. It does not play the role of really recycling and accumulating the waste products in the domestic garbage (the waste products have only accumulated to a certain amount, and people will feel that it is worth sending it to a special recycling shop).
发明内容Contents of the invention
本实用新型的目的是克服现有技术的上述不足而提供一种生活垃圾分类回收柜,其不但可以将垃圾(包括可能作为垃圾的废品)按照回收用途、回收价值、垃圾物理特性进行分类,其还可以将垃圾按照可存放时间及对人们生活影响的特性进行分类,即可以将有腐烂变质、散发难闻或有害气味的垃圾与可以长期存放的垃圾进行分类存放,解决了及时处理生活易变质垃圾与长久积聚生活废品的问题。The purpose of this utility model is to overcome the above-mentioned deficiencies of the prior art and provide a sorting and recycling cabinet for domestic garbage, which can not only classify garbage (including waste products that may be used as garbage) according to recycling purposes, recycling value, and physical characteristics of garbage, but also It is also possible to classify the garbage according to the storage time and the characteristics that affect people's lives, that is, the garbage that has rot and deterioration, emits unpleasant or harmful odors and the garbage that can be stored for a long time can be classified and stored, which solves the problem of timely treatment of perishable life. The problem of garbage and long-term accumulation of domestic waste products.
本实用新型的技术方案是:一种生活垃圾分类回收柜,其包括柜体,柜体内通过隔板分成上层回收箱、中层回收箱和下层回收箱三层回收箱,上层回收箱、中层回收箱和下层回收箱的正面均设有开口,所述的柜体的左右外侧上部分别设有回收盒。The technical scheme of the utility model is: a sorting and recycling cabinet for domestic waste, which includes a cabinet body, and the cabinet body is divided into three layers of recycling bins: an upper recycling bin, a middle recycling bin and a lower recycling bin through partitions, and the upper recycling bin and the middle recycling bin Openings are provided on the fronts of the recycle box and the lower floor recycle box, and recycle boxes are respectively provided on the left and right outside upper parts of the cabinet.
本实用新型进一步的技术方案是:所述的柜体的左右外侧上部设有的回收盒均为两个,回收盒通过托架或者挂钩安设在柜体的左右外侧上部。The further technical solution of the utility model is: two recovery boxes are arranged on the upper left and right outer sides of the cabinet body, and the recycling boxes are arranged on the upper left and right outer sides of the cabinet body through brackets or hooks.
本实用新型更进一步的技术方案是:所述的柜体的左外侧的两个回收盒或托架上分别设有标签,该两个标签上分别注有“电池类”、“笔类”的字样;柜体的右外侧的两个回收盒或托架分别设有标签,该两个标签上分别注有“机芯类”、“金属类”的字样。A further technical solution of the present invention is: the two recycling boxes or brackets on the left side of the cabinet are respectively provided with labels, and the two labels are respectively marked with "batteries" and "pens". The two recycling boxes or brackets on the right outer side of the cabinet are respectively provided with labels, and the words "movement type" and "metal type" are respectively marked on the two labels.
本实用新型再进一步的技术方案是:所述的柜体的左右外侧下部分别设有围栏。A further technical solution of the utility model is: the left and right outer lower parts of the cabinet body are respectively provided with fences.
本实用新型还进一步的技术方案是:所述的左侧围栏上设有标签,该标签上注有“食品类”的字样;右侧围栏上设有标签,标签上注有“死老鼠等动物类”的字样。The further technical scheme of the utility model is: the left side fence is provided with a label, and the words "food" are marked on the label; the right side fence is provided with a label, and the label is marked with "dead rats and other animals". Class" words.
本实用新型进一步的技术方案是:所述的上层回收箱内安放有一个回收盒;中层回收箱内设有两个回收盒;下层回收箱内设有两个回收盒。The further technical solution of the utility model is: a recovery box is placed in the upper recycling box; two recycling boxes are arranged in the middle recycling box; two recycling boxes are arranged in the lower recycling box.
本实用新型进一步的技术方案是:所述的柜体上的各层回收箱对应于开口的位置分别设有门扇,各门扇与柜体相铰接;上层回收箱的门扇外表面设有分类标签,标签上注有“灯管等玻璃类”的字样;中层回收箱的门扇外表面对应于回收盒分别设有标签,标签上分别注有“废弃药品类”、“危险液体类”的字样;下层回收箱的门扇外表面对应回收盒分别设有标签,标签上分别注有“易碎瓶罐等容器”、“不易碎瓶罐等容器”的字样。The further technical solution of the utility model is: each layer of recycling boxes on the cabinet body is respectively provided with door leaves corresponding to the positions of the openings, and each door leaf is hinged with the cabinet body; the outer surface of the door leaves of the upper layer recovery box is provided with classification labels, The words "light tubes and other glass" are marked on the label; the outer surface of the door leaf of the middle layer recycling box is respectively provided with labels corresponding to the recycling boxes, and the words "waste medicines" and "dangerous liquids" are marked on the labels respectively; the lower layer The outer surface of the door leaf of the recycling box is provided with labels corresponding to the recycling boxes, and the words "fragile bottles and cans and other containers" and "non-breakable bottles and cans and other containers" are respectively marked on the labels.
本实用新型进一步的技术方案是:所述的柜体的左右外侧上部对应于回收盒的位置分别设有挡雨板;柜体的左右外侧下部对应于围栏上方的位置分别设有挡雨板;各个门扇与柜体之间还设有挂钩组件;各个门扇与柜体之间还设有挂钩组件,在投放或者取出废品时,可以用通过挂钩组件将门扇悬挂起来,方便投放或者取出废品;柜体的上部还连接有挡板。The further technical solution of the utility model is: the left and right outer upper parts of the cabinet are respectively provided with rain shields corresponding to the positions of the recycling boxes; the left and right outer lower parts of the cabinet are respectively provided with rain shields corresponding to the positions above the fence; There is also a hook assembly between each door leaf and the cabinet body; there is also a hook assembly between each door leaf and the cabinet body. When putting in or taking out waste products, the door leaf can be hung by the hook assembly, which is convenient for putting in or taking out waste products; The upper part of the body is also connected with a baffle.
本实用新型与现有技术相比具有如下特点:柜体的左右外侧下部分别设有围栏,围栏内可以存放一些生物质垃圾,这些垃圾一般是使用塑料袋装好后放于其内,经常可以提走,围栏置于柜体的外侧,其内的生物质垃圾就不会影响柜体的内部三层箱内的可利用的废品,围栏位于柜体的下部,可以防止其内的生物质垃圾掉下造成打翻其它废品。本实用新型不但可以将垃圾(包括可能作为垃圾的废品)按照回收用途、回收价值、垃圾物理特性进行分类,其还可以将垃圾按照可存放时间及对人们生活影响的特性进行分类,即可以将有腐烂变质、散发难闻或有害气味的垃圾与可以长期存放的垃圾进行分类存放,解决了及时处理生活易变质垃圾与长久积聚生活废品的问题。Compared with the prior art, the utility model has the following characteristics: the left and right outer lower parts of the cabinet body are respectively provided with fences, and some biomass wastes can be stored in the fences, and these wastes are usually packed in plastic bags, and can often be Lifting away, the fence is placed on the outside of the cabinet, and the biomass waste in it will not affect the available waste products in the inner three-layer box of the cabinet. The fence is located at the lower part of the cabinet, which can prevent the biomass waste in it from Falling causes other waste products to be knocked over. The utility model can not only classify garbage (including waste products that may be used as garbage) according to recycling use, recycling value, and physical characteristics of garbage, but also classify garbage according to the characteristics of storage time and impact on people's lives, that is, Garbage with rot and deterioration, unpleasant or harmful odors and garbage that can be stored for a long time are classified and stored, which solves the problem of timely disposal of perishable household garbage and long-term accumulation of domestic waste products.
以下结合附图和具体实施方式对本实用新型的详细结构作进一步描述。The detailed structure of the present utility model will be further described below in conjunction with the accompanying drawings and specific embodiments.
附图说明Description of drawings
图1为本实用新型的结构示意图;Fig. 1 is the structural representation of the utility model;
图2为图1的A-A剖视图;Fig. 2 is A-A sectional view of Fig. 1;
图3为图1沿B线范围内的局部放大图;Figure 3 is a partial enlarged view of Figure 1 along the line B;
图4为本实用新型的各门扇关下时的结构示意图;Fig. 4 is the structural representation when each door leaf of the present utility model is closed;
图5为本实用新型另一形式的结构示意图;Fig. 5 is the structural representation of another form of the utility model;
图6为图5沿C线范围内的局部放大图;Fig. 6 is a partial enlarged view along the range of line C in Fig. 5;
图7为图6的左视图。Fig. 7 is a left side view of Fig. 6 .
具体实施方式Detailed ways
实施例1Example 1
如图1-4所示:一种生活垃圾分类回收柜,其包括柜体1,柜体1内通过隔板(11、12)分成上层回收箱13、中层回收箱14和下层回收箱15三层回收箱(如图2所示),上层回收箱13、中层回收箱14和下层回收箱15的正面均设有开口(131、141、151),以便放入、取出废品或回收盒,柜体1上的各层回收箱(即上层回收箱13、中层回收箱14和下层回收箱15)对应于开(131、141、151)的位置分别设有门扇(132、142、152),各门扇(132、142、152)与柜体1相铰接,各门扇(132、142、152)可以分别挡住雨水等异物进入各层回收箱(13、14、15)内;上层回收箱13内安放有一个回收盒(133),回收盒(133)可以从上层回收箱13的开口131中取出,回收盒133主要用于回收灯管等玻璃废品,目前家庭用的灯管一般长度小于122厘米,环形灯管的直径小于32厘米,所以回收盒133内腔的一般设计为长度稍微大于122厘米(133厘米左右)、宽度稍微大于32厘米(33厘米左右);中层回收箱14内设有两个长条形回收盒(143、144),左边回收盒143主要用于收集存放废弃药品,右边回收盒144主要用于收集存放危险类液体;下层回收箱15内设有两个长条形回收盒(153、154),左边回收盒153主要用于收集存放易碎的瓶、罐等容器,例如啤酒瓶、可乐瓶、调味品、化妆品之类的瓶罐,右边回收盒154主要用于收集存放不易碎瓶、罐等容器,例如软包装、易拉罐。As shown in Figure 1-4: a domestic waste sorting and recycling cabinet, which includes a cabinet body 1, and the inside of the cabinet body 1 is divided into an
如图4所示,各门扇(132、142、152)上分别设有垃圾分类标签;上层回收箱13的门扇132外表面设有分类标签(1321),标签上注有“灯管等玻璃类”的字样;中层回收箱14的门扇142外表面对应于回收盒(143、144)分别设有标签(1431、1441),标签(1431、1441)上分别注有“废弃药品类”、“危险液体类”的字样;下层回收箱15的门扇152外表面对应回收盒(153、154)分别设有标签(1531、1541),标签(1531、1541)上分别注有“易碎瓶罐等容器”、“不易碎瓶罐等容器”的字样。As shown in Figure 4, each door leaf (132, 142, 152) is respectively provided with a garbage classification label; the outer surface of the
各个门扇(132、142、152)与柜体1之间还设有挂钩组件(31、32、33),在投放或者取出废品时,可以用通过挂钩组件(31、32、33)将门扇(132、142、152)悬挂起来,方便投放或者取出废品。Also be provided with hook assembly (31,32,33) between each door leaf (132,142,152) and cabinet body 1, when throwing in or taking out waste product, can use by hook assembly (31,32,33) to lock door leaf (31,32,33). 132, 142, 152) hang up, conveniently put in or take out waste product.
中层与下层门扇(142、152)均可以分成两块,即分成左右两边独立的两块(附图没有示出),各门扇分别对应柜体1内的各回收盒。The middle and lower door leaves (142, 152) can be divided into two pieces, that is, two independent pieces on the left and right sides (not shown in the accompanying drawings), and each door leaf corresponds to each recovery box in the cabinet body 1 respectively.
柜体1的上部还连接有挡板4,挡板4将柜体1的顶部围成一个可以放置油瓶等干性杂物的区间。The top of the cabinet body 1 is also connected with a
柜体1的左右外侧上部分别设有两个回收盒16,回收盒16通过托架161(如图1、3所示)或者挂钩162(如图5-6所示)安设在柜体1的左右外侧上部,对应于回收盒16的柜体1的左右外侧上部分别设有挡雨板163;对应于柜体1的左外侧的两个回收盒16的位置上(托架161上或者回收盒16上)分别设有标签(166、167),该两个标签上分别注有“电池类”、“笔类”的字样(如图7所示);对应于右外侧的两个回收盒16的位置上(托架161上或者回收盒16上)分别设有标签(164、165),该两个标签上分别注有“机芯类”、“金属类”的字样(如图3、6所示)。Two
柜体1的左右外侧下部分别设有围栏17,围栏17内可以存放一些生物质垃圾,这些垃圾一般是使用塑料袋装好后放于其内,经常可以提走,围栏17置于柜体1的外侧,其内的生物质垃圾就不会影响柜体1的内部三层箱内的可利用的废品,围栏17位于柜体1的下部,可以防止其内的生物质垃圾掉下造成打翻其它废品;对应于围栏17上方的柜体1的左右外侧分别设有挡雨板171。The left and right outside lower parts of the cabinet 1 are respectively provided with
左侧围栏17上设有标签173,该标签173上注有“食品类”的字样,包括各种容易变质、易散发气味的残菜剩饭均可在此存放(如图7所示);右侧围栏17上设有标签172,标签172上注有“死老鼠等动物类”的字样,用于存放死老鼠、宠物、动物粪便等容易变质、易散发气味需要快速处理的动物类垃圾(如图1所示)。
本实用新型不局限于上述的具体结构,只要是具有与本实用新型基本相同或者等同结构的垃圾(废品)分类回收装置就落在本实用新型的保护范围之内。The utility model is not limited to the above specific structure, as long as it is a garbage (waste) sorting and recycling device with basically the same or equivalent structure as the utility model, it falls within the protection scope of the utility model.
Claims (10)
Priority Applications (1)
| Application Number | Priority Date | Filing Date | Title |
|---|---|---|---|
| CN2013203158785U CN203319073U (en) | 2013-05-25 | 2013-05-25 | Household garbage classifying and recycling cabinet |
Applications Claiming Priority (1)
| Application Number | Priority Date | Filing Date | Title |
|---|---|---|---|
| CN2013203158785U CN203319073U (en) | 2013-05-25 | 2013-05-25 | Household garbage classifying and recycling cabinet |
Publications (1)
| Publication Number | Publication Date |
|---|---|
| CN203319073U true CN203319073U (en) | 2013-12-04 |
Family
ID=49658443
Family Applications (1)
| Application Number | Title | Priority Date | Filing Date |
|---|---|---|---|
| CN2013203158785U Expired - Fee Related CN203319073U (en) | 2013-05-25 | 2013-05-25 | Household garbage classifying and recycling cabinet |
Country Status (1)
| Country | Link |
|---|---|
| CN (1) | CN203319073U (en) |
Cited By (2)
| Publication number | Priority date | Publication date | Assignee | Title |
|---|---|---|---|---|
| CN104309966A (en) * | 2014-11-14 | 2015-01-28 | 王润生 | Convenient and efficient household garbage classification recycling cabinet and component thereof |
| TWI751538B (en) * | 2020-04-24 | 2022-01-01 | 實踐大學 | Microcontroller board exchange and recovery device |
-
2013
- 2013-05-25 CN CN2013203158785U patent/CN203319073U/en not_active Expired - Fee Related
Cited By (2)
| Publication number | Priority date | Publication date | Assignee | Title |
|---|---|---|---|---|
| CN104309966A (en) * | 2014-11-14 | 2015-01-28 | 王润生 | Convenient and efficient household garbage classification recycling cabinet and component thereof |
| TWI751538B (en) * | 2020-04-24 | 2022-01-01 | 實踐大學 | Microcontroller board exchange and recovery device |
Similar Documents
| Publication | Publication Date | Title |
|---|---|---|
| CN202988005U (en) | Garbage can capable of automatically classifying and identifying | |
| CN205708335U (en) | A new type of garbage bin with reminding function device for municipal use | |
| CA2887765C (en) | Waste management cart with advertising panels | |
| CN203319073U (en) | Household garbage classifying and recycling cabinet | |
| CN205771245U (en) | Harmful Waste put on by classification collecting box | |
| CN203473689U (en) | Recycling cabinet for household garbage prone to pollute environment | |
| CN204660508U (en) | A kind of automatic sorting garbage bin | |
| CN202296025U (en) | Dangerous waste classifying and recycling cabinet | |
| CN104309966A (en) | Convenient and efficient household garbage classification recycling cabinet and component thereof | |
| CN105564869B (en) | A kind of household garbage classification processing method and device | |
| CN201745983U (en) | Novel trash can | |
| CN104355013A (en) | Convenient and efficient household refuse classification recycling bin and convenient and efficient household refuse classification recycling bin assembly | |
| CN202279437U (en) | Garbage classifying and collecting vehicle | |
| CN203450659U (en) | Movable environment-friendly garbage can | |
| CN208906874U (en) | A kind of public health classification garbage can | |
| CN201825475U (en) | Domestic refuse classification recovering vehicle | |
| CN201567012U (en) | Hazardous waste recycling cabinet | |
| CN205931981U (en) | Classified dustbin | |
| CN204896437U (en) | Multi -functional municipal dustbin | |
| CN103738624A (en) | Lazy arm type replaceable environmental-friendly garbage bin | |
| CN205722639U (en) | A kind of solar advertisement light box | |
| CN203497507U (en) | Box and tree integrated environment-friendly garbage box | |
| CN110342139A (en) | Pedal sorting trash can | |
| CN205114214U (en) | Advertisement type rubbish can | |
| CN211618865U (en) | Garbage recycling bin convenient to clean |
Legal Events
| Date | Code | Title | Description |
|---|---|---|---|
| C14 | Grant of patent or utility model | ||
| GR01 | Patent grant | ||
| CF01 | Termination of patent right due to non-payment of annual fee | ||
| CF01 | Termination of patent right due to non-payment of annual fee |
Granted publication date: 20131204 Termination date: 20170525 |
