CN203308181U - Assisting handle and refrigerator - Google Patents

Assisting handle and refrigerator Download PDF

Info

Publication number
CN203308181U
CN203308181U CN2013201317077U CN201320131707U CN203308181U CN 203308181 U CN203308181 U CN 203308181U CN 2013201317077 U CN2013201317077 U CN 2013201317077U CN 201320131707 U CN201320131707 U CN 201320131707U CN 203308181 U CN203308181 U CN 203308181U
Authority
CN
China
Prior art keywords
refrigerator
power
handle
assisted
push
Prior art date
Legal status (The legal status is an assumption and is not a legal conclusion. Google has not performed a legal analysis and makes no representation as to the accuracy of the status listed.)
Expired - Fee Related
Application number
CN2013201317077U
Other languages
Chinese (zh)
Inventor
卜军峰
职东宁
游飞越
王美艳
张丁
Current Assignee (The listed assignees may be inaccurate. Google has not performed a legal analysis and makes no representation or warranty as to the accuracy of the list.)
Hisense Ronshen Guangdong Refrigerator Co Ltd
Original Assignee
Hisense Ronshen Guangdong Refrigerator Co Ltd
Priority date (The priority date is an assumption and is not a legal conclusion. Google has not performed a legal analysis and makes no representation as to the accuracy of the date listed.)
Filing date
Publication date
Application filed by Hisense Ronshen Guangdong Refrigerator Co Ltd filed Critical Hisense Ronshen Guangdong Refrigerator Co Ltd
Priority to CN2013201317077U priority Critical patent/CN203308181U/en
Application granted granted Critical
Publication of CN203308181U publication Critical patent/CN203308181U/en
Anticipated expiration legal-status Critical
Expired - Fee Related legal-status Critical Current

Links

Images

Landscapes

  • Refrigerator Housings (AREA)

Abstract

本实用新型属于电器设备的技术领域,特别涉及一种助力拉手及具有该助力拉手的冰箱。该助力拉手包括设于冰箱门体上的拉杆及一个或两个助力机构,所述助力机构包括旋转部件和推开部件,所述推开部件设于冰箱门体的开合侧且可滑动至与冰箱箱体前端相抵,所述旋转部件一端固定在拉杆上,另一端与推开部件接触且可推动推开部件滑动。本实用新型助力拉手采用助力机构,用户施加较少的力在拉杆上,通过旋转部件推动推开部件,推开部件一端滑动至抵住冰箱箱体实现力的传递,从而实现用较少的力打开冰箱门体。

Figure 201320131707

The utility model belongs to the technical field of electrical equipment, in particular to a power-assisted handle and a refrigerator with the power-assisted handle. The booster handle includes a pull rod arranged on the refrigerator door body and one or two booster mechanisms, the booster mechanism includes a rotating part and a pushing part, and the pushing part is arranged on the opening and closing side of the refrigerator door body and can slide to Against the front end of the refrigerator box, one end of the rotating component is fixed on the pull rod, and the other end is in contact with the push-off component and can push the push-off component to slide. The power-assisted handle of the utility model adopts a power-assisted mechanism, the user exerts less force on the pull rod, pushes and pushes the part away through the rotating part, and one end of the pushed part slides to touch the refrigerator box to realize the transmission of force, thereby realizing the use of less force Open the refrigerator door.

Figure 201320131707

Description

A kind of boosting handle and refrigerator
Technical field
The utility model belongs to the technical field of electric equipment, particularly a kind of boosting handle and have the refrigerator of this boosting handle.
Background technology
Along with the raising of quality of the life, people become greatly gradually to the storage space demand of refrigerator in daily life, make large volume refrigerator product enjoy and pursue.When the refrigerator volume increased, volume was also increasing, make refrigerator door also corresponding uprising broaden.Along with refrigerator product enriching at aspects such as functions, bar desk, water dispenser, on door, the fashion elements such as automatic ice-making also starts to apply on the door body of large volume refrigerator, when having met people and more use needs, a door body weight has also increased the weight of a lot, and people are when opening refrigerator doors, the power that needs to use also becomes much larger, uses very inconvenient.Existing refrigerator is fixed handle mostly, when refrigerator doors is opened, requires great effort very much, particularly for old man and weakling.
Therefore, need to find a kind of boosting handle, the difficulty of opening to reduce refrigerator doors.
The utility model content
Problem to be solved in the utility model is to provide a kind of boosting handle for the deficiencies in the prior art, this boosting handle plays booster action to opening refrigerator doors, reduced the pulling force that refrigerator open needs, making to open the door becomes simple, has solved open the door a difficult difficult problem of old man and weakling.
The utility model also provides a kind of refrigerator that is provided with above-mentioned boosting handle.
For solving the problems of the technologies described above, technical solutions of the utility model are:
The utility model provides a kind of boosting handle, it comprises pull bar and one or two servomechanism of being located on refrigerator door, described servomechanism comprises rotary part and pushes parts open, the described parts of pushing open are located at the folding side of refrigerator door and slidably extremely with the refrigerator body front end, offset, described rotary part one end is fixed on pull bar, and the other end slides with pushing that parts contact open and can promote to push open parts.By rotary part, promote to push open parts, thereby prop up the transmission of refrigerator body realizable force, realize opening refrigerator door by less power.
Further, the described parts of pushing open comprise catch base and the push pedal be slidably matched, described catch base is fixed on refrigerator door, which is provided with sliding rail groove, described push pedal and catch base contact surface are provided with the slide rail boss with the sliding rail groove coupling, the slide rail boss of push pedal slips into the sliding rail groove of catch base, can guarantee that push pedal does straight reciprocating motion along the sliding rail groove of catch base; One end of push pedal is connected with rotary part and at catch base, slides under the promotion of rotary part, and its other end stretches out with the refrigerator body front end and offsets.Push parts open and adopt catch base and the push pedal be slidably matched, rotary part is to the direction of the active force of push pedal along the push pedal glide direction, and push pedal can not be subject to making the power of its buckling deformation like this.
Further, described rotary part comprises, lower plate, form hollow structure, rotary part upper, on lower plate, correspondence is provided with axis hole, described catch base mates and embeds in this hollow structure near an end and this hollow structure of rotary part, described built-in end comprises the end plate up and down that forms a space, the corresponding axis hole that is provided with of axis hole of upper and lower end plate and hollow structure, in the space that the end plate up and down of built-in end forms, be provided with spring, axle passes the axis hole of rotary part upper plate successively, the axis hole of catch base built-in end upper head plate, spring, the axis hole of catch base built-in end bottom plate and the axis hole of rotary part lower plate, each parts are linked together, having assembled rear rotary part pivots, spring backs down after refrigerator doors is loosed one's grip boosting handle rotary part is automatically reset.
Further, the link of described push pedal and rotary part is provided with button bit, and rotary part is provided with the T shape structure that can hook button bit, and push pedal is resetted with rotary part.The button bit of the link part of push pedal and rotary part is embedded in the set T shape structure of rotary part, guarantees that push pedal can perk along the refrigerator vertical direction.
Further, the end that offsets of described push pedal 8 and refrigerator body sidewall is provided with in position, Wei, hole, hole and is provided with the flexible material that does not abrade refrigerator body.This flexible material 7 is preferably elastomeric material, the rubber elastically deformable, thus the protection refrigerator body is injury-free.
Further, described pull bar is the column pull bar, and described rotary part and pull bar contact surface are cambered surface, and its radian is identical with the cambered surface radian of pull bar, like this gapless after the assembling; By screw, rotary part and pull bar are fixed together, can meet the client and use.
Above-mentioned boosting handle also comprises outer cover, and described outer cover is connected to the external surface of catch base.
Above-mentioned boosting handle also comprises bonnet, and described bonnet is connected to the external surface of rotary part.
Wherein, outer cover and bonnet are appearance part, can cover internal part, play beauty function.
The utility model also provides a kind of refrigerator, comprises refrigerator body, refrigerator door and is located at the handle on refrigerator door, and described handle is above-mentioned boosting handle.
Compared with prior art, the utlity model has following beneficial effect:
The utility model boosting handle adopts servomechanism, and the user applies less power on pull bar, promotes to push open parts by rotary part, pushes parts one end open and slides into the transmission that props up the refrigerator body realizable force, thereby realize opening refrigerator door by less power.After refrigerator door was opened, the power be applied on pull bar was cancelled, and the back-moving spring of rotary part inside resets, and drive is simultaneously pushed parts open and is retracted into reset condition, the refrigerator body of damaging while avoiding the refrigerator door quick closedown.The utility model adopts the refrigerator of this boosting handle, and the user only need just can complete the action of opening the door by less power, makes the more convenient and hommization of opening door operation.The utility model is practical, is widely used.
The accompanying drawing explanation
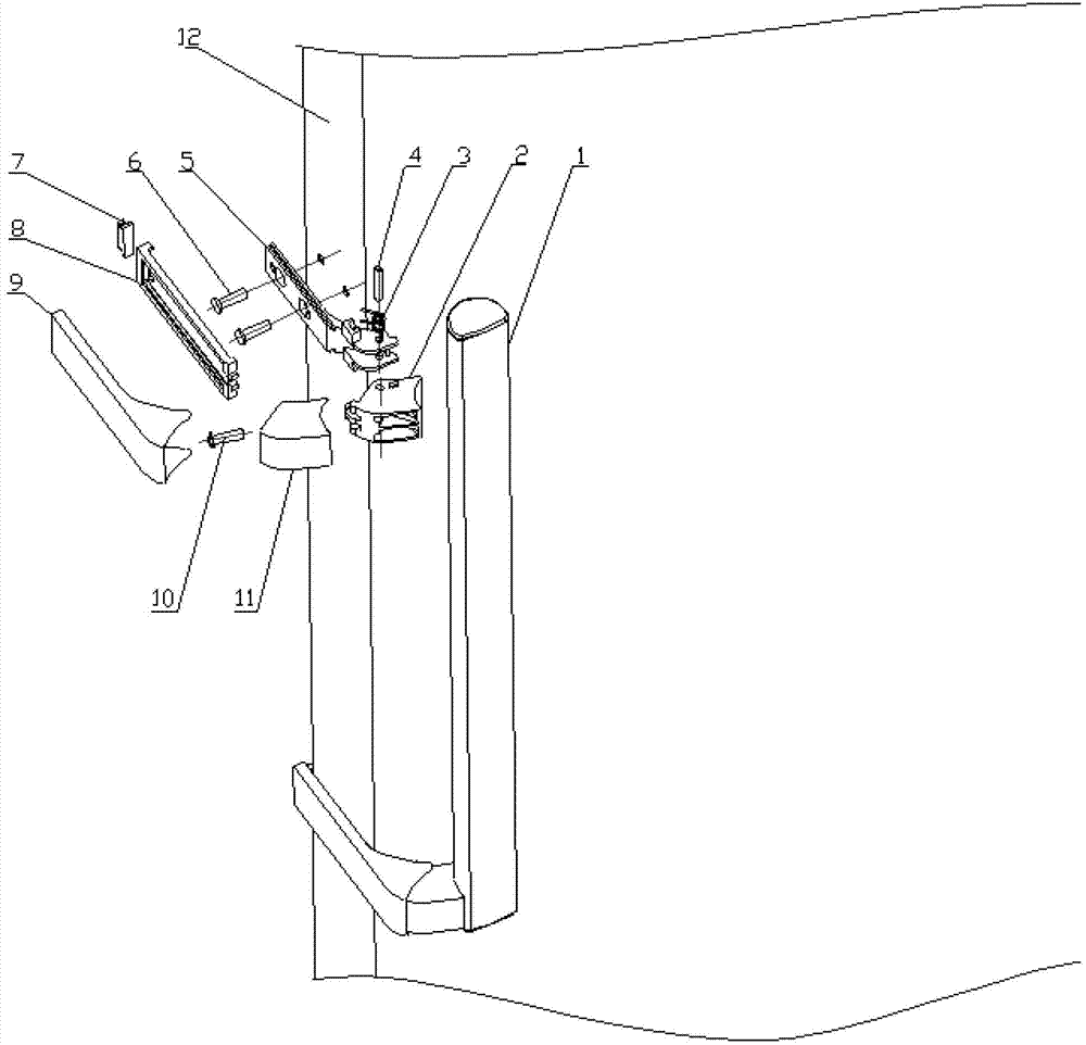
Fig. 1 is the blast of the utility model embodiment catch and scheme of installation;
Fig. 2 is the utility model embodiment catch assembling schematic diagram;
Fig. 3 is the assembling schematic diagram of the utility model embodiment rotary part, catch base and push pedal;
Fig. 4 is the utility model embodiment rotary part and push pedal assembling schematic diagram.
In figure, pull bar 1 rotary part 2 spring 3 axle 4 catch base 5 first screw 6 flexible material 7 push pedal 8 outer cover 9 second screw 10 bonnet 11 refrigerator door 12 refrigerator body 13 T shape structure 21 sliding rail groove 51 slide rail boss 81 button bits 82.
The specific embodiment
Below in conjunction with embodiment and accompanying drawing, the utility model is described in detail.
The utility model discloses a kind of boosting handle, comprises pull bar 1 and the servomechanism be located on refrigerator door 12, pull bar two ends can be equipped with two servomechanisms or an end for fixing without rushing board mechanism, the other end is equipped with servomechanism.
In Fig. 1, Fig. 2, servomechanism comprises rotary part 2 and pushes parts open, push that parts are located at the folding side of refrigerator door 12 and slidably to the refrigerator body front end, offseting, rotary part 2 one ends are fixed on pull bar 1 open, the other end with push that parts contact and can promote to push open the parts slip open.Push parts open and comprise catch base 5 and the push pedal 8 be slidably matched, catch base 5 is fixed on refrigerator door 12 sides, see Fig. 3, catch base 5 is provided with sliding rail groove 51, push pedal 8 is provided with catch base 5 contact surfaces the slide rail boss 81 mated with sliding rail groove 51, the slide rail boss 81 of push pedal 8 slips into the sliding rail groove 51 of catch base 5, can guarantee that push pedal 8 does straight reciprocating motion along the sliding rail groove 51 of catch base 5, realizes sliding each other between push pedal 8 and catch base 5.
Fig. 2, an end of push pedal 8 are connected with rotary part 2 and on catch base 5, are sliding under the promotion of rotary part 2, and the other end stretches out with refrigerator body 13 front end side wall and offsets.Push parts open and adopt catch base 5 and the push pedal 8 be slidably matched, the direction of the active force of 2 pairs of push pedals 8 of rotary part is along push pedal 8 glide directions, and push pedal 8 can not be subject to making the power of its buckling deformation like this.
In addition, rotary part 2 comprises, lower plate, on, lower plate forms hollow structure, and correspondence is provided with axis hole, catch base 5 mates and embeds in this hollow structure near an end and this hollow structure of rotary part 2, this described built-in end comprises the end plate up and down that forms a space, the corresponding axis hole that is provided with of axis hole of upper and lower end plate and hollow structure, in the space that the end plate up and down of this built-in end forms, be provided with spring 3, axle 4 passes the axis hole of rotary part 2 upper plates successively, the axis hole of catch base 5 built-in end upper head plates, spring 3, the axis hole of the axis hole of catch base 5 built-in end bottom plates and rotary part 2 lower plates, each parts are linked together, and realize rotating.Spring 3 can reset pull bar 1 band rotary part 2 when axle 4 motion like this.
Fig. 3, push pedal 8 is provided with button bit 82 with the link of rotary part 2, and rotary part 2 is provided with the T shape structure 21 that can hook button bit 82.By T shape structure 21, hook button bit 82, rotary part 2 and push pedal 8 are linked together.
Then, catch base 5 tightens together with refrigerator door 12 by the first screw 6.See Fig. 1 and Fig. 2.
In Fig. 1 and Fig. 4, pull bar 1 is the column pull bar, and rotary part 2 is cambered surface with pull bar 1 contact surface, and its radian is identical with the cambered surface radian of pull bar 1, and rotary part 2 is provided with bolt hole, adopts the second screw 10 to pass bolt hole rotary part 2 is fixed on pull bar 1.
By above-mentioned structure, the external force driven rotary parts 2 on being applied to pull bar 1 are when axle 4 motion, but the T shape structure 21 push-and-pull push pedals 8 of rotary part 2 ends are slided push pedal 8 on catch base 5, realize stretching motion.When push pedal 8 is stretched out, contact and offset with refrigerator body 13, can open refrigerator door 12.When releasing lever 1, external force is cancelled, and the spring 3 that is embedded in catch base 5 built-in ends and rotary part 2 inside resets rotary part 2, and while rotary part 2 hooks push pedal 8 by its T shape structure 21 resets push pedal 8 retractions.
In addition, stretch out and with refrigerator body 13, contact while offseting the infringement of refrigerator body 13 in order to eliminate push pedal 8, be provided with in position, Wei, hole, hole and be provided with the flexible material that does not abrade refrigerator body in the end that push pedal 8 and refrigerator body 13 sidewalls offset.This flexible material 7 is preferably elastomeric material, the rubber elastically deformable, thus protection refrigerator body 13 is injury-free.See Fig. 1 and Fig. 2.
In addition, in order to cover the internal part of boosting handle, reach boosting handle specious succinct, the utility model boosting handle also is provided with outer cover 9 and bonnet 11, wherein bonnet 11 inboards respectively have a buckle up and down, are connected in the set square hole of the upper and lower plate of rotary part 2; Outer cover 9 inboards respectively have a buckle up and down, are connected on the upper lower convex platform of catch base 5, and there is a buckle outer cover 9 rear ends, are connected in the set square hole in catch base 5 rear ends.See Fig. 1 and Fig. 2.
The utility model also discloses a kind of refrigerator, comprises refrigerator body, refrigerator door and is located at the handle on refrigerator door, shakes hands as above-mentioned boosting handle.
Above embodiment only, be used to the technical solution of the utility model is described, is not intended to limit; Although with reference to preferred embodiment, the utility model is had been described in detail; those of ordinary skill in the field are to be understood that; still can modify or the part technical characterictic is equal to replacement the specific embodiment of the present utility model; and not breaking away from the spirit of technical solutions of the utility model, it all should be encompassed in the middle of the technical scheme scope that the utility model asks for protection.

Claims (10)

1.一种助力拉手,包括设于冰箱门体上的拉杆,其特征在于:还包括一个或两个助力机构,所述助力机构包括旋转部件和推开部件,所述推开部件设于冰箱门体的开合侧且可滑动至与冰箱箱体前端相抵,所述旋转部件一端固定在拉杆上,另一端与推开部件接触且可推动推开部件滑动。 1. A power-assisted handle, including a pull rod arranged on the door of the refrigerator, characterized in that it also includes one or two power-assisted mechanisms, the power-assisted mechanism includes a rotating part and a pushing part, and the pushing part is arranged on the refrigerator The opening and closing side of the door body can slide to abut against the front end of the refrigerator box. One end of the rotating component is fixed on the pull rod, and the other end is in contact with the push-open component and can push the push-open component to slide. 2.根据权利要求1所述的助力拉手,其特征在于:所述推开部件包括滑动配合的拉手座和推板,所述拉手座固定在冰箱门体上,其上设有滑轨凹槽,所述推板与拉手座接触面上设有与滑轨凹槽匹配的滑轨凸台,推板的滑轨凸台滑入拉手座的滑轨凹槽;推板的一端与旋转部件连接且在旋转部件的推动下在拉手座上滑动,其另一端伸出后与冰箱箱体前端相抵。 2. The power-assisted handle according to claim 1, characterized in that: the push-opening part includes a handle seat and a push plate that are slidably matched, and the handle seat is fixed on the refrigerator door body, and there is a slide rail groove on it , the contact surface of the push plate and the handle seat is provided with a slide rail boss matching the slide rail groove, and the slide rail boss of the push plate slides into the slide rail groove of the handle seat; one end of the push plate is connected to the rotating part And it slides on the handle seat under the promotion of the rotating part, and its other end stretches out and abuts against the front end of the refrigerator box body. 3.根据权利要求2所述的助力拉手,其特征在于:所述旋转部件包括上、下板,形成中空结构,旋转部件的上、下板上对应设有轴孔,所述拉手座靠近旋转部件的一端与该中空结构匹配且嵌入该中空结构中,所述嵌入端包括形成一空间的上下端板,上下端板与中空结构的轴孔对应设置有轴孔、嵌入端的上下端板形成的空间内设有弹簧,轴依次穿过旋转部件上板的轴孔、拉手座嵌入端上端板的轴孔、弹簧、拉手座嵌入端下端板的轴孔和旋转部件下板的轴孔,使各部件连接在一起。 3. The power-assisted handle according to claim 2, characterized in that: the rotating part includes upper and lower plates, forming a hollow structure, the upper and lower plates of the rotating part are correspondingly provided with shaft holes, and the handle seat is close to the rotating One end of the component is matched with the hollow structure and embedded in the hollow structure. The embedded end includes upper and lower end plates forming a space. The upper and lower end plates are provided with shaft holes corresponding to the shaft holes of the hollow structure. There is a spring in the space, and the shaft passes through the shaft hole of the upper plate of the rotating part, the shaft hole of the handle seat embedded in the upper end plate, the spring, the shaft hole of the handle seat embedded in the lower end plate, and the shaft hole of the lower plate of the rotating part in sequence, so that each Parts are connected together. 4.根据权利要求3所述的助力拉手,其特征在于:所述推板与旋转部件的连接端设有扣位,旋转部件上设有可钩住扣位的T形结构。 4. The power-assisted handle according to claim 3, characterized in that: the connecting end of the push plate and the rotating part is provided with a buckle, and the rotating part is provided with a T-shaped structure capable of hooking the buckle. 5.根据权利要求2所述的助力拉手,所述推板与冰箱箱体侧壁相抵的端部设有不擦伤冰箱箱体的柔性物质。 5. The power-assisted handle according to claim 2, wherein the end of the push plate abutting against the side wall of the refrigerator box is provided with a flexible material that does not scratch the refrigerator box. 6.根据权利要求5所述的助力拉手,其特征在于:所述柔性物质为橡胶。 6. The power-assisted handle according to claim 5, wherein the flexible material is rubber. 7.根据权利要求1至6任一项所述的助力拉手,其特征在于:所述拉杆为柱状拉杆,所述旋转部件与拉杆接触面为弧面,其弧度与拉杆的弧面弧度相同。 7. The power-assisted handle according to any one of claims 1 to 6, wherein the pull rod is a columnar pull rod, and the contact surface between the rotating component and the pull rod is an arc whose curvature is the same as that of the pull rod. 8.根据权利要求7所述的助力拉手,其特征在于:还包括外罩,所述外罩卡接在拉手座的外表面。 8. The power-assisted handle according to claim 7, characterized in that it further comprises an outer cover, and the outer cover is clamped on the outer surface of the handle seat. 9.根据权利要求7所述的助力拉手,其特征在于:还包括后盖,所述后盖卡接在旋转部件的外表面。 9 . The power-assisted handle according to claim 7 , further comprising a rear cover, and the rear cover is clamped on the outer surface of the rotating component. 10.一种冰箱,包括冰箱箱体、冰箱门体和设于冰箱门体上的拉手,其特征在于:所述拉手为权利要求1至9任一项所述的助力拉手。 10. A refrigerator, comprising a refrigerator box, a refrigerator door and a handle provided on the refrigerator door, characterized in that the handle is the power-assisted handle according to any one of claims 1-9.
CN2013201317077U 2013-03-21 2013-03-21 Assisting handle and refrigerator Expired - Fee Related CN203308181U (en)

Priority Applications (1)

Application Number Priority Date Filing Date Title
CN2013201317077U CN203308181U (en) 2013-03-21 2013-03-21 Assisting handle and refrigerator

Applications Claiming Priority (1)

Application Number Priority Date Filing Date Title
CN2013201317077U CN203308181U (en) 2013-03-21 2013-03-21 Assisting handle and refrigerator

Publications (1)

Publication Number Publication Date
CN203308181U true CN203308181U (en) 2013-11-27

Family

ID=49614400

Family Applications (1)

Application Number Title Priority Date Filing Date
CN2013201317077U Expired - Fee Related CN203308181U (en) 2013-03-21 2013-03-21 Assisting handle and refrigerator

Country Status (1)

Country Link
CN (1) CN203308181U (en)

Cited By (5)

* Cited by examiner, † Cited by third party
Publication number Priority date Publication date Assignee Title
CN103184811A (en) * 2013-03-21 2013-07-03 海信容声(广东)冰箱有限公司 Power-assisted handle and refrigerator
US20150275545A1 (en) * 2014-03-28 2015-10-01 Samsung Electronics Co., Ltd. Door handle and refrigerator having the same
CN105486013A (en) * 2015-08-31 2016-04-13 合肥华凌股份有限公司 Assisting handle structure and refrigerator
CN110984800A (en) * 2019-12-16 2020-04-10 北京建磊国际装饰工程股份有限公司 Escape door
US12078406B2 (en) * 2021-01-07 2024-09-03 Lg Electronics Inc. Refrigerator

Cited By (9)

* Cited by examiner, † Cited by third party
Publication number Priority date Publication date Assignee Title
CN103184811A (en) * 2013-03-21 2013-07-03 海信容声(广东)冰箱有限公司 Power-assisted handle and refrigerator
CN103184811B (en) * 2013-03-21 2016-05-25 海信容声(广东)冰箱有限公司 A kind of boosting handle and refrigerator
US20150275545A1 (en) * 2014-03-28 2015-10-01 Samsung Electronics Co., Ltd. Door handle and refrigerator having the same
CN105486013A (en) * 2015-08-31 2016-04-13 合肥华凌股份有限公司 Assisting handle structure and refrigerator
CN105486013B (en) * 2015-08-31 2018-11-30 合肥华凌股份有限公司 A kind of power-assisted handle structure and refrigerator
CN110984800A (en) * 2019-12-16 2020-04-10 北京建磊国际装饰工程股份有限公司 Escape door
CN110984800B (en) * 2019-12-16 2021-07-06 北京建磊国际装饰工程股份有限公司 Escape door
US12078406B2 (en) * 2021-01-07 2024-09-03 Lg Electronics Inc. Refrigerator
US20240377122A1 (en) * 2021-01-07 2024-11-14 Lg Electronics Inc. Refrigerator

Similar Documents

Publication Publication Date Title
CN203308181U (en) Assisting handle and refrigerator
CN203308188U (en) Push-pull-twist unlocking transmission mechanism of door lock
CN204979059U (en) Electric scooter's folding mechanism
CN103184811A (en) Power-assisted handle and refrigerator
CN204555029U (en) Dehumidifier
CN201898286U (en) Multifunctional operating handle applied to switch cabinet
CN203729671U (en) Assistance handle and refrigeration plant
CN203092413U (en) Double-ended wrench
CN206368611U (en) Power-assisted handle component and refrigeration plant
CN110377122B (en) Lever type labor-saving handle and using method thereof
CN201850843U (en) Power-assisted door handle assembly and electrical equipment
CN211618686U (en) Food gift box
CN202380840U (en) Novel lock body
CN203696954U (en) Anti-sliding-out drawer of tool kit
CN202788371U (en) A door that can be opened on both sides
CN202477105U (en) Folding mechanism and armrest folding mechanism suitable for crib
CN208915295U (en) Facilitate access for the electric vehicle of lift car
CN204317980U (en) File placement cabinet
CN217241107U (en) Lifting structure and equipment
CN209538816U (en) A kind of removable grip structure
CN214802888U (en) A straight umbrella with strong wind resistance
CN211124437U (en) A kind of multifunctional equipment for education and teaching management
CN202891104U (en) Wardrobe with door-opening device
CN215304311U (en) Folding chair with placing function
CN211506777U (en) Teaching board for moral education

Legal Events

Date Code Title Description
C14 Grant of patent or utility model
GR01 Patent grant
CF01 Termination of patent right due to non-payment of annual fee

Granted publication date: 20131127

Termination date: 20190321

CF01 Termination of patent right due to non-payment of annual fee