CN203262902U - Wireless structure of charging constant-temperature vacuum cup - Google Patents
Wireless structure of charging constant-temperature vacuum cup Download PDFInfo
- Publication number
- CN203262902U CN203262902U CN 201320249481 CN201320249481U CN203262902U CN 203262902 U CN203262902 U CN 203262902U CN 201320249481 CN201320249481 CN 201320249481 CN 201320249481 U CN201320249481 U CN 201320249481U CN 203262902 U CN203262902 U CN 203262902U
- Authority
- CN
- China
- Prior art keywords
- wireless charging
- constant temperature
- heating
- cup body
- heater
- Prior art date
- Legal status (The legal status is an assumption and is not a legal conclusion. Google has not performed a legal analysis and makes no representation as to the accuracy of the status listed.)
- Expired - Fee Related
Links
- 238000010438 heat treatment Methods 0.000 claims abstract description 43
- 230000005540 biological transmission Effects 0.000 claims abstract description 19
- 230000000694 effects Effects 0.000 claims abstract description 5
- 239000003086 colorant Substances 0.000 claims description 4
- 239000007788 liquid Substances 0.000 claims description 3
- 238000004321 preservation Methods 0.000 description 4
- 230000002277 temperature effect Effects 0.000 description 2
- 238000011109 contamination Methods 0.000 description 1
- 238000000034 method Methods 0.000 description 1
- 238000012986 modification Methods 0.000 description 1
- 230000004048 modification Effects 0.000 description 1
- XLYOFNOQVPJJNP-UHFFFAOYSA-N water Substances O XLYOFNOQVPJJNP-UHFFFAOYSA-N 0.000 description 1
Images
Landscapes
- Cookers (AREA)
- Table Devices Or Equipment (AREA)
Abstract
本实用新型有关一种无线充电恒温保温杯的结构,其包括一杯体、一无线充电接收电路、一充电电池、一加热及恒温控制电路、一加热器、一底座及无线充电传送电路,其中该杯体底部设有加热器,该加热器的加热及温度控制由设于杯体底部空间的加热及恒温控制电路作控制,进而控制加热器的加热温度及保持恒温的功效,于杯体底部空间,另设有无线充电接收电路及充电电池,并于底座内设有一无线充电传送电路,当底座插上一般家用电源或USB电源使无线充电传送电路开始工作,将杯体置于底座上方后,设于杯体底部空间的无线充电接收电路则与底座的无线充电传送电路间产生无线电力传输,进而可对充电电池进行充电,并供电给加热及恒温控制电路及加热器。
The utility model relates to the structure of a wireless charging constant temperature thermos cup, which includes a cup body, a wireless charging receiving circuit, a rechargeable battery, a heating and constant temperature control circuit, a heater, a base and a wireless charging transmission circuit, wherein the There is a heater at the bottom of the cup body. The heating and temperature control of the heater are controlled by the heating and constant temperature control circuits located in the space at the bottom of the cup body, thereby controlling the heating temperature of the heater and the effect of maintaining constant temperature. , it is also equipped with a wireless charging receiving circuit and a rechargeable battery, and is equipped with a wireless charging transmission circuit in the base. When the base is plugged into a general household power supply or USB power source, the wireless charging transmission circuit starts to work. After placing the cup on top of the base, The wireless charging receiving circuit located in the space at the bottom of the cup generates wireless power transmission with the wireless charging transmission circuit of the base, which can then charge the rechargeable battery and provide power to the heating and constant temperature control circuit and heater.
Description
技术领域technical field
本实用新型有关一种无线充电恒温保温杯的结构,尤指一种包括一杯体、一无线充电接收电路、一充电电池、一加热及恒温控制电路、一加热器、一底座及无线充电传送电路,其中该杯体底部设有加热器,该加热器的加热及温度控制由设于杯体底部空间的加热及恒温控制电路作控制,进而控制加热器的加热温度及保持恒温的功效,于杯体底部空间,另设有无线充电接收电路及充电电池,并于底座内设有一无线充电传送电路,将杯体置于底座上方后,设于杯体底部空间的无线充电接收电路则与底座的无线充电传送电路间产生无线电力传输,进而可对充电电池进行充电,并供电给加热及恒温控制电路及加热器,进而达对杯体加温或保持恒温目的的保温杯设计。The utility model relates to a structure of a wireless charging constant temperature thermos cup, especially a cup body, a wireless charging receiving circuit, a rechargeable battery, a heating and constant temperature control circuit, a heater, a base and a wireless charging transmission circuit. , wherein the bottom of the cup is provided with a heater, and the heating and temperature control of the heater are controlled by a heating and constant temperature control circuit located in the bottom space of the cup, thereby controlling the heating temperature of the heater and maintaining a constant temperature. The bottom space of the cup body is equipped with a wireless charging receiving circuit and a rechargeable battery, and a wireless charging transmitting circuit is installed in the base. Wireless power transmission is generated between the wireless charging and transmission circuits, which can then charge the rechargeable battery and supply power to the heating and constant temperature control circuit and heater, thereby achieving the design of the thermos cup for the purpose of heating the cup body or maintaining a constant temperature.
背景技术Background technique
目前一般传统的保温杯,大都由双层结构设计,以拉长其保温效果,但此种设计,其保温时间相当有限,且并无加温或恒温的功效。At present, most of the traditional thermos cups are designed with a double-layer structure to prolong the heat preservation effect. However, the heat preservation time of this design is quite limited, and there is no heating or constant temperature effect.
因此,另有一种保温杯底部设有加热组件,并由一底座上设有一可与保温杯电连接的插头,而使保温杯可进行加温的作用,但该种于底部设有可与保温杯底部插头产生电连接的插头设计,极易因水溅而发生短路,也常因沾染污垢而使导电不良,进而具有潜在的危险。Therefore, another kind of thermos cup is provided with a heating element at the bottom, and a plug that can be electrically connected with the thermos cup is provided on a base, so that the thermos cup can be heated. The plug at the bottom of the cup is designed for electrical connection, which is very easy to short-circuit due to water splashing, and often causes poor conductivity due to contamination of dirt, which is potentially dangerous.
发明内容Contents of the invention
本实用新型的主要目的为由设于杯体底部空间的无线充电接收电路则与底座的无线充电传送电路间产生无线电力传输,进而可对充电电池进行充电,并供电给加热及恒温控制电路及加热器,进而达对杯体加温或保持恒温的目的。The main purpose of this utility model is to generate wireless power transmission between the wireless charging receiving circuit located in the bottom space of the cup body and the wireless charging transmitting circuit of the base, so as to charge the rechargeable battery and supply power to the heating and constant temperature control circuit and Heater, and then achieve the purpose of heating the cup body or maintaining a constant temperature.
本实用新型的次一目的主要由设于杯体底部空间的加热及恒温控制电路作控制,进而控制加热器的加热温度及保持恒温的功效。The second object of the utility model is mainly controlled by the heating and constant temperature control circuit located in the bottom space of the cup body, so as to control the heating temperature of the heater and maintain the constant temperature effect.
本实用新型的再一目的在于由设于杯体上设有多色光LED,而以不同色光显示杯体于加热或恒温保温的状态。Another purpose of the present utility model is to display the state of the cup body under heating or constant temperature and heat preservation with different colors of light by providing multi-color light LEDs on the cup body.
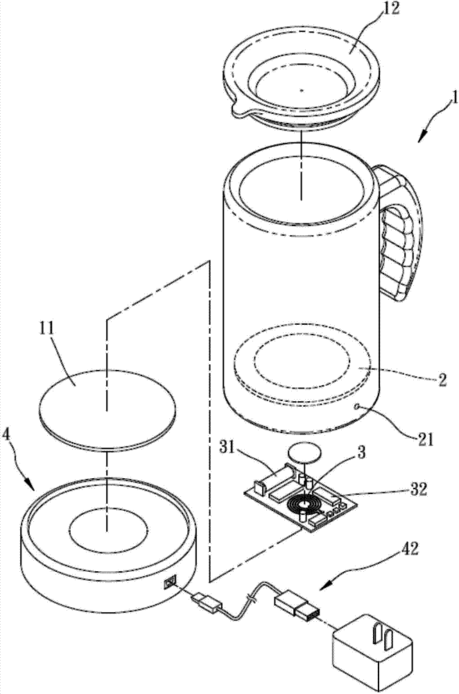
一种无线充电恒温保温杯的结构,其包括一杯体、一无线充电接收电路、一充电电池、一加热及恒温控制电路、一加热器、一底座及无线充电传送电路,该杯体底部设有加热器,该加热器的加热及温度控制由设于杯体底部空间的加热及恒温控制电路作控制,进而控制加热器的加热温度及保持恒温的功效,于杯体底部空间,另设有无线充电接收电路及充电电池,于杯体顶部具有一杯盖,最底部则组设有一底盖,并于底座内设有一无线充电传送电路。A structure of a wireless charging constant temperature thermos cup, which includes a cup body, a wireless charging receiving circuit, a rechargeable battery, a heating and constant temperature control circuit, a heater, a base and a wireless charging transmission circuit. Heater, the heating and temperature control of the heater is controlled by the heating and constant temperature control circuit located in the bottom space of the cup body, and then controls the heating temperature of the heater and the effect of maintaining a constant temperature. In the bottom space of the cup body, there is also a wireless The charging receiving circuit and the rechargeable battery have a cup cover on the top of the cup body, a bottom cover at the bottom, and a wireless charging transmission circuit in the base.
于该杯体上设有多色光LED,而以不同色光显示杯体于加热或恒温保温的状态。The cup body is provided with multi-color LEDs, and different colors of light are used to display the state of the cup body being heated or kept warm.
于该杯体内底部另设有一温度感知器,以感测杯体内液体的温度达所设定的温度时即由加热及恒温控制电路控制使加热器电源中断停止加热,或使加热器对杯体产生恒温加热。There is also a temperature sensor at the bottom of the cup body to sense the temperature of the liquid in the cup body and when the temperature reaches the set temperature, it will be controlled by the heating and constant temperature control circuit to stop the heater power supply and stop heating, or make the heater affect the cup body. Generate constant temperature heating.
本实用新型具提供保温杯无线充电及对杯体加温或保持恒温的功效。The utility model has the functions of wirelessly charging the thermos cup and heating the cup body or maintaining a constant temperature.
附图说明Description of drawings
图1为本实用新型试举其中一较佳实施例的立体分解图;Figure 1 is an exploded perspective view of a preferred embodiment of the utility model;
图2为本实用新型试举其中一较佳实施例的组合剖示图;Fig. 2 is a combined sectional view of a preferred embodiment of the utility model;
图3为本实用新型试举其中一较佳实施例的组合立体图。Fig. 3 is an assembled perspective view of a preferred embodiment of the utility model.
附图标记说明Explanation of reference signs
1-杯体;11-底盖;12-杯盖;2-加热器;21-多色光LED;22-温度感知器;3-无线充电接收电路;31-充电电池;32-加热及恒温控制电路;4-底座;41-无线充电传送电路;42-USB电源。1-cup body; 11-bottom cover; 12-cup cover; 2-heater; 21-multicolor LED; 22-temperature sensor; 3-wireless charging receiving circuit; 31-rechargeable battery; 32-heating and constant temperature control Circuit; 4-base; 41-wireless charging transmission circuit; 42-USB power supply.
具体实施方式Detailed ways
请参阅图1、图2及图3所示,本实用新型有关一种无线充电恒温保温杯的结构,其包括一杯体1、一无线充电接收电路3、一充电电池31、一加热及恒温控制电路32、一加热器2、一底座4及无线充电传送电路41,其中该杯体1底部设有加热器2,该加热器2的加热及温度控制由设于杯体1底部空间的加热及恒温控制电路32作控制,进而控制加热器2的加热温度及保持恒温的功效,于杯体1底部空间,另设有无线充电接收电路3及充电电池31,于杯体1顶部具有一杯盖12,最底部则组设有一底盖11,并于底座4内设有一无线充电传送电路41,当底座4插上一般家用电源或USB电源42使底座4内的无线充电传送电路41开始工作,将杯体1置于底座4上方后,设于杯体1底部空间的无线充电接收电路3则与底座4的无线充电传送电路41间产生无线电力传输,进而可对充电电池31进行充电,并供电给加热及恒温控制电路32及加热器2,进而达对杯体1加温或保持恒温的目的,另于杯体1上设有多色光LED21,而以不同色光显示杯体1于加热或恒温保温的状态,于杯体1内底部设有一温度感知器22,由温度感知器22感测杯体1内液体的温度达所设定的温度时及由加热及恒温控制电路32控制使加热器2电源中断停止加热,或使加热器2对杯体1产生恒温加热。Please refer to Fig. 1, Fig. 2 and Fig. 3, the utility model relates to a structure of a wireless charging constant temperature thermos cup, which includes a cup body 1, a wireless
综上所述,本实用新型具提供保温杯无线充电及对杯体加温或保持恒温的功效。To sum up, the utility model has the functions of wirelessly charging the thermos cup and heating or maintaining a constant temperature of the cup body.
以上对本实用新型的描述是说明性的,而非限制性的,本专业技术人员理解,在权利要求限定的精神与范围内可对其进行许多修改、变化或等效,但是它们都将落入本实用新型的保护范围内。The above description of the utility model is illustrative rather than restrictive. Those skilled in the art understand that many modifications, changes or equivalents can be made to it within the spirit and scope of the claims, but they will all fall into Within the protection scope of the present utility model.
Claims (3)
Applications Claiming Priority (2)
| Application Number | Priority Date | Filing Date | Title |
|---|---|---|---|
| TW102201953 | 2013-01-30 | ||
| TW102201953U TWM454147U (en) | 2013-01-30 | 2013-01-30 | Structure of cordless charging constant temperature thermos bottle |
Publications (1)
| Publication Number | Publication Date |
|---|---|
| CN203262902U true CN203262902U (en) | 2013-11-06 |
Family
ID=49030201
Family Applications (1)
| Application Number | Title | Priority Date | Filing Date |
|---|---|---|---|
| CN 201320249481 Expired - Fee Related CN203262902U (en) | 2013-01-30 | 2013-05-09 | Wireless structure of charging constant-temperature vacuum cup |
Country Status (2)
| Country | Link |
|---|---|
| CN (1) | CN203262902U (en) |
| TW (1) | TWM454147U (en) |
Cited By (12)
| Publication number | Priority date | Publication date | Assignee | Title |
|---|---|---|---|---|
| CN104510280A (en) * | 2015-01-12 | 2015-04-15 | 长沙烨祥电子科技有限公司 | Thermos cup with constant-temperature self-heating device |
| CN105029989A (en) * | 2015-06-30 | 2015-11-11 | 菲力克斯电子(宁波)有限公司 | Intelligent cup |
| CN105286431A (en) * | 2015-11-30 | 2016-02-03 | 董旭 | Temperature display water cup |
| CN105286429A (en) * | 2015-11-30 | 2016-02-03 | 董旭 | A sound prompts the temperature of the water cup |
| CN105686568A (en) * | 2016-04-19 | 2016-06-22 | 上海工程技术大学 | Automatic heating and stirring cup |
| GB2536912A (en) * | 2015-03-31 | 2016-10-05 | Oakenfold Smith Paul | A heating device |
| CN106466094A (en) * | 2015-08-14 | 2017-03-01 | Hansol技术株式会社 | Heating container |
| CN106993942A (en) * | 2017-04-26 | 2017-08-01 | 歌尔股份有限公司 | Intelligent kettle and its control method |
| CN108244941A (en) * | 2018-03-23 | 2018-07-06 | 深圳马克创意文化科技有限公司 | A kind of thermal insulation cup |
| GB2560176A (en) * | 2017-03-01 | 2018-09-05 | Kenwood Ltd | Beverage making appliance |
| CN111134511A (en) * | 2020-02-26 | 2020-05-12 | 青岛澳柯玛生活电器有限公司 | Multifunctional coffee cup |
| CN111248737A (en) * | 2018-12-03 | 2020-06-09 | 广东美的生活电器制造有限公司 | Liquid heating container |
Families Citing this family (1)
| Publication number | Priority date | Publication date | Assignee | Title |
|---|---|---|---|---|
| CN104814661B (en) * | 2015-04-14 | 2017-01-04 | 昆明理工大学 | A rechargeable portable electric heating pot |
-
2013
- 2013-01-30 TW TW102201953U patent/TWM454147U/en not_active IP Right Cessation
- 2013-05-09 CN CN 201320249481 patent/CN203262902U/en not_active Expired - Fee Related
Cited By (13)
| Publication number | Priority date | Publication date | Assignee | Title |
|---|---|---|---|---|
| CN104510280A (en) * | 2015-01-12 | 2015-04-15 | 长沙烨祥电子科技有限公司 | Thermos cup with constant-temperature self-heating device |
| GB2536912A (en) * | 2015-03-31 | 2016-10-05 | Oakenfold Smith Paul | A heating device |
| GB2536912B (en) * | 2015-03-31 | 2018-05-16 | Oakenfold Smith Paul | A heating device |
| CN105029989A (en) * | 2015-06-30 | 2015-11-11 | 菲力克斯电子(宁波)有限公司 | Intelligent cup |
| CN106466094A (en) * | 2015-08-14 | 2017-03-01 | Hansol技术株式会社 | Heating container |
| CN105286429A (en) * | 2015-11-30 | 2016-02-03 | 董旭 | A sound prompts the temperature of the water cup |
| CN105286431A (en) * | 2015-11-30 | 2016-02-03 | 董旭 | Temperature display water cup |
| CN105686568A (en) * | 2016-04-19 | 2016-06-22 | 上海工程技术大学 | Automatic heating and stirring cup |
| GB2560176A (en) * | 2017-03-01 | 2018-09-05 | Kenwood Ltd | Beverage making appliance |
| CN106993942A (en) * | 2017-04-26 | 2017-08-01 | 歌尔股份有限公司 | Intelligent kettle and its control method |
| CN108244941A (en) * | 2018-03-23 | 2018-07-06 | 深圳马克创意文化科技有限公司 | A kind of thermal insulation cup |
| CN111248737A (en) * | 2018-12-03 | 2020-06-09 | 广东美的生活电器制造有限公司 | Liquid heating container |
| CN111134511A (en) * | 2020-02-26 | 2020-05-12 | 青岛澳柯玛生活电器有限公司 | Multifunctional coffee cup |
Also Published As
| Publication number | Publication date |
|---|---|
| TWM454147U (en) | 2013-06-01 |
Similar Documents
| Publication | Publication Date | Title |
|---|---|---|
| CN203262902U (en) | Wireless structure of charging constant-temperature vacuum cup | |
| HK1246104A1 (en) | Sachet of aerosol-forming substrate, method of manufacturing same, and aerosol-generating device for use with sachet | |
| MY191440A (en) | An aerosol-generating system comprising a cartridge with an internal air flow passage | |
| CN204708504U (en) | A kind of intelligent constant-temperature cup | |
| CN204130776U (en) | A kind of Radiating socket with fan | |
| CN202698669U (en) | Novel hand-operated heating cup | |
| CN203633908U (en) | Heating vacuum cup sleeve | |
| CN205018791U (en) | A kind of multifunctional portable electric rice cooker | |
| CN104958185A (en) | Milk bottle | |
| CN204336498U (en) | A kind of temperature-protection hand-warm cup | |
| CN204970813U (en) | WIFI intelligence electric heat pot | |
| CN203137819U (en) | a heating bowl | |
| CN204580865U (en) | An electric heating cooking machine structure | |
| CN208388351U (en) | One kind can heating cup | |
| CN203987295U (en) | A kind of cup from charged pool and film heater insulation | |
| CN202285436U (en) | Constant temperature heating device | |
| TWM468997U (en) | Power bank as thermal mug base | |
| CN203417029U (en) | Portable temperature control electric blanket | |
| CN202312565U (en) | Novel heating water cup | |
| CN204103113U (en) | A kind of Radiating socket being convenient to grip | |
| CN204950528U (en) | Multifunctional container | |
| CN204427608U (en) | Efficient energy-saving electric chafing dish | |
| CN104523103A (en) | Portable USB electric heating cup mat | |
| CN203762910U (en) | Insulation pot cover | |
| CN203234562U (en) | Electric kettle provided with integrated spout and kettle handle |
Legal Events
| Date | Code | Title | Description |
|---|---|---|---|
| C14 | Grant of patent or utility model | ||
| GR01 | Patent grant | ||
| CF01 | Termination of patent right due to non-payment of annual fee |
Granted publication date: 20131106 Termination date: 20150509 |
|
| EXPY | Termination of patent right or utility model |
