CN203246969U - Yarn breaking automatic stopping detecting device of drum hank winder - Google Patents

Yarn breaking automatic stopping detecting device of drum hank winder Download PDF

Info

Publication number
CN203246969U
CN203246969U CN201320116561.9U CN201320116561U CN203246969U CN 203246969 U CN203246969 U CN 203246969U CN 201320116561 U CN201320116561 U CN 201320116561U CN 203246969 U CN203246969 U CN 203246969U
Authority
CN
China
Prior art keywords
bearing pin
fork
yarn
horizontal bearing
hank winder
Prior art date
Legal status (The legal status is an assumption and is not a legal conclusion. Google has not performed a legal analysis and makes no representation as to the accuracy of the status listed.)
Expired - Fee Related
Application number
CN201320116561.9U
Other languages
Chinese (zh)
Inventor
方中锋
刘继淮
Current Assignee (The listed assignees may be inaccurate. Google has not performed a legal analysis and makes no representation or warranty as to the accuracy of the list.)
Shangdong Tongji Machinery & Electronic Co ltd
Original Assignee
Shangdong Tongji Machinery & Electronic Co ltd
Priority date (The priority date is an assumption and is not a legal conclusion. Google has not performed a legal analysis and makes no representation as to the accuracy of the date listed.)
Filing date
Publication date
Application filed by Shangdong Tongji Machinery & Electronic Co ltd filed Critical Shangdong Tongji Machinery & Electronic Co ltd
Priority to CN201320116561.9U priority Critical patent/CN203246969U/en
Application granted granted Critical
Publication of CN203246969U publication Critical patent/CN203246969U/en
Anticipated expiration legal-status Critical
Expired - Fee Related legal-status Critical Current

Links

Images

Classifications

    • YGENERAL TAGGING OF NEW TECHNOLOGICAL DEVELOPMENTS; GENERAL TAGGING OF CROSS-SECTIONAL TECHNOLOGIES SPANNING OVER SEVERAL SECTIONS OF THE IPC; TECHNICAL SUBJECTS COVERED BY FORMER USPC CROSS-REFERENCE ART COLLECTIONS [XRACs] AND DIGESTS
    • Y02TECHNOLOGIES OR APPLICATIONS FOR MITIGATION OR ADAPTATION AGAINST CLIMATE CHANGE
    • Y02WCLIMATE CHANGE MITIGATION TECHNOLOGIES RELATED TO WASTEWATER TREATMENT OR WASTE MANAGEMENT
    • Y02W30/00Technologies for solid waste management
    • Y02W30/50Reuse, recycling or recovery technologies
    • Y02W30/66Disintegrating fibre-containing textile articles to obtain fibres for re-use

Landscapes

  • Spinning Or Twisting Of Yarns (AREA)

Abstract

本实用新型公开了一种用于绞纱络筒机的断纱自停检测装置,在绞纱络筒机横支架的侧面,固定设置有向外伸出的水平销轴,在水平销轴上,装有上下联为一体可绕水平销轴转动的探纱杆和摆杆以及轴向定位螺母,摆杆的下端装有磁钢,在与水平销轴相邻的绞纱络筒机横支架的侧面,还固定设置有与摆杆相对应的过渡支架,在过渡支架上安装有端部指向磁钢的霍尔传感器和限位杆,限位杆位于霍尔传感器的上方。本实用新型安装使用在绞纱络筒机的纱线通道中,采用霍尔传感器和摆杆上的磁钢,结合探纱杆来检测是否断纱,结构牢固,安装方便,工作性能可靠,可减少或避免因误报纱线断头造成的停车率过高的问题,为提高纱线品质提供了更好的保障。

Figure 201320116561

The utility model discloses a yarn breakage self-stop detection device for a skein winder. On the side of the horizontal support of the skein winder, a horizontal pin shaft protruding outward is fixedly arranged on the horizontal pin shaft. , equipped with a yarn detection rod, a swing rod and an axial positioning nut that are connected up and down as one and can rotate around the horizontal pin shaft. The lower end of the swing rod is equipped with a magnetic steel. A transition bracket corresponding to the swing rod is also fixedly arranged on the side of the side, and a Hall sensor and a limit rod with the end pointing to the magnetic steel are installed on the transition bracket, and the limit rod is located above the Hall sensor. The utility model is installed and used in the yarn channel of the skein winder. It uses the Hall sensor and the magnetic steel on the swing rod to detect whether the yarn is broken in combination with the yarn detection rod. It has a firm structure, convenient installation, reliable working performance, and Reduce or avoid the problem of high parking rate caused by false reporting of yarn breakage, and provide a better guarantee for improving yarn quality.

Figure 201320116561

Description

A kind of broken yarn self-stop detecting device of hank winder
Technical field
The utility model belongs to the Weaving device technical field, is specifically related to a kind of broken yarn automatic train stop detecting device for hank winder.
Background technology
The function of hank winder is that the reeled yarn network that will dye look becomes cheese to use for later process, and manufacturer is widely used in bundle dyeing.The broken yarn automatic train stop detecting device that existing hank winder uses mostly is mechanical type or photoelectric induction type:
The mechanical detection device is to support the use on 1332 bobbin-winding machines such as grade of producing the seventies mostly, now along with old equipment is progressively eliminated together.
The sense silk device of photoelectric induction type is widely used novel detection device on textile machine in recent years, it is to utilize far red light to detect whether normally operation of yarn, and testing result is converted to electric signal, then by the electric control system processing execution, thereby can realize the broken yarn automatic train stop of hank winder.But this detecting device in use can be subject to the interference of the external light sources such as sunlight, daylight lamp, produces misoperation; The flower hair that produces in the winder process also can be deposited on the sense silk device, also can greatly increase misoperation such as untimely removing.Misoperation rate height is the defective of this detecting device maximum, occurs although also there are some to improve design, and effect is undesirable.
Summary of the invention
For the problem that above-mentioned prior art exists, the purpose of this utility model is that its feature is reliable working performance, can significantly reduce the misoperation rate for hank winder provides a kind of novel broken yarn self-stop detecting device.
The utility model is achieved in that a kind of broken yarn self-stop detecting device for hank winder, side at the hank winder transverse bracket, be fixedly installed outwardly directed horizontal bearing pin, on horizontal bearing pin, up and down is housed is integrated spy yarn bar and fork and the axial location nut that can rotate around horizontal bearing pin, magnet steel is equipped with in the lower end of fork, side at the hank winder transverse bracket adjacent with horizontal bearing pin, also be fixedly installed the transition bracket corresponding with fork, at transition bracket the Hall element that magnet steel is pointed in the end is installed, the end also is installed on transition bracket points to the position-limited lever of fork, position-limited lever is positioned at the top of Hall element.
Described side at the hank winder transverse bracket is fixedly installed outwardly directed horizontal bearing pin, refers to the other end of horizontal bearing pin is passed vertical bar hole of hank winder transverse bracket side, then locates with fastening nuts; Described side at the hank winder transverse bracket adjacent with horizontal bearing pin is fixedly installed the transition bracket corresponding with fork, refers to by another vertical bar hole of hank winder transverse bracket side and the hole of transition bracket, with the fastening location of bolt and nut.
The spy yarn bar that described up and down is integrated and fork are to make type with the steel wire Integral bending, and the middle part is annulus, are enclosed within on the horizontal bearing pin, and under the self gravitation effect, fork is sagging at vertical position.
Described Hall element is threaded, and on transition bracket, the afterbody of Hall element is with output signal line with fastening nuts.
Described position-limited lever rear is threaded, and uses fastening nuts on transition bracket.
The beneficial effects of the utility model are as follows:
Be arranged on this novel detection device of hank winder transverse bracket, comprise nut of spy yarn bar that horizontal bearing pin, up and down are integrated and fork, axial location nut, magnet steel and transition bracket, position-limited lever, Hall element, fastening usefulness etc., these component structurals are simple, and are easy for installation; Horizontal bearing pin and transition bracket are installed the location by two vertical bar holes of hank winder transverse bracket side, can adjust in the vertical direction the location, Hall element and position-limited lever are threaded, and on transition bracket, can adjust in the horizontal direction the location with fastening nuts.
Spy yarn bar and fork that up and down is integrated are made type with the steel wire Integral bending, simple in structure lightweight, the spy yarn bar that protrudes upward is arranged in the yarn path, sagging swing link end part is equipped with magnet steel, swing around horizontal bearing pin by visiting yarn bar and swing link synchronous, the field signal that Hall element detects is accepted in the yarn mode of operation is transformed into accurately and timely, and then the on-off of master cock; This device adopts Hall element as conversion element, whether detects broken yarn in conjunction with the spy yarn bar of physical construction and fork, their sound construction, and easy for installation, vibration resistance is not afraid of contamination by dust, is not subjected to the environment temperature and humidity light source to affect reliable working performance.This device can reduce or avoid to provide better guarantee because of the too high problem of parking rate that causes of wrong report Yarn break for improving yarn quality.
Description of drawings
Accompanying drawing is the utility model structural representation.
The specific embodiment
Be described in detail the utility model below in conjunction with drawings and Examples.
Yarn behind the skein yarn modeling through overfeeding, tensioner, arrives the yarn waxing device to yarn take-up device by the hand stretching frame unwinding on the hank winder, thereby finishes the winder moulding of reeled yarn.The utility model is is just installed and used at tensioner in the yarn path between the waxing attachment.
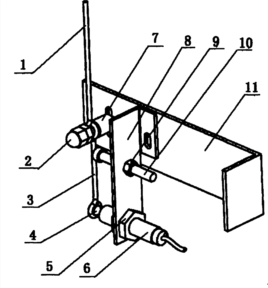
Side at hank winder transverse bracket 11, be fixedly installed outwardly directed horizontal bearing pin 7, on horizontal bearing pin 7, up and down is housed is integrated spy yarn bar 1 and fork 3 and the axial location nut 2 that can rotate around horizontal bearing pin 7, the setscrew nut here be two and tight together, magnet steel 4 is equipped with in the lower end of fork 3, side at the hank winder transverse bracket 11 adjacent with horizontal bearing pin 7, also be fixedly installed the transition bracket 8 corresponding with fork 3, at transition bracket 8 Hall element 6 that magnet steel 4 is pointed in the end is installed, the end also is installed on transition bracket 8 points to the position-limited lever 10 of fork 3, position-limited lever 10 is positioned at the top of Hall element 6.
Be fixedly installed outwardly directed horizontal bearing pin 7 in the side of hank winder transverse bracket 11, refer to the other end of horizontal bearing pin 7 is passed vertical bar hole (among the figure as seen) of hank winder transverse bracket 11 sides, the other end of horizontal bearing pin 7 is threaded, and then uses the fastening location of nut (not shown).
Be fixedly installed the transition bracket 8 corresponding with fork 3 in the side of the hank winder transverse bracket 11 adjacent with horizontal bearing pin 7, refer to by another vertical bar hole (being blocked among the figure) of hank winder transverse bracket 11 sides and the connecting bore on the transition bracket 8, with the fastening location of bolt and nut (not shown in FIG.).
Spy yarn bar 1 and fork 3 that up and down is integrated are to make type with the steel wire Integral bending, and the middle part is annulus, are enclosed within on the horizontal bearing pin 7, and under the self gravitation effect, fork 3 is sagging at vertical position.
Hall element 6 surfaces are threaded, and are fastened on the transition bracket 8 with nut 5, and the afterbody of Hall element 6 is with output signal line.
Position-limited lever 10 rears are threaded, and are fastened on the transition bracket 8 with nut 9.By adjusting screw thread and nut, can change the top of position-limited lever 10 and the relative position of fork 3.
The utility model Working state analysis is as follows:
Spy yarn bar 1 and fork 3 that up and down is integrated, annulus by the middle part is sleeved on the horizontal bearing pin 7, under the self gravitation effect, fork 3 is in vertical hang, position-limited lever 10 ends are adjusted at this spacing position, the fixing magnet steel 4 in fork 3 lower ends this moment is positioned at the sensing range of Hall element 6, the signal wire (SW) conducting of Hall element 6 afterbodys makes it adhesive work in relay coil, thereby make the frequency converter run signal that is connected on its normally closed point be off-state, frequency converter is output not, and this moment, this ingot of hank winder was readiness for action.
Under the yarn tension effect, rotate approximately 30 degree as the center of circle take horizontal bearing pin 7 when visiting yarn bar 1 and fork 3 synchronously, the magnet steel 4 that is fixed on fork 3 lower ends breaks away from the sensing range of Hall element 6, the signal wire (SW) no signal output of Hall element 6 afterbodys, relay coil is not worked, the frequency converter run signal that is connected on the normally closed point of relay is conducting state, thereby guarantees normal startup, the running of frequency converter.
When broken end appears in middle yarn in working order, maintaining the yarn tension of visiting yarn bar 1 and fork 3 synchronous inclinations has not just had yet, get back to initial condition under the effect of self gravitation: Hall element 6 perceives magnet steel 4, its signal wire (SW) and is that output state, relay coil are subjected to electricity work, the run signal that is connected on the normally closed point of relay disconnects, frequency converter stops output, wind2 stops, thereby finishes the parking of this ingot.

Claims (5)

1. broken yarn self-stop detecting device that is used for hank winder, it is characterized in that: the side in hank winder transverse bracket (11), be fixedly installed outwardly directed horizontal bearing pin (7), on horizontal bearing pin (7), up and down is housed is integrated spy yarn bar (1) and fork (3) and the axial location nut (2) that can rotate around horizontal bearing pin, magnet steel (4) is equipped with in the lower end of fork (3), side at the hank winder transverse bracket (11) adjacent with horizontal bearing pin (7), also be fixedly installed the transition bracket (8) corresponding with fork (3), at transition bracket (8) Hall element (6) that magnet steel (4) is pointed in the end is installed, the end also is installed on transition bracket (8) points to the position-limited lever (10) of fork (3), position-limited lever (10) is positioned at the top of Hall element (6).
2. a kind of broken yarn self-stop detecting device for hank winder according to claim 1, it is characterized in that: described side at hank winder transverse bracket (11) is fixedly installed outwardly directed horizontal bearing pin (7), refer to the other end of horizontal bearing pin (7) is passed vertical bar hole of hank winder transverse bracket (11) side, then locate with fastening nuts; Described side at the hank winder transverse bracket (11) adjacent with horizontal bearing pin (7) is fixedly installed the transition bracket (8) corresponding with fork (3), refer to the hole by another vertical bar hole and the transition bracket (8) of hank winder transverse bracket (11) side, with the fastening location of bolt and nut.
3. a kind of broken yarn self-stop detecting device for hank winder according to claim 1, it is characterized in that: spy yarn bar (1) and fork (3) that described up and down is integrated are to make type with the steel wire Integral bending, the middle part is annulus, be enclosed within on the horizontal bearing pin (7), under the self gravitation effect, fork (3) is sagging at vertical position.
4. a kind of broken yarn self-stop detecting device for hank winder according to claim 1, it is characterized in that: described Hall element (6) is threaded, be fastened on the transition bracket (8) with nut (5), the afterbody of Hall element (6) is with output signal line.
5. a kind of broken yarn self-stop detecting device for hank winder according to claim 1, it is characterized in that: described position-limited lever (10) rear is threaded, and is fastened on the transition bracket (8) with nut (9).
CN201320116561.9U 2013-03-08 2013-03-08 Yarn breaking automatic stopping detecting device of drum hank winder Expired - Fee Related CN203246969U (en)

Priority Applications (1)

Application Number Priority Date Filing Date Title
CN201320116561.9U CN203246969U (en) 2013-03-08 2013-03-08 Yarn breaking automatic stopping detecting device of drum hank winder

Applications Claiming Priority (1)

Application Number Priority Date Filing Date Title
CN201320116561.9U CN203246969U (en) 2013-03-08 2013-03-08 Yarn breaking automatic stopping detecting device of drum hank winder

Publications (1)

Publication Number Publication Date
CN203246969U true CN203246969U (en) 2013-10-23

Family

ID=49373420

Family Applications (1)

Application Number Title Priority Date Filing Date
CN201320116561.9U Expired - Fee Related CN203246969U (en) 2013-03-08 2013-03-08 Yarn breaking automatic stopping detecting device of drum hank winder

Country Status (1)

Country Link
CN (1) CN203246969U (en)

Cited By (6)

* Cited by examiner, † Cited by third party
Publication number Priority date Publication date Assignee Title
CN103708289A (en) * 2013-12-30 2014-04-09 吴江金名来丝绸进出口有限公司 Yarn break detecting device
CN106560318A (en) * 2015-12-01 2017-04-12 福建浔兴拉链科技股份有限公司 Zipper molding machine self-stopping apparatus
CN108239821A (en) * 2016-12-27 2018-07-03 天津市华之阳特种线缆有限公司 Insulative yarn broken string automatic detector
CN109680373A (en) * 2019-01-16 2019-04-26 河南光远新材料股份有限公司 A kind of doubler twister tension hoisting frame
CN109837644A (en) * 2019-04-02 2019-06-04 义乌威肯电子科技有限公司 A kind of wire-passing tube wire breakage detector
CN113979221A (en) * 2021-11-20 2022-01-28 广东溢达纺织有限公司 Bobbin-winding spindle position detection device

Cited By (7)

* Cited by examiner, † Cited by third party
Publication number Priority date Publication date Assignee Title
CN103708289A (en) * 2013-12-30 2014-04-09 吴江金名来丝绸进出口有限公司 Yarn break detecting device
CN106560318A (en) * 2015-12-01 2017-04-12 福建浔兴拉链科技股份有限公司 Zipper molding machine self-stopping apparatus
CN106560318B (en) * 2015-12-01 2018-09-28 福建晋江浔兴拉链科技有限公司 A kind of slide fastener shaping apparatus automatic stop arrangement
CN108239821A (en) * 2016-12-27 2018-07-03 天津市华之阳特种线缆有限公司 Insulative yarn broken string automatic detector
CN109680373A (en) * 2019-01-16 2019-04-26 河南光远新材料股份有限公司 A kind of doubler twister tension hoisting frame
CN109837644A (en) * 2019-04-02 2019-06-04 义乌威肯电子科技有限公司 A kind of wire-passing tube wire breakage detector
CN113979221A (en) * 2021-11-20 2022-01-28 广东溢达纺织有限公司 Bobbin-winding spindle position detection device

Similar Documents

Publication Publication Date Title
CN203246969U (en) Yarn breaking automatic stopping detecting device of drum hank winder
CN201826074U (en) Double twist frame broken yarn detecting device
CN203095292U (en) Thread stand capable of carrying out broken line detection
CN204138034U (en) A kind of auto-stop flat wire coiler
CN203497854U (en) Broken yarn automatic stopping detection device used for yarn singeing machine
CN202466092U (en) Doubling detection controller for weft yarns
CN204417766U (en) A kind of broken thread detector
CN202830402U (en) Circular weaving machine automatic stop device with rapid induction of finishing and breaking of warps
CN203903673U (en) Winding machine capable of computing length of industrial yarn
CN104389092B (en) A kind of broken thread detector
CN206768336U (en) Circular weaving machine tension force automatic stop arrangement
CN104073938A (en) Automatic broken yarn lifting mechanism
CN203414221U (en) Yarn tension detector
CN205241934U (en) Warper with warp fracture autoalarm
CN103031659A (en) Automatic stop device for first time of warp-lacking of circular weaving machine
CN205222288U (en) Cone winder tension frame structure
CN104420035A (en) Rove siro spinning broken-strand detection and indication device
CN203080165U (en) Broken yarn detector
CN204000062U (en) A kind of broken yarn automatic lifting mechanism
CN104711738A (en) Broken yarn control device of spinning machine
CN203904576U (en) Single-filament tension automatic detecting device in operation of mother-yarn warping machine
CN105951232A (en) Yarn self-breaking device capable of quickly inducting core breakage of covering yarn through self-gravity
CN103383294A (en) Yarn tension detector
CN219861742U (en) Twisting device of ring spinning machine
CN204849255U (en) Adjustable tensile curling mechanism

Legal Events

Date Code Title Description
C14 Grant of patent or utility model
GR01 Patent grant
CF01 Termination of patent right due to non-payment of annual fee

Granted publication date: 20131023

Termination date: 20180308

CF01 Termination of patent right due to non-payment of annual fee