CN203177168U - Improved type combined commercial cooking range burner - Google Patents
Improved type combined commercial cooking range burner Download PDFInfo
- Publication number
- CN203177168U CN203177168U CN201320072840XU CN201320072840U CN203177168U CN 203177168 U CN203177168 U CN 203177168U CN 201320072840X U CN201320072840X U CN 201320072840XU CN 201320072840 U CN201320072840 U CN 201320072840U CN 203177168 U CN203177168 U CN 203177168U
- Authority
- CN
- China
- Prior art keywords
- burner
- fire
- bowl
- air inlet
- ignition
- Prior art date
- Legal status (The legal status is an assumption and is not a legal conclusion. Google has not performed a legal analysis and makes no representation as to the accuracy of the status listed.)
- Expired - Fee Related
Links
Images
Classifications
-
- Y—GENERAL TAGGING OF NEW TECHNOLOGICAL DEVELOPMENTS; GENERAL TAGGING OF CROSS-SECTIONAL TECHNOLOGIES SPANNING OVER SEVERAL SECTIONS OF THE IPC; TECHNICAL SUBJECTS COVERED BY FORMER USPC CROSS-REFERENCE ART COLLECTIONS [XRACs] AND DIGESTS
- Y02—TECHNOLOGIES OR APPLICATIONS FOR MITIGATION OR ADAPTATION AGAINST CLIMATE CHANGE
- Y02B—CLIMATE CHANGE MITIGATION TECHNOLOGIES RELATED TO BUILDINGS, e.g. HOUSING, HOUSE APPLIANCES OR RELATED END-USER APPLICATIONS
- Y02B40/00—Technologies aiming at improving the efficiency of home appliances, e.g. induction cooking or efficient technologies for refrigerators, freezers or dish washers
Landscapes
- Gas Burners (AREA)
Abstract
本实用新型涉及炉灶中适用于两种或多种燃料或能源的技术领域,具体是一种改进型组合式商用炉灶燃烧器,燃烧器设有预混式结构,预混式结构由中心接管下部连接火种进风管,并一路通过燃烧器底座、筒体及风碗连接发火盘,筒体内部设有空气与燃气混合仓,空气与燃气混合仓与主火喷气碗及主火进风口相通;火种镶嵌于发火盘中间,燃烧器设有隐蔽式点火针和独立供气装置;探头镶嵌在苗火火孔火圈的侧面。本实用新型改变了传统的沟风形式燃烧器,其预混式结构使燃烧更充分,燃烧时火苗无黑烟, 点火针不会因遇水滴而出现爆裂现象,延长寿命;离子探头控制燃烧器熄火保护,切断燃气燃烧;燃烧器安装维修方便、省时和省力;燃烧器燃烧时噪音小,节能环保。
The utility model relates to the technical field applicable to two or more kinds of fuels or energy sources in stoves, in particular to an improved combined commercial stove burner. Connect the fire inlet pipe, and connect the ignition plate through the burner base, cylinder body and air bowl all the way. There is an air and gas mixing chamber inside the cylinder body, and the air and gas mixing chamber communicates with the main fire injection bowl and the main fire air inlet; The fire seed is embedded in the middle of the firing plate, and the burner is equipped with a concealed ignition needle and an independent gas supply device; the probe is embedded in the side of the fire ring of the seedling fire hole. The utility model changes the traditional ditch wind burner, its premixed structure makes the combustion more complete, the flame has no black smoke when burning, the ignition needle will not burst due to water droplets, and prolongs the life; the ion probe controls the burner Flame-out protection cuts off gas combustion; the burner is easy to install and maintain, saving time and effort; the burner has low noise when burning, energy saving and environmental protection.
Description
[技术领域] [technical field]
本实用新型涉及炉灶中适用于两种或多种燃料或能源的技术领域,具体是一种改进型组合式商用炉灶燃烧器。 The utility model relates to the technical field applicable to two or more kinds of fuels or energy sources in stoves, in particular to an improved combined commercial stove burner. the
[背景技术] [Background technique]
传统沟风式燃烧器其原理是燃气与空气同时释放、混合和燃烧同时进行,使燃气浓度来不及稀释到最佳比例,燃烧不能充分,以致宝贵燃气未经完全燃烧排入大气,另外还可能存在燃气鼓风外溢等问题,不但白白浪费了资源,还严重污染了环境。这种燃烧器模式再本领域里常称为“后混式”,这种燃烧器在自动点火和熄火保护的安装和调试上,存在易损和难以定位的严重缺陷。 The principle of the traditional ditch air burner is that the gas and air are released at the same time, mixed and burned at the same time, so that the gas concentration is too late to be diluted to the optimal ratio, and the combustion is not sufficient, so that the precious gas is not completely burned and discharged into the atmosphere. In addition, there may be Problems such as gas blast overflow not only waste resources in vain, but also seriously pollute the environment. This burner mode is often referred to as "post-mixing" in the art, and this burner has the serious defects of being fragile and difficult to locate in the installation and debugging of automatic ignition and flameout protection. the
现有技术中还有一种如公开号为CN 2913859的一种一体化燃气燃烧装置,其结构包括底部的进风段,中部的燃气、空气混合段,上部的燃烧区三个部分,供风段由一个竖置的多级离心式轴流风机电机、送风筒、风机叶轮和风机外壳组成,从下面的进风口开 始向上到送风筒出口构成稳定的进风通道;燃气、空气混合段,位于轴流风机电机的上方,其间设有一个旋流复合腔和一个通道腔,风道口处设有旋流导向片,复合腔中设有一个环形的燃气集气室,燃气集气室外通燃气进气口,壁上设有向腔内扩散喷气的集气室壁孔,其上方的通道腔内设有搅拌风叶,搅拌风叶安装在风机电机的上轴端;燃烧区设有由燃烧碗和燃烧器外壳组成的燃烧器混合气夹腔,燃烧器混合气夹腔的内壁设存有喷气排孔,燃烧碗的内腔构成燃烧室,燃烧碗底设有电子点火器。但是这种结构由于其副火设置外缘,导致燃烧头直径加大,另外结构上也不够完整,安装过程繁琐不 便。 In the prior art, there is also an integrated gas combustion device such as the publication number CN 2913859. Its structure includes an air inlet section at the bottom, a gas and air mixing section in the middle, three parts in the upper combustion zone, and an air supply section. It is composed of a vertical multi-stage centrifugal axial flow fan motor, air supply cylinder, fan impeller and fan casing, forming a stable air inlet channel from the air inlet below to the outlet of the air supply cylinder; the gas and air mixing section , located above the motor of the axial flow fan, there is a swirl compound cavity and a channel cavity between them, a swirl guide vane is provided at the air channel opening, an annular gas collection chamber is arranged in the compound cavity, and the gas gas collection chamber is ventilated Gas inlet, the wall is provided with a gas collection chamber wall hole that diffuses and sprays gas into the cavity, and the channel cavity above it is equipped with agitating fan blades, which are installed on the upper shaft end of the fan motor; the combustion area is equipped with Combustion bowl and burner casing form the burner mixture cavity, the inner wall of the burner mixture cavity is provided with jet exhaust holes, the inner cavity of the combustion bowl constitutes the combustion chamber, and the bottom of the combustion bowl is equipped with an electronic igniter. But this structure causes the diameter of combustion head to increase because its auxiliary fire is provided with outer edge, and also structurally not complete enough in addition, and installation process is loaded down with trivial details inconvenience. the
[实用新型内容] [utility model content]
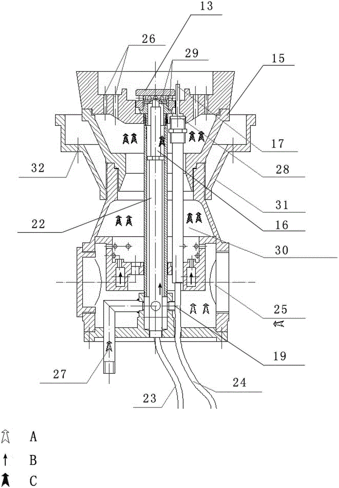
本实用新型的目的就是为了解决现有技术中的不足和缺陷,提供一种结构新颖、安全可靠,可使燃气混合更均匀、安装更方便的改进型组合式商用炉灶燃烧器,包括燃烧器底座、筒体、火种、离子探头、风碗、发火盘、点火器,其特征在于所述的燃烧器设有预混式结构,所述的预混式结构由中心接管18下部连接火种进风管12,并一路通过燃烧器底座20、筒体4及风碗15连接发火盘6,所述的筒体内部设有空气与燃气混合仓30,所述的空气与燃气混合仓与主火喷气碗11及主火进风口25相通;所述的火种镶嵌在发火盘中间,燃烧器设有隐蔽式点火针和独立供气装置;所述的离子探头17镶嵌在苗火火孔29火圈的侧面。
The purpose of this utility model is to solve the deficiencies and defects in the prior art, to provide an improved combined commercial stove burner with a novel structure, safety and reliability, which can make the gas mixing more uniform and more convenient to install, including the burner base , barrel, tinder, ion probe, air bowl, ignition plate, igniter, it is characterized in that described burner is provided with premixed structure, and described premixed structure connects the kindling air inlet pipe by the central connecting
所述的燃烧器底座20沿纵向设有筒体4、调节碗5及发火盘6,燃烧器底座20中心设有中心接管18,所述的中心接管18底部连接点火线23,中心接管18一侧还平行设有离子探测装置22,离子探测装置的顶部为离子探头17,离子探测装置底部连接离子探头线24,所述的中心接管18和离子探测装置22延筒体及调节碗延伸至发火盘6底部中心;所述的燃烧器底座20上设有主火进风口25和主火喷气碗11,所述的主火进风口与主火喷气碗相通;所述的筒体4内部为空气与燃气混合仓30,所述的燃气混合仓与主火喷气碗11相通;所述的调节碗5上设有高度调节盘,调节碗腔体内部还设有风碗15,风碗顶部开设有四个主火火孔26并与发火盘6相通;所述的中心接管下部设有火种进风管12,中心接管的上部设有点火器16,点火器顶部设有火种头14及苗火点火针28;所述的发火盘中间镶嵌有若干个圆周排列的苗火火孔29,所述的发火盘顶部还设有 火种盖帽13。
The
所述的离子探头、苗火打火针和火种为一体式结构。 The ion probe, the seedling ignition needle and the tinder are of an integrated structure. the
所述的火种进风管12为L型结构,火种进风管的垂直管道末端为火种进风口27并与外界相通,所述火种进风管12的水平管道贯穿中心接管并在火种进风管12管头处设有堵头19封堵。
The kindling
本实用新型同现有技术相比,其具有以下优点: Compared with the prior art, the utility model has the following advantages:
1.预混式结构,加大了混合仓,使空气与燃气混合更均匀,燃烧更充分。 1. The pre-mixed structure increases the mixing chamber to make the air and gas mix more evenly and burn more fully. the
2.火种镶嵌火盘中间,隐蔽式点火针和独立供气装置,燃烧时火苗无黑烟, 点火针也不会因为遇有水滴而出现爆裂现象,延长了点火针寿命。 2. The fire is inlaid in the middle of the fire plate, the concealed ignition needle and independent gas supply device, the flame does not have black smoke when burning, and the ignition needle will not burst due to water droplets, which prolongs the life of the ignition needle. the
3.离子探头为熄火保护装置,其镶嵌在火种火圈侧面,在技术上受感于火种燃烧火焰,以控制燃烧器熄火保护,切断燃气的燃烧过程。 3. The ion probe is a flameout protection device, which is inlaid on the side of the fire ring of the kindling, and is technically affected by the flame of the kindling, so as to control the flameout protection of the burner and cut off the combustion process of the gas. the
4.因火种头、苗火点火针和离子探头为一体化结构,故燃烧器安装及维修更方便、更省时和更省力。 4. Because the ignition head, ignition needle and ion probe are integrated, the installation and maintenance of the burner are more convenient, time-saving and labor-saving. the
5.在结构上作出了创新改变,燃烧器燃烧时噪音,明显减小,经测试噪音在70分贝左右。 5. Innovative changes have been made in the structure, and the noise of the burner is significantly reduced when the burner is burning. The noise is about 70 decibels after testing. the
6.由于燃气燃烧充分,炉灶尾气排放较传统式降低90%以上。在节能和保上成绩显著。 6. Due to the full combustion of gas, the exhaust gas emission of the stove is reduced by more than 90% compared with the traditional type. Remarkable achievements have been made in energy saving and security. the
[附图说明] [Description of drawings]
图1是本实用新型改进型组合式商用炉灶燃烧器的主要结构原理示意图; Fig. 1 is a schematic diagram of the main structure of the utility model improved combined commercial stove burner;
图2是本实用新型改进型组合式商用炉灶燃烧器的主视图; Fig. 2 is the front view of the improved combined commercial stove burner of the utility model;
图3是本实用新型改进型组合式商用炉灶燃烧器的侧视图; Fig. 3 is a side view of the utility model improved combined commercial stove burner;
图4是本实用新型改进型组合式商用炉灶燃烧器的剖面图; Figure 4 is a sectional view of the utility model improved combined commercial stove burner;
图5是本实用新型改进型组合式商用炉灶燃烧器的发火盘结构示意图; Fig. 5 is a structural schematic diagram of the ignition plate of the utility model improved combined commercial stove burner;
如图所示,图中:1.风口闷头 2.管帽 3.内外丝双通 4.筒体 5.调节碗 6.发火盘 7.弹簧垫圈 8.螺钉 9.螺母 10.火种接管 11.主火喷气碗 12.火种进风管 13.火种盖帽 14.火种头 15.风碗 16.点火器 17.离子探头 18.中心接管 19.堵头 20.燃烧器底座 22.离子探测装置 23.点火线 24.离子探头线 25.主火进风口 26.主火火孔 27.火种进风口 28.苗火点火针 29.苗火火孔 30.空气与燃气混合仓 31.高度调节盘 32.安装螺钉孔 A.空气 B.燃气 C.混合气;
As shown in the figure, in the figure: 1.
指定图1为本实用新型的摘要附图。 Designated Fig. 1 is the abstract accompanying drawing of the utility model. the
[具体实施方式] [Detailed ways]
下面结合附图对本实用新型作进一步说明,这种装置的结构和原理对本专业的人来说是非常清楚的。应当理解,此处所描述的具体实施例仅仅用以解释本实用新型,并不用于限定本实用新型。 Below in conjunction with accompanying drawing, the utility model is further described, and the structure and principle of this device are very clear to those skilled in the art. It should be understood that the specific embodiments described here are only used to explain the utility model, and are not intended to limit the utility model. the
如图1~图5所示, 本实用新型为一种组合式改进型型商用炉灶燃烧器,改变了传统的沟风形式燃烧器,对现有技术的商用灶进行了改进,本实用新型的燃烧器设有预混式结构,从而更为节能、环保、高效和实用。本实用新型由燃 烧器底座、中心接管、离子探头、风碗、发火盘、点火器等组成,燃烧器规格为φ260×150mm,配用风机优选220V,150KW。燃烧器主体优选优质合金铸铁,附件优选不锈钢或黄铜,从而保证高温下不变形、不氧化,延长使用寿命。本实用新型的燃烧器底座20沿纵向设有筒体4、调节碗5及发火盘6,燃烧器底座20中心设有中心接管18,中心接管18底部连接点火线23,中心接管18一侧还平行设有离子探测装置22,离子探测装置的顶部为离子探头17,离子探头17镶嵌在苗火火孔29火圈的侧面,受感于火种燃烧火焰,以控制燃烧器熄火保护,在必要时候可切断燃气的燃烧。离子探测装置底部连接离子探头线24,中心接管18和离子探测装置22延筒体及调节碗延伸至发火盘6底部中心。
As shown in Figures 1 to 5, the utility model is a combined improved commercial stove burner, which changes the traditional ditch wind burner and improves the commercial stove in the prior art. The burner has a premixed structure, which is more energy-saving, environmentally friendly, efficient and practical. The utility model is composed of a burner base, a central connecting pipe, an ion probe, a wind bowl, a fire plate, an igniter, etc. The specification of the burner is φ260×150mm, and the preferred fan is 220V, 150KW. The main body of the burner is preferably high-quality alloy cast iron, and the accessories are preferably stainless steel or brass, so as to ensure no deformation and oxidation under high temperature and prolong the service life. The
燃烧器底座20上设有主火进风口25和主火喷气碗11,主火进风口与主火喷气碗相通;筒体4内部为空气与燃气混合仓30,从而构成预混式结构,使燃气燃烧充分,炉灶尾气排放较传统式降低90%以上。燃气混合仓与主火喷气碗11相通;调节碗5上设有高度调节盘,调节碗腔体内部还设有风碗15,风碗顶部开设有四个主火火孔26并与发火盘6相通,主火火孔为3-φ5孔均布。
The
中心接管下部设有火种进风管12,气种可以为天然气或液化气,中心接管的上部设有点火器16,点火器顶部设有火种头14及苗火点火针28。发火盘中间镶嵌有若干个圆周排列的苗火火孔29,发火盘顶部还设有火种盖帽13。在使用过程中,火种镶嵌发火盘中间,隐蔽式点火针和独立供气装置,燃烧时火苗无黑烟, 点火针也不会因为遇有水滴而出现爆裂现象。火种进风管12为L型结构,火种进风管的垂直管道末端为火种进风口27并与外界相通,所述火种进风管12的水平管道贯穿中心接管并在火种进风管12管头处设有堵头19封堵。本实用新型中火种头、苗火点火针和离子探头为一体化结构,从而使燃烧器安装 及维修更方便、更省时和更省力,而燃烧器燃烧时噪音经测试后也明显减小,噪音在70 分贝左右。
The bottom of the center connection is provided with a kindling
如图1所示,空气从火种进风口27及主火进风口25进入燃烧器内部,与主火喷气碗及中心接管中的燃气在空气与燃气混合仓30中均匀混合,即预混合。混合后的混合气延主火火孔及中心接管传输至发火盘及中心接管顶部。当点火器收到点火信号后,通过点火线启动电机,在发火盘上形成电火花并燃烧混合气从而在苗火火孔形成火圈。离子探头,即熄火保护装置设在镶嵌火种火圈的侧面,离子探头受感于火种燃烧火焰,以控制燃烧器熄火保护,切断燃气的燃烧过程,如图1及图4所示的图中离子探头实际应为顺时针旋转60°。调节碗上的高度调节盘可调节燃烧器高度使烹饪过程的高度更舒适。使用额定压力为:液化气2800pa±500pa,天然气2000pa±50%,零件组装时必须拧紧火种头与中心接管。
As shown in Figure 1, the air enters the burner from the
Claims (4)
Priority Applications (1)
| Application Number | Priority Date | Filing Date | Title |
|---|---|---|---|
| CN201320072840XU CN203177168U (en) | 2013-02-08 | 2013-02-08 | Improved type combined commercial cooking range burner |
Applications Claiming Priority (1)
| Application Number | Priority Date | Filing Date | Title |
|---|---|---|---|
| CN201320072840XU CN203177168U (en) | 2013-02-08 | 2013-02-08 | Improved type combined commercial cooking range burner |
Publications (1)
| Publication Number | Publication Date |
|---|---|
| CN203177168U true CN203177168U (en) | 2013-09-04 |
Family
ID=49073857
Family Applications (1)
| Application Number | Title | Priority Date | Filing Date |
|---|---|---|---|
| CN201320072840XU Expired - Fee Related CN203177168U (en) | 2013-02-08 | 2013-02-08 | Improved type combined commercial cooking range burner |
Country Status (1)
| Country | Link |
|---|---|
| CN (1) | CN203177168U (en) |
Cited By (2)
| Publication number | Priority date | Publication date | Assignee | Title |
|---|---|---|---|---|
| CN108930961A (en) * | 2018-09-28 | 2018-12-04 | 湖北裕晨节能环保科技有限公司 | A kind of igniting and fire device coaxial with burner combustion chamber |
| CN112610987A (en) * | 2021-01-12 | 2021-04-06 | 广州合隆智能设备有限公司 | Cooking range system |
-
2013
- 2013-02-08 CN CN201320072840XU patent/CN203177168U/en not_active Expired - Fee Related
Cited By (2)
| Publication number | Priority date | Publication date | Assignee | Title |
|---|---|---|---|---|
| CN108930961A (en) * | 2018-09-28 | 2018-12-04 | 湖北裕晨节能环保科技有限公司 | A kind of igniting and fire device coaxial with burner combustion chamber |
| CN112610987A (en) * | 2021-01-12 | 2021-04-06 | 广州合隆智能设备有限公司 | Cooking range system |
Similar Documents
| Publication | Publication Date | Title |
|---|---|---|
| CN201964414U (en) | Burner for gas cooker | |
| CN103953927B (en) | Energy-saving Chinese meal frying oven and energy-saving burner | |
| CN104566374A (en) | Adjustable upper intake air combustor | |
| CN103148512B (en) | A kind of rotor, solenoid control turn the stove device of shelves and the control method of this device | |
| CN202561752U (en) | Multi-ejection-pipe burner | |
| CN102012026B (en) | Stove gas burner | |
| CN203177168U (en) | Improved type combined commercial cooking range burner | |
| CN202598520U (en) | Double-section high fire energy-saving and environment-friendly burner | |
| CN104501150A (en) | Novel energy-saving stove | |
| CN109404986A (en) | A kind of " W " burning type energy-saving gas cooker | |
| CN201954547U (en) | Gas burner with high pressure head | |
| CN204301065U (en) | A kind of novel energy-conserving kitchen range | |
| CN204084479U (en) | A kind of novel combined burner of infrared and flame | |
| CN205425070U (en) | Commercial kitchen range is with high -efficient environmental protection and energy saving combustion chamber | |
| CN202253788U (en) | Oxygen-increasing energy-gathering vertical gas-duct gas stove for high-altitude area | |
| CN102853437B (en) | A kind of open biogas combustion torch | |
| CN102588969A (en) | Commercial kitchen range furnace end | |
| CN202598611U (en) | Energy-saving and environment-friendly burner of commercial kitchen equipment | |
| CN201909317U (en) | Cooking range fuel gas burner | |
| CN221237864U (en) | Energy-saving burner | |
| CN223512096U (en) | But commercial kitchen premix burner of drainage | |
| CN104296177A (en) | Commercial low-noise energy-saving too-high-firing furnace end | |
| CN217843854U (en) | Cast iron premixing furnace end | |
| CN205208567U (en) | Ignition tip for cauldron | |
| CN201242162Y (en) | Premixing type double-segment fire energy-saving combustion machine spray head |
Legal Events
| Date | Code | Title | Description |
|---|---|---|---|
| C14 | Grant of patent or utility model | ||
| GR01 | Patent grant | ||
| CF01 | Termination of patent right due to non-payment of annual fee | ||
| CF01 | Termination of patent right due to non-payment of annual fee |
Granted publication date: 20130904 Termination date: 20220208 |
