CN203160089U - Anti-settling bridgehead slope structure - Google Patents
Anti-settling bridgehead slope structure Download PDFInfo
- Publication number
- CN203160089U CN203160089U CN 201320144372 CN201320144372U CN203160089U CN 203160089 U CN203160089 U CN 203160089U CN 201320144372 CN201320144372 CN 201320144372 CN 201320144372 U CN201320144372 U CN 201320144372U CN 203160089 U CN203160089 U CN 203160089U
- Authority
- CN
- China
- Prior art keywords
- bridge
- slope
- settling
- reinforcement
- bridgehead
- Prior art date
- Legal status (The legal status is an assumption and is not a legal conclusion. Google has not performed a legal analysis and makes no representation as to the accuracy of the status listed.)
- Expired - Fee Related
Links
- 239000004575 stone Substances 0.000 claims abstract description 5
- 230000002787 reinforcement Effects 0.000 claims description 20
- 229910000831 Steel Inorganic materials 0.000 claims description 9
- 239000010959 steel Substances 0.000 claims description 9
- 238000005728 strengthening Methods 0.000 claims description 4
- 230000007704 transition Effects 0.000 claims description 3
- XLYOFNOQVPJJNP-UHFFFAOYSA-N water Substances O XLYOFNOQVPJJNP-UHFFFAOYSA-N 0.000 claims description 2
- 239000003643 water by type Substances 0.000 claims 1
- 238000012423 maintenance Methods 0.000 abstract description 3
- 238000003466 welding Methods 0.000 abstract description 2
- 229910001294 Reinforcing steel Inorganic materials 0.000 abstract 2
- 238000000034 method Methods 0.000 abstract 1
- 230000002035 prolonged effect Effects 0.000 abstract 1
- 239000002344 surface layer Substances 0.000 abstract 1
- 238000004062 sedimentation Methods 0.000 description 7
- 238000005266 casting Methods 0.000 description 3
- 238000005516 engineering process Methods 0.000 description 3
- 238000009412 basement excavation Methods 0.000 description 2
- 230000003014 reinforcing effect Effects 0.000 description 2
- 239000004568 cement Substances 0.000 description 1
- 238000010586 diagram Methods 0.000 description 1
- 239000011159 matrix material Substances 0.000 description 1
- 238000009527 percussion Methods 0.000 description 1
- 239000002689 soil Substances 0.000 description 1
- 239000007787 solid Substances 0.000 description 1
- 239000000725 suspension Substances 0.000 description 1
Images
Landscapes
- Bridges Or Land Bridges (AREA)
Abstract
The utility model discloses an anti-settling bridgehead slope structure. The anti-settling bridgehead slope structure comprises a bridge abutment, a bridge embankment, bridge piers, road foundation stones, an reinforced slope and a road surface layer, wherein the reinforced slope is connected with a longitudinal reinforcing steel bar of the reinforced bridge slope by virtue of a pre-embedded exposed reinforcing steel bar head on the bridge embankment by welding, and poured with concrete to form an integral structure. The anti-settling bridgehead slope structure has the characteristics that the reinforced slope is integrally connected with the bridge embankment, so that the settling hidden dangers of the bridge slope are eliminated, and a step phenomenon of settling drop does not appear between the bridge abutment and the slope, a bridgehead bumping phenomenon appearing in a vehicle upgrading and downgrading process is eliminated, the service life of the bridge slope is prolonged; and meanwhile, the maintenance cost for excavating and repairing is also saved.
Description
Technical field
The utility model relates to highway engineering, specifically is used for solving a kind of anti-settling end of the bridge ramp structure of problem of bumping at bridge-head.
Background technology
At present, in highway bridging engineering, because the pile foundation of bridge has solid basis, and the bridge two ends are often except the upper strata is the sandstone cement admixture, ground is the soil matrix of nature, make the sedimentation at settling ratio bridge two ends of bridge come fewly, so, tend to occur the phenomenon that the sedimentation drop appears in bridge table top two ends and the zone that it is connected mutually, add percussion when passed through by vehicle, make the sedimentation at bridge two ends be on the rise, and to the phenomenon that step occurs, brought potential safety hazard to traffic, thereby have to take excavation to be repaired, this had both influenced normally and had been open to traffic, and increased maintenance cost again.
Summary of the invention
The utility model provides a kind of end of the bridge ramp structure of anti-settling for fear of above-mentioned existing in prior technology weak point, makes not produce the step phenomenon that causes because of sedimentation between road surface, end of the bridge two ends and end of the bridge, fundamentally solves the phenomenon of bumping at bridge-head.
The utility model solves the problems of the technologies described above the technical scheme that adopts: a kind of anti-settling end of the bridge ramp structure, comprise abutment, Qiao Di, bridge pier, roadbed stone, strengthen slope, supercrust, described reinforcement slope is welded and fused by the pre-buried exposed steel bar head on the bridge dike and the longitudinal reinforcement of strengthening the bridge slope, and become overall structure with concrete casting, form the slope at end of the bridge two ends.
Described reinforcement bridge comprises longitudinal reinforcement and transverse reinforcement in the slope, has galvanized wire to be bundled into one each other.
Described longitudinal reinforcement becomes whole reinforcement bridge slope and the transition of abutment interplanar camber with transverse reinforcement and concrete casting, the slope is descending gradually locating away from the abutment plane, forms hard relatively road structure.
The steel bar end of reserving when the pre-buried exposed steel bar head on the described bridge dike is pouring bridge dike.
Compared with prior art, advantage of the present utility model is, because being welding, the reinforcing bar on the bridge dike at end of the bridge two ends and the reinforcing bar on end of the bridge slope be linked to be an integral body, and it is whole with concrete casting one-tenth, form relative hard road structure, even roadbed has sedimentation, the step phenomenon that the sedimentation drop also can between abutment and slope, not occur, eliminated the bumping at bridge-head phenomenon that vehicle occurs when the bridge climb and fall, guaranteed the safety of driving, improve the application life on bridge slope, omitted the maintenance cost that excavation is repaired.
Description of drawings
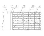
Fig. 1 is vertical section structure schematic diagram of the present utility model.
Fig. 2 is the cut-away view of overlooking of the present utility model;
The specific embodiment
Describe in further detail below in conjunction with the utility model of accompanying drawing embodiment.
As shown in Figure 1 and Figure 2, a kind of anti-settling end of the bridge ramp structure comprises abutment 1, bridge dike 2, bridge pier 3, roadbed stone 4, strengthens slope 5, supercrust 6, and bridge dike 2 is built on bridge pier 3, and bridge dike 2 is provided with pre-buried exposed steel bar head 21, and abutment 1 is laid on the bridge dike 2.
The utility model is filled with roadbed stone 4 below strengthening slope 5, at abutment 1, bridge dike 2 and strengthen above the slope 5 integral body layer overlay supercrust 6 smoothly, and be connected transition with level road is smooth.
The utility model in other embodiments, abutment 1 can also carry out scene pouring with steel concrete.
Above-described embodiment is of the present utility model a kind of, also is applicable to culvert, cable stayed bridge, suspension bridge etc., is not the restriction to the utility model rights protection.
Claims (4)
1. anti-settling end of the bridge ramp structure, comprise abutment (1), bridge dike (2), bridge pier (3), roadbed stone (4), strengthen slope (5), supercrust (6), described reinforcement slope (5) is welded and fused by the pre-buried exposed steel bar head (21) on the bridge dike (2) and the longitudinal reinforcement (51) of strengthening bridge slope (5), and water into overall structure with concrete (53), form the slope at end of the bridge two ends.
2. a kind of anti-settling end of the bridge ramp structure as claimed in claim 1 is characterized in that comprising longitudinal reinforcement (51) and transverse reinforcement (52) in the described reinforcement bridge slope (5), has galvanized wire to be bundled into one each other.
3. a kind of anti-settling end of the bridge ramp structure as claimed in claim 1, it is characterized in that described longitudinal reinforcement (51) waters into whole reinforcement bridge slope (5) and the transition of abutment (1) interplanar camber with transverse reinforcement (52) and concrete (53), the slope is descending gradually locating away from abutment (1) plane, forms hard relatively road structure.
4. a kind of anti-settling end of the bridge ramp structure as claimed in claim 1 is characterized in that the pre-buried exposed steel bar head (21) on the described bridge dike (2) is the steel bar end of reserving when watering bridge dike (2).
Priority Applications (1)
| Application Number | Priority Date | Filing Date | Title |
|---|---|---|---|
| CN 201320144372 CN203160089U (en) | 2013-03-27 | 2013-03-27 | Anti-settling bridgehead slope structure |
Applications Claiming Priority (1)
| Application Number | Priority Date | Filing Date | Title |
|---|---|---|---|
| CN 201320144372 CN203160089U (en) | 2013-03-27 | 2013-03-27 | Anti-settling bridgehead slope structure |
Publications (1)
| Publication Number | Publication Date |
|---|---|
| CN203160089U true CN203160089U (en) | 2013-08-28 |
Family
ID=49021285
Family Applications (1)
| Application Number | Title | Priority Date | Filing Date |
|---|---|---|---|
| CN 201320144372 Expired - Fee Related CN203160089U (en) | 2013-03-27 | 2013-03-27 | Anti-settling bridgehead slope structure |
Country Status (1)
| Country | Link |
|---|---|
| CN (1) | CN203160089U (en) |
Cited By (4)
| Publication number | Priority date | Publication date | Assignee | Title |
|---|---|---|---|---|
| CN103614961B (en) * | 2013-12-12 | 2015-06-10 | 西藏大学农牧学院 | Stepped reinforced concrete slab capable of preventing abutment vehicle skips and construction method |
| CN112458873A (en) * | 2020-04-03 | 2021-03-09 | 吕世宽 | Prevent high road bed bridgehead structure of jumping of filling |
| CN114575859A (en) * | 2022-03-25 | 2022-06-03 | 贵州桥梁建设研究院有限公司 | Construction method for passing existing road under open-cut shallow tunnel without interrupting traffic |
| CN116289383A (en) * | 2023-03-28 | 2023-06-23 | 陕西陕煤韩城矿业有限公司 | Ground hardening system for return airway slope section |
-
2013
- 2013-03-27 CN CN 201320144372 patent/CN203160089U/en not_active Expired - Fee Related
Cited By (5)
| Publication number | Priority date | Publication date | Assignee | Title |
|---|---|---|---|---|
| CN103614961B (en) * | 2013-12-12 | 2015-06-10 | 西藏大学农牧学院 | Stepped reinforced concrete slab capable of preventing abutment vehicle skips and construction method |
| CN112458873A (en) * | 2020-04-03 | 2021-03-09 | 吕世宽 | Prevent high road bed bridgehead structure of jumping of filling |
| CN112458873B (en) * | 2020-04-03 | 2022-07-15 | 吕世宽 | Prevent high road bed bridgehead structure of jumping of filling |
| CN114575859A (en) * | 2022-03-25 | 2022-06-03 | 贵州桥梁建设研究院有限公司 | Construction method for passing existing road under open-cut shallow tunnel without interrupting traffic |
| CN116289383A (en) * | 2023-03-28 | 2023-06-23 | 陕西陕煤韩城矿业有限公司 | Ground hardening system for return airway slope section |
Similar Documents
| Publication | Publication Date | Title |
|---|---|---|
| CN201850505U (en) | Rigid-flexible transition structure capable of preventing bumping at bridge-head | |
| CN102352590B (en) | Method for splicing highfill roadbed by adopting pile-sheet retaining wall | |
| CN204401447U (en) | A kind of structure preventing bumping at bridge-head | |
| CN105803922B (en) | A kind of high embankment filled soil end of the bridge anti-settling structure | |
| CN103711053B (en) | A kind of composite consolidation roadbed and construction method | |
| CN103452130B (en) | The deformed bar net board-like barricade of reinforcement earth pillar | |
| CN102926303A (en) | Method for reinforcing soft soil foundation settlement control pile foundation bracket of high-grade highway in use | |
| CN102619150A (en) | Anchored roadbed widening method | |
| CN104195911A (en) | Widened embankment structure with beside-water cliff high retaining wall fill section and construction method of widened embankment structure | |
| CN103628376B (en) | Bumping at bridge-head control structure and laying method thereof based on concrete composite road surface | |
| CN103821060B (en) | A kind of construction method of existing highway soft foundation Treating technology | |
| CN204401444U (en) | A kind of high embankment filled soil end of the bridge anti-settling structure | |
| CN103924501A (en) | Reinforcing construction method in partial failure repairing of rural cement pavement | |
| CN204849508U (en) | Roadbed structure of soft soil foundation highway road bridge changeover portion | |
| CN102979020A (en) | Method and structure used for handling highway bridgehead bumping problem | |
| CN107938438A (en) | High-speed railway box road structure and construction method | |
| CN203160089U (en) | Anti-settling bridgehead slope structure | |
| CN102296960A (en) | Prestress back box culvert jacking construction method | |
| CN214500241U (en) | Pipeline reinforcing system | |
| CN206529712U (en) | Assembled steel reinforced concrete aliform type culvert opening | |
| CN113969526A (en) | Temporary construction road pavement structure and construction method thereof | |
| CN108166395A (en) | A kind of construction method that beam bridge is built across Business Line | |
| CN208072084U (en) | High-speed railway box road structure | |
| CN207512580U (en) | For runing the reinforced bridgehead structures of rigidity that highway administers bumping at bridge-head | |
| CN211368255U (en) | An anti-settling roadbed structure |
Legal Events
| Date | Code | Title | Description |
|---|---|---|---|
| C14 | Grant of patent or utility model | ||
| GR01 | Patent grant | ||
| C17 | Cessation of patent right | ||
| CF01 | Termination of patent right due to non-payment of annual fee |
Granted publication date: 20130828 Termination date: 20140327 |