CN203086021U - Novel power control cabinet - Google Patents
Novel power control cabinet Download PDFInfo
- Publication number
- CN203086021U CN203086021U CN201320112701.5U CN201320112701U CN203086021U CN 203086021 U CN203086021 U CN 203086021U CN 201320112701 U CN201320112701 U CN 201320112701U CN 203086021 U CN203086021 U CN 203086021U
- Authority
- CN
- China
- Prior art keywords
- waterproof
- cabinet
- cabinet door
- waterproof platform
- power control
- Prior art date
- Legal status (The legal status is an assumption and is not a legal conclusion. Google has not performed a legal analysis and makes no representation as to the accuracy of the status listed.)
- Expired - Fee Related
Links
- 238000001816 cooling Methods 0.000 claims description 7
- 230000017525 heat dissipation Effects 0.000 abstract description 5
- 230000000694 effects Effects 0.000 abstract description 4
- 239000002699 waste material Substances 0.000 abstract description 3
- 230000009286 beneficial effect Effects 0.000 abstract description 2
- 230000007547 defect Effects 0.000 description 1
- XLYOFNOQVPJJNP-UHFFFAOYSA-N water Substances O XLYOFNOQVPJJNP-UHFFFAOYSA-N 0.000 description 1
Images
Classifications
-
- Y—GENERAL TAGGING OF NEW TECHNOLOGICAL DEVELOPMENTS; GENERAL TAGGING OF CROSS-SECTIONAL TECHNOLOGIES SPANNING OVER SEVERAL SECTIONS OF THE IPC; TECHNICAL SUBJECTS COVERED BY FORMER USPC CROSS-REFERENCE ART COLLECTIONS [XRACs] AND DIGESTS
- Y02—TECHNOLOGIES OR APPLICATIONS FOR MITIGATION OR ADAPTATION AGAINST CLIMATE CHANGE
- Y02A—TECHNOLOGIES FOR ADAPTATION TO CLIMATE CHANGE
- Y02A30/00—Adapting or protecting infrastructure or their operation
- Y02A30/14—Extreme weather resilient electric power supply systems, e.g. strengthening power lines or underground power cables
Landscapes
- Casings For Electric Apparatus (AREA)
- Patch Boards (AREA)
Abstract
本实用新型涉及一种电力设备,特别涉及一种新型电力控制柜,其技术方案是:包括壳体、底座、防水台、太阳能电池板、柜门、铰链、把手、视窗、散热孔,壳体固定在底座上,壳体的顶部设有防水台,所述的防水台上设有太阳能电池板,壳体上通过铰链连接柜门,所述的柜门上设有视窗和把手,所述的壳体的侧面设有散热孔;本实用新型的有益效果是:结构简单,防水台可防水防雨,保护电力柜,方便户外作业,延长使用寿命,散热效果好,太阳能电池板可以有效利用资源,减少了资源的浪费。
The utility model relates to a kind of electric power equipment, in particular to a new type of power control cabinet. Fixed on the base, the top of the casing is provided with a waterproof platform, the waterproof platform is provided with solar panels, the casing is connected to the cabinet door through hinges, and the cabinet door is provided with a window and a handle. The side of the housing is provided with heat dissipation holes; the beneficial effects of the utility model are: simple structure, the waterproof platform can be waterproof and rainproof, protect the power cabinet, facilitate outdoor work, prolong the service life, and have good heat dissipation effect, and the solar panel can effectively use resources , reducing the waste of resources.
Description
一、技术领域1. Technical field
本实用新型涉及一种电力设备,特别涉及一种新型电力控制柜。The utility model relates to electric equipment, in particular to a novel electric control cabinet.
二、背景技术2. Background technology
电力柜是电力设备的重要工具,电力设备中使用广泛,因为它的体积大,为满足强度高的要求,它的制造多采用焊接结构或骨架结构两种形式。这两种形式的电力柜,在使用时存在很多缺点,由于采用焊接结构所以防水效果差,使用年限长了以后容易出现漏水,造成安全隐患,大多数采用密闭空间,造成散热差,影响电力设备的正常工作。The power cabinet is an important tool for power equipment. It is widely used in power equipment because of its large size. In order to meet the requirements of high strength, it is manufactured in two forms: welded structure or skeleton structure. These two forms of power cabinets have many disadvantages in use. Due to the use of welded structures, the waterproof effect is poor. After a long service life, water leakage is prone to occur, causing potential safety hazards. Most of them use closed spaces, resulting in poor heat dissipation and affecting power equipment. normal work.
三、发明内容3. Contents of the invention
本实用新型的目的就是针对现有技术存在的上述缺陷,提供一种新型电力控制柜,结构简单,防水台可防水防雨,保护电力柜。The purpose of this utility model is to provide a new type of power control cabinet for the above-mentioned defects in the prior art. The structure is simple, and the waterproof platform can be waterproof and rainproof to protect the power cabinet.
其技术方案是:包括壳体、底座、防水台、太阳能电池板、柜门、铰链、把手、视窗、散热孔,壳体固定在底座上,壳体的顶部设有防水台,所述的防水台上设有太阳能电池板,壳体上通过铰链连接柜门,所述的柜门上设有视窗和把手,所述的壳体的侧面设有散热孔。Its technical scheme is: including housing, base, waterproof platform, solar panel, cabinet door, hinge, handle, window, cooling hole, the housing is fixed on the base, the top of the housing is provided with a waterproof platform, the waterproof A solar cell panel is arranged on the platform, and the cabinet door is connected with hinges on the casing. The cabinet door is provided with a window and a handle, and the side of the casing is provided with cooling holes.
本实用新型的有益效果是:结构简单,防水台可防水防雨,保护电力柜,方便户外作业,延长使用寿命,散热效果好,太阳能电池板可以有效利用资源,减少了资源的浪费。The beneficial effects of the utility model are: the structure is simple, the waterproof platform can be waterproof and rainproof, protects the power cabinet, facilitates outdoor work, prolongs the service life, has good heat dissipation effect, and the solar battery board can effectively use resources, reducing the waste of resources.
四、附图说明4. Description of drawings
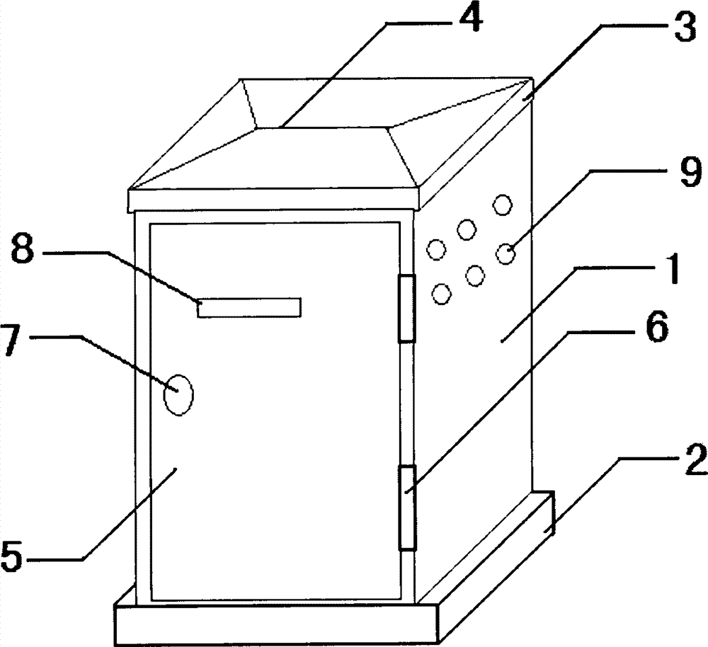
附图1是本实用新型的结构示意图;Accompanying drawing 1 is the structural representation of the utility model;
上图中:壳体1、底座2、防水台3、太阳能电池板4、柜门5、铰链6、把手7、视窗8、散热孔9。In the figure above: shell 1,
五、具体实施方式5. Specific implementation
结合附图1,对本实用新型作进一步的描述:In conjunction with accompanying drawing 1, the utility model is further described:
本实用新型包括壳体1、底座2、防水台3、太阳能电池板4、柜门5、铰链6、把手7、视窗8、散热孔9,壳体1固定在底座2上,壳体1的顶部设有防水台3,所述的防水台3上设有太阳能电池板4,壳体1上通过铰链6连接柜门5,所述的柜门5上设有视窗8和把手7,所述的壳体1的侧面设有散热孔9。The utility model includes a shell 1, a
使用时,防水台可防水防雨,有效保护电力柜,方便户外作业,延长使用寿命,散热效果好,太阳能电池板可以有效利用资源,减少了资源的浪费。When in use, the waterproof table can be waterproof and rainproof, effectively protect the power cabinet, facilitate outdoor work, prolong the service life, and have good heat dissipation effect. The solar panel can effectively use resources and reduce the waste of resources.
Claims (1)
Priority Applications (1)
| Application Number | Priority Date | Filing Date | Title |
|---|---|---|---|
| CN201320112701.5U CN203086021U (en) | 2013-03-01 | 2013-03-01 | Novel power control cabinet |
Applications Claiming Priority (1)
| Application Number | Priority Date | Filing Date | Title |
|---|---|---|---|
| CN201320112701.5U CN203086021U (en) | 2013-03-01 | 2013-03-01 | Novel power control cabinet |
Publications (1)
| Publication Number | Publication Date |
|---|---|
| CN203086021U true CN203086021U (en) | 2013-07-24 |
Family
ID=48831826
Family Applications (1)
| Application Number | Title | Priority Date | Filing Date |
|---|---|---|---|
| CN201320112701.5U Expired - Fee Related CN203086021U (en) | 2013-03-01 | 2013-03-01 | Novel power control cabinet |
Country Status (1)
| Country | Link |
|---|---|
| CN (1) | CN203086021U (en) |
Cited By (4)
| Publication number | Priority date | Publication date | Assignee | Title |
|---|---|---|---|---|
| CN105529637A (en) * | 2014-09-30 | 2016-04-27 | 无锡市金力电力成套设备有限公司 | Intelligent water-cooling radiating type assembling power distribution cabinet |
| CN105529633A (en) * | 2014-09-30 | 2016-04-27 | 无锡市金力电力成套设备有限公司 | Multifunctional outdoor assembling cabinet |
| CN105529635A (en) * | 2014-09-30 | 2016-04-27 | 无锡市金力电力成套设备有限公司 | Outdoor distribution box |
| CN105529630A (en) * | 2014-09-30 | 2016-04-27 | 无锡市金力电力成套设备有限公司 | Outdoor distribution box with water cooling structure |
-
2013
- 2013-03-01 CN CN201320112701.5U patent/CN203086021U/en not_active Expired - Fee Related
Cited By (4)
| Publication number | Priority date | Publication date | Assignee | Title |
|---|---|---|---|---|
| CN105529637A (en) * | 2014-09-30 | 2016-04-27 | 无锡市金力电力成套设备有限公司 | Intelligent water-cooling radiating type assembling power distribution cabinet |
| CN105529633A (en) * | 2014-09-30 | 2016-04-27 | 无锡市金力电力成套设备有限公司 | Multifunctional outdoor assembling cabinet |
| CN105529635A (en) * | 2014-09-30 | 2016-04-27 | 无锡市金力电力成套设备有限公司 | Outdoor distribution box |
| CN105529630A (en) * | 2014-09-30 | 2016-04-27 | 无锡市金力电力成套设备有限公司 | Outdoor distribution box with water cooling structure |
Similar Documents
| Publication | Publication Date | Title |
|---|---|---|
| CN203086021U (en) | Novel power control cabinet | |
| CN201732641U (en) | Insulating baffle plate | |
| CN203491050U (en) | Solar distribution transformer cooling device | |
| CN203328956U (en) | Extension medical shelter | |
| CN207760820U (en) | A kind of water conservancy and hydropower open-close type gate | |
| CN203632272U (en) | Algae power generation environmental protection building glass | |
| CN206225803U (en) | The removable protection against the tide regulator cubicle of one kind | |
| CN203553988U (en) | Charging cabinet | |
| CN205231558U (en) | Block terminal of utensil heat dissipation function | |
| CN203617582U (en) | Two-layer air-cooled power distribution cabinet | |
| CN201853167U (en) | Green energy-saving new notebook computer | |
| CN206194481U (en) | Protecting sheathing for distribution transformer | |
| CN204464782U (en) | A kind of Intelligent control cabinet | |
| CN204156321U (en) | A kind of high-low voltage electric power distribution cabinet | |
| CN202799018U (en) | Box body used in base station | |
| CN206346679U (en) | A kind of removable exterior window attemperator in passive room | |
| CN204947367U (en) | A kind of assembled box-type becomes housing | |
| CN205142022U (en) | Distributed generator inserts converter for electric wire netting | |
| CN201118481Y (en) | Solar remote controller | |
| CN202000699U (en) | Building integrated photovoltaic workshop | |
| CN204358963U (en) | A kind of Domestic warm-air machine | |
| CN203951062U (en) | Portable multi-function distribution box | |
| CN204156562U (en) | Electric bicycle waterproof charger | |
| CN203086032U (en) | Prefabricated substation with aluminum plastic color steel plate housing | |
| CN203136433U (en) | Electrical equipment box |
Legal Events
| Date | Code | Title | Description |
|---|---|---|---|
| C14 | Grant of patent or utility model | ||
| GR01 | Patent grant | ||
| CF01 | Termination of patent right due to non-payment of annual fee |
Granted publication date: 20130724 Termination date: 20140301 |
