CN203073843U - An electric lifting bed - Google Patents

An electric lifting bed Download PDF

Info

Publication number
CN203073843U
CN203073843U CN 201220743150 CN201220743150U CN203073843U CN 203073843 U CN203073843 U CN 203073843U CN 201220743150 CN201220743150 CN 201220743150 CN 201220743150 U CN201220743150 U CN 201220743150U CN 203073843 U CN203073843 U CN 203073843U
Authority
CN
China
Prior art keywords
bed frame
hinged
bed
support plate
push rod
Prior art date
Legal status (The legal status is an assumption and is not a legal conclusion. Google has not performed a legal analysis and makes no representation as to the accuracy of the status listed.)
Expired - Fee Related
Application number
CN 201220743150
Other languages
Chinese (zh)
Inventor
李仲
Current Assignee (The listed assignees may be inaccurate. Google has not performed a legal analysis and makes no representation or warranty as to the accuracy of the list.)
Dongguan Yaxuan Hardware Co ltd
Original Assignee
Individual
Priority date (The priority date is an assumption and is not a legal conclusion. Google has not performed a legal analysis and makes no representation as to the accuracy of the date listed.)
Filing date
Publication date
Application filed by Individual filed Critical Individual
Priority to CN 201220743150 priority Critical patent/CN203073843U/en
Application granted granted Critical
Publication of CN203073843U publication Critical patent/CN203073843U/en
Anticipated expiration legal-status Critical
Expired - Fee Related legal-status Critical Current

Links

Images

Landscapes

  • Invalid Beds And Related Equipment (AREA)

Abstract

The utility model relates to the technical field of furniture, in particular to an electric lifting bed, which comprises an upper bed frame, a lower bed frame, a supporting plate, a lifting device and a back supporting rod, wherein the supporting plate comprises a back supporting plate and a hip supporting plate, one end of the back supporting plate is hinged with one end of the hip supporting plate, the hip supporting plate is fixedly connected with the upper bed frame, the lifting device comprises a back push rod motor, the back push rod motor is hinged with the upper bed frame, a push rod of the back push rod motor is hinged with the back supporting plate, the lower bed frame is connected with the upper bed frame in a sliding way, one end of the back supporting rod is hinged with the lower bed frame, the other end of the back supporting rod is hinged with the back supporting plate, when the push rod of the back push rod motor extends, the back supporting plate rotates upwards around the hinged part of the back supporting plate and the hip supporting plate, the back supporting rod rotates downwards around, the back support plate is easier to lift, and the load of the back push rod motor is reduced.

Description

A kind of electric up-down bed
Technical field
The utility model relates to the furniture technical field, particularly relates to a kind of electric up-down bed.
Background technology
Bed surface commonly used is smooth, also is flat when the people lies on a bed, and people wish when seeing TV, reading in bed, just can only be with quilt or pillow pad after one's death, and unusual inconvenience.For the people who is on one's back and has a rest, it was both uncomfortable to lie on a bed for a long time, also very inconvenient during activities such as need getting up, have a meal.In order to address the above problem, people have designed the bed that can carry out lifting, for example lie on a bed when having a meal, and the control head of a bed partly upwards rises, and forms a slope, makes the first half of people's health lift certain angle.Existing bed that can lifting, its head of a bed part drives lifting by motor, but because people's back leans against head of a bed part, the head of a bed is partly applied a bigger pressure, thereby motor is formed bigger load, need to improve the power of motor on the one hand, increased cost, cause motor to deform on the other hand easily.
Summary of the invention
The purpose of this utility model is at the deficiencies in the prior art, and provides a kind of electric up-down bed, and its scientific structure is simple, and the intensity height is reliable and stable.
The technical scheme that its technical problem that solves the utility model adopts is: a kind of electric up-down bed, it comprises bed frame, following bedstead, gripper shoe, lowering or hoisting gear, the back strut, gripper shoe comprises the back gripper shoe, the buttocks gripper shoe, one end of back gripper shoe and an end of buttocks gripper shoe are hinged, the buttocks gripper shoe is fixedlyed connected with bed frame, lowering or hoisting gear comprises the back pusher motor, back pusher motor and bed frame are hinged, the push rod of back pusher motor and back gripper shoe are hinged, following bedstead and bed frame are slidingly connected, one end of back strut is hinged with following bedstead, the other end of back strut and back gripper shoe are hinged, when the push rod of back pusher motor extends, the back gripper shoe is upwards rotated around the hinged place of back gripper shoe and buttocks gripper shoe, the back strut rotates around the hinged place of back strut and back gripper shoe, slides to head of a bed direction in bed frame edge bedstead down.
Further, the back strut is two, is symmetricly set in the both sides of bed frame.
Further, bed frame is provided with four pulleys, leaves the bed to set up to be equipped with four chutes, and bed frame is slidingly connected by pulley and following bedstead.
Preferably, gripper shoe also comprises huckle gripper shoe, calf gripper shoe, lowering or hoisting gear also comprises shank pusher motor, shank jury strut, one end of the other end of buttocks gripper shoe and huckle gripper shoe is hinged, one end of the other end of huckle gripper shoe and calf gripper shoe is hinged, one end of the other end of shank gripper shoe and shank jury strut is hinged, the other end and the bed frame of shank jury strut are hinged, shank pusher motor and bed frame are hinged, and the push rod and the huckle gripper shoe of shank strut motor are hinged.
Further, the upside of back gripper shoe, buttocks gripper shoe, huckle gripper shoe and calf gripper shoe is respectively arranged with several bed boards, leaves the gap between each bed board.
Further, bed frame is provided with the bed board support bar, and when back gripper shoe, huckle gripper shoe and calf gripper shoe fell, the bed board of back gripper shoe, huckle gripper shoe and calf gripper shoe was conflicted respectively and is connected the upper surface of bed board support bar.
Further, the utility model is provided with control box, and control box is electrically connected with back pusher motor, shank pusher motor respectively.
Further, the utility model also comprises night-table, and the bottom of night-table is provided with universal wheel.
Further, following bedstead side is provided with slide bar, and night-table and slide bar are slidingly connected.
Further, following bedstead both sides are provided with pedal.
The beneficial effects of the utility model are: a kind of electric up-down bed, it comprises bed frame, following bedstead, gripper shoe, lowering or hoisting gear, the back strut, gripper shoe comprises the back gripper shoe, the buttocks gripper shoe, one end of back gripper shoe and an end of buttocks gripper shoe are hinged, the buttocks gripper shoe is fixedlyed connected with bed frame, lowering or hoisting gear comprises the back pusher motor, back pusher motor and bed frame are hinged, the push rod of back pusher motor and back gripper shoe are hinged, following bedstead and bed frame are slidingly connected, one end of back strut is hinged with following bedstead, the other end of back strut and back gripper shoe are hinged, when the push rod of back pusher motor extended, the back gripper shoe was upwards rotated around the hinged place of back gripper shoe and buttocks gripper shoe, and the back strut rotates around the hinged place of back strut and back gripper shoe, the back strut provides a power that makes progress to the back gripper shoe, make the easier rise of back gripper shoe, reduced the load of back pusher motor, help reducing cost.
Description of drawings
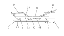
Fig. 1 is an electric up-down bed structural representation of the present utility model.
Fig. 2 is the structural representation of the electric up-down bed other direction of Fig. 1
Structural representation when Fig. 3 is an electric up-down bed rise state of the present utility model.
Fig. 4 is the structural representation of bed frame of the present utility model and following bedstead.
Fig. 5 is the structural representation after Fig. 1 removes bed board, night-table.
Fig. 6 is the structural representation during electric up-down bed rise state among Fig. 5.
Description of reference numerals:
1---bed frame 11---pulley
The following bedstead of 12---bed board support bars 2---
21---chute 22---slide bar
23---pedal 3---gripper shoe
31---back gripper shoe 32---buttocks gripper shoe
33---huckle gripper shoe 34---calf gripper shoe
35---bed board 4---lowering or hoisting gear
41---back pusher motor 42---shank pusher motor
43---shank jury strut 5---back strut
6---control box 7---night-table.
The specific embodiment
Below in conjunction with the drawings and specific embodiments the utility model being described in further detail, is not that practical range of the present utility model is limited to this.
Extremely shown in Figure 6 as Fig. 1, present embodiment a kind of electric up-down bed, it comprises bed frame 1, following bedstead 2, gripper shoe 3, lowering or hoisting gear 4, back strut 5, gripper shoe 3 comprises the bed board 25 of upside, the reinforcement strut of bed board 25 downsides, leave the gap between each bed board 25, interfere mutually when avoiding bed board 25 liftings.Gripper shoe 3 is divided into back gripper shoe 31, buttocks gripper shoe 32 according to the position difference of body support.One end of back gripper shoe 31 and an end of buttocks gripper shoe 32 are hinged, buttocks gripper shoe 32 is fixedlyed connected with bed frame 1, lowering or hoisting gear 4 comprises back pusher motor 41, back pusher motor 41 is hinged with bed frame 1, the push rod of back pusher motor 41 and back gripper shoe 31 are hinged, following bedstead 2 is slidingly connected with bed frame 1, and an end of back strut 5 and following bedstead 2 are hinged, and the other end of back strut 5 and back gripper shoe 31 are hinged.During use, an end of back gripper shoe 31 is freely, and under the driving of back pusher motor 41, certain angle is risen in rotation thereby back gripper shoe 31 makes progress around the hinged place of back gripper shoe 31 and buttocks gripper shoe 32.Simultaneously, back strut 5 rotates certain angle around the hinged place of back strut 5 and back gripper shoe 31, thereby make that the power of 5 pairs of back gripper shoes 31 of back strut is increasing at the component of vertical direction, make the 31 easier rises of back gripper shoe, reduced the load of back pusher motor 41, helped reducing cost.And when the push rod of back pusher motor 41 extended, because the effect of back strut 5, bed frame 1 was along bedstead 2 is to the slip of head of a bed direction down, and in the present embodiment, the head of a bed is meant a side of close back gripper shoe 31.Fig. 3, Figure 6 shows that electric up-down bed when rising.
As shown in Figure 6, back strut 5 is two, is symmetricly set in the both sides of bed frame 1.
As shown in Figure 4, bed frame 1 is provided with four pulleys 11, and following bedstead 2 is provided with four chutes 21, and bed frame 1 is slidingly connected by pulley 11 and following bedstead 2.
Further, shank also can rise when the people is lied on a bed, the gripper shoe 3 of present embodiment also comprises huckle gripper shoe 33, calf gripper shoe 34, lowering or hoisting gear 4 also comprises shank pusher motor 42, shank jury strut 43, one end of the other end of buttocks gripper shoe 32 and huckle gripper shoe 33 is hinged, one end of the other end of huckle gripper shoe 33 and calf gripper shoe 34 is hinged, one end of the other end of shank gripper shoe 34 and shank jury strut 43 is hinged, the other end of shank jury strut 43 and bed frame 1 are hinged, shank pusher motor 42 is hinged with bed frame 1, and the push rod and the huckle gripper shoe 33 of shank strut motor 42 are hinged.
Need to prove that back pusher motor 41, shank pusher motor 42 both can drive respectively, also can drive simultaneously, thereby control back gripper shoe 31 respectively or simultaneously, thigh gripper shoe 33, shank gripper shoe 34.The utility model scientific structure is simple, and the intensity height is reliable and stable, easy to use.
Further, bed frame 1 is provided with bed board support bar 12, when back gripper shoe 32, huckle gripper shoe 33 and calf gripper shoe 34 fell, the bed board 35 of back gripper shoe 32, huckle gripper shoe 33 and calf gripper shoe 34 was conflicted respectively and is connected the upper surface of bed board support bar 12.
As shown in Figure 2, further be provided with control box 6, control box 6 is electrically connected with back pusher motor 41, shank pusher motor 42 respectively, also can be provided with remote control panel, and is by remote control panel controlled in wireless control box 6, easy to use.
For easy to use, the utility model also comprises night-table 7, and the bottom of night-table 7 is provided with universal wheel, can move with bed.Further, following bedstead 2 sides are provided with slide bar 22, and night-table 7 is slidingly connected with slide bar 22, thereby can be so that night-table 7 moves along slide bar 22.
As shown in Figure 1, following bedstead 2 both sides are provided with pedal 23, and this pedal can be used for the people in bed the time, above pin is placed on, also can be used to put footwear or other article.Can also be provided with baffle plate on bed board 35, when placing mattress on this is electric up-down bed, baffle plate can carry out spacing to mattress.
For present embodiment, adopt the bolt assembling between each part or the assembly, can process each part or assembly earlier like this, the volume of packing is little, assembles when to be used again, is convenient to transportation.
Should be noted that at last; above embodiment is only in order to the explanation the technical solution of the utility model; but not to the restriction of the utility model protection domain; although the utility model has been done to explain with reference to preferred embodiment; those of ordinary skill in the art is to be understood that; can make amendment or be equal to replacement the technical solution of the utility model, and not break away from the essence and the scope of technical solutions of the utility model.

Claims (10)

1.一种电动升降床,其特征在于:包括上床架(1)、下床架(2)、支撑板(3)、升降装置(4)、背部撑杆(5),支撑板(3)包括背部支撑板(31)、臀部支撑板(32),背部支撑板(31)的一端与臀部支撑板(32)的一端铰接,臀部支撑板(32)与上床架(1)固定连接,升降装置(4)包括背部推杆马达(41),背部推杆马达(41)与上床架(1)铰接,背部推杆马达(41)的推杆与背部支撑板(31)铰接,下床架(2)与上床架(1)滑动连接,背部撑杆(5)的一端与下床架(2)铰接,背部撑杆(5)的另一端与背部支撑板(31)铰接,当背部推杆马达(41)的推杆伸长时,背部支撑板(31)绕背部支撑板(31)与臀部支撑板(32)的铰接处向上转动,背部撑杆(5)绕背部撑杆(5)与背部支撑板(31)的铰接处向下转动,上床架(1)沿下床架(2)向床头方向滑动。 1. An electric lift bed, characterized in that it includes an upper bed frame (1), a lower bed frame (2), a support plate (3), a lifting device (4), a back support rod (5), and a support plate (3) Including back support board (31), hip support board (32), one end of back support board (31) is hinged with one end of hip support board (32), hip support board (32) is fixedly connected with upper bed frame (1), lifts The device (4) includes a back push rod motor (41), the back push rod motor (41) is hinged with the upper bed frame (1), the push rod of the back push rod motor (41) is hinged with the back support plate (31), and the lower bed frame (2) Slidingly connected with the upper bed frame (1), one end of the back support rod (5) is hinged with the lower bed frame (2), and the other end of the back support rod (5) is hinged with the back support plate (31). When the push rod of the rod motor (41) is stretched, the back support plate (31) turns upwards around the hinge of the back support plate (31) and the hip support plate (32), and the back support bar (5) rotates around the back support bar (5) ) and the hinge of the back support plate (31) turn downward, and the upper bed frame (1) slides along the lower bed frame (2) toward the head of the bed. 2.根据权利要求1所述的一种电动升降床,其特征在于:背部撑杆(5)为两根,对称设置于上床架(1)的两侧。 2. An electric lift bed according to claim 1, characterized in that there are two back support rods (5), which are symmetrically arranged on both sides of the upper bed frame (1). 3.根据权利要求1所述的一种电动升降床,其特征在于:上床架(1)设置有四个滑轮(11),下床架(2)设置有四个滑槽(21),上床架(1)通过滑轮(11)与下床架(2)滑动连接。 3. An electric lift bed according to claim 1, characterized in that: the upper bed frame (1) is provided with four pulleys (11), and the lower bed frame (2) is provided with four chutes (21), and the upper bed frame (1) is provided with four pulleys (11). Frame (1) is slidably connected with lower bed frame (2) by pulley (11). 4.根据权利要求1至3任意一项所述的一种电动升降床,其特征在于:支撑板(3)还包括大腿部支撑板(33)、小腿部支撑板(34),升降装置(4)还包括腿部推杆马达(42)、腿部辅助撑杆(43),臀部支撑板(32)的另一端与大腿部支撑板(33)的一端铰接,大腿部支撑板(33)的另一端与小腿部支撑板(34)的一端铰接,小腿支撑板(34)的另一端与腿部辅助撑杆(43)的一端铰接,腿部辅助撑杆(43)的另一端与上床架(1)铰接,腿部推杆马达(42)与上床架(1)铰接,腿部撑杆马达(42)的推杆与大腿部支撑板(33)铰接。 4. An electric lift bed according to any one of claims 1 to 3, characterized in that: the support plate (3) also includes a thigh support plate (33), a calf support plate (34), and the lift The device (4) also includes a leg push rod motor (42), an auxiliary leg support rod (43), the other end of the buttock support plate (32) is hinged to one end of the thigh support plate (33), and the thigh support The other end of the plate (33) is hinged to one end of the calf support plate (34), the other end of the calf support plate (34) is hinged to one end of the leg auxiliary strut (43), and the leg auxiliary strut (43) The other end is hinged with the upper bed frame (1), the leg push rod motor (42) is hinged with the upper bed frame (1), and the push rod of the leg support motor (42) is hinged with the thigh support plate (33). 5.根据权利要求4所述的一种电动升降床,其特征在于:背部支撑板(31)、臀部支撑板(32)、大腿部支撑板(33)和小腿部支撑板(34)的上侧分别设置有若干个床板(35),各床板(35)之间留有间隙。 5. An electric lift bed according to claim 4, characterized in that: back support board (31), hip support board (32), thigh support board (33) and calf support board (34) Several bed boards (35) are respectively arranged on the upper side of each bed board (35), and gaps are left between each bed board (35). 6.根据权利要求5所述的一种电动升降床,其特征在于:上床架(1)设置有床板支撑杆(12),当背部支撑板(32)、大腿部支撑板(33)和小腿部支撑板(34)落下时,背部支撑板(32)、大腿部支撑板(33)和小腿部支撑板(34)的床板(35)分别抵触连接床板支撑杆(12)的上表面。 6. An electric lift bed according to claim 5, characterized in that: the upper bed frame (1) is provided with a bed board support rod (12), when the back support board (32), thigh support board (33) and When the calf support plate (34) fell, the bed boards (35) of the back support plate (32), the thigh support plate (33) and the calf support plate (34) respectively interfered with the joints of the bed support bar (12). upper surface. 7.根据权利要求4所述的一种电动升降床,其特征在于:进一步设置有控制盒(6),控制盒(6)分别与背部推杆马达(41)、腿部推杆马达(42)电连接。 7. An electric lift bed according to claim 4, characterized in that: a control box (6) is further provided, and the control box (6) is connected with the back push rod motor (41) and the leg push rod motor (42) respectively. ) electrical connection. 8.根据权利要求1所述的一种电动升降床,其特征在于:还包括床头桌(7),床头桌(7)的底部设置有万向轮。 8. An electric lift bed according to claim 1, characterized in that it further comprises a bedside table (7), and the bottom of the bedside table (7) is provided with universal wheels. 9.根据权利要求8所述的一种电动升降床,其特征在于:下床架(2)侧面设置有滑杆(22),床头桌(7)与滑杆(22)滑动连接。 9. An electric lift bed according to claim 8, characterized in that: a sliding bar (22) is provided on the side of the lower bed frame (2), and the bedside table (7) is slidably connected to the sliding bar (22). 10.根据权利要求1所述的一种电动升降床,其特征在于:下床架(2)两侧设置有踏板(23)。 10. An electric lift bed according to claim 1, characterized in that pedals (23) are provided on both sides of the lower bed frame (2).
CN 201220743150 2012-12-31 2012-12-31 An electric lifting bed Expired - Fee Related CN203073843U (en)

Priority Applications (1)

Application Number Priority Date Filing Date Title
CN 201220743150 CN203073843U (en) 2012-12-31 2012-12-31 An electric lifting bed

Applications Claiming Priority (1)

Application Number Priority Date Filing Date Title
CN 201220743150 CN203073843U (en) 2012-12-31 2012-12-31 An electric lifting bed

Publications (1)

Publication Number Publication Date
CN203073843U true CN203073843U (en) 2013-07-24

Family

ID=48819740

Family Applications (1)

Application Number Title Priority Date Filing Date
CN 201220743150 Expired - Fee Related CN203073843U (en) 2012-12-31 2012-12-31 An electric lifting bed

Country Status (1)

Country Link
CN (1) CN203073843U (en)

Cited By (5)

* Cited by examiner, † Cited by third party
Publication number Priority date Publication date Assignee Title
CN105534139A (en) * 2016-02-04 2016-05-04 嘉兴佰世电动床有限公司 Back hoisting frame of electric bed
CN105534138A (en) * 2016-02-04 2016-05-04 嘉兴佰世电动床有限公司 Intelligent remote control electric bed
CN105942752A (en) * 2016-06-23 2016-09-21 惠州金桔家具有限公司 Electric bed
CN105996561A (en) * 2016-08-05 2016-10-12 惠州金桔家具有限公司 Bed with storage function
CN107928236A (en) * 2017-12-08 2018-04-20 李�杰 A kind of home-use bed of novel intelligent

Cited By (5)

* Cited by examiner, † Cited by third party
Publication number Priority date Publication date Assignee Title
CN105534139A (en) * 2016-02-04 2016-05-04 嘉兴佰世电动床有限公司 Back hoisting frame of electric bed
CN105534138A (en) * 2016-02-04 2016-05-04 嘉兴佰世电动床有限公司 Intelligent remote control electric bed
CN105942752A (en) * 2016-06-23 2016-09-21 惠州金桔家具有限公司 Electric bed
CN105996561A (en) * 2016-08-05 2016-10-12 惠州金桔家具有限公司 Bed with storage function
CN107928236A (en) * 2017-12-08 2018-04-20 李�杰 A kind of home-use bed of novel intelligent

Similar Documents

Publication Publication Date Title
CN204352073U (en) A kind of paralytic's nursing bed of convenient movement
CN203073843U (en) An electric lifting bed
CN204379614U (en) A kind of nursing in neurology bed
CN106580587A (en) Automatic-separating-and-docking integrated robot
CN207071198U (en) A kind of multifunctional medical nursing bed
CN210020026U (en) Medical turning-over bed convenient to use
CN201299724Y (en) Multifunction nursing bed
CN205903370U (en) Multifunctional medical treatment bed
CN202366059U (en) Nursing bed capable of controlling lifting by itself
CN204092400U (en) A kind of multifunctional motor-driven sick bed
CN203493850U (en) Three-crank orthopedic bed with ABS (Acrylonitrile Butadiene Styrene) bed head
CN210384350U (en) Angle-adjustable training bed provided with lower limb rehabilitation device
CN203073844U (en) Electric lifting bed
CN202223462U (en) Standing type nursing bed
CN209695583U (en) A double-scissor structure lifting transfer bed
CN206381307U (en) A kind of care bed
CN203493851U (en) Double-crank leg-curling care bed with ABS (Acrylonitrile Butadiene Styrene) bed head
CN106236448B (en) Smart home care bed
CN203244523U (en) Medical bed with liftable foot plate
CN210750108U (en) Pedal detachable lower limb rehabilitation device and rehabilitation training bed
CN203735245U (en) Lift type pet nursing platform convenient to fix and position
CN203244524U (en) Multifunctional power-driven body turnover bed
CN202665860U (en) Hospital bed having bed head capable of being lifted
CN203089851U (en) Manipulative massage treatment bed
CN203693947U (en) Multifunctional automatic control nursing bed

Legal Events

Date Code Title Description
C14 Grant of patent or utility model
GR01 Patent grant
TR01 Transfer of patent right
TR01 Transfer of patent right

Effective date of registration: 20180116

Address after: Wang Cao Lu Cun Niu Dun step 523219 in Guangdong city of Dongguan Province

Patentee after: DONGGUAN YAXUAN HARDWARE Co.,Ltd.

Address before: 523000 Guangdong city of Dongguan Province Wang Cao Niu Industrial Zone under the

Patentee before: Li Zhong

CF01 Termination of patent right due to non-payment of annual fee
CF01 Termination of patent right due to non-payment of annual fee

Granted publication date: 20130724

Termination date: 20211231