CN203058211U - Multiple impurity removal structure for peony seed oil - Google Patents
Multiple impurity removal structure for peony seed oil Download PDFInfo
- Publication number
- CN203058211U CN203058211U CN201320008903.5U CN201320008903U CN203058211U CN 203058211 U CN203058211 U CN 203058211U CN 201320008903 U CN201320008903 U CN 201320008903U CN 203058211 U CN203058211 U CN 203058211U
- Authority
- CN
- China
- Prior art keywords
- oil
- tank body
- peony seed
- inlet pipe
- seed oil
- Prior art date
- Legal status (The legal status is an assumption and is not a legal conclusion. Google has not performed a legal analysis and makes no representation as to the accuracy of the status listed.)
- Expired - Fee Related
Links
- 239000012535 impurity Substances 0.000 title claims abstract description 27
- 241000736199 Paeonia Species 0.000 title claims abstract description 17
- 235000006484 Paeonia officinalis Nutrition 0.000 title claims abstract description 17
- 235000015112 vegetable and seed oil Nutrition 0.000 title claims abstract description 17
- 235000019198 oils Nutrition 0.000 claims abstract description 30
- 239000000428 dust Substances 0.000 claims 1
- 239000002184 metal Substances 0.000 abstract description 6
- 239000003921 oil Substances 0.000 description 18
- 241000196324 Embryophyta Species 0.000 description 3
- 239000008157 edible vegetable oil Substances 0.000 description 3
- 238000000034 method Methods 0.000 description 3
- 240000005001 Paeonia suffruticosa Species 0.000 description 2
- 235000003889 Paeonia suffruticosa Nutrition 0.000 description 2
- 239000010779 crude oil Substances 0.000 description 2
- 230000000694 effects Effects 0.000 description 2
- 235000019871 vegetable fat Nutrition 0.000 description 2
- 235000019737 Animal fat Nutrition 0.000 description 1
- 235000019483 Peanut oil Nutrition 0.000 description 1
- 235000019486 Sunflower oil Nutrition 0.000 description 1
- 235000019498 Walnut oil Nutrition 0.000 description 1
- ZOJBYZNEUISWFT-UHFFFAOYSA-N allyl isothiocyanate Chemical compound C=CCN=C=S ZOJBYZNEUISWFT-UHFFFAOYSA-N 0.000 description 1
- 239000010495 camellia oil Substances 0.000 description 1
- 239000000284 extract Substances 0.000 description 1
- 238000001914 filtration Methods 0.000 description 1
- 235000013305 food Nutrition 0.000 description 1
- 239000007788 liquid Substances 0.000 description 1
- 238000003801 milling Methods 0.000 description 1
- 239000004006 olive oil Substances 0.000 description 1
- 235000008390 olive oil Nutrition 0.000 description 1
- 239000000312 peanut oil Substances 0.000 description 1
- 239000002994 raw material Substances 0.000 description 1
- 210000000582 semen Anatomy 0.000 description 1
- 239000008159 sesame oil Substances 0.000 description 1
- 235000011803 sesame oil Nutrition 0.000 description 1
- 239000003549 soybean oil Substances 0.000 description 1
- 235000012424 soybean oil Nutrition 0.000 description 1
- 239000002600 sunflower oil Substances 0.000 description 1
- 239000008170 walnut oil Substances 0.000 description 1
Images
Classifications
-
- Y—GENERAL TAGGING OF NEW TECHNOLOGICAL DEVELOPMENTS; GENERAL TAGGING OF CROSS-SECTIONAL TECHNOLOGIES SPANNING OVER SEVERAL SECTIONS OF THE IPC; TECHNICAL SUBJECTS COVERED BY FORMER USPC CROSS-REFERENCE ART COLLECTIONS [XRACs] AND DIGESTS
- Y02—TECHNOLOGIES OR APPLICATIONS FOR MITIGATION OR ADAPTATION AGAINST CLIMATE CHANGE
- Y02W—CLIMATE CHANGE MITIGATION TECHNOLOGIES RELATED TO WASTEWATER TREATMENT OR WASTE MANAGEMENT
- Y02W30/00—Technologies for solid waste management
- Y02W30/50—Reuse, recycling or recovery technologies
- Y02W30/74—Recovery of fats, fatty oils, fatty acids or other fatty substances, e.g. lanolin or waxes
Landscapes
- Fats And Perfumes (AREA)
- Edible Oils And Fats (AREA)
Abstract
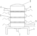
The utility model discloses a multiple impurity removal structure for peony seed oil. The structure comprises a tank body on a bracket, wherein the lower part of the side wall of the tank body is communicated with an oil inlet pipe; an oil outlet pipe is arranged on the side wall, opposite to the oil inlet pipe, of the tank body; circular and horizontal filter screens, which are distributed at intervals and are provided with gradually increased meshes, are sequentially arranged in the tank body from top to bottom; and a plurality of electromagnets are distributed at intervals on the outer wall of the tank body from top to bottom and are connected with an external power supply. The structure is simple; and through the filter screens distributed at intervals on the inner wall of the tank body from top to bottom and the electromagnets distributed on the outer wall of the tank body, oil enters from the bottom and is output from the top under the action of a power device, and big granular impurities and metal impurities are removed from the oil, so that the quality of the product is improved.
Description
Technical field:
The utility model relates to the peony seed oil process technology, relates in particular to the multiple removal of impurities structure of a kind of peony seed oil.
Background technology:
Edible oil is also referred to as " edible oil ", refers to use in making the food process animal or vegetable fat.Be liquid under the normal temperature.Owing to reasons such as raw material sources, processing technology and qualities, common edible oil mostly is vegetable fat, comprises Semen setariae oil, peanut oil, olive oil, camellia oil, mustard beggar oil, sunflower oil, soybean oil, sesame oil, walnut oil, peony seed oil etc.
Peony seed oil is the table oil that extracts from Paeonia suffruticosa seed, and is very precious and rare, generally adopts milling process to prepare peony seed oil.
But in the peony seed oil process, crude oil needs removal of impurities at present, not only large granular impurity wherein will be gone out, and also needs to go out through metal impurities wherein, and original removal of impurities is simple in structure, does not reach the removal of impurities requirement, influences the quality of oil plant.
The utility model content:
In order to remedy the prior art problem, the purpose of this utility model provides the multiple removal of impurities structure of a kind of peony seed oil, and structural design is simple, can cross large granular impurity and metal impurities in the filtering tree peony crude oil, improves the quality of product.
The technical solution of the utility model is as follows:
The multiple removal of impurities structure of peony seed oil, comprise the tank body that is installed on the support, it is characterized in that: described tank wall bottom is linked with oil inlet pipe, the tank wall of oil inlet pipe offside is provided with flowline, be provided with filter screen spaced apart and that the mesh number increases gradually in the described tank body from top to bottom successively, filter screen is circle and horizontal positioned, and described tank wall is intervally distributed with several electromagnet from top to bottom, some electromagnet external power supplys.
The multiple removal of impurities structure of described peony seed oil is characterized in that: the external oil feed pump of described oil inlet pipe, the external oil scavenge pump of flowline.
The multiple removal of impurities structure of described peony seed oil, it is characterized in that: described tank base is provided with the dedusting mouth.
The utility model has the advantages that:
The utility model is simple in structure, by the inner tank wall electromagnet that distributes of filter screen spaced apart and tank wall from top to bottom, under the power set effect oil plant enter from the bottom, high-end output, wherein large granular impurity and metal impurities are removed, improved the quality of product.
Description of drawings:
Fig. 1 is structural representation of the present utility model.
The specific embodiment:
Referring to Fig. 1:
The multiple removal of impurities structure of peony seed oil, comprise the tank body 2 that is installed on the support 1, tank body 1 lower sidewall is linked with oil inlet pipe 3, tank body 2 sidewalls of oil inlet pipe 3 offsides are provided with flowline 4, be provided with filter screen 5 spaced apart and that the mesh number increases gradually in the tank body 1 from top to bottom successively, filter screen 5 is circle and horizontal positioned, and tank body 2 outer walls are intervally distributed with several electromagnet 6 from top to bottom, some electromagnet 6 external power supplys.
Oil inlet pipe 3 external oil feed pumps, flowline 4 external oil scavenge pumps, at power set---under oil feed pump, the oil scavenge pump effect oil plant enter from the bottom, high-end output, wherein large granular impurity and metal impurities are removed, improved the quality of product.
Tank base is provided with dedusting mouth 7, falls from dedusting mouth 7 at the back metal impurities that cut off the power supply, and the impurity that filter screen 5 filters also can fall.
Claims (3)
Priority Applications (1)
| Application Number | Priority Date | Filing Date | Title |
|---|---|---|---|
| CN201320008903.5U CN203058211U (en) | 2013-01-08 | 2013-01-08 | Multiple impurity removal structure for peony seed oil |
Applications Claiming Priority (1)
| Application Number | Priority Date | Filing Date | Title |
|---|---|---|---|
| CN201320008903.5U CN203058211U (en) | 2013-01-08 | 2013-01-08 | Multiple impurity removal structure for peony seed oil |
Publications (1)
| Publication Number | Publication Date |
|---|---|
| CN203058211U true CN203058211U (en) | 2013-07-17 |
Family
ID=48757049
Family Applications (1)
| Application Number | Title | Priority Date | Filing Date |
|---|---|---|---|
| CN201320008903.5U Expired - Fee Related CN203058211U (en) | 2013-01-08 | 2013-01-08 | Multiple impurity removal structure for peony seed oil |
Country Status (1)
| Country | Link |
|---|---|
| CN (1) | CN203058211U (en) |
Cited By (1)
| Publication number | Priority date | Publication date | Assignee | Title |
|---|---|---|---|---|
| CN105539896A (en) * | 2015-12-21 | 2016-05-04 | 衡阳智源农业科技有限公司 | Semi-automatic tea oil packaging machine |
-
2013
- 2013-01-08 CN CN201320008903.5U patent/CN203058211U/en not_active Expired - Fee Related
Cited By (1)
| Publication number | Priority date | Publication date | Assignee | Title |
|---|---|---|---|---|
| CN105539896A (en) * | 2015-12-21 | 2016-05-04 | 衡阳智源农业科技有限公司 | Semi-automatic tea oil packaging machine |
Similar Documents
| Publication | Publication Date | Title |
|---|---|---|
| CN203342480U (en) | Pressure type multilayer screen filter device for coating | |
| CN203058211U (en) | Multiple impurity removal structure for peony seed oil | |
| CN202272857U (en) | Production device for extracting oil form oilseeds | |
| CN204485416U (en) | A kind of resin filtering device | |
| CN203058212U (en) | Impurity removal device for peony seed oil | |
| CN203419423U (en) | Material circulating filtration storage tank | |
| CN202250156U (en) | Foam generating device for mining dust remover | |
| CN203625159U (en) | Active carbon filter | |
| CN205235565U (en) | Machine oil filter | |
| CN203400595U (en) | Waste gas filter | |
| CN203255558U (en) | Wet activated carbon bin | |
| CN203262010U (en) | an aquaculture tank | |
| CN202223981U (en) | Lubricant filter device of water tank type wire drawing machine | |
| CN205099407U (en) | Kitchen garbage handles and uses oil -water separator | |
| CN207950734U (en) | A kind of vertical foam-resistant extractor | |
| CN204638519U (en) | A kind of flour classified screening device | |
| CN203400554U (en) | Filtering device for treating solid impurities in industrial wastewater | |
| CN206356025U (en) | A kind of cool rice device | |
| CN202914264U (en) | Painting pump | |
| CN203591768U (en) | Pair roller granulator with slag removal mechanism | |
| CN202105716U (en) | Flowing tank with bubble holes for impurity removing through magnet and particle sieving | |
| CN203795527U (en) | Cooling water pond for allowing cooling water to be recycled | |
| CN203281097U (en) | Press filter for preparing amantadine hydrochloride | |
| CN201780958U (en) | Fluorescent powder recovery device of powder coating machine | |
| CN202398216U (en) | Device for filtering chemical product |
Legal Events
| Date | Code | Title | Description |
|---|---|---|---|
| C14 | Grant of patent or utility model | ||
| GR01 | Patent grant | ||
| CF01 | Termination of patent right due to non-payment of annual fee |
Granted publication date: 20130717 Termination date: 20190108 |
|
| CF01 | Termination of patent right due to non-payment of annual fee |