CN203049324U - Solar auxiliary clothes hanger - Google Patents
Solar auxiliary clothes hanger Download PDFInfo
- Publication number
- CN203049324U CN203049324U CN201320067131.2U CN201320067131U CN203049324U CN 203049324 U CN203049324 U CN 203049324U CN 201320067131 U CN201320067131 U CN 201320067131U CN 203049324 U CN203049324 U CN 203049324U
- Authority
- CN
- China
- Prior art keywords
- clothes
- frame
- electric fan
- shoulder
- solar
- Prior art date
- Legal status (The legal status is an assumption and is not a legal conclusion. Google has not performed a legal analysis and makes no representation as to the accuracy of the status listed.)
- Expired - Fee Related
Links
Classifications
-
- Y—GENERAL TAGGING OF NEW TECHNOLOGICAL DEVELOPMENTS; GENERAL TAGGING OF CROSS-SECTIONAL TECHNOLOGIES SPANNING OVER SEVERAL SECTIONS OF THE IPC; TECHNICAL SUBJECTS COVERED BY FORMER USPC CROSS-REFERENCE ART COLLECTIONS [XRACs] AND DIGESTS
- Y02—TECHNOLOGIES OR APPLICATIONS FOR MITIGATION OR ADAPTATION AGAINST CLIMATE CHANGE
- Y02B—CLIMATE CHANGE MITIGATION TECHNOLOGIES RELATED TO BUILDINGS, e.g. HOUSING, HOUSE APPLIANCES OR RELATED END-USER APPLICATIONS
- Y02B40/00—Technologies aiming at improving the efficiency of home appliances, e.g. induction cooking or efficient technologies for refrigerators, freezers or dish washers
- Y02B40/18—Technologies aiming at improving the efficiency of home appliances, e.g. induction cooking or efficient technologies for refrigerators, freezers or dish washers using renewables, e.g. solar cooking stoves, furnaces or solar heating
Landscapes
- Drying Of Solid Materials (AREA)
Abstract
本实用新型提供一种太阳能辅助晾衣架,属于日常生活用品。包括挂钩、架肩、横梁,其结构特点是架肩具有中空的内腔;在挂钩与架肩之间依次设有太阳能接收装置、蓄电池、电风扇,太阳能接收装置连接蓄电池,蓄电池连接电风扇;电风扇侧壁设有进风口,电风扇下端出风口与架肩的内腔连通;架肩下部设有多个均匀排列的出风孔。本实用新型使用安全方便,节能环保,可辅助加速晾晒衣服,有效解决阴雨天气衣服不能晾干的问题。
The utility model provides a solar-assisted clothes drying rack, which belongs to daily necessities. It includes hooks, frame shoulders, and beams. Its structural feature is that the frame shoulders have a hollow cavity; between the hooks and the frame shoulders, there are solar receivers, batteries, and electric fans in sequence. The solar receivers are connected to batteries, and the batteries are connected to electric fans; The side wall of the electric fan is provided with an air inlet, and the air outlet at the lower end of the electric fan communicates with the inner cavity of the frame shoulder; the lower part of the frame shoulder is provided with a plurality of evenly arranged air outlets. The utility model is safe and convenient to use, energy-saving and environment-friendly, can assist in accelerating drying of clothes, and effectively solves the problem that clothes cannot be dried in rainy weather.
Description
技术领域 technical field
本实用新型属于日常生活用品,具体地涉及一种太阳能辅助晾衣架。 The utility model belongs to daily necessities, in particular to a solar-assisted clothes drying rack. the
背景技术 Background technique
人们晾晒洗好的衣服时,都是把衣服用衣架撑起,挂在晾衣杆或晾衣绳上,利用阳光将衣服自然晒干,如遇阴雨天气,衣服很难晾干,让人十分烦恼。 When people dry their washed clothes, they hang them on clothes rails or clotheslines, and use sunlight to dry their clothes naturally. In case of rainy weather, it is very difficult to dry clothes, which makes people very uncomfortable. trouble. the
发明内容 Contents of the invention
本实用新型的目的是克服现有技术的不足,提供一种太阳能辅助晾衣架,可辅助加速晾晒衣服,有效解决阴雨天气衣服不能晾干的问题。 The purpose of the utility model is to overcome the deficiencies of the prior art and provide a solar-assisted drying rack, which can assist in accelerating the drying of clothes and effectively solve the problem that clothes cannot be dried in rainy weather. the
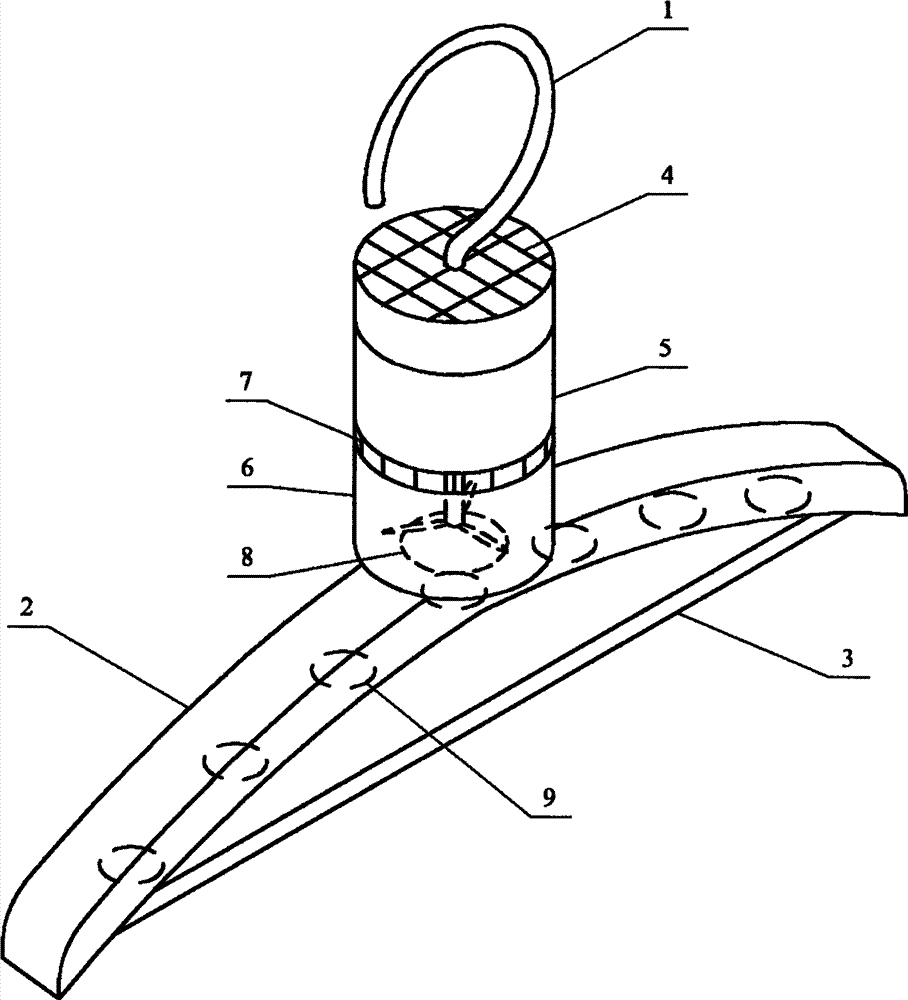
本实用新型的任务通过下述技术方案实现,包括挂钩1、架肩2、横梁3,其技术特点是架肩2具有中空的内腔;在挂钩1与架肩2之间依次设有太阳能接收装置4、蓄电池5、电风扇6,太阳能接收装置4连接蓄电池5,蓄电池5连接电风扇6;电风扇6侧壁设有进风口7,电风扇6下端出风口8与架肩2的内腔连通;架肩2下部设有多个均匀排列的出风孔9。 The task of the utility model is achieved through the following technical solutions, including a hook 1, a shoulder 2, and a beam 3. Its technical feature is that the shoulder 2 has a hollow inner cavity; Device 4, storage battery 5, electric fan 6, solar receiving device 4 is connected to storage battery 5, storage battery 5 is connected to electric fan 6; the side wall of electric fan 6 is provided with air inlet 7, and the inner chamber of air outlet 8 at the lower end of electric fan 6 and frame shoulder 2 Connected; the lower part of the frame shoulder 2 is provided with a plurality of evenly arranged air outlet holes 9 . the
本实用新型的积极效果是:由于在晾衣架上设置了太阳能接收装置、蓄电池、电风扇,在晾晒衣服时,能将太阳能转换成电能供电风扇工作,辅助加速晾晒衣服,还能将转换的电能储备在蓄电池中,供电风扇使用,能有效解决阴雨天气衣服不能晾干的问题。本实用新型使用安全方便,节能环保。 The positive effects of the utility model are: since the solar receiving device, the storage battery and the electric fan are arranged on the clothes hanger, when the clothes are dried, the solar energy can be converted into electric energy to power the fan to work, assist in accelerating the drying of the clothes, and can also convert the converted electric energy It is stored in the storage battery and used as a power supply fan, which can effectively solve the problem that clothes cannot be dried in rainy weather. The utility model is safe and convenient to use, energy-saving and environment-friendly. the
附图说明 Description of drawings
图1为本实用新型的结构示意图。 Fig. 1 is the structural representation of the utility model. the
图中1-挂钩,2-架肩,3-横梁,4-太阳能接收装置,5-蓄电池,6-电风扇,7-进风口,8-出风口,9-出风孔。 In the figure, 1-hook, 2-shoulder, 3-beam, 4-solar receiving device, 5-battery, 6-electric fan, 7-air inlet, 8-air outlet, 9-air outlet. the
具体实施方式 Detailed ways
结合附图详细说明本实用新型提出的一种太阳能辅助晾衣架的细节。 The details of a solar auxiliary drying rack proposed by the utility model will be described in detail in conjunction with the accompanying drawings. the
如图1所示,包括挂钩1、架肩2、横梁3,架肩2具有中空的内腔;在挂钩1与架肩2之间依次设有太阳能接收装置4、蓄电池5、电风扇6,太阳能接收装置4连接蓄电池5,蓄电池5连接电风扇6;电风扇6侧壁设有进风口7,电风扇6下端出风口8与架肩2的内腔连通,架肩2下部设有多个均匀排列的出风孔9。 As shown in Figure 1, it includes a hook 1, a frame shoulder 2, and a beam 3, and the frame shoulder 2 has a hollow inner cavity; between the hook 1 and the frame shoulder 2, a solar receiving device 4, a storage battery 5, and an electric fan 6 are sequentially arranged. The solar receiving device 4 is connected to the battery 5, and the battery 5 is connected to the electric fan 6; the side wall of the electric fan 6 is provided with an air inlet 7, and the air outlet 8 at the lower end of the electric fan 6 communicates with the inner cavity of the frame shoulder 2, and the lower part of the frame shoulder 2 is provided with multiple Evenly arranged air outlet holes 9. the
使用时,按传统晾衣架的使用方法,把衣服悬挂在架肩2上,将挂钩1挂在晾衣杆或晾衣绳上,有阳光照射时,太阳能接收装置4将太阳能转换成电能,储备在蓄电池5中,打开电风扇6开关,电风扇6吹出的风经过架肩2的内腔,从架肩2下部的出风孔9吹出,可辅助加速衣服晾干;阴雨天气时,电风扇6利用蓄电池5的电能工作,有效解决了阴雨天气衣服不能晾干的问题。 During use, according to the using method of traditional clothes hanger, clothes are hung on the frame shoulder 2, and hook 1 is hung on the clothes rail or the clothes line, when there is sunshine, solar energy receiving device 4 converts solar energy into electric energy, reserves In the accumulator 5, turn on the switch of the electric fan 6, and the wind blown by the electric fan 6 passes through the inner chamber of the frame shoulder 2, and blows out from the air outlet 9 at the bottom of the frame shoulder 2, which can assist in accelerating the drying of clothes; 6 Utilize the electric energy work of accumulator 5, effectively solved the problem that clothes can't be dried in cloudy and rainy weather. the
Claims (1)
Priority Applications (1)
| Application Number | Priority Date | Filing Date | Title |
|---|---|---|---|
| CN201320067131.2U CN203049324U (en) | 2013-01-29 | 2013-01-29 | Solar auxiliary clothes hanger |
Applications Claiming Priority (1)
| Application Number | Priority Date | Filing Date | Title |
|---|---|---|---|
| CN201320067131.2U CN203049324U (en) | 2013-01-29 | 2013-01-29 | Solar auxiliary clothes hanger |
Publications (1)
| Publication Number | Publication Date |
|---|---|
| CN203049324U true CN203049324U (en) | 2013-07-10 |
Family
ID=48732296
Family Applications (1)
| Application Number | Title | Priority Date | Filing Date |
|---|---|---|---|
| CN201320067131.2U Expired - Fee Related CN203049324U (en) | 2013-01-29 | 2013-01-29 | Solar auxiliary clothes hanger |
Country Status (1)
| Country | Link |
|---|---|
| CN (1) | CN203049324U (en) |
Cited By (1)
| Publication number | Priority date | Publication date | Assignee | Title |
|---|---|---|---|---|
| CN109468817A (en) * | 2017-09-08 | 2019-03-15 | 上海市格致中学 | A kind of clothes hanger with drying function |
-
2013
- 2013-01-29 CN CN201320067131.2U patent/CN203049324U/en not_active Expired - Fee Related
Cited By (1)
| Publication number | Priority date | Publication date | Assignee | Title |
|---|---|---|---|---|
| CN109468817A (en) * | 2017-09-08 | 2019-03-15 | 上海市格致中学 | A kind of clothes hanger with drying function |
Similar Documents
| Publication | Publication Date | Title |
|---|---|---|
| CN205377741U (en) | Intelligence clothing system of drying in air | |
| CN203049324U (en) | Solar auxiliary clothes hanger | |
| CN206408423U (en) | Household self power generation clothes drying device | |
| CN205934489U (en) | Solar clothes hanger | |
| CN203220220U (en) | Novel solar energy clothes hanger | |
| CN203000406U (en) | Quick-drying type clothes horse | |
| CN203058373U (en) | Cooling and temperature-reducing work clothes | |
| CN203128889U (en) | Solar clothes hanger | |
| CN203420144U (en) | Miniature hydroelectric drying box | |
| CN202553399U (en) | Clothes hanger with solar fans | |
| CN203074143U (en) | Solar clothes rack | |
| CN202681511U (en) | Airing laundry rack | |
| CN202408327U (en) | Quick-drying type clothes hanger | |
| CN203320308U (en) | Clothes airing rod | |
| CN220397644U (en) | Indoor wisdom heating equipment of building | |
| CN201459476U (en) | Energy-saving clothes hanger with blower function | |
| CN203814790U (en) | Luggage case capable of airing clothes | |
| CN202552622U (en) | Multifunctional blower | |
| CN203144768U (en) | Sun-rain hanger | |
| CN203174387U (en) | Clothes drying rack | |
| CN204676339U (en) | A kind of solar energy clothes rack | |
| CN102312369A (en) | Intelligent clothes hanger | |
| CN202181462U (en) | clothes drying rack | |
| CN202323502U (en) | Air blowing clothes airer | |
| CN103300681A (en) | Clothes rack with solar fans |
Legal Events
| Date | Code | Title | Description |
|---|---|---|---|
| C14 | Grant of patent or utility model | ||
| GR01 | Patent grant | ||
| C17 | Cessation of patent right | ||
| CF01 | Termination of patent right due to non-payment of annual fee |
Granted publication date: 20130710 Termination date: 20140129 |
