CN203020989U - Biomass raw material delivery device - Google Patents
Biomass raw material delivery device Download PDFInfo
- Publication number
- CN203020989U CN203020989U CN 201320044320 CN201320044320U CN203020989U CN 203020989 U CN203020989 U CN 203020989U CN 201320044320 CN201320044320 CN 201320044320 CN 201320044320 U CN201320044320 U CN 201320044320U CN 203020989 U CN203020989 U CN 203020989U
- Authority
- CN
- China
- Prior art keywords
- raw material
- belt
- conveying device
- discharge
- belt conveyor
- Prior art date
- Legal status (The legal status is an assumption and is not a legal conclusion. Google has not performed a legal analysis and makes no representation as to the accuracy of the status listed.)
- Expired - Fee Related
Links
- 239000002994 raw material Substances 0.000 title claims abstract description 34
- 239000002028 Biomass Substances 0.000 title claims abstract description 14
- 238000003860 storage Methods 0.000 claims abstract description 28
- 239000003566 sealing material Substances 0.000 claims description 5
- 238000000034 method Methods 0.000 abstract description 9
- 238000005516 engineering process Methods 0.000 abstract description 5
- 238000009776 industrial production Methods 0.000 abstract description 4
- 238000007599 discharging Methods 0.000 description 5
- 239000000463 material Substances 0.000 description 4
- 238000010586 diagram Methods 0.000 description 2
- 238000007789 sealing Methods 0.000 description 2
- 238000006467 substitution reaction Methods 0.000 description 2
- 238000011143 downstream manufacturing Methods 0.000 description 1
- 238000012423 maintenance Methods 0.000 description 1
- 230000002035 prolonged effect Effects 0.000 description 1
- 230000009466 transformation Effects 0.000 description 1
Images
Landscapes
- Filling Or Emptying Of Bunkers, Hoppers, And Tanks (AREA)
Abstract
本实用新型涉及一种原料输送设备,尤其涉及一种生物质原料输送装置,有效地解决了与生物质原料储存系统相衔接和匹配的问题,还克服了容易磨损的缺点。包括储料斗和皮带输送机,储料斗由至少两个出料室分别与入料室连通而成,出料室的出料口分别与皮带输送机的皮带对正。本实用新型结构紧凑、操作简单、技术可靠、运行稳定、输送效率高、适用范围广、经济性和实用性强,可广泛应用于多行业工业生产的原料输送过程中,市场前景较好。
The utility model relates to a raw material conveying device, in particular to a biomass raw material conveying device, which effectively solves the problem of connection and matching with a biomass raw material storage system, and also overcomes the shortcoming of easy wear and tear. It includes a storage hopper and a belt conveyor. The storage hopper is formed by connecting at least two discharge chambers with the feed chamber respectively, and the discharge ports of the discharge chambers are respectively aligned with the belts of the belt conveyor. The utility model has the advantages of compact structure, simple operation, reliable technology, stable operation, high conveying efficiency, wide application range, strong economy and practicability, can be widely used in the raw material conveying process of industrial production in many industries, and has a good market prospect.
Description
技术领域 technical field
本实用新型涉及一种原料输送设备,尤其涉及一种生物质原料输送装置。 The utility model relates to a raw material conveying device, in particular to a biomass raw material conveying device. the
背景技术 Background technique
原料输送是工业化生产中的重要环节,其运行状况直接影响下游各工序的正常运行。皮带输送机是原料输送常用设备,具有调速灵活、操作简单,维修方便等优点,广泛应用于工业化生产中。但是,皮带输送机在实际使用过程中同时也具有容易磨损等问题。为了解决这些实际问题,许多研究人员提出了多种皮带输送机的改造方案,但由于这些方案多数针对皮带输送机本身,没有充分考虑与皮带输送机相关联的设备,所以各种方案都有一定的局限性,适用范围有限。生物质原料的输送技术一直是生物质能源规模化利用的研究重点,开发与生物质原料储存系统相结合的输送技术有着重要的现实意义,目前针对此方面的研究不多,而且未能很好地解决生物质原料储存系统与原料输送设备之间的衔接和匹配问题,所以实用性不强,因此,现有生物质输送技术还有待于改进和发展。 Raw material transportation is an important link in industrial production, and its operation status directly affects the normal operation of downstream processes. Belt conveyor is a common equipment for raw material transportation. It has the advantages of flexible speed regulation, simple operation, and convenient maintenance. It is widely used in industrial production. However, the belt conveyor also has problems such as easy wear and tear during actual use. In order to solve these practical problems, many researchers have proposed a variety of belt conveyor transformation schemes, but because most of these schemes are aimed at the belt conveyor itself, and do not fully consider the equipment associated with the belt conveyor, so various schemes have certain limitations, the scope of application is limited. The transportation technology of biomass raw materials has always been the research focus of large-scale utilization of biomass energy. The development of transportation technology combined with biomass raw material storage system has important practical significance. At present, there are not many studies on this aspect, and they have not been well developed. Therefore, the existing biomass transportation technology still needs to be improved and developed. the
发明内容 Contents of the invention
本实用新型提供一种生物质原料输送装置,有效地解决了与生物质原料储存系统相衔接和匹配的问题,还克服了容易磨损的缺点。 The utility model provides a biomass raw material conveying device, which effectively solves the problem of connection and matching with a biomass raw material storage system, and also overcomes the shortcoming of easy wear and tear. the
为达到上述目的,本实用新型采取以下的技术方案: In order to achieve the above object, the utility model takes the following technical solutions:
一种生物质原料输送装置,包括储料斗和皮带输送机,储料斗由至少两个出料室分别与入料室连通而成,出料室的出料口分别与皮带输送机的皮带对正。 A biomass raw material conveying device, including a storage hopper and a belt conveyor, the storage hopper is formed by at least two discharge chambers respectively connected to the feed chamber, and the discharge ports of the discharge chambers are respectively aligned with the belts of the belt conveyor . the
上述输送装置将具有原料储存作用的储料斗与具有原料输送作用的皮带输送机结合起来,使整个装置结构紧凑,占用空间小;储料斗采用多个出料室及多个出料口的结构,大幅度减低了皮带输送机的皮带所承受的总量,有效减低了皮带输送机的磨损,延长了使用寿命。在加料过程中,通过生物质原料储存系统将原料加入储料斗内,原料经过储料斗的入料室,进入各出料室,再从出料室的出料口落入皮带输送机的皮带中传送,储料斗的入料室与生物质原料储存系统的卸料装置相匹配,从而实现了上述输送装置与卸料装置的直接衔接,简化了原料供应流程,同时结合皮带输送的调速手段,提高了整个原料输送过程的机械化、自动化水平,进一步提高了原料输送效率,降低了输送成本。 The above conveying device combines the storage hopper with the function of raw material storage with the belt conveyor with the function of raw material transportation, so that the whole device has a compact structure and takes up less space; the storage hopper adopts the structure of multiple discharge chambers and multiple discharge ports, The total load on the belt of the belt conveyor is greatly reduced, the wear of the belt conveyor is effectively reduced, and the service life is prolonged. During the feeding process, the raw material is fed into the storage hopper through the biomass raw material storage system, the raw material passes through the feeding chamber of the storage hopper, enters each discharging chamber, and then falls into the belt of the belt conveyor from the discharging port of the discharging chamber Conveying, the feeding chamber of the storage hopper is matched with the unloading device of the biomass raw material storage system, thus realizing the direct connection between the above-mentioned conveying device and the unloading device, simplifying the raw material supply process, and combining the speed regulation means of belt conveying, The mechanization and automation level of the entire raw material transportation process is improved, the efficiency of raw material transportation is further improved, and the transportation cost is reduced. the
为了防止原料在落入皮带过程以及原料在皮带上输送过程中泄露,出料口宽度小于皮带宽度,出料室的出料口两侧沿皮带输送方向设有封料挡板,封料挡板与皮带之间的间隙不大于2cm。 In order to prevent the material from falling into the belt and from leaking during the conveying process on the belt, the width of the discharge port is smaller than the width of the belt, and the two sides of the discharge port of the discharge chamber are provided with sealing baffles along the belt conveying direction. The gap with the belt is not more than 2cm. the
为了进一步减轻原料落入皮带时皮带承受的重量,出料室朝向出料口方向呈渐缩状,分担了大部分原料的重量,使从出料口落下的原料重量减小,从而落入皮带的原料重量也减小。同时为了控制各出料口的出料速率,还可以在出料室的出料口设有开关调节器。 In order to further reduce the weight of the belt when the raw materials fall into the belt, the discharge chamber is tapered towards the discharge port, sharing most of the weight of the raw materials, reducing the weight of the raw materials falling from the discharge port, and then falling into the belt. The raw material weight is also reduced. At the same time, in order to control the discharge rate of each discharge port, a switch regulator can also be provided at the discharge port of the discharge chamber. the
本实用新型结构紧凑、操作简单、技术可靠、运行稳定、输送效率高、适用范围广、经济性和实用性强,可广泛应用于多行业工业生产的原料输送过程中,市场前景较好。 The utility model has the advantages of compact structure, simple operation, reliable technology, stable operation, high conveying efficiency, wide application range, strong economy and practicability, can be widely used in the raw material conveying process of industrial production in many industries, and has a good market prospect. the
附图说明 Description of drawings
图1是实施例的主视结构示意图; Fig. 1 is the front view structure schematic diagram of embodiment;
图2是实施例的左视结构示意图。 Fig. 2 is a left view structural diagram of the embodiment. the
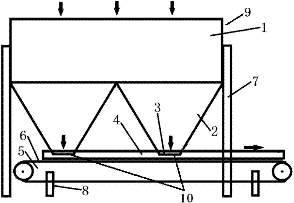
附图标记说明:1-入料室;2-出料室;3-出料口;4-封料挡板;5-皮带输送机;6-皮带;7-储料斗支架;8-皮带机支架;9-储料斗;10-开关调节器。 Explanation of reference signs: 1-feeding chamber; 2-discharging chamber; 3-discharging port; 4-sealing baffle; 5-belt conveyor; 6-belt; 7-storage hopper bracket; 8-belt conveyor Bracket; 9-storage hopper; 10-switch regulator. the
具体实施方式 Detailed ways
下面结合附图和实施例对本实用新型内容作进一步说明。 Below in conjunction with accompanying drawing and embodiment the content of the utility model is further described. the
如图1、2所示,实施例包括储料斗9和皮带输送机5,储料斗9安装在储料斗支架7上,皮带输送机5安装在皮带机支架8上,储料斗9由两个出料室2分别与入料室1连通而成,出料室2的出料口3分别与皮带输送机5的皮带6对正,出料口3宽度小于皮带6宽度,出料室2的出料口3两侧沿皮带6输送方向设有封料挡板4,封料挡板4与皮带6之间的间隙为1cm,出料室2自上而下呈渐缩状,出料口3设有开关调节器10。
As shown in Figures 1 and 2, the embodiment includes a
如图1、2所示,在加料过程中,可使用铲车将原料加入储料斗内,也可通过集装袋等原料暂存设备将原料加入储料斗9内,原料经过储料斗9的入料室1,进入各出料室2,再从储料斗9底部的出料口3落入皮带6,原料的输送速度可通过皮带输送机5的电机转速来调节,皮带6边缘的原料在输送过程中受到封料挡板4的约束,防止了原料泄露。储料斗9内原料总量大部分由出料室2来分担,降低了对皮带6的磨损,通过开关调节器10调节出料速率。
As shown in Figures 1 and 2, during the feeding process, raw materials can be added to the storage hopper using a forklift, or can be added to the storage hopper 9 through temporary storage equipment such as container bags. The material chamber 1 enters each discharge chamber 2, and then falls into the belt 6 from the
显然,本实用新型的上述具体实施方式仅是为清楚地说明本实用新型所作的举例,而并非是对本实用新型实施方式的限定,对于本领域技术人员来说,在上述说明的基础上还可以容易地做出其它形式上的变化或者替代,而这些改变或者替代也将包含在本实用新型确定的保护范围之内。 Obviously, the above-mentioned specific implementation of the utility model is only an example for clearly illustrating the utility model, rather than limiting the implementation of the utility model. For those skilled in the art, on the basis of the above description, they can also It is easy to make other changes or substitutions in form, and these changes or substitutions will also be included in the protection scope determined by the present utility model. the
Claims (6)
Priority Applications (1)
| Application Number | Priority Date | Filing Date | Title |
|---|---|---|---|
| CN 201320044320 CN203020989U (en) | 2013-01-25 | 2013-01-25 | Biomass raw material delivery device |
Applications Claiming Priority (1)
| Application Number | Priority Date | Filing Date | Title |
|---|---|---|---|
| CN 201320044320 CN203020989U (en) | 2013-01-25 | 2013-01-25 | Biomass raw material delivery device |
Publications (1)
| Publication Number | Publication Date |
|---|---|
| CN203020989U true CN203020989U (en) | 2013-06-26 |
Family
ID=48644988
Family Applications (1)
| Application Number | Title | Priority Date | Filing Date |
|---|---|---|---|
| CN 201320044320 Expired - Fee Related CN203020989U (en) | 2013-01-25 | 2013-01-25 | Biomass raw material delivery device |
Country Status (1)
| Country | Link |
|---|---|
| CN (1) | CN203020989U (en) |
Cited By (1)
| Publication number | Priority date | Publication date | Assignee | Title |
|---|---|---|---|---|
| CN103738715A (en) * | 2014-01-12 | 2014-04-23 | 北京淮海电力科技有限公司 | Charge door device for coal feeder |
-
2013
- 2013-01-25 CN CN 201320044320 patent/CN203020989U/en not_active Expired - Fee Related
Cited By (1)
| Publication number | Priority date | Publication date | Assignee | Title |
|---|---|---|---|---|
| CN103738715A (en) * | 2014-01-12 | 2014-04-23 | 北京淮海电力科技有限公司 | Charge door device for coal feeder |
Similar Documents
| Publication | Publication Date | Title |
|---|---|---|
| CN204776891U (en) | A store storehouse material that is used for area of modified asphalt mixture reproduction to prevent encircleing device | |
| CN211496027U (en) | Two-pair two-dense-phase pneumatic conveying system applied to polycrystalline positive electrode material of lithium battery | |
| CN106853444A (en) | A kind of Automated Sorting System | |
| CN103009494B (en) | Rubber industry banburying system space bag feedstock method and device | |
| CN203020989U (en) | Biomass raw material delivery device | |
| CN209367345U (en) | A kind of nitrogen sealing and circulating dense-phase transporting system | |
| CN204324398U (en) | A kind of used on cement production line air conveyer flume | |
| CN203681893U (en) | Multi-pocket feed distribution device | |
| CN204453815U (en) | A kind of totally-enclosed continous way chickens' extract dustlessization vacuum handling manufacturing line | |
| CN104192568B (en) | The technique that a kind of powder material is the most air conveying | |
| CN202807882U (en) | Continuous dense phase positive pressure pneumatic transmission device | |
| CN203006485U (en) | Air conveying chute | |
| CN204508030U (en) | A kind of Combined spiral carries grain auger | |
| CN203695244U (en) | Novel coal ash sorting device | |
| CN202967405U (en) | Down conveying device | |
| CN201276353Y (en) | Distributor and system thereof | |
| CN203845484U (en) | Mechanical vibration type conveying system for pebble coal | |
| CN203498349U (en) | Biomass particle production line equipment | |
| CN204173434U (en) | A kind of rice conveying device | |
| CN103275782A (en) | Biomass particle production line equipment | |
| CN205312218U (en) | Lining bag in container handling equipment's power pack module | |
| CN203283378U (en) | Material discharging chute used in mesh belt conveyor | |
| CN202967554U (en) | Gas transportation machine for powder | |
| CN202860661U (en) | Powder mill of metallurgical lime | |
| CN203461944U (en) | Pulverized fuel low-pressure conveying system for small and medium-sized glass furnaces |
Legal Events
| Date | Code | Title | Description |
|---|---|---|---|
| C14 | Grant of patent or utility model | ||
| GR01 | Patent grant | ||
| CF01 | Termination of patent right due to non-payment of annual fee |
Granted publication date: 20130626 Termination date: 20210125 |
|
| CF01 | Termination of patent right due to non-payment of annual fee |
