CN202925016U - Laboratory anaerobic reactor with agitating function - Google Patents
Laboratory anaerobic reactor with agitating function Download PDFInfo
- Publication number
- CN202925016U CN202925016U CN 201220601999 CN201220601999U CN202925016U CN 202925016 U CN202925016 U CN 202925016U CN 201220601999 CN201220601999 CN 201220601999 CN 201220601999 U CN201220601999 U CN 201220601999U CN 202925016 U CN202925016 U CN 202925016U
- Authority
- CN
- China
- Prior art keywords
- sealing cover
- fermentation
- motor
- anaerobic reactor
- fermentation flask
- Prior art date
- Legal status (The legal status is an assumption and is not a legal conclusion. Google has not performed a legal analysis and makes no representation as to the accuracy of the status listed.)
- Expired - Fee Related
Links
- 238000007789 sealing Methods 0.000 claims abstract description 36
- 238000000855 fermentation Methods 0.000 claims abstract description 35
- 230000004151 fermentation Effects 0.000 claims abstract description 33
- 238000003756 stirring Methods 0.000 claims abstract description 24
- 238000005070 sampling Methods 0.000 abstract description 11
- 230000000694 effects Effects 0.000 abstract description 6
- 238000000034 method Methods 0.000 description 7
- 238000004519 manufacturing process Methods 0.000 description 2
- 230000009466 transformation Effects 0.000 description 2
- 230000009286 beneficial effect Effects 0.000 description 1
- 238000010586 diagram Methods 0.000 description 1
- 238000012423 maintenance Methods 0.000 description 1
- 238000010297 mechanical methods and process Methods 0.000 description 1
- 238000006467 substitution reaction Methods 0.000 description 1
- 238000000844 transformation Methods 0.000 description 1
Images
Classifications
-
- C—CHEMISTRY; METALLURGY
- C12—BIOCHEMISTRY; BEER; SPIRITS; WINE; VINEGAR; MICROBIOLOGY; ENZYMOLOGY; MUTATION OR GENETIC ENGINEERING
- C12M—APPARATUS FOR ENZYMOLOGY OR MICROBIOLOGY; APPARATUS FOR CULTURING MICROORGANISMS FOR PRODUCING BIOMASS, FOR GROWING CELLS OR FOR OBTAINING FERMENTATION OR METABOLIC PRODUCTS, i.e. BIOREACTORS OR FERMENTERS
- C12M23/00—Constructional details, e.g. recesses, hinges
- C12M23/02—Form or structure of the vessel
- C12M23/08—Flask, bottle or test tube
-
- C—CHEMISTRY; METALLURGY
- C12—BIOCHEMISTRY; BEER; SPIRITS; WINE; VINEGAR; MICROBIOLOGY; ENZYMOLOGY; MUTATION OR GENETIC ENGINEERING
- C12M—APPARATUS FOR ENZYMOLOGY OR MICROBIOLOGY; APPARATUS FOR CULTURING MICROORGANISMS FOR PRODUCING BIOMASS, FOR GROWING CELLS OR FOR OBTAINING FERMENTATION OR METABOLIC PRODUCTS, i.e. BIOREACTORS OR FERMENTERS
- C12M23/00—Constructional details, e.g. recesses, hinges
- C12M23/38—Caps; Covers; Plugs; Pouring means
-
- C—CHEMISTRY; METALLURGY
- C12—BIOCHEMISTRY; BEER; SPIRITS; WINE; VINEGAR; MICROBIOLOGY; ENZYMOLOGY; MUTATION OR GENETIC ENGINEERING
- C12M—APPARATUS FOR ENZYMOLOGY OR MICROBIOLOGY; APPARATUS FOR CULTURING MICROORGANISMS FOR PRODUCING BIOMASS, FOR GROWING CELLS OR FOR OBTAINING FERMENTATION OR METABOLIC PRODUCTS, i.e. BIOREACTORS OR FERMENTERS
- C12M27/00—Means for mixing, agitating or circulating fluids in the vessel
- C12M27/02—Stirrer or mobile mixing elements
-
- C—CHEMISTRY; METALLURGY
- C12—BIOCHEMISTRY; BEER; SPIRITS; WINE; VINEGAR; MICROBIOLOGY; ENZYMOLOGY; MUTATION OR GENETIC ENGINEERING
- C12M—APPARATUS FOR ENZYMOLOGY OR MICROBIOLOGY; APPARATUS FOR CULTURING MICROORGANISMS FOR PRODUCING BIOMASS, FOR GROWING CELLS OR FOR OBTAINING FERMENTATION OR METABOLIC PRODUCTS, i.e. BIOREACTORS OR FERMENTERS
- C12M41/00—Means for regulation, monitoring, measurement or control, e.g. flow regulation
- C12M41/30—Means for regulation, monitoring, measurement or control, e.g. flow regulation of concentration
- C12M41/34—Means for regulation, monitoring, measurement or control, e.g. flow regulation of concentration of gas
Landscapes
- Health & Medical Sciences (AREA)
- Chemical & Material Sciences (AREA)
- Wood Science & Technology (AREA)
- Life Sciences & Earth Sciences (AREA)
- Engineering & Computer Science (AREA)
- Bioinformatics & Cheminformatics (AREA)
- Organic Chemistry (AREA)
- Zoology (AREA)
- Biomedical Technology (AREA)
- Sustainable Development (AREA)
- Microbiology (AREA)
- Biochemistry (AREA)
- General Engineering & Computer Science (AREA)
- General Health & Medical Sciences (AREA)
- Genetics & Genomics (AREA)
- Biotechnology (AREA)
- Clinical Laboratory Science (AREA)
- Analytical Chemistry (AREA)
- Apparatus Associated With Microorganisms And Enzymes (AREA)
Abstract
本实用新型涉及一种可以搅拌的实验室用厌氧反应器,属于实验器材技术领域。包括发酵瓶、密封盖;密封盖上设有导气管、取样管,在密封盖的外侧设有电机,电机连接有螺旋搅拌装置,螺旋搅拌装置通过密封盖伸入发酵瓶内,电机通过导线与外部电源相连接。本实用新型可以通过搅拌增强发酵的效果,同时,设备简单,造价低廉,实用性强。
The utility model relates to a laboratory anaerobic reactor capable of stirring, which belongs to the technical field of experimental equipment. It includes a fermentation bottle and a sealing cover; the sealing cover is provided with an air guide tube and a sampling tube, and a motor is arranged on the outside of the sealing cover, and the motor is connected with a spiral stirring device, which extends into the fermentation bottle through the sealing cover, and the motor connects with the connected to an external power supply. The utility model can enhance the fermentation effect through stirring, and meanwhile, the equipment is simple, the cost is low, and the practicability is strong.
Description
技术领域 technical field
本实用新型涉及一种可以搅拌的实验室用厌氧反应器,属于实验器材技术领域。 The utility model relates to a laboratory anaerobic reactor capable of stirring, which belongs to the technical field of experimental equipment.
背景技术 Background technique
大型厌氧发酵工程设备通常配有搅拌装置,以使发酵更加充分,从而增加发酵效果,但是,在实验室研究过程中,由于用于发酵的样品量较少,所以往往采用手摇的方法,虽然部分地解决了搅拌问题,但是手摇不可能保证均匀,效果不理想,同时与后期生产中的操作方式相差较大,不利于实验室研究成果的转化;在实际中还有一种采用机械的搅拌,但是设备比较复杂,成本较高,不利于推广。 Large-scale anaerobic fermentation engineering equipment is usually equipped with a stirring device to make the fermentation more complete and increase the fermentation effect. However, in the laboratory research process, due to the small amount of samples used for fermentation, the manual method is often used. Although the mixing problem has been partially solved, hand shaking cannot ensure uniformity, and the effect is not ideal. At the same time, it is quite different from the operation mode in the later production, which is not conducive to the transformation of laboratory research results; in practice, there is also a mechanical method. Stirring, but the equipment is more complicated and the cost is higher, which is not conducive to popularization.
因此,很有必要设计一种简单的可以搅拌的实验室用厌氧反应器,以满足实验室使用的需要。 Therefore, it is necessary to design a simple laboratory anaerobic reactor that can be stirred to meet the needs of laboratory use.
发明内容 Contents of the invention
针对上述问题,本实用新型提出一种可以搅拌的实验室用厌氧反应器,通过搅拌增强发酵的效果。既可以模拟实际生产中的搅拌方式,同时,设备简单,造价低廉,实用性强。 In view of the above problems, the utility model proposes a laboratory anaerobic reactor that can be stirred, and the effect of fermentation is enhanced by stirring. It can not only simulate the stirring method in actual production, but also has simple equipment, low cost and strong practicability.
为解决问题,本实用新型采用的技术方案:一种可以搅拌的实验室用厌氧反应器包括发酵瓶1、密封盖2;密封盖2上设有导气管3、取样管4;在密封盖2的外侧设有电机5,电机5连接有螺旋搅拌装置6,螺旋搅拌装置6通过密封盖2伸入发酵瓶1内,电机5通过导线与外部电源相连接。
For solving the problem, the technical scheme that the utility model adopts: a kind of laboratory anaerobic reactor that can stir comprises
发酵瓶1采用广口瓶。
密封盖2和发酵瓶1之间设有密封垫圈。
A sealing gasket is arranged between the
发酵瓶1、导气管3、取样管4与密封盖2之间均采用密封连接。
The
发酵瓶1、导气管3、取样管4上设有外螺纹,密封盖2上对应位置设有螺帽7,发酵瓶1与密封盖2之间、导气管3、取样管4与密封盖2之间均采用螺纹连接。
所述的发酵瓶1、密封盖2、导气管3、取样管4、电机5、螺旋搅拌装置6、螺帽7为市售的普通元件。
The
本实用新型的有益效果:本实用新型可以通过搅拌增强发酵的效果,同时,设备简单,造价低廉,实用性强。 Beneficial effects of the utility model: the utility model can enhance the effect of fermentation by stirring, and at the same time, the equipment is simple, the cost is low, and the practicability is strong.
附图说明 Description of drawings
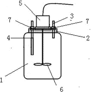
图1为本实用新型的结构示意图; Fig. 1 is the structural representation of the utility model;
图2为本实用新型的密封盖结构示意图; Fig. 2 is the structure schematic diagram of sealing cover of the present utility model;
图中:1-发酵瓶、2-密封盖、3-导气管、4-取样管、5-电机、6-螺旋搅拌装置、7-螺帽。 In the figure: 1-fermentation bottle, 2-sealing cap, 3-air duct, 4-sampling tube, 5-motor, 6-screw stirring device, 7-screw cap.
具体实施方式 Detailed ways
下面结合附图对本实用新型做进一步说明,以方便技术人员理解。 Below in conjunction with accompanying drawing, the utility model is further described, to facilitate the technical personnel's understanding.
如图1、2所示:一种可以搅拌的发酵瓶包括发酵瓶1、密封盖2;密封盖2上设有导气管3、取样管4;在密封盖2的外侧设有电机5,电机5连接有螺旋搅拌装置6,螺旋搅拌装置6通过密封盖2伸入发酵瓶1内,电机5通过导线与外部电源相连接。
As shown in Figures 1 and 2: a fermenting bottle that can be stirred includes a
发酵瓶1采用广口瓶。
本实用新型的工作过程:首先,将待发酵物质放入发酵瓶1中,旋紧密封盖2,电机5与外部电源连接,启动螺旋搅拌装置6对发酵瓶1内的待发酵物质进行持续或间歇式搅拌。
The working process of the present utility model: first, put the material to be fermented in the
为了达到更好地效果,密封盖2和发酵瓶1之间设有密封垫圈,发酵瓶1、导气管3、取样管4与密封盖2之间均采用密封连接,有利于厌氧条件的保持。
In order to achieve a better effect, a sealing gasket is provided between the
在实际操作中,发酵瓶1、导气管3、取样管4上设有外螺纹,密封盖2上对应位置设有螺帽7,发酵瓶1与密封盖2之间、导气管3、取样管4与密封盖2之间均采用螺纹连接。
In actual operation, the
所述的发酵瓶1、密封盖2、导气管3、取样管4、电机5、螺旋搅拌装置6、螺帽7为市售的普通元件。
The
本实用新型是通过具体实施过程进行说明的,在不脱离本实用新型范围的情况下,还可以对本实用新型专利进行各种变换及等同代替,因此,本实用新型专利不局限于所公开的具体实施过程,而应当包括落入本实用新型专利权利要求范围内的全部实施方案。 The utility model is illustrated through a specific implementation process. Without departing from the scope of the utility model, various transformations and equivalent substitutions can be made to the utility model patent. Therefore, the utility model patent is not limited to the disclosed specific details. Implementation process, but should include all implementations that fall within the scope of the utility model patent claims.
Claims (5)
Priority Applications (1)
| Application Number | Priority Date | Filing Date | Title |
|---|---|---|---|
| CN 201220601999 CN202925016U (en) | 2012-11-15 | 2012-11-15 | Laboratory anaerobic reactor with agitating function |
Applications Claiming Priority (1)
| Application Number | Priority Date | Filing Date | Title |
|---|---|---|---|
| CN 201220601999 CN202925016U (en) | 2012-11-15 | 2012-11-15 | Laboratory anaerobic reactor with agitating function |
Publications (1)
| Publication Number | Publication Date |
|---|---|
| CN202925016U true CN202925016U (en) | 2013-05-08 |
Family
ID=48214999
Family Applications (1)
| Application Number | Title | Priority Date | Filing Date |
|---|---|---|---|
| CN 201220601999 Expired - Fee Related CN202925016U (en) | 2012-11-15 | 2012-11-15 | Laboratory anaerobic reactor with agitating function |
Country Status (1)
| Country | Link |
|---|---|
| CN (1) | CN202925016U (en) |
Cited By (1)
| Publication number | Priority date | Publication date | Assignee | Title |
|---|---|---|---|---|
| CN104862222A (en) * | 2015-05-05 | 2015-08-26 | 大连大学 | Microorganism fermentation device |
-
2012
- 2012-11-15 CN CN 201220601999 patent/CN202925016U/en not_active Expired - Fee Related
Cited By (1)
| Publication number | Priority date | Publication date | Assignee | Title |
|---|---|---|---|---|
| CN104862222A (en) * | 2015-05-05 | 2015-08-26 | 大连大学 | Microorganism fermentation device |
Similar Documents
| Publication | Publication Date | Title |
|---|---|---|
| CN203333653U (en) | Novel anaerobic fermentation device | |
| CN202925016U (en) | Laboratory anaerobic reactor with agitating function | |
| CN205443294U (en) | Device for producing microbial preparation | |
| CN204039388U (en) | A kind of biological fermentation tank | |
| CN204417508U (en) | A kind of recirculate mixing and propelling stirring-type anaerobic fermentation tank | |
| CN201785383U (en) | Edible fungi liquid spawn bio-fermentation tank | |
| CN101928662B (en) | Edible fungi liquid strain biological fermentation tank | |
| CN205015136U (en) | Test device of polypropylene combined cover test weeping | |
| CN204356326U (en) | A kind of Novel angle recirculate mixing stirring-type anaerobic fermentation tank | |
| CN202744548U (en) | Horizontal solid fermentation tank | |
| CN204373979U (en) | A kind of water sample preprocessing apparatus | |
| CN203173840U (en) | Air agitating device of strontium chloride reaction tank | |
| CN204058468U (en) | To the experimental installation of mix and blend in a kind of marsh gas fermentation processes | |
| CN204039414U (en) | A kind of use for laboratory anaerobically fermenting bottle | |
| CN203112834U (en) | Simple fermentation reactor | |
| CN202322794U (en) | Wine fermentation bottle | |
| CN205730971U (en) | A kind of flat mixer | |
| CN203096064U (en) | Stirring device of vacuum fermentation tank for collagen peptide production process | |
| CN204752718U (en) | Marsh gas generating device is used in laboratory | |
| CN204602049U (en) | Ph value regulating tank | |
| CN205222802U (en) | Biological charcoal carrier reactor | |
| CN203803490U (en) | Reaction kettle | |
| CN211871990U (en) | A fermenter that is convenient for biogas extraction | |
| CN209854141U (en) | High-efficient fermentation cylinder | |
| CN205275481U (en) | A fermenting installation for fertile production of liquid |
Legal Events
| Date | Code | Title | Description |
|---|---|---|---|
| C14 | Grant of patent or utility model | ||
| GR01 | Patent grant | ||
| PP01 | Preservation of patent right |
Effective date of registration: 20150312 Granted publication date: 20130508 |
|
| RINS | Preservation of patent right or utility model and its discharge | ||
| PD01 | Discharge of preservation of patent |
Date of cancellation: 20170912 Granted publication date: 20130508 |
|
| PD01 | Discharge of preservation of patent | ||
| CF01 | Termination of patent right due to non-payment of annual fee |
Granted publication date: 20130508 Termination date: 20151115 |
|
| CF01 | Termination of patent right due to non-payment of annual fee |
