CN202908412U - Hand warming cup - Google Patents
Hand warming cup Download PDFInfo
- Publication number
- CN202908412U CN202908412U CN 201220590427 CN201220590427U CN202908412U CN 202908412 U CN202908412 U CN 202908412U CN 201220590427 CN201220590427 CN 201220590427 CN 201220590427 U CN201220590427 U CN 201220590427U CN 202908412 U CN202908412 U CN 202908412U
- Authority
- CN
- China
- Prior art keywords
- cup body
- cup
- annular groove
- hand warming
- height
- Prior art date
- Legal status (The legal status is an assumption and is not a legal conclusion. Google has not performed a legal analysis and makes no representation as to the accuracy of the status listed.)
- Expired - Fee Related
Links
- 238000010792 warming Methods 0.000 title claims abstract description 13
- 238000010438 heat treatment Methods 0.000 abstract description 2
- 230000000149 penetrating effect Effects 0.000 abstract 2
- 230000035622 drinking Effects 0.000 description 2
- XLYOFNOQVPJJNP-UHFFFAOYSA-N water Substances O XLYOFNOQVPJJNP-UHFFFAOYSA-N 0.000 description 2
- 241000190070 Sarracenia purpurea Species 0.000 description 1
- 238000010586 diagram Methods 0.000 description 1
- 238000000034 method Methods 0.000 description 1
Images
Landscapes
- Table Devices Or Equipment (AREA)
Abstract
本实用新型公开了一种暖手杯,特点是包括杯身,杯身的底端设置有贯穿杯身的侧壁的环状凹槽;优点是杯身的底端设置有贯穿杯身的侧壁的环状凹槽,人们可将双手插入环状凹槽内进行取暖,既可以暖手心部分又可以暖手背部分,整体结构合理,使用方便。
The utility model discloses a hand warming cup, which is characterized in that it comprises a cup body, and the bottom end of the cup body is provided with an annular groove penetrating the side wall of the cup body; the advantage is that the bottom end of the cup body is provided with a side wall penetrating through the cup body. The annular groove on the wall allows people to insert their hands into the annular groove for heating, which can warm both the palm and the back of the hand. The overall structure is reasonable and easy to use.
Description
技术领域 technical field
本实用新型涉及一种杯子,尤其是涉及一种暖手杯。 The utility model relates to a cup, in particular to a hand warming cup.
背景技术 Background technique
水杯是人们常用的一种饮水工具。在冬季天气寒冷时,人们喜欢手捧装有热水的杯子一边喝热水一边对双手进行取暖。但在暖手时只能暖手心部分,对于手背部分则无法取暖。 Water cup is a kind of drinking tool that people usually use. When the weather is cold in winter, people like to hold a cup with hot water in their hands to keep their hands warm while drinking hot water. But can only warm palm part when warming hands, then can't heat up for back of hand part.
发明内容 Contents of the invention
本实用新型所要解决的技术问题是提供一种既可以暖手心又可以暖手背的暖手杯。 The technical problem to be solved by the utility model is to provide a hand warming cup which can warm both the palm and the back of the hand.
本实用新型解决上述技术问题所采用的技术方案为:一种暖手杯,包括杯身,所述的杯身的底端设置有贯穿所述的杯身的侧壁的环状凹槽。 The technical solution adopted by the utility model to solve the above-mentioned technical problems is: a hand warming cup, including a cup body, the bottom end of the cup body is provided with an annular groove running through the side wall of the cup body.
所述的环状凹槽的高度为所述的杯身的高度的0.3~0.6倍。 The height of the annular groove is 0.3-0.6 times the height of the cup body.
所述的环状凹槽的高度为所述的杯身的高度的0. 5倍。 The height of the annular groove is 0.5 times the height of the cup body.
所述的环状凹槽的宽度为所述的杯身的内径的0.2~0.5倍。 The width of the annular groove is 0.2-0.5 times the inner diameter of the cup body.
所述的环状凹槽的宽度为所述的杯身的内径的0.3倍。 The width of the annular groove is 0.3 times the inner diameter of the cup body.
所述的杯身的顶端一体设置有定位凸环,所述的定位凸环上插接有杯盖。 The top of the cup body is integrally provided with a positioning convex ring, and a cup cover is plugged into the positioning convex ring.
与现有技术相比,本实用新型的优点在于杯身的底端设置有贯穿杯身的侧壁的环状凹槽,人们可将双手插入环状凹槽内进行取暖,既可以暖手心部分又可以暖手背部分,整体结构合理,使用方便。Compared with the prior art, the utility model has the advantage that the bottom end of the cup body is provided with an annular groove that runs through the side wall of the cup body, and people can insert their hands into the annular groove for heating, which can warm the palms of the hands. It can also warm the back of the hand, the overall structure is reasonable, and it is convenient to use.
附图说明 Description of drawings
图1为本实用新型的结构示意图(一); Fig. 1 is the structural representation (1) of the utility model;
图2为本实用新型的结构示意图(二); Fig. 2 is the structural representation (two) of the utility model;
图3为本实用新型的结构爆炸图。Fig. 3 is a structural exploded diagram of the utility model.
具体实施方式 Detailed ways
以下结合附图实施例对本实用新型作进一步详细描述。 The utility model is described in further detail below in conjunction with the accompanying drawings.
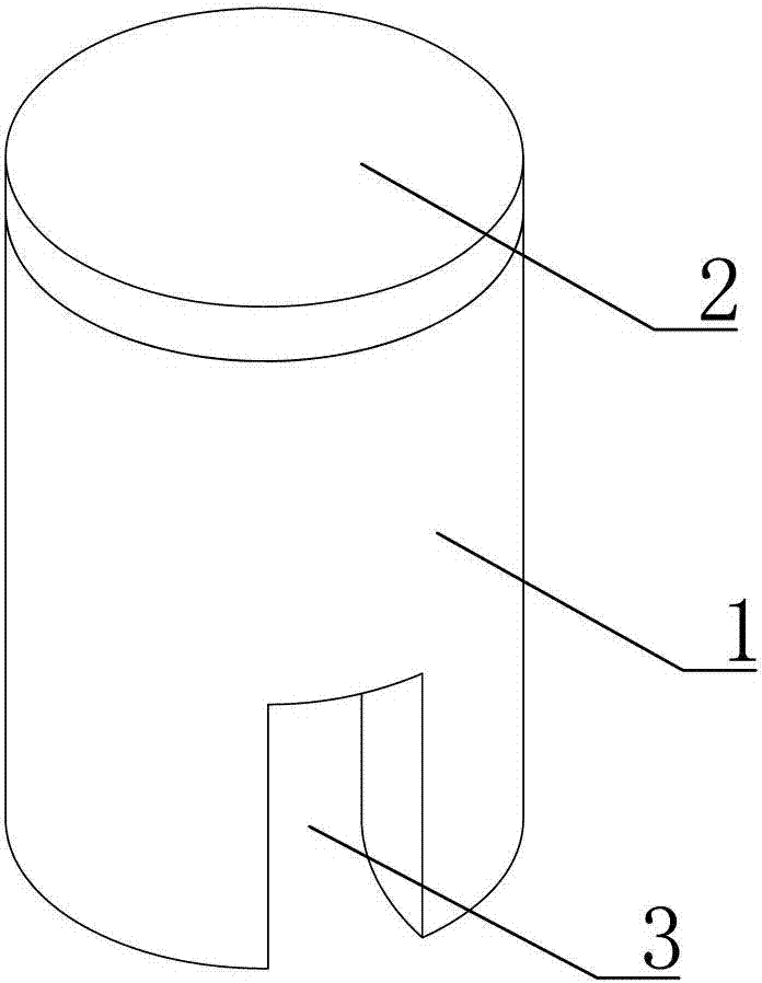
如图所示,一种暖手杯,包括杯身1和杯盖2,杯身1的顶端一体设置有定位凸环11,定位凸环11与杯盖2插接配合,杯身1的底端设置有贯穿杯身1的侧壁的环状凹槽3,环状凹槽3的高度h为杯身1的高度H的0. 5倍,环状凹槽3的宽度d为杯身1的内径D的0.3倍。
As shown in the figure, a hand warming cup includes a cup body 1 and a
其中,环状凹槽3的高度h也可以根据实际需求设置为杯身1的高度H的0.3~0.6倍间的任一值,环状凹槽3的宽度d也可以根据实际需求设置为杯身1的内径D的0.2~0.5倍间的任一值。
Wherein, the height h of the
Claims (6)
Priority Applications (1)
| Application Number | Priority Date | Filing Date | Title |
|---|---|---|---|
| CN 201220590427 CN202908412U (en) | 2012-11-09 | 2012-11-09 | Hand warming cup |
Applications Claiming Priority (1)
| Application Number | Priority Date | Filing Date | Title |
|---|---|---|---|
| CN 201220590427 CN202908412U (en) | 2012-11-09 | 2012-11-09 | Hand warming cup |
Publications (1)
| Publication Number | Publication Date |
|---|---|
| CN202908412U true CN202908412U (en) | 2013-05-01 |
Family
ID=48156769
Family Applications (1)
| Application Number | Title | Priority Date | Filing Date |
|---|---|---|---|
| CN 201220590427 Expired - Fee Related CN202908412U (en) | 2012-11-09 | 2012-11-09 | Hand warming cup |
Country Status (1)
| Country | Link |
|---|---|
| CN (1) | CN202908412U (en) |
-
2012
- 2012-11-09 CN CN 201220590427 patent/CN202908412U/en not_active Expired - Fee Related
Similar Documents
| Publication | Publication Date | Title |
|---|---|---|
| CN202496899U (en) | Heat preservation cup | |
| CN202908412U (en) | Hand warming cup | |
| CN202820076U (en) | Vacuum cup | |
| CN202051401U (en) | An-scalding cup sleeve for disposable water cup | |
| CN203040791U (en) | Charging heating type gloves | |
| CN202739508U (en) | Cup cover | |
| CN202207045U (en) | Heat insulation cup | |
| CN205180529U (en) | Insole | |
| CN202312493U (en) | Throw pillow with gloves | |
| CN203060025U (en) | Hand warming bag for transfusion | |
| CN202981364U (en) | Solar water cup | |
| CN201700639U (en) | Solar water cup | |
| CN202287528U (en) | Hand warming cup | |
| CN203207689U (en) | Vacuum cup with warm bag function | |
| CN201958440U (en) | Hand-warming water glass | |
| CN202269804U (en) | Hand warming cup cover | |
| CN201510411U (en) | Novel hot-water bag | |
| CN202408163U (en) | Cold and hot dual-purpose water glass | |
| CN202396771U (en) | Anti-scalding handle of water bottle | |
| CN201822664U (en) | Heating water bottle for picnics | |
| CN202104659U (en) | Anti-scald water cup | |
| CN203885187U (en) | Cup | |
| CN202365030U (en) | Bag special for women | |
| CN202874796U (en) | Hand-warming cup | |
| CN201822471U (en) | Dual-purpose cup |
Legal Events
| Date | Code | Title | Description |
|---|---|---|---|
| C14 | Grant of patent or utility model | ||
| GR01 | Patent grant | ||
| CF01 | Termination of patent right due to non-payment of annual fee |
Granted publication date: 20130501 Termination date: 20151109 |
|
| EXPY | Termination of patent right or utility model |
