CN202871827U - Solar component long edge frame - Google Patents

Solar component long edge frame Download PDF

Info

Publication number
CN202871827U
CN202871827U CN2012204465911U CN201220446591U CN202871827U CN 202871827 U CN202871827 U CN 202871827U CN 2012204465911 U CN2012204465911 U CN 2012204465911U CN 201220446591 U CN201220446591 U CN 201220446591U CN 202871827 U CN202871827 U CN 202871827U
Authority
CN
China
Prior art keywords
edge frame
frame
crosspiece
rectangular cavities
rectangular cavity
Prior art date
Legal status (The legal status is an assumption and is not a legal conclusion. Google has not performed a legal analysis and makes no representation as to the accuracy of the status listed.)
Expired - Fee Related
Application number
CN2012204465911U
Other languages
Chinese (zh)
Inventor
陈文燕
Current Assignee (The listed assignees may be inaccurate. Google has not performed a legal analysis and makes no representation or warranty as to the accuracy of the list.)
Jiangyin City Xieli New Energy Equipment Material Co Ltd
Original Assignee
Jiangyin City Xieli New Energy Equipment Material Co Ltd
Priority date (The priority date is an assumption and is not a legal conclusion. Google has not performed a legal analysis and makes no representation as to the accuracy of the date listed.)
Filing date
Publication date
Application filed by Jiangyin City Xieli New Energy Equipment Material Co Ltd filed Critical Jiangyin City Xieli New Energy Equipment Material Co Ltd
Priority to CN2012204465911U priority Critical patent/CN202871827U/en
Application granted granted Critical
Publication of CN202871827U publication Critical patent/CN202871827U/en
Anticipated expiration legal-status Critical
Expired - Fee Related legal-status Critical Current

Links

Images

Classifications

    • YGENERAL TAGGING OF NEW TECHNOLOGICAL DEVELOPMENTS; GENERAL TAGGING OF CROSS-SECTIONAL TECHNOLOGIES SPANNING OVER SEVERAL SECTIONS OF THE IPC; TECHNICAL SUBJECTS COVERED BY FORMER USPC CROSS-REFERENCE ART COLLECTIONS [XRACs] AND DIGESTS
    • Y02TECHNOLOGIES OR APPLICATIONS FOR MITIGATION OR ADAPTATION AGAINST CLIMATE CHANGE
    • Y02EREDUCTION OF GREENHOUSE GAS [GHG] EMISSIONS, RELATED TO ENERGY GENERATION, TRANSMISSION OR DISTRIBUTION
    • Y02E10/00Energy generation through renewable energy sources
    • Y02E10/50Photovoltaic [PV] energy

Landscapes

  • Photovoltaic Devices (AREA)

Abstract

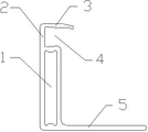
The utility model relates to a solar component long edge frame, characterized in that a section thereof comprises a vertical rectangular cavity (1), a vertical segment (2) extending upward along a left edge frame of the rectangular cavity (1), an upper horizontal segment (3) connected towards the right of a top end of the vertical segment (2), a clamping groove (4) used for installing a solar component and formed among the upper horizontal segment (3), the vertical segment (2), and an upper edge frame of the rectangular cavity (1), and a lower horizontal segment (5) extending towards the right of a lower edge frame of the rectangular cavity (1). Since the section comprises the rectangular cavity, the solar component long edge frame is advantaged by ensuring strength and relatively low cost.

Description

The solar components long margin frame
Technical field
The utility model relates to a kind of solar components long margin frame, belongs to technical field of solar.
Background technology
Solar panel is the core in the solar power system, also is to be worth the highest part in the solar power system.Its effect is that the radianting capacity with the sun is converted to electric energy, or is sent in the storage battery and stores, or promotes loaded work piece.Solar panel is installed in the solar components long margin frame, and the frame of traditional solar components long margin frame is for proof strength, and sectional area is larger, so that weight is heavier, causes cost higher.
Summary of the invention
The purpose of this utility model is to overcome above-mentioned deficiency, and a kind of proof strength and lower-cost solar components long margin frame are provided.
The purpose of this utility model is achieved in that
A kind of solar components long margin frame, the cross section that it is characterized in that it comprises vertical rectangular cavities, the left frame of described rectangular cavities has extended upward perpendicular section, described perpendicular section top is connected with upper crosspiece to the right, be formed for the draw-in groove that solar components is installed between the upper side frame of described upper crosspiece, perpendicular section and rectangular cavities, the lower frame of described rectangular cavities is extended with lower crosspiece to the right.
As a kind of preferred, the length of described upper crosspiece is greater than the length of rectangular cavities upper side frame, and the length of described lower crosspiece is greater than the length of upper crosspiece.
Compared with prior art, the beneficial effects of the utility model are:
The utility model is because the cross section comprises rectangular cavities, so that the solar components long margin frame has proof strength and lower-cost advantage.
Description of drawings
Fig. 1 is the structural representation of the utility model solar components long margin frame.
Wherein:
Rectangular cavities 1
Perpendicular section 2
Upper crosspiece 3
Draw-in groove 4
Lower crosspiece 5.
Embodiment
Referring to Fig. 1, a kind of solar components long margin frame that the utility model relates to, its cross section comprises vertical rectangular cavities 1, the left frame of described rectangular cavities 1 has extended upward perpendicular section 2, described perpendicular section 2 top is connected with upper crosspiece 3 to the right, the length of described upper crosspiece 3 is greater than the length of rectangular cavities 1 upper side frame, be formed for the draw-in groove 4 that solar components is installed between the upper side frame of described upper crosspiece 3, perpendicular section 2 and rectangular cavities 1, the lower frame of described rectangular cavities 1 is extended with lower crosspiece 5 to the right, and the length of described lower crosspiece 5 is greater than the length of upper crosspiece 3.

Claims (1)

1. solar components long margin frame, the cross section that it is characterized in that it comprises vertical rectangular cavities (1), the left frame of described rectangular cavities (1) has extended upward perpendicular section (2), the top of described perpendicular section (2) is connected with upper crosspiece (3) to the right, described upper crosspiece (3), be formed for the draw-in groove (4) that solar components is installed between the upper side frame of perpendicular section (2) and rectangular cavities (1), the lower frame of described rectangular cavities (1) is extended with lower crosspiece (5) to the right, the length of described upper crosspiece (3) is greater than the length of rectangular cavities (1) upper side frame, and the length of described lower crosspiece (5) is greater than the length of upper crosspiece (3).
CN2012204465911U 2012-09-04 2012-09-04 Solar component long edge frame Expired - Fee Related CN202871827U (en)

Priority Applications (1)

Application Number Priority Date Filing Date Title
CN2012204465911U CN202871827U (en) 2012-09-04 2012-09-04 Solar component long edge frame

Applications Claiming Priority (1)

Application Number Priority Date Filing Date Title
CN2012204465911U CN202871827U (en) 2012-09-04 2012-09-04 Solar component long edge frame

Publications (1)

Publication Number Publication Date
CN202871827U true CN202871827U (en) 2013-04-10

Family

ID=48038518

Family Applications (1)

Application Number Title Priority Date Filing Date
CN2012204465911U Expired - Fee Related CN202871827U (en) 2012-09-04 2012-09-04 Solar component long edge frame

Country Status (1)

Country Link
CN (1) CN202871827U (en)

Similar Documents

Publication Publication Date Title
CN202736939U (en) Solar battery assembly frame with convex ribs
CN202871827U (en) Solar component long edge frame
CN202839641U (en) Connection structure of C-shaped steel guide rail and solar energy frame assembly
CN202797017U (en) Buckle-type connection structure of solar frame assembly
CN202797018U (en) High-firmness connection structure of solar frame assembly
CN202678340U (en) Guide rail for solar energy assembly
CN202678339U (en) Short frame for solar energy assembly
CN102769054A (en) High-firmness connecting structure for solar frame component
CN103684230A (en) Long frame of solar component
CN202678367U (en) Long frame for solar energy assembly
CN202796980U (en) Corner brace used for solar frame assembly
CN202678341U (en) Short frame for solar energy assembly
CN202678343U (en) Solar energy frame assembly
CN202662628U (en) Connecting structure for solar side frame components and guide tracks
CN202871811U (en) Solar energy component frame strut member
CN202678345U (en) Guide rail for solar energy assembly
CN202840974U (en) Lamination bus connection structure
CN202839640U (en) Cross beam used for all-aluminum solar support
CN202712221U (en) Thickened solar photovoltaic assembly frame
CN205336182U (en) Solar cell panel structure
CN102769055B (en) High-firmness connecting structure for solar frame component
CN202839646U (en) Connection structure of guide rail used for single vertical column impact pile solar support
CN203361930U (en) Upper sliding frame installation structure for sliding door
CN202000827U (en) Window upper port joint mechanism for steel structure
CN202678344U (en) Light-type ground mounting system

Legal Events

Date Code Title Description
C14 Grant of patent or utility model
GR01 Patent grant
CF01 Termination of patent right due to non-payment of annual fee

Granted publication date: 20130410

Termination date: 20210904

CF01 Termination of patent right due to non-payment of annual fee