CN202842896U - Integrated study room desk and chair - Google Patents

Integrated study room desk and chair Download PDF

Info

Publication number
CN202842896U
CN202842896U CN 201220542821 CN201220542821U CN202842896U CN 202842896 U CN202842896 U CN 202842896U CN 201220542821 CN201220542821 CN 201220542821 CN 201220542821 U CN201220542821 U CN 201220542821U CN 202842896 U CN202842896 U CN 202842896U
Authority
CN
China
Prior art keywords
chair
legs
rear legs
front legs
stuck
Prior art date
Legal status (The legal status is an assumption and is not a legal conclusion. Google has not performed a legal analysis and makes no representation as to the accuracy of the status listed.)
Expired - Fee Related
Application number
CN 201220542821
Other languages
Chinese (zh)
Inventor
许子媛
李国栋
Current Assignee (The listed assignees may be inaccurate. Google has not performed a legal analysis and makes no representation or warranty as to the accuracy of the list.)
Yanshan University
Original Assignee
Yanshan University
Priority date (The priority date is an assumption and is not a legal conclusion. Google has not performed a legal analysis and makes no representation as to the accuracy of the date listed.)
Filing date
Publication date
Application filed by Yanshan University filed Critical Yanshan University
Priority to CN 201220542821 priority Critical patent/CN202842896U/en
Application granted granted Critical
Publication of CN202842896U publication Critical patent/CN202842896U/en
Anticipated expiration legal-status Critical
Expired - Fee Related legal-status Critical Current

Links

Images

Landscapes

  • Combinations Of Kitchen Furniture (AREA)

Abstract

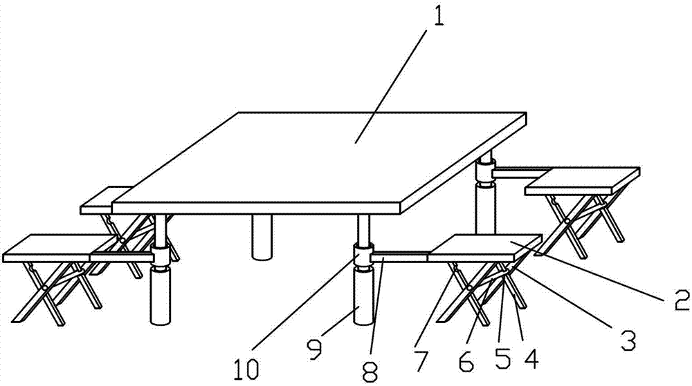
本实用新型涉及一种图书馆自习室使用的桌子和椅子,尤其是二者结合在一起的一体式自习室桌椅。所述椅子包括方形的椅面以及设置在所述椅面下方并通过旋转轴活动连接的两个前腿和两个后腿,所述两个前腿上方分别设置豁口,中部分别设置挡口,所述两个后腿中部通过挡杆连接,使得所述前腿和后腿相对于椅面打开时所述挡杆卡在所述挡口中,还使得所述前腿和后腿相对于椅面闭合时所述挡杆卡在所述豁口中;所述桌腿为两段圆柱上下同轴固定连接,其上端圆柱直径小,下端圆柱直径大,上端圆柱上安装有可上下移动且左右转动的圆套,所述圆套通过连杆与所述椅面连接。本桌椅结构简单,使用方便,占用空间少,易于推广。

Figure 201220542821

The utility model relates to a table and a chair used in a self-study room of a library, in particular to an integrated self-study room table and chair combined with the two. The chair comprises a square seat surface and two front legs and two rear legs arranged under the seat surface and movably connected by a rotating shaft, gaps are respectively set above the two front legs, and baffles are respectively set in the middle, The middle parts of the two rear legs are connected by a stop bar, so that when the front legs and the rear legs are opened relative to the chair surface, the stop bar is stuck in the stop, and the front legs and the rear legs are opened relative to the seat surface. When closed, the retaining rod is stuck in the gap; the table leg is fixedly connected up and down with two sections of cylinders, the diameter of the upper cylinder is small, and the diameter of the lower cylinder is large. The circular sleeve is connected with the chair surface through a connecting rod. The desk and chair has the advantages of simple structure, convenient use, less space occupation and easy popularization.

Figure 201220542821

Description

Integral type room for individual study tables and chairs
Technical field
The utility model relates to desk and chair, especially the two integral type room for individual study tables and chairs that combine that a kind of library room for individual study uses.
Background technology
Now, college students ' studies by oneself in scheduled time in the library becomes a kind of universal phenomenon, and the library is that every student in reading room and room for individual study study has been equipped with desk and chair.At present; the desk and the chair that use in the library of school or reading room mostly are greatly split type, and chair often can occur and leave about, even the phenomenon of losing; and split type desk and chair take up room larger, and the staff is very inconvenient when clearing up.
The utility model content
In order to solve the problems of the technologies described above, the utility model proposes a kind of integral type room for individual study tables and chairs, it is simple in structure, and is easy to use, occupies little space, and is easy to promote.
The technical scheme that the utility model adopts is: a kind of integral type room for individual study tables and chairs, comprise square desktop, be arranged on the table leg of described desktop below, the chair that is connected with described table leg, two forelegs and two back legs that described chair comprises square seat and is arranged on described seat below and is flexibly connected by rotating shaft, described two forelegs top arranges respectively gap, the middle part arranges respectively the gear mouth, described two back legs middle part connects by pin, so that described foreleg and back leg when opening with respect to seat described pin be stuck in the described gear mouthful, also so that described foreleg and back leg when closed with respect to seat described pin be stuck in the described gap; Described table leg is up and down coaxial being fixedly connected with of two sections cylinders, and its upper end body diameter is little, and the lower end body diameter is large, is equipped with on the cylinder of upper end can move up and down and the circle cover of left-right rotation, and described circle cover is connected with described seat by connecting rod.
As a kind of optimal way of the present utility model, when described foreleg and back leg were opened with respect to seat, the bottom that the circle that is connected with described seat by described connecting rod overlaps was higher than the upper surface of the lower end cylinder of described table leg.
The beneficial effects of the utility model are: integral type room for individual study tables and chairs are by being fixed together desk and chair by rotatable connecting rod, make it easy to carrying, make simultaneously tables and chairs supporting, especially chair can not lost, by rotating the distance that to regulate between the tables and chairs, adapt to the comfortable use of people of different heights during use; Can with the foreleg of chair and back leg be upwards folded up and chair is rotated to the desk below when not using, so that these tables and chairs take up room is less, be convenient to the staff to the cleaning of room for individual study.
Description of drawings
Fig. 1 is the structural representation of integral type room for individual study tables and chairs.
Fig. 2 is the Chair structure schematic diagram that is under the folded state.
Fig. 3 is that integral type room for individual study tables and chairs use state diagram.
The specific embodiment
The integral type room for individual study tables and chairs that the utility model relates to be for solve existing tables and chairs take up room larger, can't regulate the tables and chairs spacing from technical problem propose, its structure is as shown in Figure 1.A kind of integral type room for individual study tables and chairs, comprise square desktop 1, be arranged on the table leg 9 of described desktop 1 below, the chair that is connected with described table leg 9, described chair comprises square seat 2 and is arranged on described seat 2 belows and passes through two forelegs 4 and two back legs 3 that rotating shaft 11 is flexibly connected, described two foreleg 4 tops arrange respectively gap 7, the middle part arranges respectively gear mouth 5, described two back leg 3 middle parts connect by pin 6, so that described foreleg 4 and back leg 3 when opening with respect to seat 2 (when using chair) described pin 6 be stuck in the described gear mouthfuls 5, also so that described foreleg 4 and back leg 3 when closed with respect to seat 2 (when not using chair) described pin 6 be stuck in the described gap 7, as shown in Figure 2.
Described table leg 9 is up and down coaxial being fixedly connected with of two sections cylinders, and its upper end body diameter is little, and the lower end body diameter is large, is equipped with on the cylinder of upper end to move up and down the also circle cover 10 of left-right rotation, and described circle cover 10 passes through connecting rod 8 and is connected with described seat 2.
The student can open two forelegs 4 and two back legs 3 of chair downwards with respect to seat 2 when using these tables and chairs, and pin 6 is stuck in the gear mouthfuls 5, forms chair, and can adapt to different height by the distance that rotation connecting rod 8 be regulated Cain and Abel.Stopping study when not using these tables and chairs, can two forelegs 4 and two back legs 3 of chair are upwards closed with respect to seat 2, pin 6 is stuck in the gap 7, and rotation connecting rod 8 places chair below the desk, as shown in Figure 3.
In addition, when described foreleg 4 and back leg 3 were opened with respect to seat 2, the bottom of the circle cover 10 that is connected with described seat 2 by described connecting rod 8 was higher than the upper surface of the lower end cylinder of described table leg 9.Like this, when chair is in the use state, circle cover 10 can not contact with the lower end cylinder, when the student is sitting in the chair learning, what bear student's body weight is seat 2, foreleg 4, back leg 3 and pin 6, rather than connecting rod 8, therefore make the connecting rod 8 can be and distortion even fracture, be convenient to prolong tables and chairs service life.

Claims (2)

1.一种一体式自习室桌椅,包括方形的桌面、设置在所述桌面下方的桌腿、与所述桌腿连接的椅子,其特征在于:所述椅子包括方形的椅面以及设置在所述椅面下方并通过旋转轴活动连接的两个前腿和两个后腿,所述两个前腿上方分别设置豁口,中部分别设置挡口,所述两个后腿中部通过挡杆连接,使得所述前腿和后腿相对于椅面打开时所述挡杆卡在所述挡口中,还使得所述前腿和后腿相对于椅面闭合时所述挡杆卡在所述豁口中;所述桌腿为两段圆柱上下同轴固定连接,其上端圆柱直径小,下端圆柱直径大,上端圆柱上安装有可上下移动且左右转动的圆套,所述圆套通过连杆与所述椅面连接。1. An integrated self-study room table and chair, comprising a square table top, table legs arranged below the table top, and a chair connected to the table legs, characterized in that: the chair includes a square seat surface and is arranged on Two front legs and two rear legs are movably connected under the chair surface through a rotating shaft, gaps are respectively set above the two front legs, stops are respectively set in the middle, and the middle parts of the two rear legs are connected by a stop bar , so that when the front legs and rear legs are opened relative to the chair surface, the stop bar is stuck in the gap, and when the front legs and rear legs are closed relative to the chair surface, the stop bar is stuck in the gap Middle; the table legs are two sections of cylinders that are fixedly connected up and down coaxially. The diameter of the upper cylinder is small, and the diameter of the lower cylinder is large. The chair surface is connected. 2.根据权利要求1所述的一体式自习室桌椅,其特征在于:所述前腿和后腿相对于椅面打开时,通过所述连杆与所述椅面连接的圆套的底端高于所述桌腿的下端圆柱的上端面。2. The integrated self-study room table and chair according to claim 1, characterized in that: when the front legs and rear legs are opened relative to the chair surface, the bottom of the round sleeve connected to the chair surface through the connecting rod The end is higher than the upper end surface of the lower end cylinder of the table leg.
CN 201220542821 2012-10-23 2012-10-23 Integrated study room desk and chair Expired - Fee Related CN202842896U (en)

Priority Applications (1)

Application Number Priority Date Filing Date Title
CN 201220542821 CN202842896U (en) 2012-10-23 2012-10-23 Integrated study room desk and chair

Applications Claiming Priority (1)

Application Number Priority Date Filing Date Title
CN 201220542821 CN202842896U (en) 2012-10-23 2012-10-23 Integrated study room desk and chair

Publications (1)

Publication Number Publication Date
CN202842896U true CN202842896U (en) 2013-04-03

Family

ID=47974154

Family Applications (1)

Application Number Title Priority Date Filing Date
CN 201220542821 Expired - Fee Related CN202842896U (en) 2012-10-23 2012-10-23 Integrated study room desk and chair

Country Status (1)

Country Link
CN (1) CN202842896U (en)

Cited By (7)

* Cited by examiner, † Cited by third party
Publication number Priority date Publication date Assignee Title
CN104983197A (en) * 2015-08-07 2015-10-21 吴双双 Multifunctional folding desk
CN106490828A (en) * 2016-12-13 2017-03-15 福建农林大学 Folding storage tables and chairs component and its method of work
CN106724177A (en) * 2017-01-12 2017-05-31 杨帆 A kind of classroom multifunctional desk
CN107788723A (en) * 2016-09-02 2018-03-13 艾克斯培克迅有限责任公司 Desk
CN108433400A (en) * 2018-03-29 2018-08-24 江南大学 A kind of integral type Working table
CN108542149A (en) * 2018-03-29 2018-09-18 江南大学 A kind of adjustable work table
CN111870065A (en) * 2020-07-02 2020-11-03 泗县航宇休闲用品有限公司 Combined table and chair

Cited By (7)

* Cited by examiner, † Cited by third party
Publication number Priority date Publication date Assignee Title
CN104983197A (en) * 2015-08-07 2015-10-21 吴双双 Multifunctional folding desk
CN107788723A (en) * 2016-09-02 2018-03-13 艾克斯培克迅有限责任公司 Desk
CN106490828A (en) * 2016-12-13 2017-03-15 福建农林大学 Folding storage tables and chairs component and its method of work
CN106724177A (en) * 2017-01-12 2017-05-31 杨帆 A kind of classroom multifunctional desk
CN108433400A (en) * 2018-03-29 2018-08-24 江南大学 A kind of integral type Working table
CN108542149A (en) * 2018-03-29 2018-09-18 江南大学 A kind of adjustable work table
CN111870065A (en) * 2020-07-02 2020-11-03 泗县航宇休闲用品有限公司 Combined table and chair

Similar Documents

Publication Publication Date Title
CN202842896U (en) Integrated study room desk and chair
CN203814971U (en) Movable integrated office table-chair
CN201870133U (en) Folded reclining chair
CN207949368U (en) A kind of portable multifunctional table and chair
CN103142036B (en) Rotatable desk-chair
CN207168148U (en) A kind of foldable table
CN202035690U (en) Foldable bed desk convenient legs and feet to move
CN204292532U (en) Multifunctional desk and chair and movable accepting rack thereof
CN203073770U (en) Rotating chair
CN204444713U (en) A kind of Portable folding table-chair suit
CN202932323U (en) Foldable bed table
CN202014863U (en) Onepiece desk-chair
CN202341495U (en) Children table and chair with telescopic bookshelf
CN203505929U (en) Standing-type office table
CN202515064U (en) Chair with foldable table plate
CN206197401U (en) Lecture theater folding table/chair
CN207011971U (en) A kind of classroom multifunctional desk
CN202941705U (en) Folding chair for students
CN201683420U (en) Chair for stenography
CN203168494U (en) Foldable backrest computer desk
CN204519945U (en) A kind of hard handrail rotatable folding chair
CN204192081U (en) Foldable chair
CN203493192U (en) Long chair
CN202312194U (en) Chair with plastic suckers
CN205390874U (en) Multi -functional foldable table chair

Legal Events

Date Code Title Description
C14 Grant of patent or utility model
GR01 Patent grant
C17 Cessation of patent right
CF01 Termination of patent right due to non-payment of annual fee

Granted publication date: 20130403

Termination date: 20131023